Изобретение относится к области нефтегазодобывающей промышленности. Технический результат - интенсификация отбора нефти, сокращение времени прогрева межскважинного пространства пласта, быстрое устранение прорывов теплоносителя в добывающую скважину с одновременным упрощением и удешевлением реализации способа. Способ разработки залежи битуминозной нефти термическим воздействием на пласт включает бурение нагнетательной скважины с размещением в горизонтальной плоскости термонагнетательного участка в нижней части продуктивного пласта и вертикальной добывающей скважины. Добывающую скважину располагают у забоя нагнетательной скважины на расстоянии, исключающем прорыв пара. Обсадную колонну нагнетательной скважины вскрывают от кровли продуктивного пласта до забоя. Горизонтальный ствол оснащают технологической колонной с выходом на расстоянии не менеедлины горизонтального ствола от забоя и пакером, изолирующим межтрубное пространство горизонтального ствола от межтрубного пространства наклонного и вертикального участков нагнетательной скважины. Закачку пара производят через термонагнетательный участок - горизонтальный ствол нагнетательной скважины, нагнетая пар по технологической колонне. Вытеснение продукции пласта от наклонного и/или вертикального участков нагнетательной скважины производят закачкой горячей воды по межтрубному пространству. Отбор продукции осуществляют насосом из добывающей скважины. При нагреве продукции в добывающей скважине до температуры возможного прорыва пара выход технологической колонны удаляют от забоя горизонтального ствола на расстояние, исключающее прорыв пара в добывающую скважину. Причем технологическую колонну и пакер могут соединять при помощи скользящей посадки с возможностью смещения выхода технологической колонны в горизонтальном стволе добывающей скважины без извлечения пакера. По мере увеличения отбора продукции пласта из добывающей скважины отделенную попутно добываемую с продукцией воду начинают использовать в качестве горячей воды для вытеснения от наклонного и/или вертикального участков нагнетательной скважины. 2 з.п. ф-лы, 1 ил., 1 пр.
1. Способ разработки залежи битуминозной нефти термическим воздействием на пласт, включающий бурение нагнетательной скважины с размещением в горизонтальной плоскости термонагнетательного участка в нижней части продуктивного пласта и вертикальной добывающей скважины, закачку пара через термонагнетательный участок нагнетательной скважины и отбор продукции из добывающей скважины, отличающийся тем, что термонагнетательный участок бурят в виде горизонтального ствола, от забоя которого на расстоянии, исключающем прорыв пара, бурят добывающую скважину, нагнетательную скважину вскрывают от кровли продуктивного пласта до забоя, при этом горизонтальный ствол оснащают технологической колонной с выходом на расстоянии не менее 2. Способ по п. 1, отличающийся тем, что технологическую колонну и пакер соединяют при помощи скользящей посадки с возможностью смещения выхода технологической колонны в горизонтальном стволе добывающей скважины без извлечения пакера. 3. Способ по п. 1 или 2, отличающийся тем, что в качестве горячей воды используют попутнодобываемую с продукцией воду.
длины горизонтального ствола от забоя и пакером, изолирующим межтрубное пространство горизонтального ствола от межтрубного пространства наклонного и вертикального участков нагнетательной скважины, вытеснение продукции пласта от наклонного и/или вертикального участков нагнетательной скважины производят закачкой горячей воды по межтрубному пространству, при нагреве продукции в добывающей скважине до температуры возможного прорыва пара выход технологической колонны удаляют от забоя горизонтального ствола на расстояние, исключающее прорыв пара в добывающую скважину.
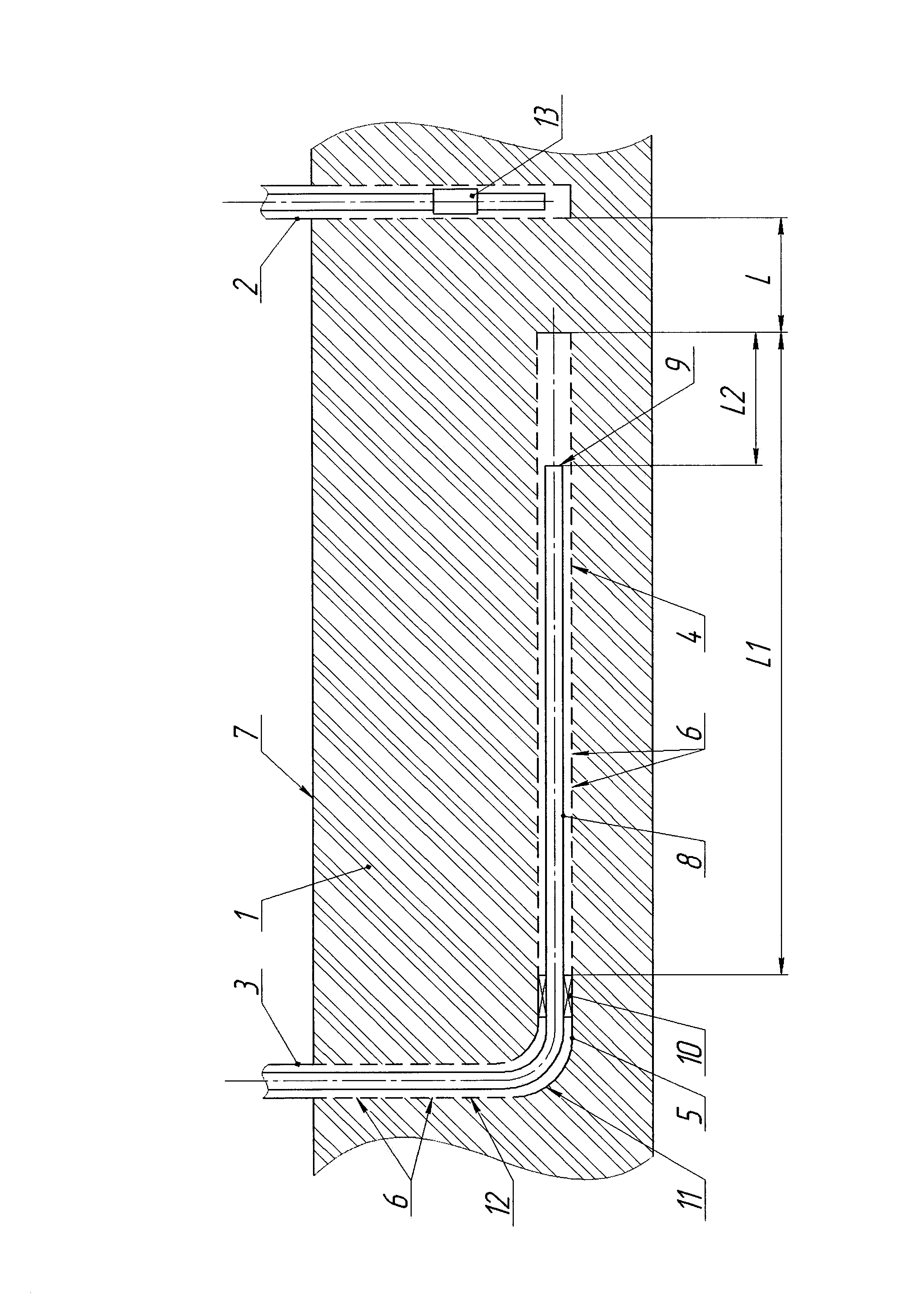
Изобретение относится к области нефтегазодобывающей промышленности и может быть использовано для разработки залежи битуминозной нефти с применением тепла. Известен способ разработки залежи высоковязкой нефти (патент SU №1828163, МПК Е21В 43/243, опубл. 30.04.1995), включающий закачку химических реагентов в нагнетательную скважину и создание в пласте оторочек с высоким гидродинамическим сопротивлением до и после создания в пласте высокотемпературной зоны, продвигаемой водой к добывающим скважинам и отбор продукции через них, причем с целью повышения охвата пласта воздействием и предотвращения образования стойкой эмульсии в добываемой продукции, до закачки химического агента в нагнетательную скважину закачивают пресную воду, причем в качестве химического реагента используют водный раствор поверхностно-активного вещества с деэмульгирующими свойствами, а после создания высокотемпературной зоны в пласте в нагнетательную скважину закачивают пресную воду с последующей закачкой водного раствора поверхностно-активного вещества с деэмульгирующими свойствами. Недостатками данного способа являются узкая область применения из-за невозможности работы в терригенных коллекторах с использованием пресной воды, высокие затраты, связанные с необходимостью применения поверхностно-активных веществ, и небезопасность применения из-за необходимости инициирования внутрипластового горения. Известен также способ разработки залежи высоковязкой нефти (патент RU №2009313, МПК Е21В 43/24, опубл. 15.03.1994), включающий периодическую закачку пара в добывающие скважины, добычу нефти и закачку вытесняющего агента в нагнетательные скважины, причем с целью повышения нефтеотдачи высоконеоднородных пластов за счет выравнивания фронта вытеснения, в качестве вытесняющего агента используют холодную воду, причем закачку холодной воды ведут в период закачки пара в добывающие скважины, а в период отбора нефти из добывающих скважин закачку холодной воды в нагнетательные скважины прекращают. Недостатками данного способа являются большие затраты времени на прогрев межскважинного пространства залежи из-за необходимости использования в качестве вытесняющего агента после закачки пара холодной воды, охлаждающей пласт, а также неэффективность прогрева паром, который закачивается через вертикальные скважины без учета его меньшей плотности относительно продукции залежи и закачиваемой воды и сложность утилизации воды, поднимаемой вместе с продукцией залежи и отделяемой от нее. Наиболее близким по технической сущности является способ разработки битумных месторождений изометрической формы (патент RU №2524705, МПК Е21В 43/24, Е21В 07/04, опубл. 10.08.2014 в бюл. №22), включающий бурение теплонагнетательных скважин, закачку теплоносителя в пласт, бурение дренажной скважины, обезвоживание пласта и отбор продукции из пласта, причем при разработке месторождений изометрической формы бурят теплонагнетательные скважины кольцевого профиля, при этом тепло-массоперенос осуществляется за счет вынужденной конвекции из теплонагнетательной скважины, а отбор продукции из пласта осуществляют через вертикальные дренажно-добычные скважины путем поршневого вытеснения битума и высоковязкой нефти перегретым паром высокого давления от периферии залежи к вертикальной дренажно-добычной скважине, а плотность потока определяют по формуле: Р=h (Tf - Ts), где Р - поток тепла через единицу площади или объема раздела фаз; h - коэффициент теплоотдачи; Tf - температура течения жидкости; Ts - температура твердой фазы, причем радиус прогрева определяют по формуле: где Qп - объемный расход нагнетаемого в пласт пара, м3/ч; Сп - скрытая удельная теплота парообразования при давлении нагнетания, кДж/кг; τ - время, ч; h - толщина продуктивного пласта, м; i - удельное теплосодержание пласта в зоне пара при расчетном давлении, кДж/кг. Недостатками данного способа являются сложность реализации из-за необходимости бурения нагнетательной скважины кольцевого профиля с расчетным радиусом вокруг вертикальной добывающей скважины, необходимость полной остановки нагнетания и добычи при прорыве пара в добывающую скважину, большие затраты времени на прогрев межскважинного пространства пласта из-за большого радиуса (для увеличения) кольцевого профиля нагнетательной скважины и сложность утилизации воды, поднимаемой вместе с продукцией залежи и отделяемой от нее. Техническими задачами предлагаемого изобретения являются интенсификация отбора, упрощение реализации за счет использования горизонтальной скважины для нагнетания вытесняющего агента, сокращение времени на прогрев межскважинного пространства пласта благодаря близкому размещению забоя нагнетательной скважины от добывающей и вытеснения горячей водой из наклонного и/или вертикального участков нагнетательной скважины, быстрое устранение прорывов теплоносителя в добывающую скважину благодаря изменению зоны закачки пара на горизонтальной части ствола скважины и утилизации попутно добываемой воды с ее использованием для вытеснения прогретой продукции. Технические задачи решаются способом разработки залежи битуминозной нефти термическим воздействием на пласт, включающим бурение нагнетательной скважины с размещением в горизонтальной плоскости термонагнетательного участка в нижней части продуктивного пласта и вертикальной добывающей скважины, закачку пара через термонагнетательный участок нагнетательной скважины и отбор продукции из добывающей скважины. Новым является то, что термонагнетательный участок бурят в виде горизонтального ствола, у забоя которого на расстоянии, исключающем прорыв пара, бурят добывающую скважину, нагнетательную скважину вскрывают от кровли продуктивного пласта до забоя, при этом горизонтальный ствол оснащают технологической колонной с выходом на расстоянии не менее Новым также является то, что технологическую колонну и пакер соединяют при помощи скользящей посадки с возможностью смещения выхода технологической колонны в горизонтальном стволе добывающей скважины без извлечения пакера. Новым также является то, что в качестве горячей воды используют попутно добываемую с продукцией воду. На чертеже изображена схема реализации способа. Способ реализуется в следующей последовательности. Способ разработки залежи битуминозной нефти термическим воздействием на пласт 1 включает бурение вертикальной добывающей скважины 2 и нагнетательной скважины 3 с термонагнетательным участком 4 в виде горизонтального ствола 4 в нижней части продуктивного пласта 1. Добывающую скважину 2 располагают у забоя нагнетательной скважины 3 на расстоянии L, исключающем прорыв пара. При прочих равных условиях чем больше вязкость продукции пласта 1, тем расстояние L меньше (например, при температуре пара 195°С и давлении 0,8 МПа для вязкости 11000 мПа⋅с L ≈ 5-7 м, а для вязкости 440 мПа⋅с L ≈ 20-25 м, L - определяется эмпирически так же в зависимости от температуры и давления нагнетаемого пара). Обсадную колонну 5 нагнетательной скважины 3 вскрывают перфорационными отверстиями 6 от кровли 7 продуктивного пласта 1 до забоя. Горизонтальный ствол 4 оснащают технологической колонной 8 с выходом 9 на расстоянии L2 не менее В процессе прогрева из горизонтального ствола 4 нагнетательной скважины 3 пар, имеющий значительно меньшую плотность, чем продукция пласта (примерно в 8-9 раз), устремляется вверх и конденсируется в пласте 1. Так как пар имеет высокую энтальпию (содержание энергии на единицу массы), то это приводит к быстрому прогреву продукции пласта 1 сверху горизонтального ствола 4. Так как вытеснение продукции пласта 1 происходит за счет нагнетания горячей воды от наклонного 11 и/или вертикального 12 участков нагнетательной скважины 3 от кровли 7 до горизонтального ствола 4, а не за счет парогравитационного дренажа, выход на промышленную добычу происходит за несколько месяцев (6-12 мес.), а не за несколько лет (4-7 лет). Вытеснение начинается с прогретых зон вблизи горизонтального ствола 4 и по мере распространения прогрева выше вытеснение охватывает всю толщину пласта 1. Так как объем прогретого пласта 1 меньше из-за более раннего освоения, то площадь фронта прогрева и, как следствие, тепловые потери тоже меньше (в 2-4 раза). Так как происходит разделение процессов прогрева паром и вытеснения горячей водой: прогрев идет за счет нагнетания пара через горизонтальный ствол 4, а вытеснение за счет нагнетания горячей воды, не позволяющей сильно снизить текучесть продукции пласта 1 от наклонного 11 и/или вертикального 12 участков нагнетательной скважины 3, то эффективность способа повышается, так как проницаемость и энтальпия пара гораздо выше, чем у воды, а коэффициент вытеснения нефти паром с водой гораздо выше, чем только паром (http://poznayka.org/s18690t1.html), при этом фронт вытеснения при закачке пара опережает фронт прогрева примерно в 9-13 раз (http://www.judywhiterealestate.com/oil42.htm), то есть предварительно прогретая продукция пласта 1 будет достигать добывающей скважины 2 примерно в 10-15 раз быстрее, чем при одновременном прогреве и вытеснении паром, ускоряя процесс освоения пласта 1. Чем быстрее осваивается пласт 1 при тепловых методах добычи продукции, тем меньше тепловые потери. При нагреве добываемой продукции (определяется измерением температуры продукции, поднимаемой насосом 13, на устье скважины 2) в добывающей скважине 2 до температуры возможного прорыва пара (определяется эмпирическим путем), выход технологической колонны 9 удаляют от забоя горизонтального ствола на расстояние L2, исключающее прорыв пара в добывающую скважину 2. Для этого нагнетание пара и горячей воды в нагнетательную скважину 3 прекращают, по окончании паропроявления технологическую колонну 8 с пакером 10 извлекают, отсоединяют от колонны 8 несколько труб со стороны выхода 9, технологическую колонну 8 с пакером 10 устанавливают на место и продолжают эксплуатацию нагнетательной скважины 3 в том же режиме нагнетания пара и воды. Для упрощения работ по смещению выхода 9 после окончания паропроявления возможна перфорация гидромеханическими перфораторами (не показаны) технологической колонны 8 на удалении от выхода 9 без извлечения технологической колонны 8 и пакера 10. Еще проще при использовании в качестве технологической колонны 8 безмуфтовых труб (труб от колтюбинга, труб, соединяемых невыступающими муфтами, и т.п.) соединять технологическую колонну 8 и пакер 10 при помощи скользящей посадки (использующей лабиринтное уплотнение, манжеты из термостойкого пластика, самоуплотняющиеся манжеты из термостойкой резины и/или т.п.) с возможностью смещения выхода 9 технологической колонны 8 в горизонтальном стволе 4 добывающей скважины 3 без извлечения пакера 10 с минимальными затратами времени. По мере увеличения отбора продукции пласта 1 из добывающей скважины 2 отделенную попутно добываемую с продукцией воду (ее в продукции при нагнетании пара 80-95%) начинают использовать в качестве горячей воды для вытеснения от наклонного 11 и/или вертикального 12 участков нагнетательной скважины 3, утилизируя ее при этом, так как эту воду нельзя закачивать в водоносные пласты. Технические и технологические элементы, не влияющие на работоспособность способа, на схеме не указаны или указаны условно. Пример конкретного выполнения. Залежь битуминозной нефти с вязкостью 440 мПа⋅с разбурили вертикальной добывающей скважиной 2 и нагнетательной скважиной 3 с размещением в горизонтальной плоскости термонагнетательного участка 4 в виде горизонтального ствола 4 длиной L1=550 м в нижней части продуктивного пласта 1, средняя толщина которого составляет 74 м. Для исключения прорыва пара добывающую скважину 2 расположили у забоя нагнетательной скважины 3 на расстоянии L=22 м. Обсадную колонну 5 нагнетательной скважины 3 вскрыли перфорационными отверстиями 6 от кровли 7 продуктивного пласта 1 до забоя, при этом горизонтальный ствол 4 оснастили технологической колонной 8 с выходом 9 на расстоянии L2=144 м (144 м > 1/4-550 м, то есть 144 м > 137,5 м) от забоя нагнетательной скважины 3 и пакером 10, изолирующим межтрубное пространство горизонтального ствола 4 от межтрубного пространства наклонного 11 и вертикального 12 участков нагнетательной скважины 3. В качестве технологической колонны 8 применили трубы от колтюбинга. Технологическую колонну 8 и пакер 10 соединили при помощи скользящей посадки в виде лабиринтного уплотнения с термостойкими манжетами (не показаны). Скользящая посадка выполнена с возможностью смещения выхода 9 технологической колонны 8 в горизонтальном стволе 4 добывающей скважины 3 без извлечения пакера 10. Закачали пар через горизонтальный ствол 4 нагнетательной скважины 3, нагнетая его по технологической колонне 8 при температуре пара 195°С и давлении 0,8 МПа. Вытеснение продукции пласта 1 от наклонного 11 и вертикального 12 участков нагнетательной скважины 3 произвели закачкой горячей воды (с температурой 80°С и давлением 1,0 МПа) по межтрубному пространству. Отбор продукции осуществили насосом 13 из добывающей скважины 2. Через 22 мес.эксплуатации в качестве горячей воды стали использовать отделяемую из продукции попутно добываемую воду, что позволило сократить до 80% затраты за счет исключения доставки и отсутствия подогрева закачиваемой воды. При нагреве добываемой продукции (определяется измерением температуры продукции, поднимаемой насосом 13, на устье скважины 2) в добывающей скважине 2 до температуры 90°С - возможного прорыва пара - выход технологической колонны 9 смещают от забоя горизонтального ствола на расстояние L2=220 м, что позволяет снизить температуру в добывающей скважине примерно до 75°С, что полностью исключает вероятность прорыва пара в добывающую скважину 2. В результате дебит добывающей скважины 2 составил 34 т/сут (примерно на 70-90% превосходит дебит добывающих скважин, использующих другие технологии на данной залежи), а конечный КИН всей залежи битуминозной нефти составил 0,376 доли ед (примерно на 40% больше, чем при парогравитационном воздействии на данный пласт). Предлагаемый способ разработки залежи битуминозной нефти термическим воздействием на пласт позволяет интенсифицировать отбор, упростить и удешевить реализацию за счет использования горизонтальной скважины для нагнетания вытесняющего агента, сократить время на прогрев межскважинного пространства пласта, благодаря близкому размещению забоя нагнетательной скважины от добывающей скважины и вытеснению горячей водой из наклонного и/или вертикального участков нагнетательной скважины, быстро устранить возможный прорыв теплоносителя - пара - в добывающую скважину, благодаря изменению зоны закачки пара на участке горизонтальной части ствола скважины и реализовать утилизацию попутно добываемой воды, используя ее для вытеснения прогретой продукции.
длины горизонтального ствола от забоя и пакером, изолирующим межтрубное пространство горизонтального ствола от межтрубного пространства наклонного и вертикального участков нагнетательной скважины, вытеснение продукции пласта от наклонного и/или вертикального участков нагнетательной скважины производят закачкой горячей воды по межтрубному пространству, при нагреве продукции в добывающей скважине до температуры возможного прорыва пара выход технологической колонны удаляют от забоя горизонтального ствола на расстояние, исключающее прорыв пара в добывающую скважину.
длины L1 горизонтального ствола 4 (L2>1/4 L1) от забоя. Горизонтальный ствол 4 также оснащают пакером 10, изолирующим межтрубное пространство горизонтального ствола 4 от межтрубного пространства наклонного 11 и вертикального 12 участков нагнетательной скважины 3. Закачку пара производят через термонагнетательный участок (горизонтальный ствол) 4 нагнетательной скважины 3, нагнетая его по технологической колонне 8. Вытеснение продукции пласта 1 от наклонного 11 и/или вертикального 12 участков нагнетательной скважины 3 производят закачкой горячей воды (с температурой более 60°С) по межтрубному пространству. Отбор продукции осуществляют насосом 13 из добывающей скважины 2. Так как обычно радиус кривизны при переходе от вертикального участка 12 к горизонтальному стволу 4 при строительстве скважин 3 обычно не менее 60 м, то при толщине продуктивной части пласта 1 менее 65 м вертикальный участок 12 в нагнетании пара не участвует, так как располагается выше кровли 7. Также при неглубоком залегании продуктивного пласта 1 (менее 100 м от поверхности) скважины 3 обычно уже бурятся с наклонным устьем без вертикального участка 12.