патент
№ RU 2314935
МПК B60B33/08

УСТРОЙСТВО ДЛЯ ПРЯМОЛИНЕЙНОГО ПЕРЕМЕЩЕНИЯ

Авторы:
Скворцов Иван Владимирович Малинин Николай Александрович Трухинов Юрий Викторович
Все (5)
Номер заявки
2006125105/11
Дата подачи заявки
13.07.2006
Опубликовано
20.01.2008
Страна
RU
Как управлять
интеллектуальной собственностью
Чертежи 
3
Реферат

[15]

Изобретение относится к средствам безлюфтового перемещения каретки измерительного устройства и может быть использовано в различных отраслях народного хозяйства: машиностроении, приборостроении, авиастроении и т.п., в частности в устройстве для перемещения контролирующих измерителей лопаток ГТД. В устройстве для прямолинейного перемещения, содержащем корпус с направляющими и каретку, направляющие выполнены с шаровыми опорами. В гнездах шаровых опор расположены шарики, а по их центру - шары, опирающиеся на эти шарики. Все оси шаровых опор направляющих размещены в одной секущей плоскости, а каретка выполнена с торцевыми скосами и установлена ими в шаровых опорах. Торцевые скосы каретки образуют между собой угол, вершина которого смещена в сторону от вышеупомянутой секущей плоскости. Смещение вершины этого угла установлено в 5° и более. Направляющие устройства оснащены эксцентриковыми втулками, а шаровые опоры установлены в этих втулках. В результате такого выполнения устройства повышается надежность и точность его работы, упрощается его конструкция. 2 з.п. ф-лы, 4 ил.

Формула изобретения

1. Устройство для прямолинейного перемещения, содержащее корпус и каретку, выполненную с торцевыми скосами и установленную ими в шаровых опорах направляющих, в гнездах которых по кругу расположены шарики, а по их центру - шары, опирающиеся на эти шарики с одной стороны, а с другой - на торцевые скосы направляющих, отличающееся тем, что оси шаровых опор направляющих размещены в одной секущей плоскости, а торцевые скосы каретки образуют между собой угол с возможностью охвата шаров шаровых опор, причем вершина этого угла отклонена в сторону от секущей плоскости.

2. Устройство по п.1, отличающееся тем, что отклонение в сторону от вышеупомянутой секущей плоскости биссектрисы вышеупомянутого угла может составлять от 5° и более.

3. Устройство по п.1, отличающееся тем, что его направляющие оснащены эксцентриковыми втулками, а шаровые опоры установлены в этих втулках.

Описание

[1]

Изобретение относится к средствам безлюфтового перемещения каретки и может быть использовано в различных отраслях народного хозяйства: машиностроении, приборостроении, авиастроении и т.п., в частности в устройстве для перемещения контролирующих измерителей лопаток ГТД.

[2]

Известно устройство для перемещения листового проката, содержащее корпус с полостями, в которых установлены гнезда с расположенными по кругу шариками, а по их центру - шарами, оприрающимися на эти шарики (см. SU a.c. №1463510 за 1989 г., кл. В60В 33/08). Недостатком известного устройства является то, что перемещаемое на шарах средство не содержит направляющих, взаимодействующих с шарами. Поэтому осуществить прямолинейное перемещение каретки с помощью этого устройства возможно лишь при оснащении его какими-либо боковыми ограничителями.

[3]

Известно устройство для прямолинейного перемещения, содержащее корпус с направляющими и каретку, причем направляющие выполнены с шаровыми опорами, в гнездах которых по кругу расположены шарики, а по их центру - шары, опирающиеся на эти шарики. Каретка выполнена с торцевыми скосами и установлена ими в шарах (см. И.Я.Левин "Справочник конструктора точных приборов" М.: Машиностроение, 1967, стр.646-649).

[4]

Недостатком известного устройства является то, что для безлюфтового перемещения каретки использовано значительное количество шаровых опор, взаимодействующих с торцевыми ее скосами как со стороны нижней ее поверхности, так и верхней. Такое выполнение устройства ухудшает надежность его работы, усложняет его конструкцию, увеличивает массу и, следовательно, повышает себестоимость его изготовления.

[5]

Задача изобретения заключается в достижении технического результата: повышение надежности и точности работы устройства, упрощение его основных узлов.

[6]

Технический результат осуществляется тем, что в устройстве для прямолинейного перемещения, содержащем корпус и каретку, выполненную с торцевыми скосами и установленную ими в шаровых опорах направляющих, в гнездах которых по кругу расположены шарики, а по их центру - шары, опирающиеся с одной стороны на эти шарики, а с другой - на торцевые скосы направляющих, оси шаровых опор направляющих размещены в одной секущей плоскости, параллельной рабочей плоскости каретки, а торцевые скосы последней образуют между собой угол, причем вершина этого угла отклонена в сторону от секущей плоскости. При этом отклонение в сторону от вышеупомянутой секущей плоскости биссектрисы вышеупомянутого угла может составлять от 5° и более. Смещением угла, образованного торцевыми скосами каретки, в сторону от секущей плоскости обеспечивают перекатывание шариков 6 в гнездах 5 шаровых опор 4. Устранением проскальзывания шариков в шаровой опоре при перемещении в них каретки трение скольжения в узле сводят к минимуму. Этому способствует оснащение направляющих устройства эксцентриковыми втулками, размещенными соответственно шаровым опорам, при этом последние установлены в этих втулках.

[7]

Изобретение поясняется фигурами, где

[8]

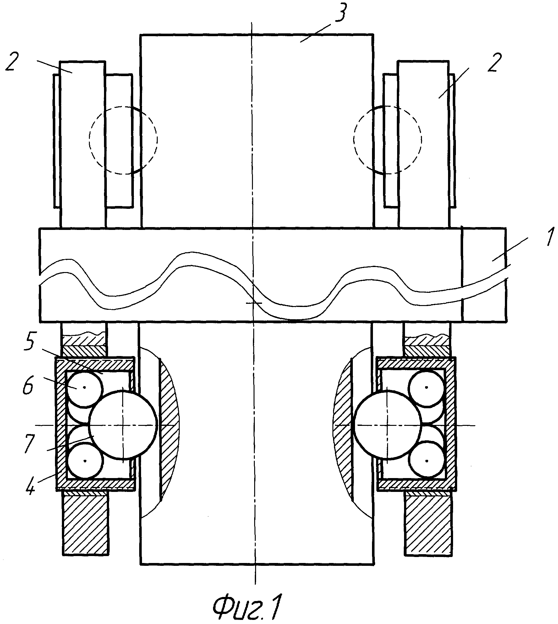
фиг.1 - устройство в сборе;

[9]

фиг.2 - устройство (вид сбоку);

[10]

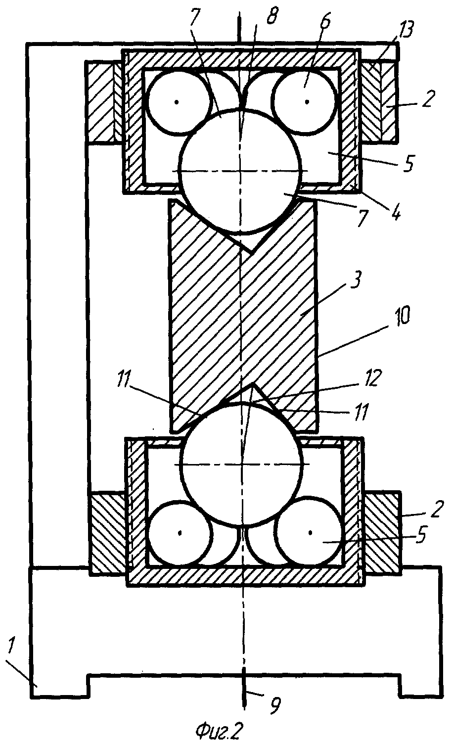
фиг.3 - шаровая опора в контакте с кареткой;

[11]

фиг.4 - шаровая опора с эксцентриковой втулкой.

[12]

Устройство для прямолинейного перемещения содержит корпус 1 с направляющими 2 и каретку 3. Направляющие 2 выполнены с шаровыми опорами 4, в гнездах 5 которых по кругу расположены шарики 6, а по их центру - шары 7, опирающиеся на шарики 6. Все оси 8 шаровых опор 4 размещены в одной секущей плоскости 9, параллельной рабочей плоскости 10 каретки 3, а последняя выполнена с торцевыми скосами 11, взаимодействующими с шарами 7 шаровых опор 4. Торцевые скосы 11 каретки образуют между собой угол α, вершина которого смещена в сторону от вышеупомянутой секущей плоскости. Биссектриса 12 угла α отклонена от вышеупомянутой секущей плоскости на величину β≥5°. Направляющие 2 оснащены эксцентриковыми втулками 13, а шаровые опоры 4 установлены в этих втулках 13.

[13]

К работе устройство готовят следующим образом. Осуществляют безлюфтовое перемещение каретки 3. В гнездах 5 шаровых опор 4 направляющих 2 приводят в контакт шары 7 с шариками 6 и торцевыми скосами 11 каретки. Для этого каждую шаровую опору 4 смещают в резьбовом отверстии эксцентриковой втулки 13 пока люфт между шариками 6, шаром 7 в гнезде 5 не устранится. Затем поворотом эксцентриковых втулок 13 в направляющих 2 рабочую плоскость 10 каретки 3 устанавливают параллельно секущей плоскости 9. После этого устройство размещают на рабочем столе и на его каретке 3 закрепляют контролирующий измеритель лопатки (не показан). Затем на рабочем столе устанавливают измеряемую лопатку и безлюфтовым перемещением каретки с контролирующим измерителем, которым осуществляют требуемые замеры.

[14]

В результате такого выполнения устройства осуществлена поставленная задача. Получен следующий технический результат: сокращено вдвое количество шаровых опор, используемых в устройстве для перемещения каретки. При этом упростилась конструкция устройства, что снизило себестоимость его изготовления. Смещением угла, образованного торцевыми скосами каретки, в сторону от секущей плоскости, обеспечили перекатывание шариков 6 в гнездах 5 шаровых опор 4, устранив их проскальзывание. В то же время оснащением направляющих эксцентриковыми втулками создали возможность настраивать рабочую плоскость каретки относительно основания корпуса.

Как компенсировать расходы
на инновационную разработку
Похожие патенты