патент
№ RU 2332545
МПК E04H1/12
Номер заявки
2006130602/03
Дата подачи заявки
24.08.2006
Опубликовано
27.08.2008
Страна
RU
Как управлять
интеллектуальной собственностью
Чертежи 
4
Реферат

[52]

Изобретение относится к сооружениям специального назначения, в частности к смотровым кабинам. Технический результат: повышение пулестойкости смотровой кабины, увеличение полезного внутреннего объема кабины при уменьшении материалоемкости, а также усиление маскировки перемещения часового. Наблюдательная вышка, содержащая смотровую бронированную кабину, поднятую относительно поверхности земли и смонтированную на опоре, снабженной защитным ограждением, корпус кабины выполнен в виде выпуклого многогранника, хотя бы одна грань которого параллельна поверхности земли, включающего бронированные окна, аварийный выход и рабочий вход-выход, снабженный лестницей. Корпус кабины выполнен из куполообразных частей, каждая из которых выполнена из пространственно разделенных внутреннего и внешнего стальных слоев. Каждый из слоев выполнен из многоугольных секций, содержащих вершины, поверхность и стороны, взаимно соединенных между собой сторонами и углами. Бронированные окна герметично встроены в грани корпуса, при этом аварийный выход расположен в одной из граней верхней части корпуса. Рабочий вход-выход расположен в одной из граней нижней части корпуса. Лестница размещена внутри опоры, а защитное ограждение опоры выполнено из непрозрачного материала. 16 з.п. ф-лы, 5 ил.

Формула изобретения

1. Наблюдательная вышка, содержащая смотровую бронированную кабину, поднятую относительно поверхности земли и смонтированную на опоре, снабженной защитным ограждением, корпус кабины выполнен в виде выпуклого многогранника, хотя бы одна грань которого параллельна поверхности земли, включающего бронированные окна, аварийный выход и рабочий вход-выход, снабженный лестницей, отличающаяся тем, что корпус кабины выполнен из куполообразных частей, каждая из которых выполнена из пространственно разделенных внутреннего и внешнего стальных слоев, каждый из слоев выполнен из многоугольных секций, содержащих вершины, поверхность и стороны, взаимно соединенных между собой сторонами и углами, бронированные окна герметично встроены в грани корпуса, при этом аварийный выход расположен в одной из граней верхней части корпуса, рабочий вход-выход расположен в одной из граней нижней части корпуса, лестница размещена внутри опоры, а защитное ограждение опоры выполнено из непрозрачного материала.

2. Наблюдательная вышка по п.1, отличающаяся тем, что куполообразные части выполнены в виде нижней и верхней половины многогранника.

3. Наблюдательная вышка по п.1, отличающаяся тем, что слои каждой куполообразной части приварены к общему основанию и разнесены относительно друг друга распорками.

4. Наблюдательная вышка по п.3, отличающаяся тем, что основания куполообразных частей состыкованы, а кромки оснований, выступающие за границы куполообразных частей, соединены болтовыми соединениями.

5. Наблюдательная вышка по п.1, отличающаяся тем, что многогранник корпуса выполнен в виде восемнадцатигранника, восемь граней которого трапециевидные, восемь граней прямоугольные, а две грани восьмиугольные.

6. Наблюдательная вышка по п.5, отличающаяся тем, что внутренние углы между стыкующимися гранями корпуса в сечении вертикальной плоскостью выполнены равными 120°.

7. Наблюдательная вышка по любому из пп.1-3, отличающаяся тем, что пространство между слоями заполнено пулетормозящим материалом, например, окатышами металлургического производства.

8. Наблюдательная вышка по любому из пп.1 и 2, отличающаяся тем, что верхняя часть корпуса снабжена бронированными окнами.

9. Наблюдательная вышка по любому из пп.1 и 2, отличающаяся тем, что нижняя часть корпуса снабжена бойницами.

10. Наблюдательная вышка по п.9, отличающаяся тем, что бойницы выполнены герметичными.

11. Наблюдательная вышка по любому из пп.1-6, отличающаяся тем, что грани корпуса, содержащие рабочий вход-выход и аварийный выход, выполнены восьмиугольными и расположены параллельно поверхности земли.

12. Наблюдательная вышка по п.11, отличающаяся тем, что рабочий вход-выход и аварийный выход выполнены в виде сдвижных герметичных круговых люков.

13. Наблюдательная вышка по п.12, отличающаяся тем, что грань корпуса, содержащая аварийный выход, оборудована системой забора и очистки внешнего воздуха.

14. Наблюдательная вышка по п.1, отличающаяся тем, что защитное ограждение опоры выполнено из металла.

15. Наблюдательная вышка по п.1, отличающаяся тем, что смотровая кабина снабжена видеомодулями с перекрывающими друг друга полями зрения.

16. Наблюдательная вышка по п.1, отличающаяся тем, что смотровая кабина снабжена устройством кругового обзора, расположенным на верхней грани верхней части корпуса, охватывающим своим полем зрения воздушное пространство над кабиной.

17. Наблюдательная вышка по п.15 или 16, отличающаяся тем, что видеомодули и устройство кругового обзора включены в автоматизированную систему цифровой видеооценки окружающей местности.

Описание

[1]

Область техники

[2]

Изобретение относится к сооружениям специального назначения, в частности к смотровым кабинам, установленным на опорах для размещения постового на периметре охраняемого объекта. Кроме постового в смотровой кабине может быть размещена автоматизированная система цифровой видеооценки окружающей местности и система отслеживания и ликвидации цели.

[3]

Предшествующий уровень техники

[4]

Известна постовая вышка (патент РФ № 2131009, класс Е04Н 1/12 от 08.09.97), содержащая свободно стоящую опору с лестницей и площадкой на верху, кабину с окнами с четырех сторон, входную дверь, входной люк.

[5]

Такая вышка малоэффективна для применения в условиях вооруженного конфликта, когда нарушитель охраняемой зоны вооружен и технически оснащен. Стены вышки и слишком большие окна не защищены от попадания пуль. Защита часового предполагается с того момента, как он оказался в кабине. Но при поднятии часового в кабину он открыт для внешнего наблюдателя и беззащитен.

[6]

В качестве прототипа выбрана вышка наблюдательная бронированная ВН-1 (рекламный проспект ФГУП СНПО «Элерон», почтовый адрес ФГУП СНПО «Элерон»: 115563, г.Москва, ул.генерала Белова, 14; служба маркетинга: тел.(495) 399-96-10, 399-98-34, факс (495) 399-99-17; рекламно-выставочная служба: тел.(495) 399-97-83, 399-97-88, факс (495)399-95-37; e-mail: sstc@eleron.org). Данная вышка состоит из смотровой бронированной кабины часового, поднятой относительно поверхности земли и смонтированной на пространственной опоре, снабженной лестницей. Пространственная опора оборудована противогранатным сетчатым защитным ограждением. Кабина часового имеет форму шестигранной призмы, нижняя грань которой параллельна поверхности земли. В стенах кабины выполнены рабочий вход-выход и откидные бронированные окна, выполняющие также функцию бойниц. Кабина оборудована люком в полу для ее экстренного покидания.

[7]

Данная конструкция имеет ряд недостатков, сказывающихся на безопасности часового. Так, вертикальное расположение стенок кабины обеспечивает попадание пули почти под прямым углом относительно поверхности, что обеспечивает большую пробивную способность пули и соответственно снижает пулестойкость кабины, что повышает вероятность поражения часового, находящегося в кабине. Кабина в форме призмы имеет внутри много рационально не использованного свободного пространства. Монтаж вышки достаточно долгий. Приоткрытые во время ведения огня окна-бойницы не исключают возможности попадания средств поражения в часового, непосредственно располагающегося вблизи бойниц.

[8]

Перемещение часового к рабочему входу кабины происходит по открытой лестнице, что не обеспечивает его защиты от попадания средств поражения. При покидании часовым кабины через люк в полу он также оказывается незащищенным, так как сетчатое заграждение опоры не является преградой от поражения стрелковым оружием.

[9]

Раскрытие изобретения

[10]

Задачей, на решение которой направлено заявляемое изобретение, является создание легко монтируемой, экономичной смотровой вышки, обеспечивающей повышенную безопасность часового и аппаратуры внутри кабины от вооруженного нападения.

[11]

Технический результат, достигаемый при решении этой задачи, заключается в повышении пулестойкости смотровой кабины, увеличении полезного внутреннего объема кабины при уменьшении материалоемкости. Техническим результатом является также усиление маскировки перемещения часового.

[12]

Технический результат достигается тем, что в наблюдательной вышке, содержащей смотровую бронированную кабину, поднятую относительно поверхности земли и смонтированную на опоре, снабженной защитным ограждением, корпус кабины выполнен в виде выпуклого многогранника, хотя бы одна грань которого параллельна поверхности земли, включающего бронированные окна, аварийный выход и рабочий вход-выход, снабженный лестницей, согласно изобретению корпус кабины выполнен из куполообразных частей, каждая из которых выполнена из пространственно разделенных внутреннего и внешнего стальных слоев, каждый из слоев выполнен из многоугольных секций, содержащих вершины, поверхность и стороны, взаимно соединенных между собой сторонами и углами, бронированные окна герметично встроены в грани корпуса, при этом аварийный выход расположен в одной из граней верхней части корпуса, рабочий вход-выход расположен в одной из граней нижней части корпуса, лестница размещена внутри опоры, а защитное ограждение опоры выполнено из непрозрачного материала.

[13]

Выполнение корпуса кабины из куполообразных частей предполагает отличие его от призматической формы и приближение к форме шарообразной. Так как именно шар из всех объемных фигур характеризуется наименьшей площадью внешней поверхности при одинаковом внутреннем объеме, то описанная форма предлагаемого изобретения предполагает экономию материала, используемого при изготовлении кабины.

[14]

Выполнение корпуса кабины из куполообразных частей, каждая из которых выполнена из пространственно разделенных внутреннего и внешнего стальных слоев, позволяет повысить защищенность часового и аппаратуры, находящихся в кабине, от вооруженного нападения извне. Это происходит в первую очередь из-за того, что предлагаемая форма кабины отличается от призматической, которая представлена в прототипе и в аналоге. При выстреле по кабине угол между предполагаемой траекторией полета пули и поверхностью стенки кабины призматической формы будет близок 90°, а значит, воздействие пули при попадании будет максимально возможным. В заявляемом техническом решении куполообразная поверхность собирается из многоугольных секций, при попадании в которые угол между предполагаемой траекторией полета пули и поверхностью секции будет больше 90°. А значит, воздействие пули на поверхность кабины меньше, следовательно, пулестойкость такой кабины выше, чем в прототипе. Кроме того, корпус кабины в предлагаемом изобретении состоит из двух разнесенных слоев стали. Пулестойкость такой кабины выше, но не только за счет суммарного эффекта двойного слоя бронированной стали, но и за счет того, что разделенные пространством слои приобретают дополнительное свойство менять направление попадающей в корпус кабины пули. После того как пуля пробила первый слой бронированной стали, ее скорость замедляется, а направление отклоняется от первоначального. Преодолев расстояние между стальными слоями, пуля подлетает ко второму слою с отклонением от первоначального курса и со скоростью, не достаточной для разрушения этого слоя. Это увеличивает пулестойкость заявляемой кабины.

[15]

Рабочий вход-выход расположен в одной из граней нижней части корпуса, лестница размещена внутри опоры, а защитное ограждение опоры выполнено из непрозрачного материала. Эти обстоятельства направлены на усиление маскировки часового. Благодаря защитному ограждению опоры, внутри которой расположена лестница, по которой часовой попадает внутрь кабины, снаружи невозможно отследить время и периодичность прихода часового. Поэтому подъем часового по лестнице остается не замеченным снаружи, то есть замаскированным, что повышает его защищенность.

[16]

Выполнение куполообразных частей в виде нижней и верхней половины многогранника наиболее технологично с точки зрения монтажа кабины на месте ее использования.

[17]

Слои каждой куполообразной части могут быть соединены между собой привариванием к общему основанию и разнесены друг относительно друга распорками.

[18]

При этом пуля, попав во внешний слой корпуса, теряет скорость, отклоняется от первоначального курса и поворачивается между слоями, следовательно, оказывает меньшее воздействие на внутренний слой корпуса.

[19]

В одном из вариантов исполнения основания куполообразных частей состыкованы, а кромки оснований, выступающие за границы куполообразных частей, соединены болтовыми соединениями. Это повышает технологичность монтажа наблюдательной вышки на месте.

[20]

Многогранник корпуса может быть выполнен в виде восемнадцатигранника, восемь граней которого трапециевидные, восемь прямоугольные, а две грани восьмиугольные. При этом внутренние углы между стыкующимися гранями корпуса в сечении вертикальной плоскостью выполнены равными 120°.

[21]

Такое исполнение позволяет рационально использовать внутренний объем смотровой кабины, разместив в центре кабины часового, а в нише, образованной в месте стыковки верхней и нижней куполообразных частей, необходимую аппаратуру слежения и обработки информации. Размещенная таким образом аппаратура дополнительно защищает часового от попадания пуль извне, принимая на себя первый удар. Кроме того, при одинаковом внутреннем объеме призматическая форма кабины имеет площадь внешней поверхности больше, чем форма многогранника, приближенная к форме шара. А это значит, что кабина, выполненная в форме многогранника, дает экономию материала, из которого она изготовлена.

[22]

В одном из вариантов пространство между слоями заполнено пулетормозящим материалом, например окатышами металлургического производства.

[23]

Это дополнительно усиливает пулестойкость кабины. Пуля, попав в кабину и преодолев первый слой, встречает тормозящий материал в виде окатышей, который еще больше тормозит ее продвижение и меняет первоначальную траекторию.

[24]

Верхняя часть корпуса может быть снабжена бронированными окнами. Нижняя часть корпуса может быть снабжена бойницами. Бойницы могут быть выполнены герметичными.

[25]

Бронированные окна герметично встроены в боковые грани верхней части корпуса, что повышает защищенность находящихся в кабине часового и аппаратуры. По сравнению с прототипом, где бронированные окна при необходимости вести ответный огонь необходимо открывать, наличие в предлагаемом решении герметично встроенных окон и герметичных бойниц исключают вероятность случайного попадания пули через открытое окно.

[26]

В наиболее удобном случае грани корпуса, содержащие рабочий вход-выход и аварийный выход, выполнены восьмиугольными и расположены параллельно поверхности земли. Рабочий вход-выход и аварийный выход могут быть выполнены в виде сдвижных герметичных круговых люков, а грань корпуса, содержащая аварийный выход, оборудована системой забора и очистки внешнего воздуха.

[27]

Для повышения защищенности от вооруженного нападения с применением средств газовой атаки предусмотрена герметичная защита смотровой кабины в виде герметичных люков входа-выхода и аварийного выхода, герметичных бронированных окон и бойниц, а также системы забора и очистки внешнего воздуха. Для эвакуации часового, при невозможности покинуть кабину через рабочий люк входа-выхода предусмотрен аварийный люк в одной из граней верхней части корпуса. При применении нарушителем газового оружия, когда внутренний объем опоры вышки заполнен газом, не пригодным для дыхания, часовой может некоторое время находиться в кабине, загерметизировав рабочий вход-выход, используя очищенный внешний воздух, а затем покинуть кабину через верхний люк. Аварийное покидание кабины происходит при помощи страховки.

[28]

В одном из лучших вариантов исполнения защитное ограждение опоры выполнено из металла.

[29]

Металлическое ограждение опоры кроме невозможности визуального обнаружения нарушителем момента проникновения часового в кабину и момента его покидания кабины придает еще некоторую пулестойкость, хотя и меньшего класса, чем сама кабина.

[30]

Смотровая кабина снабжена видеомодулями с перекрывающими друг друга полями зрения. Кроме того, смотровая кабина снабжена устройством кругового обзора, расположенным на верхней грани верхней части корпуса, охватывающим своим полем зрения воздушное пространство над кабиной. Видеомодули и устройство кругового обзора включены в автоматизированную систему цифровой видеооценки окружающей местности.

[31]

С помощью видеомодулей и системы кругового обзора достигается возможность максимального охвата окружающей местности видеоконтролем, что повышает вероятность обнаружения нарушителя на больших расстояниях от наблюдательной вышки и увеличивает время на принятие решения ответных действий по отношению к нарушителю. Это повышает безопасность самой наблюдательной вышки и часового, находящегося в ней.

[32]

Краткое описание чертежей

[33]

На фиг.1 показана смонтированная наблюдательная вышка в изометрии.

[34]

На фиг.2 показана смотровая кабина в изометрии.

[35]

На фиг.3 показана смотровая кабина в фронтальном сечении.

[36]

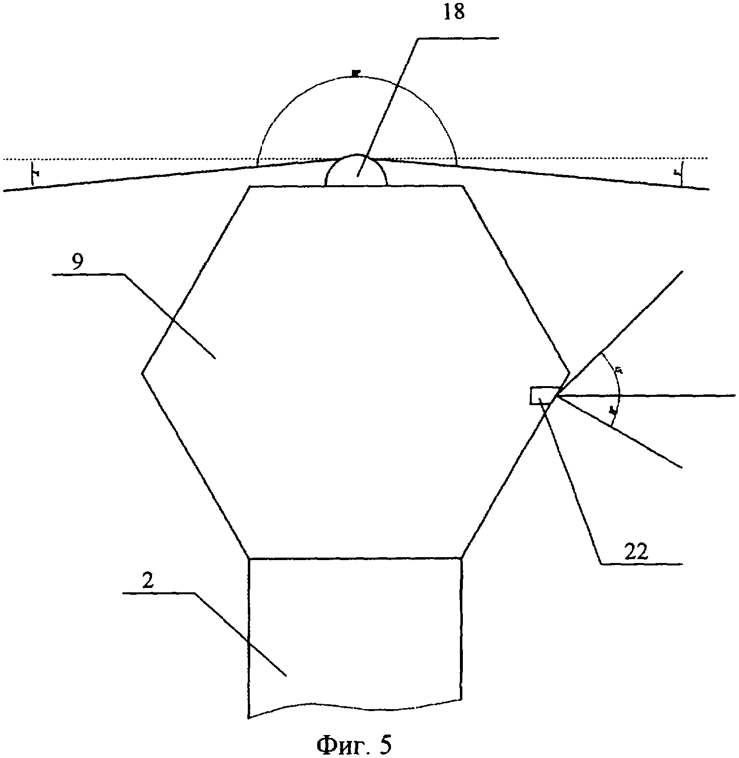
На фиг.4 показано расположение полей зрения системы цифровой видеооценки в горизонтальной плоскости.

[37]

На фиг.5 показано расположение полей зрения системы цифровой видеооценки в вертикальной плоскости.

[38]

Варианты осуществления изобретения

[39]

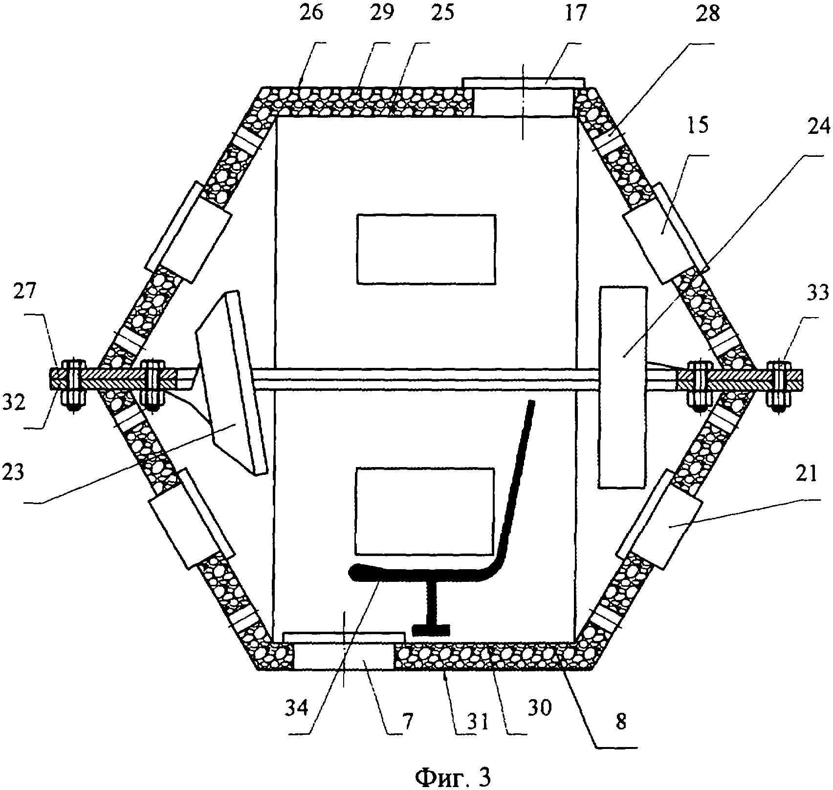
Как показано на фиг.1, наблюдательная вышка смонтирована на фундаменте 1. К монтажным отверстиям (на фиг.1 не показано) фундамента 1 жестко прикреплена опора 2, обшитая листовым металлом 3, имеющая замаскированный вход 4, подход к которому соединен с окопом 5, по которому часовой незаметно может подойти к опоре 2. Внутри опоры 2 от входа 4 вверх ведет лестница 6 до герметичного люка входа-выхода 7 (на фиг.3), находящегося в нижней грани 8 (на фиг.3) смотровой кабины 9. Смотровая кабина 9 жестко прикреплена к опоре 2.

[40]

Как показано на фиг.2, смотровая кабина 9 смонтирована из двух куполообразных частей, верхней 10 и нижней 11. Каждая часть состоит из четырех четырехугольных 12, четырех трапециевидных 13 и одной восьмиугольной 14 граней. В верхней части 10 в каждой четырехугольной грани 12 выполнено по одному герметичному окну 15, вид из которых дает в сумме круговой обзор вокруг опоры 2. По периметру верхней грани 14 жестко смонтированы рым-болты 16, для монтажа кабины 9 в полевых условиях, за один из которых в аварийной ситуации крепится страховка для быстрого покидания (на фиг.1 не показано) кабины 9. В верхней грани 14 части 10 оборудован герметичный люк аварийного выхода 17, герметизирующий внутреннее пространство кабины 9. Кроме этого, на верхней грани 14 смонтировано устройство кругового обзора 18, фиксирующее картину верхней полусферы внешнего пространства вокруг наблюдательной кабины 9, а также устройство забора и очистки внешнего воздуха 19.

[41]

В нижней части 11 смотровой кабины 9 в каждой из четырех прямоугольных граней 20 смонтирована герметичная бойница 21, из которых при необходимости часовым может быть открыт огонь. Так же как и обзор, огонь может вестись вокруг опоры 2 в любом направлении благодаря тому, что бойницы выходят на четыре основные направления относительно кабины 9.

[42]

Смотровая кабина 9 по линии границы наибольшего поперечного сечения снабжена видеомодулями 22. Совмещенные с автоматизированной системой обработки видеоинформации 23, находящейся внутри кабины 9 (как показано на фиг.3), видеомодули 22 и устройство кругового обзора 18 дают часовому внутри кабины 9 общую картину наружного пространства с выделением движущихся и потенциально опасных объектов с указанием их координат в пространстве. Подробнее сектор охвата контролируемого пространства вокруг кабины показан на фиг.4 и фиг.5. Видеомодули 22 направлены своими полями зрения 100° в горизонтальной плоскости (фиг.4) и 75° в вертикальной плоскости (фиг.5) в четыре противоположные стороны от смотровой кабины 9. Это позволяет контролировать окружающее пространство вокруг кабины 9 на уровне высоты самой кабины 9. Для контролирования пространства над кабиной 9 от нарушителей воздушного пространства на верхней грани 14 смотровой кабины 9 установлено устройство кругового обзора 18, дающее угол обзора пространства 190°. Таким образом обеспечивается максимально возможный охват и контролирование пространства, окружающего наблюдательную вышку.

[43]

Возможна автоматизация сбора и обработки информации с помощью аппаратуры 23, находящейся в смотровой кабине 9 (на фиг.3). В результате этого функции часового в смотровой кабине 9 сводятся к функциям оператора, проводящего профилактические работы, и постоянное присутствие его внутри кабины 9 отпадает. Вся информация от кабины 9 поступает на пульт оператора, находящегося в безопасном месте, который и принимает окончательное решение о характере нарушителя и необходимости поражения цели. Для создания условий пребывания часовому, находящемуся внутри кабины 9, предусмотрена аппаратура поддержания внутреннего микроклимата 24.

[44]

На фиг.3 показана во фронтальном сечении смотровая кабина 9, смонтированная из двух куполообразных частей 10 и 11. Верхняя часть 10 состоит из разнесенных куполообразных слоев 25 и 26, приваренных к общему основанию 27. К внутреннему слою 25 прикреплены распорки 28, удерживающие на расстоянии внешний слой 26 относительно внутреннего слоя 25. Слои 25 и 26 состоят из четырех прямоугольных, четырех трапециевидных и одной восьмиугольной секций, скрепленных между собою сторонами и углами при помощи сварки. Между внешним слоем 26 и внутренним 25 воздушная полость заполнена окатышами металлургического производства 29.

[45]

Нижняя часть 11 смотровой кабины 9 так же состоит из двух разнесенных слоев 30 и 31 бронированной стали, приваренных к общему основанию 32. К внутреннему слою 30 прикреплены распорки 28, удерживающие внешний слой 31 от внутреннего слоя 30 на расстоянии. Слои 30 и 31 изготовлены из секций четырех прямоугольной, четырех трапециевидной и одной восьмиугольной формы, скрепленных между собой сторонами и углами сваркой. Между слоями 30 и 31 воздушная полость заполнена пулетормозящим материалом - окатышами металлургического производства 29.

[46]

Верхняя часть 10 и нижняя часть 11 кабины 9 состыкованы друг с другом основаниями 27 и 32, у которых имеются внешние кромки, выступающие за границы частей 10 и 11. Эти кромки соединены между собой болтовыми соединениями 33.

[47]

Внутреннее пространство кабины 9, образованное соединением верхней 10 и нижней 11 частей может быть использовано для монтирования автоматизированной аппаратуры слежения 23 или аппаратуры поддержания внутреннего микроклимата 24 в кабине 9. Монтирование данным образом аппаратуры 23 и 24 дает наиболее рациональное использование пространства кабины 9, при расположении рабочего места часового 34 в середине кабины.

[48]

Готовые части наблюдательной вышки доставляются к месту сборки в разобранном виде. Наблюдательная вышка монтируется на охраняемом рубеже вместе с подводящим окопом 5. По окопу 5 часовой имеет возможность скрытно от внешнего наблюдения подойти к опоре 2 и через замаскированный вход 4 попасть внутрь опоры 2. По лестнице 6 он поднимается вверх, скрытый от внешнего наблюдения листовым металлом 3. Поднявшись до уровня кабины 9, часовой открывает герметичный люк входа-выхода 7 и проникает внутрь смотровой кабины 9. Здесь, расположившись на рабочем месте 34, часовой снимает показания аппаратуры слежения 23, сканирующих пространство вокруг вышки устройством кругового обзора 18 и системами видеонаблюдения 22. При необходимости часовой имеет возможность визуально увидеть окружающую местность через окна 15. Микроклимат внутри кабины слежения 9 поддерживает аппаратура кондиционирования 24. При обнаружении нарушителя на аппаратуре слежения 23, часовой имеет возможность открыть ответный огонь, используя герметичные бойницы 21. Учитывая, что наблюдательная вышка имеет связь с командным пунктом, часовой подает сигнал тревоги на командный пункт. В ходе ведения боя, при применении неприятелем газового оружия, часовой внутри кабины 9 защищен от отравления газом герметичными окнами 15, герметичными бойницами 21, герметичными люками входа-выхода 7 и аварийного покидания кабины 17, а также устройством забора и очистки внешнего воздуха 19. Если, переждав некоторое время в кабине 9, пока не пройдет опасность газового отравления, часовой принимает решение об эвакуации, то у него имеется два варианта покинуть кабину 9. В первом варианте часовой покидает кабину 9 через люк 7, спускаясь по лестнице 6, через вход 4 окопом 5. В это время он снова защищен от внешнего воздействия листовым металлом 3 и окопом 5. Если этот путь покидания кабины 9 невозможен, например из-за загазованности, то часовой может воспользоваться люком аварийного выхода 17, открыв его из кабины 9. Часовой выбирается через люк 17 на верхнюю грань 14 смотровой кабины 9, фиксирует страховку к одному из рым-болтов 16 и спускается вниз с внешней стороны наблюдательной вышки.

[49]

Промышленная применимость

[50]

Наиболее эффективно выглядит использование предложенной наблюдательной вышки в системе охраны периметра стратегически значимого объекта. Вышки, объединенные в систему, способны дать общую картину обстановки на охраняемом периметре, сообщать информацию об изменениях в центральный пункт сбора информации, где оператор принимает решение о выявлении или поражении нарушителя. Оператор при этом находится в безопасном месте, а наблюдательная вышка работает в автономном режиме. Обслуживание наблюдательной вышки происходит незаметно для внешнего наблюдателя, что повышает безопасность часового. Форма кабины, укрепление ее нижней части, монтаж оборудования также способствуют повышению безопасности часового, проводящего периодический осмотр вышки.

[51]

В принципе, возможно использование изобретения на любых охраняемых территориях, так как возможно наблюдение и ведение ответного огня в любом направлении от наблюдательной вышки. Рассмотренные выше варианты выполнения изобретения показывают его работоспособность.

Как компенсировать расходы
на инновационную разработку
Похожие патенты