патент
№ RU 2660329
МПК G01C3/08

Лазерный дальномер с функцией обнаружения оптических и оптико-электронных устройств

Авторы:
Тарасов Павел Александрович
Номер заявки
2017114190
Дата подачи заявки
25.04.2017
Опубликовано
05.07.2018
Страна
RU
Как управлять
интеллектуальной собственностью
Чертежи 
1
Реферат

Изобретение относится к техническим средствам измерения расстояния до объектов с источниками лазерного излучения и может быть использовано в оптических наблюдательных приборах, прицелах-дальномерах и других устройствах. Лазерный дальномер содержит модуль лазерного излучателя, модуль приемника, модуль сбора и обработки данных и модуль дисплея. Модуль лазерного излучателя состоит из полупроводникового лазера с присоединенным к нему модулятором, первого объектива, установленного последовательно по ходу луча. Модуль приемника установлен параллельно с модулем лазерного излучателя и состоит из последовательно установленных по ходу луча второго объектива, фотодиода модуля приемника с присоединенным к нему усилителем модуля приемника. Модуль сбора и обработки данных и модуль дисплея установлены в лазерном дальномере так, что выход модуля сбора и обработки данных связан со входом модуля дисплея. Модулятор расположен в модуле лазерного излучателя так, что первый выход модулятора связан со входом полупроводникового лазера, расположенного перед оптически связанным с ним первым объективом, второй выход модулятора связан с первым входом модуля сбора и обработки данных. В модуле приемника второй объектив оптически связан с фотодиодом модуля приемника, расположенным так, что выход фотодиода модуля приемника связан со входом усилителя модуля приемника, выход усилителя модуля приемника связан со вторым входом модуля сбора и обработки данных. В модуле приемника также установлены дополнительный фотодиод модуля приемника, дополнительный усилитель модуля приемника, первая фазовая пластинка и первый светоделитель с отражающей гранью, расположенный между вторым объективом и фотодиодом модуля приемника. В модуле лазерного излучателя установлены фотодиод модуля лазерного излучателя, усилитель модуля лазерного излучателя, вторая фазовая пластинка и второй светоделитель с отражающей гранью, расположенный между первым объективом и полупроводниковым лазером. Первая фазовая пластинка установлена между вторым объективом и первым светоделителем, отражающая грань которого оптически связана с дополнительным фотодиодом модуля приемника. Выход дополнительного фотодиода модуля приемника связан со входом дополнительного усилителя модуля приемника, выход которого в свою очередь связан с третьим входом модуля сбора и обработки данных. Вторая фазовая пластинка установлена между первым объективом и вторым светоделителем, отражающая грань которого оптически связана с фотодиодом модуля лазерного излучателя. Выход фотодиода модуля лазерного излучателя связан со входом усилителя модуля лазерного излучателя, выход которого в свою очередь связан с четвертым входом модуля сбора и обработки данных. При этом чувствительная площадка дополнительного фотодиода модуля приемника расположена в фокальной плоскости второго объектива, чувствительная площадка фотодиода модуля лазерного излучателя расположена в фокальной плоскости первого объектива, плоскость поляризации излучения полупроводникового лазера совмещена с плоскостями, перпендикулярными отражающим граням первого и второго светоделителей, а оптические оси первой и второй фазовых пластинок ориентированы под углом 45° к плоскости. Технический результат – повышение энергетического потенциала лазерного дальномера. 1 ил.

Формула изобретения

Лазерный дальномер, содержащий модуль лазерного излучателя, состоящий из полупроводникового лазера с присоединенным к нему модулятором и первого объектива, установленного последовательно по ходу луча, модуль приемника, установленный параллельно с модулем лазерного излучателя и состоящий из последовательно установленных по ходу луча второго объектива, фотодиода модуля приемника с присоединенным к нему усилителем модуля приемника, а также модуль сбора и обработки данных и модуль дисплея, установленные так, что выход модуля сбора и обработки данных связан со входом модуля дисплея, при этом модулятор расположен в модуле лазерного излучателя так, что первый выход модулятора связан со входом полупроводникового лазера, расположенного перед оптически связанным с ним первым объективом, второй выход модулятора связан с первым входом модуля сбора и обработки данных, в модуле приемника второй объектив оптически связан с фотодиодом модуля приемника, расположенным так, что выход фотодиода модуля приемника связан со входом усилителя модуля приемника, выход усилителя модуля приемника связан со вторым входом модуля сбора и обработки данных, отличающийся тем, что в модуль приемника введены дополнительный фотодиод модуля приемника, дополнительный усилитель модуля приемника, первая фазовая пластинка и первый светоделитель с отражающей гранью, установленный между вторым объективом и фотодиодом модуля приемника, а в модуль лазерного излучателя дополнительно введены фотодиод модуля лазерного излучателя, усилитель модуля лазерного излучателя, вторая фазовая пластинка и второй светоделитель с отражающей гранью, установленный между первым объективом и полупроводниковым лазером, при этом первый светоделитель выполнен поляризационным, первая фазовая пластинка выполнена четвертьволновой и установлена между вторым объективом и первым светоделителем, отражающая грань которого оптически связана с дополнительным фотодиодом модуля приемника, выход дополнительного фотодиода модуля приемника связан со входом дополнительного усилителя модуля приемника, выход которого в свою очередь связан с третьим входом модуля сбора и обработки данных, кроме того, второй светоделитель выполнен поляризационным, вторая фазовая пластинка выполнена четвертьволновой и установлена между первым объективом и вторым светоделителем, отражающая грань которого оптически связана с фотодиодом модуля лазерного излучателя, выход фотодиода модуля лазерного излучателя связан со входом усилителя модуля лазерного излучателя, выход которого в свою очередь связан с четвертым входом модуля сбора и обработки данных, при этом чувствительная площадка дополнительного фотодиода модуля приемника расположена в фокальной плоскости второго объектива, чувствительная площадка фотодиода модуля лазерного излучателя расположена в фокальной плоскости первого объектива, плоскость поляризации излучения полупроводникового лазера совмещена с плоскостями, перпендикулярными отражающим граням первого и второго светоделителей, а оптические оси первой и второй фазовых пластинок ориентированы под углом 45° к плоскости поляризации полупроводникового лазера.

Описание

[1]

Изобретение относится к техническим средствам измерения расстояния до объектов с источниками лазерного излучения и может быть использовано в оптических наблюдательных приборах, прицелах-дальномерах и других устройствах.

[2]

Известны дальномеры на основе полупроводниковых лазеров, рассмотренные в книге - Бокшанский В.Б., Бондаренко Д.А., Вязовых М.В. и др. Лазерные приборы и методы измерения дальности. - М.: Изд-во МГТУ им. Н.Э. Баумана, 2012. Основным назначением лазерных дальномеров является измерение расстояния до различных объектов. Некоторые лазерные дальномеры имеют дополнительные функции: определение скорости движения объекта, индикация координат собственного местоположения и т.п.

[3]

Также известны локаторы для обнаружения оптических и оптико-электронных устройств, рассмотренные, например, в статье Южика И.Б., Малинина В.В., Попова Г.Н. под названием «Приборы для обнаружения и подавления оптических и оптико-электронных средств», издательство Интерэкспо Гео-Сибирь, №1, 2008 г., стр. 148-152.

[4]

Оптические и оптико-электронные устройства, к которым относятся оптические, телевизионные, тепловизионные прицелы и наблюдательные приборы, как правило, имеют объектив, в фокальной плоскости которого расположена чувствительная площадка приемника оптического излучения, прицельная сетка или другой оптический элемент. Такие устройства обладают эффектом световозвращения зондирующего оптического излучения.

[5]

В предлагаемом изобретении рассматривается лазерный дальномер, в котором наряду с измерением расстояния реализована функция обнаружения оптических и оптико-электронных устройств.

[6]

Наиболее близким аналогом к заявляемому техническому решению является лазерный дальномер, описанный в патенте CN №203054222, МПК G01S 17/08, опубликованном 10.07.2013. Лазерный дальномер с функцией измерения угла содержит модуль лазерного излучателя, модуль приемника, модуль сбора и обработки данных и модуль дисплея. Модуль лазерного излучателя состоит из полупроводникового лазера с присоединенным к нему модулятором и первого объектива, установленного последовательно по ходу луча. Модуль приемника установлен параллельно с модулем лазерного излучателя и состоит из последовательно установленных по ходу луча второго объектива, фотодиода модуля приемника с присоединенным к нему усилителем модуля приемника. Выход модуля сбора и обработки данных связан со входом модуля дисплея. Модулятор расположен в модуле лазерного излучателя так, что первый выход модулятора связан со входом полупроводникового лазера, расположенного перед оптически связанным с ним первым объективом. Второй выход модулятора связан с первым входом модуля сбора и обработки данных. В модуле приемника второй объектив оптически связан с фотодиодом модуля приемника, расположенным так, что выход фотодиода модуля приемника связан со входом усилителя модуля приемника, а выход усилителя модуля приемника связан со вторым входом модуля сбора и обработки данных. Устройство обеспечивает измерение расстояния до объекта, а также угла наклона дальномера, с выводом информации на экран дисплея. Однако в данном лазерном дальномере отсутствует возможность обнаружения оптических и оптико-электронных устройств.

[7]

Задачей, на решение которой направлено заявляемое техническое решение, является расширение функциональных возможностей и повышение эксплуатационных характеристик лазерного дальномера.

[8]

Технический результат заключается в возможности, наряду с измерением расстояния, обнаружения оптических и оптико-электронных устройств, а также в повышении энергетического потенциала лазерного дальномера.

[9]

Это достигается тем, что в лазерный дальномер, содержащий модуль лазерного излучателя, состоящий из полупроводникового лазера с присоединенным к нему модулятором и первого объектива, установленного последовательно по ходу луча, модуль приемника, установленный параллельно с модулем лазерного излучателя и состоящий из последовательно установленных по ходу луча второго объектива, фотодиода модуля приемника с присоединенным к нему усилителем модуля приемника, а также модуль сбора и обработки данных и модуль дисплея, установленные так, что выход модуля сбора и обработки данных связан со входом модуля дисплея, при этом модулятор расположен в модуле лазерного излучателя так, что первый выход модулятора связан со входом полупроводникового лазера, расположенного перед оптически связанным с ним первым объективом, второй выход модулятора связан с первым входом модуля сбора и обработки данных, в модуле приемника второй объектив оптически связан с фотодиодом модуля приемника, расположенным так, что выход фотодиода модуля приемника связан со входом усилителя модуля приемника, выход усилителя модуля приемника связан со вторым входом модуля сбора и обработки данных, в отличие от известного, в модуль приемника введены дополнительный фотодиод модуля приемника, дополнительный усилитель модуля приемника, первая фазовая пластинка и первый светоделитель с отражающей гранью, установленный между вторым объективом и фотодиодом модуля приемника, а в модуль лазерного излучателя дополнительно введены фотодиод модуля лазерного излучателя, усилитель модуля лазерного излучателя, вторая фазовая пластинка и второй светоделитель с отражающей гранью, установленный между первым объективом и полупроводниковым лазером, при этом первый светоделитель выполнен поляризационным, первая фазовая пластинка выполнена четвертьволновой и установлена между вторым объективом и первым светоделителем, отражающая грань которого оптически связана с дополнительным фотодиодом модуля приемника, выход дополнительного фотодиода модуля приемника связан со входом дополнительного усилителя модуля приемника, выход которого в свою очередь связан с третьим входом модуля сбора и обработки данных, кроме того, второй светоделитель выполнен поляризационным, вторая фазовая пластинка выполнена четвертьволновой и установлена между первым объективом и вторым светоделителем, отражающая грань которого оптически связана с фотодиодом модуля лазерного излучателя, выход фотодиода модуля лазерного излучателя связан со входом усилителя модуля лазерного излучателя, выход которого в свою очередь связан с четвертым входом модуля сбора и обработки данных, при этом чувствительная площадка дополнительного фотодиода модуля приемника расположена в фокальной плоскости второго объектива, чувствительная площадка фотодиода модуля лазерного излучателя расположена в фокальной плоскости первого объектива, плоскость поляризации излучения полупроводникового лазера совмещена с плоскостями, перпендикулярными отражающим граням первого и второго светоделителей, а оптические оси первой и второй фазовых пластинок ориентированы под углом 45° к плоскости поляризации полупроводникового лазера.

[10]

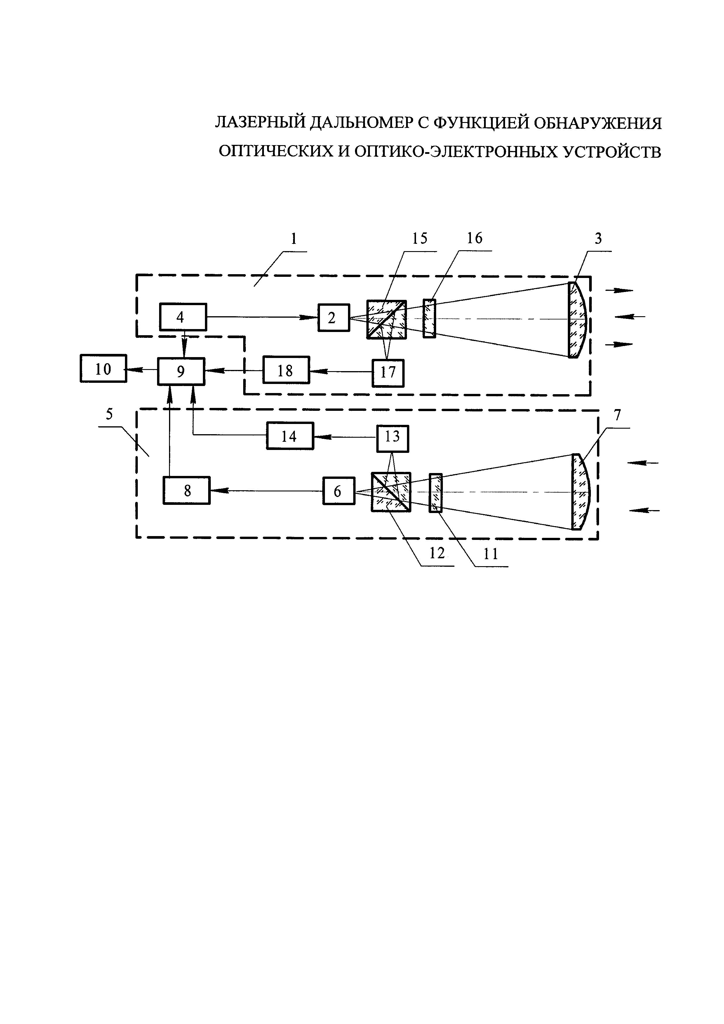
На фиг. изображена функциональная схема лазерного дальномера.

[11]

Лазерный дальномер (фиг. 1) содержит модуль лазерного излучателя 1, в состав которого входит полупроводниковый лазер 2 с первым объективом 3 и модулятором 4, модуль приемника 5, в состав которого входят первый фотодиод 6 со вторым объективом 7 и усилителем 8 модуля приемника 5, модуль сбора и обработки данных 9, модуль дисплея 10 с экраном (на фиг. экран не указан), первую фазовую пластинку 11 и первый светоделитель 12 с отражающей гранью, установленные в модуле приемника 5, дополнительный фотодиод 13 модуля приемника 5, установленный последовательно с отражающей гранью первого светоделителя 12 с дополнительным усилителем 14 модуля приемника 5, второй светоделитель 15 с отражающей гранью, а также установленные в модуле лазерного излучателя 1 вторую фазовую пластинку 16, фотодиод 17 модуля лазерного излучателя 1 и усилитель 18 модуля лазерного излучателя 1. В модуле лазерного излучателя 1 установлены полупроводниковый лазер 2, первый объектив 3, оптически связанный с полупроводниковым лазером 2 и расположенный последовательно по ходу луча, и модулятор 4, присоединенный к полупроводниковому лазеру 2 так, что первый выход модулятора 4 связан с входом полупроводникового лазера 2. Модуль приемника 5 расположен параллельно с модулем лазерного излучателя 1 и состоит из фотодиода 6 модуля приемника 5, второго объектива 7, оптически связанного с фотодиодом 6 модуля приемника 5 и усилителя 8 модуля приемника 5, присоединенного к фотодиоду 6 модуля приемника 5, установленных так, что выход фотодиода 6 модуля приемника 5 связан со входом усилителя 8 модуля приемника 5. Модуль сбора и обработки данных 9 установлен в лазерном дальномере таким образом, что первый его вход связан со вторым выходом модулятора 4, второй вход модуля сбора и обработки данных 9 связан с выходом усилителя 8 модуля приемника 5. Модуль дисплея 10 установлен в лазерном дальномере так, что вход модуля дисплея 10 связан с выходом модуля сбора и обработки данных 9. Первая фазовая пластинка 11 установлена в модуле приемника 5 между фотодиодом 6 модуля приемника 5 и вторым объективом 7, а первый светоделитель 12, выполненный с отражающей гранью, установлен между фотодиодом 6 модуля приемника 5 и первой фазовой пластинкой 11. Дополнительный фотодиод 13 модуля приемника 5 оптически связан с отражающей гранью первого светоделителя 12, а дополнительный усилитель 14 модуля приемника 5 установлен так, что его вход связан с выходом дополнительного фотодиода 13 модуля приемника 5, при этом выход дополнительного усилителя 14 модуля приемника 5 связан с третьим входом модуля сбора и обработки информации 9. Второй светоделитель 15, выполненный с отражающей гранью, установлен в модуле лазерного излучателя 1 между полупроводниковым лазером 2 и первым объективом 3, а вторая фазовая пластинка 16 установлена между первым объективом 3 и вторым светоделителем 15. Фотодиод 17 модуля лазерного излучателя 1 оптически связан с отражающей гранью второго светоделителя 15, а усилитель 18 модуля лазерного излучателя 1 установлен таким образом, что выход фотодиода 17 модуля лазерного излучателя 1 связан со входом усилителя 18 модуля лазерного излучателя 1, при этом выход усилителя 18 модуля лазерного излучателя 1 связан с четвертым входом модуля сбора и обработки информации 9. Первый светоделитель 12 и второй светоделитель 15 выполнены поляризационными, а первая фазовая пластинка 11 и вторая фазовая пластинка 16 выполнены четвертьволновыми.

[12]

Излучающая область полупроводникового лазера 2 и чувствительная площадка фотодиода 17 модуля лазерного излучателя 1 расположены в фокальной плоскости первого объектива 3. Чувствительные площадки фотодиода 6 модуля приемника 5 и дополнительного фотодиода 13 модуля приемника 5 расположены в фокальной плоскости второго объектива 7. Плоскость поляризации излучения полупроводникового лазера 2 совпадает с плоскостью, перпендикулярной отражающим граням первого светоделителя 12 и второго светоделителя 15. Оптические оси первой фазовой пластинки 11 и второй фазовой пластинки 16 ориентированы под углом 45° к плоскости поляризации излучения полупроводникового лазера 2.

[13]

Лазерный дальномер работает следующим образом. По сигналу с кнопки управления (на фиг. не показана) включается модулятор 4, с которого на полупроводниковый лазер 2 подается модулирующий сигнал. Одновременно сигнал поступает на первый вход модуля сбора и обработки данных 9. Линейно поляризованное лазерное излучение полупроводникового лазера 2 проходит практически без потерь через второй светоделитель 15, выполненный поляризованным, далее - через вторую фазовую пластинку 16 и становится циркулярно поляризованным (например, поляризованным по правому кругу). Первый объектив 3 формирует пучок лазерного излучения, направляемый на объект, до которого измеряется расстояние.

[14]

Поскольку большинство объектов являются диффузно отражающими, лазерное излучение отражается от объекта в основном диффузно, т.е. рассеивается в полусфере и деполяризуется, но если в облучаемой зоне находится оптическое или оптико-электронное устройство, обладающее эффектом световозвращения, то часть излучения отразится в небольшом телесном угле, причем в нем циркулярная поляризация изменит направление на противоположное (вследствие изменения направления распространения излучения правовинтовая система переходит в левовинтовую).

[15]

Часть рассеянного и отраженного от объекта лазерного излучения проходит через второй объектив 7, первую фазовую пластинку 11 и первый светоделитель 12 и попадет на чувствительные площадки фотодиода 6 модуля приемника 5 и дополнительного фотодиода 13 модуля приемника 5. Излучение, диффузно отраженное от объекта, не поляризовано, поэтому первый светоделитель 12 разделит его на две компоненты, примерно равные по интенсивности. Электрические сигналы с выходов фотодиода 6 модуля приемника 5 и дополнительного фотодиода 13 модуля приемника 5 усилятся соответственно усилителем 8 модуля приемника 5 и дополнительным усилителем 14 модуля приемника 5, и поступят соответственно на второй и третий входы модуля сбора и обработки данных 9. В результате обработки суммы поступивших электрических сигналов от фотодиодов 6 и 13, а также электрического сигнала от модулятора 4, на выходе модуля сбора и обработки данных 9 будет сформирован сигнал, содержащий информацию об измеренном расстоянии. Этот сигнал поступит на модуль дисплея 10, на экране которого отобразится значение измеренного расстояния.

[16]

Если в зоне облучения имеется оптическое или оптико-электронное устройство, обладающие эффектом световозвращения, то часть отраженного от объекта лазерного излучения, имеющая циркулярную поляризацию, пройдет через второй объектив 7, после первой фазовой пластинки 11 лазерное излучение станет линейно поляризованным, причем плоскость поляризации будет ортогональна плоскости, перпендикулярной отражающей грани первого светоделителя 12. Излучение с такой поляризацией полностью поступит на чувствительную площадку второго фотодиода 13, в результате чего электрический сигнал с его выхода значительно превысит по интенсивности электрический сигнал с выхода фотодиода 6 модуля приемника 5. Соответственно, электрический сигнал с выхода дополнительного усилителя 14 модуля приемника 5 будет существенно больше сигнала с выхода усилителя 8 модуля приемника 5, на основании чего на выходе модуля сбора и обработки данных 9 может быть сформирован сигнала об обнаружении оптического или оптико-электронного устройства. На экране модуля дисплея 10, наряду со значением измеренного расстояния, отобразится дополнительный условный символ о факте обнаружения оптического или оптико-электронного устройства.

[17]

Одновременно часть рассеянного и отраженного от объекта лазерного излучения пройдет через первый объектив 3 и через вторую фазовую пластинку 16, рассеянное и отраженное излучение частично отразится от второго светоделителя 15. Далее излучение попадет на чувствительную площадку фотодиода 17 модуля лазерного излучателя 2, электрический сигнал с выхода которого усилится усилителем 18 модуля лазерного излучателя 2 и поступит на четвертый вход модуля сбора и обработки данных 9, в котором он суммируется с сигналами от усилителя 8 модуля приемника 5 и дополнительного усилителя 14 модуля приемника 5, что приведет к повышению энергетического потенциала лазерного дальномера, т.е. к увеличению максимального измеряемого расстояния, по сравнению с лазерным дальномером с функцией обнаружения оптических и оптико-электронных устройств, в котором светоделитель и фотодиод в модуле лазерного излучателя отсутствуют.

[18]

Все элементы, входящие в лазерный дальномер, являются известными. В качестве полупроводникового лазера 2 может быть использован лазерный диод, например типа PGEW1S09 фирмы PerkinElmer, в качестве фотодиодов 6, 13 и 17 - фотодиоды С30724 фирмы EG&G Canada. Первый объектив 3 и второй объектив 7 могут быть линзовыми. Четвертьволновые фазовые пластинки 11 и 16 могут быть изготовлены из кристаллического кварца, вырезанного параллельно оптической оси кристалла, первый и второй светоделители 12 и 15 представляют склейки из двух стеклянных призм АР-90°, на гипотенузную грань одной из призм нанесено многослойное поляризационное покрытие. Модулятор 4, усилители 8, 14 и 17 - типовые электронные узлы, модуль сбора и обработки данных 9 может быть выполнен на основе микропроцессора. Алгоритм обработки данных может быть основан на принципах построения как импульсного времяпролетного, так и фазового дальномеров. Модуль дисплея 10 может отображать информацию как на жидкокристаллическом экране, так и на экране другого типа, например светодиодном.

[19]

Таким образом, в результате предложенного решения обеспечено получение технического результата: создан лазерный дальномер, в котором наряду с измерением расстояния до объекта обеспечивается обнаружение оптического или оптико-электронного устройства, а также повышен энергетический потенциал дальномера.

Как компенсировать расходы
на инновационную разработку
Похожие патенты