патент
№ RU 2657921
МПК H02G3/32

Модульная гребенка для крепления электрических проводов

Авторы:
Буфтяк Евгений Николаевич Григоренко Дмитрий Николаевич Поляков Андрей Анатольевич
Все (4)
Номер заявки
2017101589
Дата подачи заявки
18.01.2017
Опубликовано
18.06.2018
Страна
RU
Как управлять
интеллектуальной собственностью
Чертежи 
11
Реферат

Изобретение относится к электротехнике и может быть использовано для крепления электропроводки любого типа. Предлагается модульная гребенка для крепления электрических проводов. Модуль гребенки содержит монтажную рейку (4), имеющую опорное основание (8), лицевую поверхность (9), торцы (10, 11) и боковые поверхности (12, 13), простирающиеся между торцами. Модуль оснащен ложементами (5) для крепления электрического провода. Модули оснащены соединительными элементами, образующими быстроразъемное соединение, расположенными на торцах монтажной рейки, с возможностью последовательного соединения модулей друг с другом. Изобретение обеспечивает удобство крепления монтажных реек и сокращение времени монтажа электропроводки. 32 з.п. ф-лы, 36 ил.

Формула изобретения

1. Модульная гребенка для крепления электрических проводов, содержащая по меньшей мере один модуль для крепления электрических проводов, включающий в себя монтажную рейку, имеющую опорное основание, лицевую поверхность, два торца, расположенные оппозитно друг другу с двух сторон рейки, и две боковые поверхности, простирающиеся между торцами, при этом модуль оснащен по меньшей мере одним ложементом для крепления электрического провода, присоединенным к по меньшей мере одной из боковых поверхностей, отличающаяся тем, что модули оснащены соединительными элементами, образующими быстроразъемное соединение, расположенными на торцах монтажной рейки, с возможностью последовательного соединения модулей друг с другом, при этом первый элемент быстроразъемного соединения расположен на одном из торцов монтажной рейки модуля, а ответный ему второй элемент быстроразъемного соединения расположен на противоположном торце монтажной рейки этого модуля, с возможностью формирования быстроразъемного соединения с первым элементом на торце монтажной рейки смежного с ним модуля.

2. Модульная гребенка по п. 1, отличающаяся тем, что в быстроразъемном соединении первый элемент выполнен в виде паза на одном из торцов монтажной рейки, простирающегося в направлении, параллельном лицевой поверхности монтажной рейки, а второй элемент выполнен в виде выступа на противоположном торце монтажной рейки, простирающегося параллельно лицевой поверхности монтажной рейки, при этом внешние контуры выступа повторяют внутреннюю поверхность упомянутого паза.

3. Модульная гребенка по п. 1, отличающаяся тем, что в быстроразъемном соединении первый элемент выполнен в виде паза на одном из торцов монтажной рейки, простирающегося в направлении, перпендикулярном лицевой поверхности монтажной рейки, а второй элемент выполнен в виде выступа на противоположном торце монтажной рейки, простирающегося перпендикулярно лицевой поверхности монтажной рейки, при этом внешние контуры выступа повторяют внутреннюю поверхность упомянутого паза

4. Модульная гребенка по п. 2 или 3, отличающаяся тем, что паз выполнен сквозным.

5. Модульная гребенка по п. 2 или 3, отличающаяся тем, что паз выполнен открытым с одной стороны и полностью или частично закрыт поперечной перегородкой с противоположной стороны.

6. Модульная гребенка по п. 5, отличающаяся тем, что выступ выполнен с длиной, соответствующей длине паза, и простирается параллельно пазу на расстояние, равное длине паза до поперечной перегородки.

7. Модульная гребенка по п. 6, отличающаяся тем, что выступ оснащен полочкой, опирающейся на входные кромки паза.

8. Модульная гребенка по п. 2 или 3, отличающаяся тем, что в быстроразъемном соединении паз выполнен с переменной шириной поперечного сечения и выступ выполнен с переменной шириной поперечного сечения в соответствии с поперечным сечением паза.

9. Модульная гребенка по п. 8, отличающаяся тем, что в быстроразъемном соединении паз и выступ образуют быстроразъемное соединение в форме «ласточкина хвоста».

10. Модульная гребенка по п. 8, отличающаяся тем, что в быстроразъемном соединении выступ и паз выполнены с Т-образным или Г-образным поперечным сечением.

11 Модульная гребенка по п. 8, отличающаяся тем, что выступ имеет фигурное продольное ребро, имеющее максимальную ширину в срединной части ребра, при этом паз выполнен с поперечным сечением, охватывающим фигурное продольное ребро.

12. Модульная гребенка по п. 1, отличающаяся тем, что в быстроразъемном соединении первый элемент расположен на торце монтажной рейки в зоне, прилегающей к ее лицевой поверхности, простирается в продольном направлении вдоль лицевой поверхности и выполнен в виде Г-образного захвата, имеющего ребро и полку вдоль внешней кромки этого ребра, обращенную к опорному основанию монтажной рейки, а второй элемент расположен на противоположном торце монтажной рейки этого модуля в зоне, прилегающей к ее опорной поверхности, простирается в продольном направлении вдоль опорной поверхности и выполнен в виде ответного Г-образного захвата, имеющего ребро и полку вдоль внешней кромки этого ребра, обращенную к лицевой поверхности монтажной рейки, с возможностью формирования быстроразъемного соединения с первым элементом на торце монтажной рейки смежного с ним модуля.

13. Модульная гребенка по п. 1, отличающаяся тем, что в быстроразъемном соединении первый элемент расположен на торце монтажной рейки в зоне, прилегающей к одной из ее боковых поверхностей, простирается в направлении, перпендикулярном лицевой поверхности, и выполнен в виде Г-образного захвата, имеющего ребро и полку вдоль внешней кромки этого ребра, обращенную к противолежащей боковой поверхности монтажной рейки, а второй элемент расположен на противоположном торце монтажной рейки этого модуля в зоне, прилегающей к другой боковой поверхности монтажной рейки, простирается в направлении, перпендикулярном лицевой поверхности, и выполнен в виде ответного Г-образного захвата, имеющего ребро и полку вдоль внешней кромки этого ребра, обращенную к противолежащей боковой поверхности монтажной рейки, с возможностью формирования быстроразъемного соединения с первым элементом на торце монтажной рейки смежного с ним модуля.

14. Модульная гребенка по п. 1, отличающаяся тем, что быстроразъемное соединение выполнено по типу выступ-гнездо и содержит по меньшей мере один выступ и взаимодействующее с ним гнездо, при этом выступ расположен на одном торце монтажной рейки, а гнездо расположено на противоположном торце монтажной рейки этого модуля, с возможностью формирования быстроразъемного соединения выступ-гнездо с первым элементом на торце монтажной рейки смежного с ним модуля.

15. Модульная гребенка по п. 14, отличающаяся тем, что выступ и гнездо расположены в центральной зоне соответствующей торцовой стенки.

16. Модульная гребенка по п. 1, отличающаяся тем, что быстроразъемное соединение выполнено по типу быстроразъемного штыревого соединения, при этом первый элемент быстроразъемного соединения расположен на торце монтажной рейки в зоне, прилегающей к одной из ее боковых поверхностей, и выполнен в виде первого пилона с продольным отверстием, простирающимся параллельно лицевой поверхности монтажной рейки, а второй элемент быстроразъемного соединения расположен на противоположном торце монтажной рейки этого модуля в зоне, прилегающей к другой боковой поверхности монтажной рейки, и выполнен в виде второго пилона со штырем, простирающимся параллельно лицевой поверхности монтажной рейки, для взаимодействия с отверстием в первом пилоне, направленным к противолежащей боковой стенке монтажной рейки, с возможностью формирования быстроразъемного соединения с отверстием в первом пилоне на торце монтажной рейки смежного с ним модуля.

17. Модульная гребенка по п. 1, отличающаяся тем, что быстроразъемное соединение выполнено по типу быстроразъемного штыревого соединения, при этом первый элемент быстроразъемного соединения расположен на торце монтажной рейки в зоне, прилегающей к опорному основанию монтажной рейки, и выполнен в виде первого пилона с продольным отверстием, простирающимся перпендикулярно опорному основанию монтажной рейки, а второй элемент быстроразъемного соединения расположен на противоположном торце монтажной рейки этого модуля в зоне, прилегающей к лицевой поверхности монтажной рейки, и выполнен в виде второго пилона со штырем, простирающимся перпендикулярно лицевой поверхности монтажной рейки, для взаимодействия с отверстием в первом пилоне, направленным к опорному основанию монтажной рейки, с возможностью формирования быстроразъемного соединения с отверстием в первом пилоне на торце монтажной рейки смежного с ним модуля.

18. Модульная гребенка по п. 1, отличающаяся тем, что ложемент оснащен выступом, размещенным на торце ложемента и простирающимся в направлении опорного основания монтажной рейки.

19. Модульная гребенка по п. 1, отличающаяся тем, что она оснащена дополнительными ложементами для крепления электрических проводов, расположенными вдоль одной боковой поверхности монтажной рейки.

20. Модульная гребенка по п. 1, отличающаяся тем, что она оснащена дополнительными ложементами для крепления электрических проводов, расположенными на обеих боковых поверхностях монтажной рейки.

21. Модульная гребенка по п. 19 или 20, отличающаяся тем, что ложементы выполнены с одинаковой шириной ложемента

22. Модульная гребенка по п. 19 или 20, отличающаяся тем, что ложементы выполнены с различной шириной ложемента.

23. Модульная гребенка по п. 20, отличающаяся тем, что ложементы на боковых поверхностях монтажной рейки расположены напротив друг друга.

24. Модульная гребенка по п. 20, отличающаяся тем, что по меньшей мере часть ложементов на одной боковой поверхности смещена относительно ложементов на противоположной боковой поверхности.

25. Модульная гребенка по п. 2 или 3, отличающаяся тем, что монтажная рейка оснащена фиксатором собранного состояния быстроразъемного соединения, включающим в себя выемку, расположенную на поверхности паза, и соответствующий выемке выпуклый элемент фиксатора собранного состояния, расположенный на внешней поверхности выступа на противоположном торце монтажной рейки, с возможностью взаимодействия с выемкой на поверхности паза на торце монтажной рейки смежного модуля с формированием фиксатора собранного состояния.

26. Модульная гребенка по п. 2 или 3, отличающаяся тем, что монтажная рейка оснащена фиксатором собранного состояния быстроразъемного соединения, включающим в себя выемку, расположенную на внешней поверхности выступа, и соответствующий выемке выпуклый элемент фиксатора быстроразъемного соединения, расположенный на поверхности паза на противоположном торце монтажной рейки, с возможностью взаимодействия с выемкой на внешней поверхности выступа на торце монтажной рейки смежного модуля с формированием фиксатора собранного состояния.

27. Модульная гребенка по п. 1, отличающаяся тем, что в монтажной рейке выполнено по меньшей мере одно сквозное отверстие, проходящее поперек монтажной рейки от ее лицевой поверхности к опорному основанию, предназначенное для элемента крепления модуля при установке гребенки.

28. Модульная гребенка по п. 27, отличающаяся тем, что сквозное отверстие выполнено со ступенчатой внутренней поверхностью, при этом участок отверстия с большим диаметром расположен со стороны лицевой поверхности.

29. Модульная гребенка по п. 27, отличающаяся тем, что она оснащена металлической втулкой, установленной в сквозном отверстии так, что один из ее торцов расположен в зоне опорного основания монтажной рейки.

30. Модульная гребенка по п. 29, отличающаяся тем, что металлическая втулка выполнена со ступенчатой внешней поверхностью.

31. Модульная гребенка по п. 1, отличающаяся тем, что монтажная рейка оснащена захватами, предназначенными для взаимодействия с монтажной рейкой при установке гребенки.

32. Модульная гребенка по п. 31, отличающаяся тем, что захваты размещены под ложементами гребенки, расположенными в зоне торцов монтажной рейки, и выполнены в виде упругих лапок, простирающихся за пределы опорного основания монтажной рейки.

33. Модульная гребенка по п. 32, отличающаяся тем, что захваты имеют ширину, меньшую или равную ширине ложемента.

Описание

[1]

Область техники

[2]

Изобретение относится к электротехнике и может быть использовано для проводки на стенах и потолках зданий кабелей, предпочтительно бытовой электропроводки, любого типа.

[3]

Предшествующий уровень техники

[4]

Известно устройство для крепления электрических проводов, содержащее опору с отверстием, например, для гвоздя, фиксирующего опору на стенке, и примыкающий к опоре захвата с канавкой для размещения закрепляемого электрического провода (патент Российской Федерации на изобретение №2273931 по кл. H02G 3/32 от 10.04.2006). С помощью такого устройства удобно крепить один или два провода, но такое устройство неудобно для крепления в одной зоне большого количества проводов разветвленной сети.

[5]

Известно устройство для крепления электрических проводов, содержащее опору и присоединенную к опоре удерживающую часть. Опора выполнена в виде цилиндра, погружаемого в отверстие в стенке. Удерживающая часть представляет собой продольную полочку, закрепленную перпендикулярно опоре. Вдоль внешней поверхности полочки размещен ложемент для размещения провода. Провод укладывается на ложемент и крепится к нему затягивающейся лентой, охватывающей провод и ложемент (патент США №6320134 по кл. H01B 7/00 от 20.11.2001). Данное устройство может быть использовано для формирования линейки для крепления любого количества проводов, путем последовательного крепления опор на стенке. Однако для формирования такой линейки требуется индивидуальное отверстие в стенке, что существенно усложняет монтаж проводки, особенно если зону крепления приходится формировать непосредственно на месте.

[6]

Наиболее близким техническим решением является гребенка для крепления электрических проводов, содержащая, по меньшей мере, один модуль для крепления электрических проводов, включающий в себя монтажную рейку, имеющую опорное основание, лицевую поверхность, два торца, расположенные оппозитно друг другу с двух сторон рейки и две боковые поверхности, простирающиеся между торцами, при этом модуль оснащен ложементами для крепления электрического провода, попарно присоединенными к боковым поверхностям модуля, а в монтажной рейке выполнено, по меньшей мере, одно сквозное отверстие, проходящее поперек монтажной рейки от ее лицевой поверхности к опорному основанию, предназначенное для элемента крепления модуля при установке гребенки. Провод крепится к ложементу кабельными хомутами, охватывающими закрепляемый провод и лепесток. Эта гребенка описана в проспекте «Системы кабельных вводов. ЭМС Продукция. Раздел 3 Системы крепежа кабелей, стр. 68-72» (aetec.ru>files/icotek_Catalogue27_ru.рdf). Данная гребенка позволяет эффективно формировать зону крепления практически любой длины путем установки цепочки модулей непосредственно в зоне крепления. Однако, при формировании линейки из отдельных модулей при креплении отдельного модуля в цепочке необходимо вручную удерживать модуль в заданном положении относительно закрепленного модуля, чтобы сформировать выровненную цепочку модулей, что усложняет процедуру крепления электрических проводов..

[7]

Раскрытие изобретения

[8]

Задачей настоящего изобретения является разработка модульной гребенки, которая обеспечит лучшие условия монтажа и упростит крепление монтажных реек на стенке, потолке, вертикальной опоре, или любой другой поверхности, выбранной для монтажа электропроводки.

[9]

Для решения указанной задачи предлагается модульная гребенка для крепления электрических проводов, содержащая, по меньшей мере, один модуль для крепления электрических проводов, включающий в себя монтажную рейку, имеющую опорное основание, лицевую поверхность, два торца, расположенные оппозитно друг другу с двух сторон рейки, и две боковые поверхности, простирающиеся между торцами, при этом модуль оснащен, по меньшей мере, одним ложементом для крепления электрического провода, присоединенным к, по меньшей мере, одной из боковых поверхностей, а в монтажной рейке выполнено, по меньшей мере, одно сквозное отверстие, проходящее поперек монтажной рейки от ее лицевой поверхности к опорному основанию, предназначенное для элемента крепления модуля при установке гребенки, в которой модули оснащены соединительными элементами, образующими быстроразъемное соединение, расположенными на торцах монтажной рейки, с возможностью последовательного соединения модулей друг с другом, при этом первый элемент быстроразъемного соединения расположен на одном из торцов монтажной рейки модуля, а ответный ему второй элемент быстроразъемного соединения расположен на противоположном торце монтажной рейки этого модуля, с возможностью формирования быстроразъемного соединения с первым элементом на торце монтажной рейки смежного с ним модуля.

[10]

При этом, в предлагаемой модульной гребенке в быстроразъемном соединении первый элемент может быть выполнен в виде паза на одном из торцов монтажной рейки, простирающегося в направлении параллельном лицевой поверхности монтажной рейки, а второй элемент может быть выполнен в виде выступа на противоположном торце монтажной рейки, простирающегося параллельно лицевой поверхности монтажной рейки, при этом внешние контуры выступа повторяют внутреннюю поверхность упомянутого паза

[11]

При этом, в предлагаемой модульной гребенке в быстроразъемном соединении первый элемент может быть выполнен в виде паза на одном из торцов монтажной рейки, простирающегося в направлении перпендикулярном лицевой поверхности монтажной рейки, а второй элемент может быть выполнен в виде выступа на противоположном торце монтажной рейки, простирающегося перпендикулярно лицевой поверхности монтажной рейки, при этом внешние контуры выступа повторяют внутреннюю поверхность упомянутого паза

[12]

Кроме того, в предлагаемой модульной гребенке паз может быть выполнен сквозным, либо паз может быть выполнен открытым с одной стороны и полностью или частично закрыт поперечной перегородкой с противоположной стороны. При этом, выступ может быть выполнен с длиной, соответствующей длине паза, и простирается параллельно пазу на расстояние, равное длине паза до поперечной перегородки.

[13]

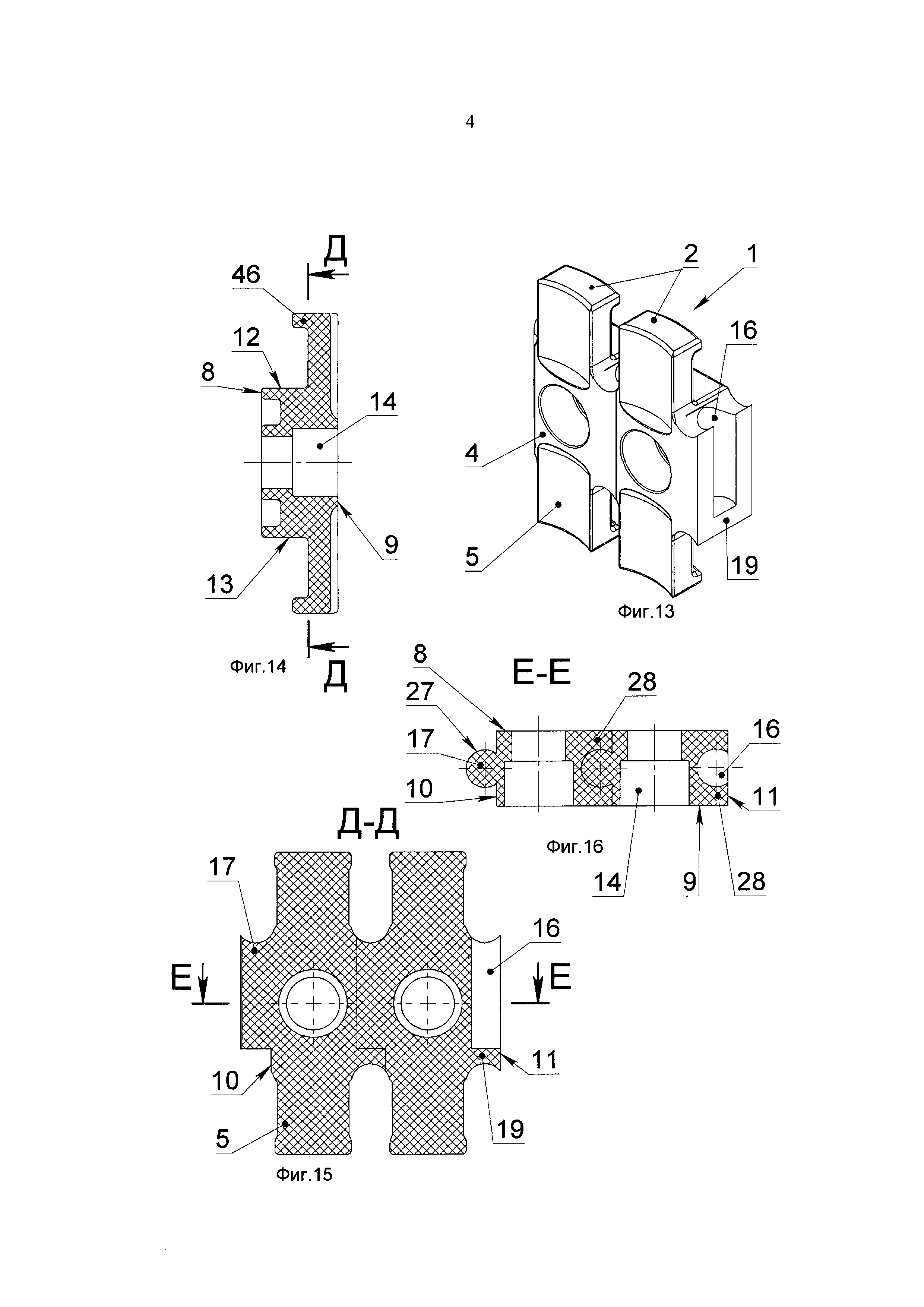
Кроме того, в предлагаемой модульной гребенке выступ может быть оснащен полочкой, опирающейся на входные кромки паза.

[14]

Кроме того, в предлагаемой модульной гребенке в быстроразъемном соединении паз может быть выполнен с переменной шириной поперечного сечения, и выступ может быть выполнен с переменной шириной поперечного сечения, в соответствии с поперечным сечением паза.

[15]

Кроме того, в предлагаемой модульной гребенке в быстроразъемном соединении паз и выступ образуют быстроразъемное соединение в форме «ласточкина хвоста».

[16]

Кроме того, в предлагаемой модульной гребенке в быстроразъемном соединении выступ и паз могут быть выполнены с Т-образным или Г-образным поперечным сечением.

[17]

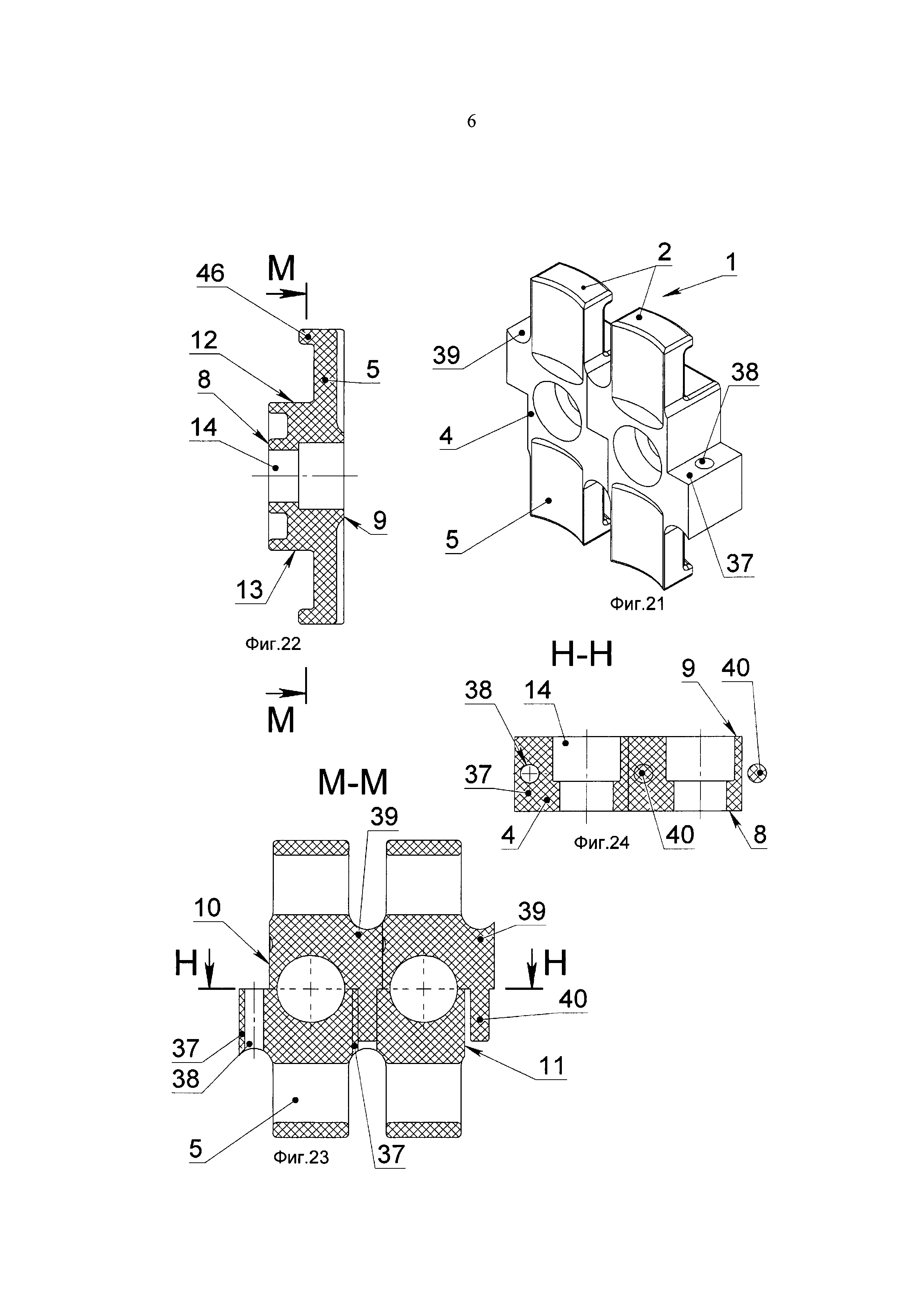
Кроме того, в предлагаемой модульной гребенке выступ имеет продольное ребро и полку переменной ширины вдоль внешней кромки, имеющую максимальную ширину в срединной части полки, при этом паз выполнен с поперечным сечением, охватывающим ребро и полку.

[18]

Кроме того, в предлагаемой модульной гребенке в быстроразъемном соединении первый элемент может быть расположен на торце монтажной рейки в зоне, прилегающей к ее лицевой поверхности, простирается в продольном направлении вдоль лицевой поверхности и выполнен в виде Г-образного захвата, имеющего ребро и полку вдоль внешней кромки этого ребра, обращенную к опорному основанию монтажной рейки, а второй элемент может быть расположен на противоположном торце монтажной рейки этого модуля в зоне, прилегающей к ее опорной поверхности, простирается в продольном направлении вдоль опорной поверхности и выполнен в виде ответного Г-образного захвата, имеющего ребро и полку вдоль внешней кромки этого ребра, обращенную к лицевой поверхности монтажной рейки, с возможностью формирования быстроразъемного соединения с первым элементом на торце монтажной рейки смежного с ним модуля.

[19]

Коме того, в предлагаемой модульной гребенке в быстроразъемном соединении первый элемент расположен на торце монтажной рейки в зоне, прилегающей к одной из ее боковых поверхностей, простирается в направлении перпендикулярном лицевой поверхности и может быть выполнен в виде Г-образного захвата, имеющего ребро и полку вдоль внешней кромки этого ребра, обращенную к противолежащей боковой поверхности монтажной рейки, а второй элемент расположен на противоположном торце монтажной рейки этого модуля в зоне, прилегающей к другой боковой поверхности монтажной рейки, простирается в направлении перпендикулярном лицевой поверхности и может быть выполнен в виде ответного Г-образного захвата, имеющего ребро и полку вдоль внешней кромки этого ребра, обращенную к противолежащей боковой поверхности монтажной рейки, с возможностью формирования быстроразъемного соединения с первым элементом на торце монтажной рейки смежного с ним модуля.

[20]

Кроме того, в предлагаемой модульной гребенке быстроразъемное соединение может быть выполнено по типу выступ-гнездо и содержит по меньшей мере, один выступ и взаимодействующее с ним гнездо, при этом выступ расположен на одном торце монтажной рейки, а гнездо расположено на противоположном торце монтажной рейки этого модуля, с возможностью формирования быстроразъемного соединения выступ-гнездо с первым элементом на торце монтажной рейки смежного с ним модуля. При этом, выступ и гнездо расположены в центральной зоне соответствующей торцовой стенки.

[21]

Кроме того, в предлагаемой модульной гребенке быстроразъемное соединение может быть выполнено по типу быстроразъемного штыревого соединения, при этом первый элемент быстроразъемного соединения расположен на торце монтажной рейки в зоне, прилегающей к одной из ее боковых поверхностей, и выполнен в виде первого пилона с продольным отверстием, простирающимся параллельно лицевой поверхности монтажной рейки, а второй элемент быстроразъемного соединения расположен на противоположном торце монтажной рейки этого модуля в зоне, прилегающей к другой боковой поверхности монтажной рейки, и выполнен в виде второго пилона, со штырем, простирающимся параллельно лицевой поверхности монтажной рейки, для взаимодействия с отверстием в первом пилоне, направленным к противолежащей боковой стенке монтажной рейки с возможностью формирования быстроразъемного соединения с отверстием в первом пилоне на торце монтажной рейки смежного с ним модуля.

[22]

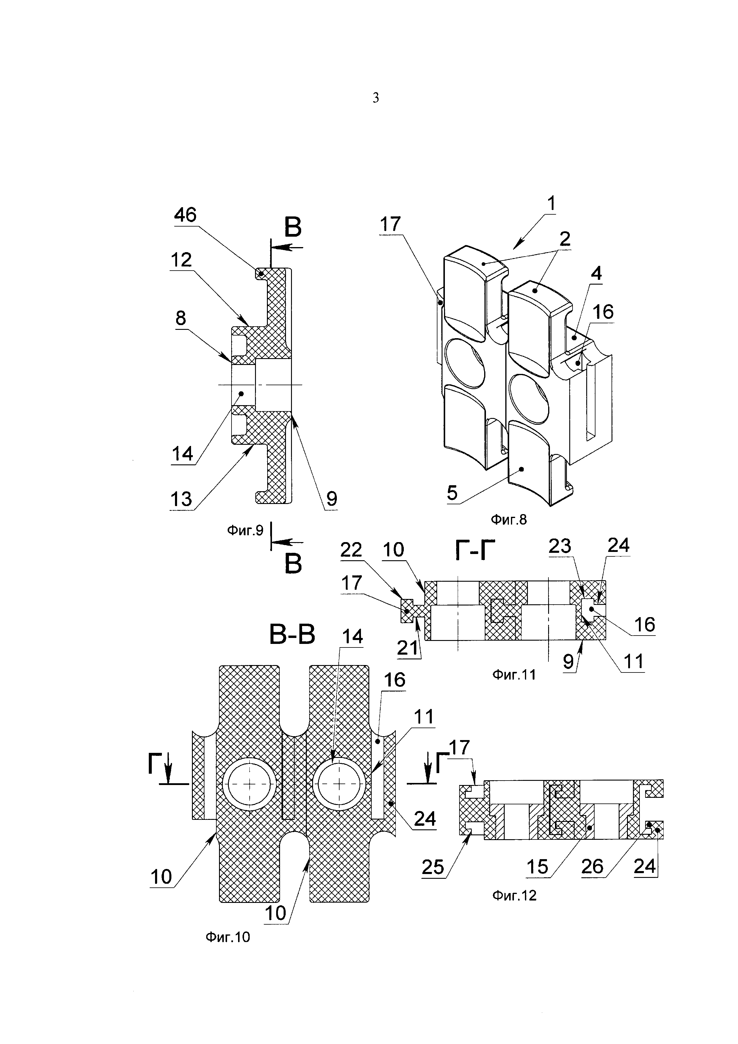
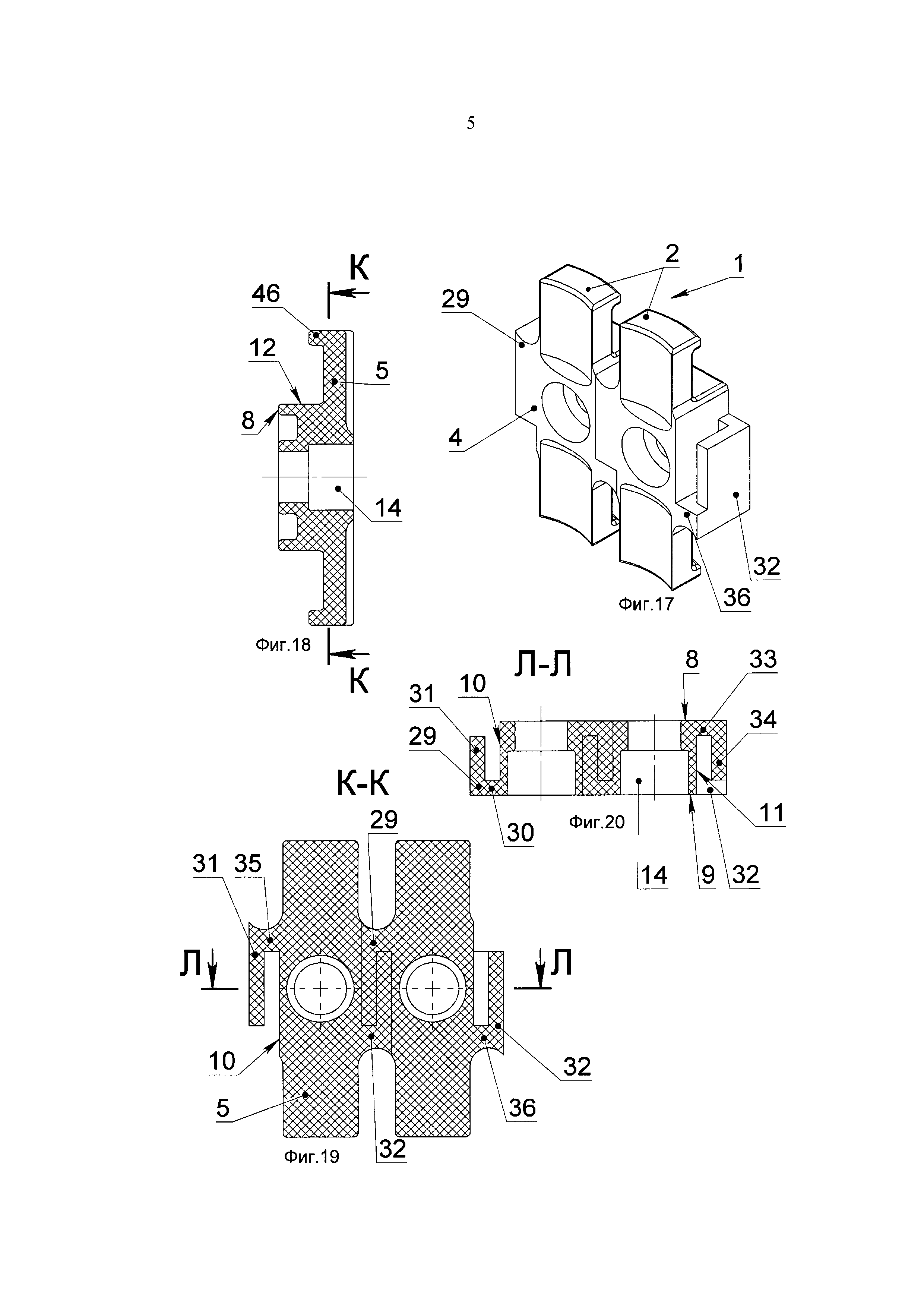
Кроме того, в предлагаемой модульной гребенке быстроразъемное соединение может быть выполнено по типу быстроразъемного штыревого соединения, при этом первый элемент быстроразъемного соединения расположен на торце монтажной рейки в зоне, прилегающей к опорному основанию монтажной рейки, и выполнен в виде первого пилона с продольным отверстием, простирающимся перпендикулярно опорному основанию монтажной рейки, а второй элемент быстроразъемного соединения расположен на противоположном торце монтажной рейки этого модуля в зоне, прилегающей к лицевой поверхности монтажной рейки, и выполнен в виде второго пилона со штырем, простирающимся перпендикулярно лицевой поверхности монтажной рейки, для взаимодействия с отверстием в первом пилоне, направленным к опорному основанию монтажной рейки, с возможностью формирования быстроразъемного соединения с отверстием в первом пилоне на торце монтажной рейки смежного с ним модуля.

[23]

Кроме того, в предлагаемой модульной гребенке ложемент может быть оснащен выступом, размещенным на торце ложемента и простирающимся в направлении опорного основания монтажной рейки.

[24]

Кроме того, предлагаемая модульная гребенка может быть оснащена дополнительными ложементами для крепления электрических проводов, расположенными вдоль одной боковой поверхности монтажной рейки, или модульная гребенка может быть оснащена дополнительными ложементами для крепления электрических проводов, расположенными на обеих боковых поверхностях монтажной рейки.

[25]

При этом, в предлагаемой модульной гребенке ложементы могут быть выполнены с одинаковой шириной ложемента, либо ложементы могут быть выполнены с различной шириной ложемента.

[26]

Кроме того, в предлагаемой модульной гребенке ложементы на боковых поверхностях монтажной рейки могут быть расположены напротив друг друга.

[27]

Кроме того, в предлагаемой модульной гребенке, по меньшей мере, часть ложементов на одной боковой поверхности может быть смещена относительно ложементов на противоположной боковой поверхности.

[28]

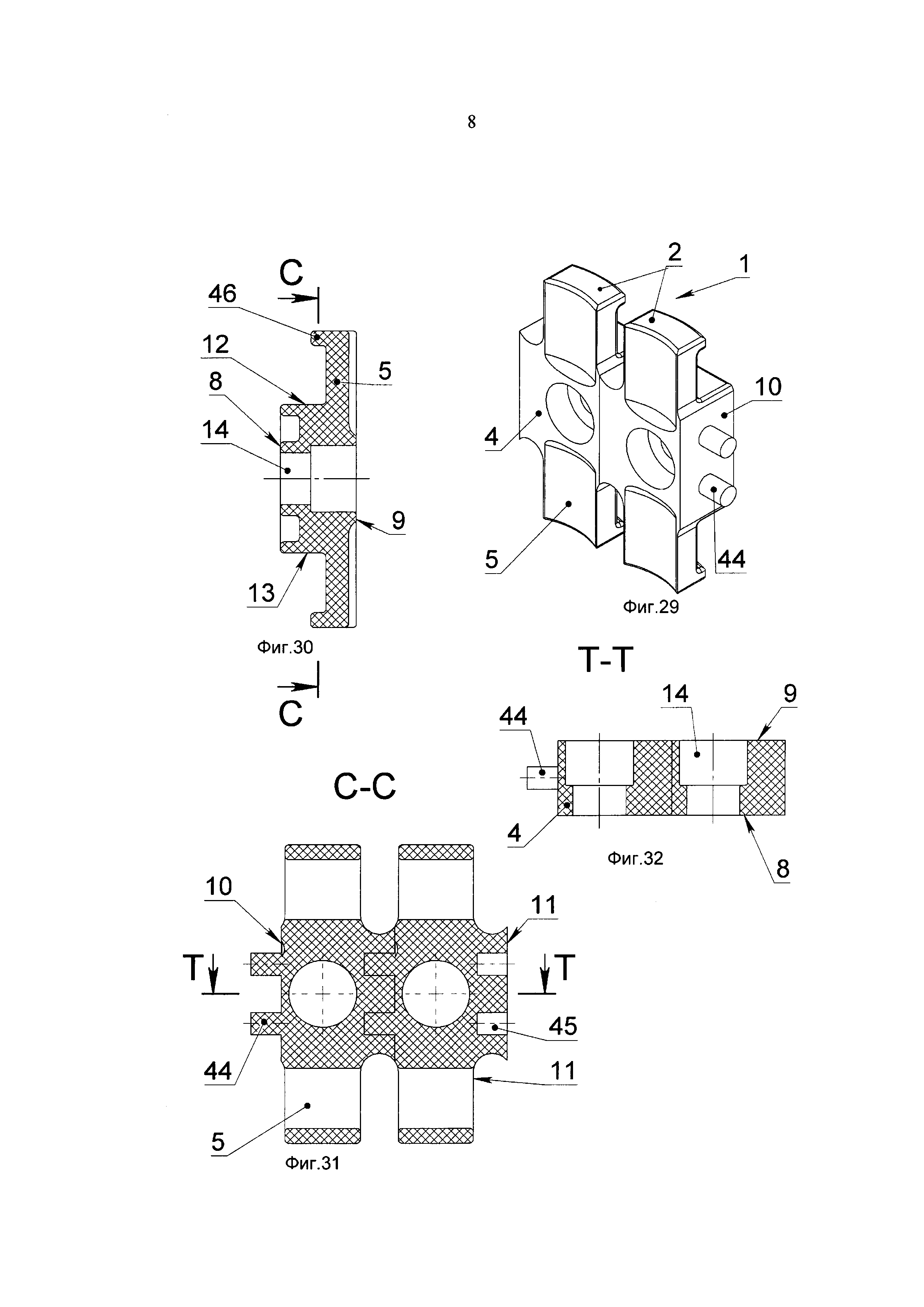
Кроме того, в предлагаемой модульной гребенке монтажная рейка может быть оснащена фиксатором собранного состояния быстроразъемного соединения, включающим в себя выемку, расположенную на поверхности паза, и соответствующий выемке выпуклый элемент фиксатора собранного состояния, расположенный на внешней поверхности выступа на противоположном торце монтажной рейки с возможностью взаимодействия с выемкой на поверхности паза на торце монтажной рейки смежного модуля с формированием фиксатора собранного состояния, либо монтажная рейка может быть оснащена фиксатором собранного состояния быстроразъемного соединения, включающим в себя выемку, расположенную на внешней поверхности выступа, и соответствующий выемке выпуклый элемент фиксатора собранного состояния, расположенный на поверхности паза на противоположном торце монтажной рейки с возможностью взаимодействия с выемкой на внешней поверхности выступа на торце монтажной рейки смежного модуля с формированием фиксатора собранного состояния.

[29]

Кроме того, в предлагаемой модульной гребенке сквозное отверстие может быть выполнено со ступенчатой внутренней поверхностью, при этом участок отверстия с большим диаметром расположен со стороны лицевой поверхности.

[30]

Кроме того, предлагаемая модульная гребенка может быть оснащена металлической втулкой, установленной в сквозном отверстии так, что один из ее торцов расположен в зоне опорного основания монтажной рейки, при этом металлическая втулка может быть выполнена со ступенчатой внешней поверхностью.

[31]

Кроме того, в предлагаемой модульной гребенке монтажная рейка может быть оснащена захватами предназначенными для взаимодействия с монтажной рейкой при установке гребенки, при этом захваты могут быть размещены под ложементами гребенки, расположенными в зоне торцов монтажной рейки, и иметь ширину меньшую или равную ширине ложемента.

[32]

Технический результат от использования изобретения заключается в том, что изобретение обеспечивает предварительную быструю фиксацию монтажных реек двух смежных модулей за счет оснащения их быстроразъемными соединениями, содержащими два элемента, образующие быстроразъемное соединение, при этом первый элемент этого соединения закреплен на одном торце монтажной рейки, а взаимодействующий с ним второй элемент этого соединения закреплен на другом торце монтажной рейки и таким образом при сборке линейки из монтажных реек два смежных торца этих реек содержат обращенные друг к другу первый и второй элементы быстроразъемного соединения, что обеспечивает предварительную фиксацию двух смежных монтажных реек, ограничивая их подвижность относительно друг друга, упрощая согласование взаимного положения этих двух реек при формировании линейки из монтажных реек и закрепление второй монтажной рейки на стенке.

[33]

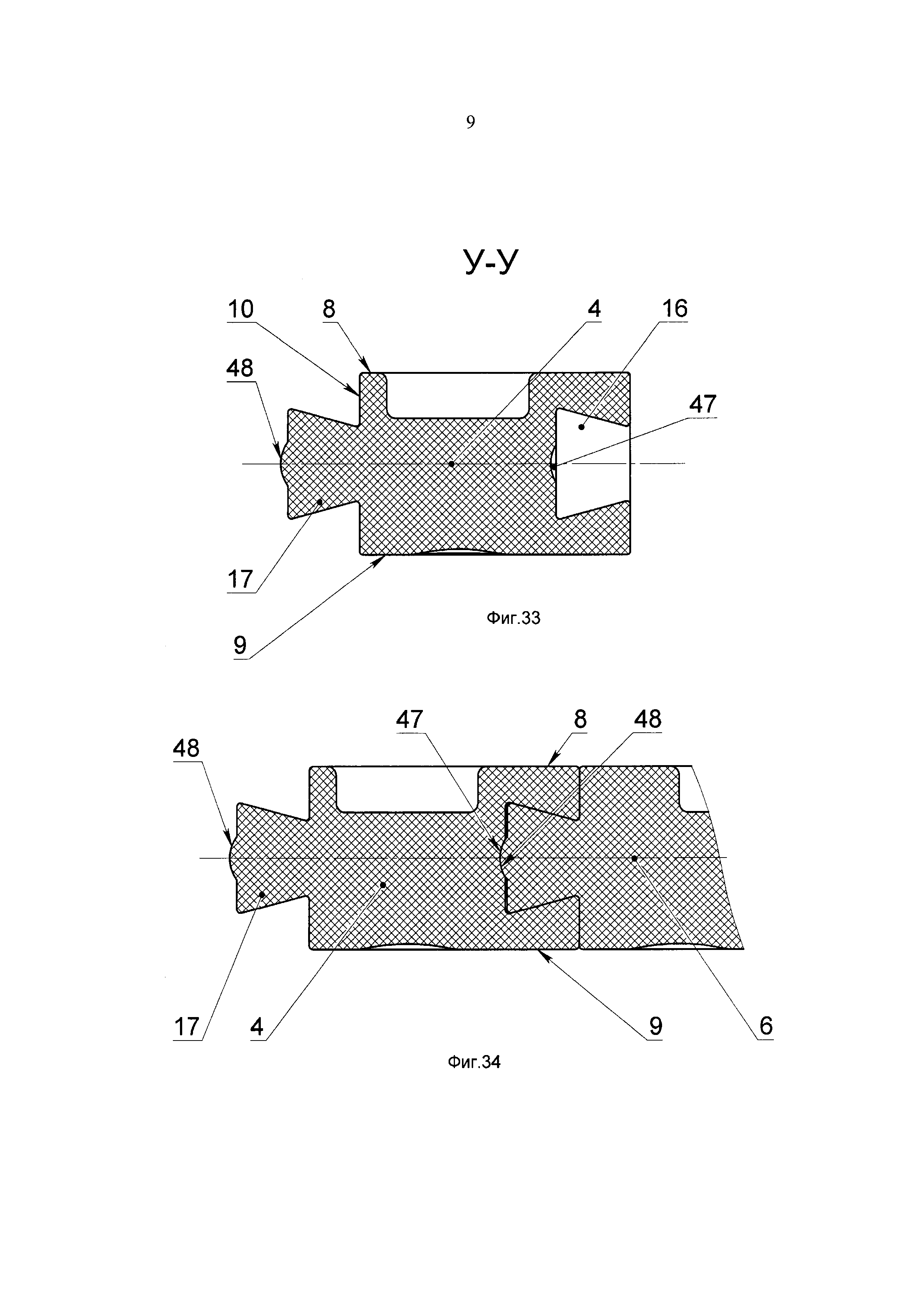
Предлагаемые варианты исполнения элементов быстроразъемного соединения и варианты расположения ложементов, описанные в зависимых пунктах формулы изобретения, обеспечивают выбор наиболее приемлемой конструкции быстроразъемного соединения для конкретной ситуации при монтаже электропроводки; и сокращение времени монтажа линейки на стенке или потолке или на горизонтальной поверхности и т.д., в том числе сокращение времени монтажа электропроводки с разными диаметрами проводов за счет подбора монтажной рейки с подходящей шириной и количеством ложементов.

[34]

Другие преимущества предлагаемого изобретения и технические результаты станут понятными из последующего описания и прилагаемых чертежей

[35]

КРАТКОЕ ОПИСАНИЕ ЧЕРТЕЖЕЙ

[36]

Чертежи заявки представлены в виде достаточном для понимания изобретения специалистами в данной области техники (без точного соблюдения масштаба) и ни в какой мере не ограничивают объема изобретения. На чертежах одни и те же элементы имеют одинаковые номера позиций.

[37]

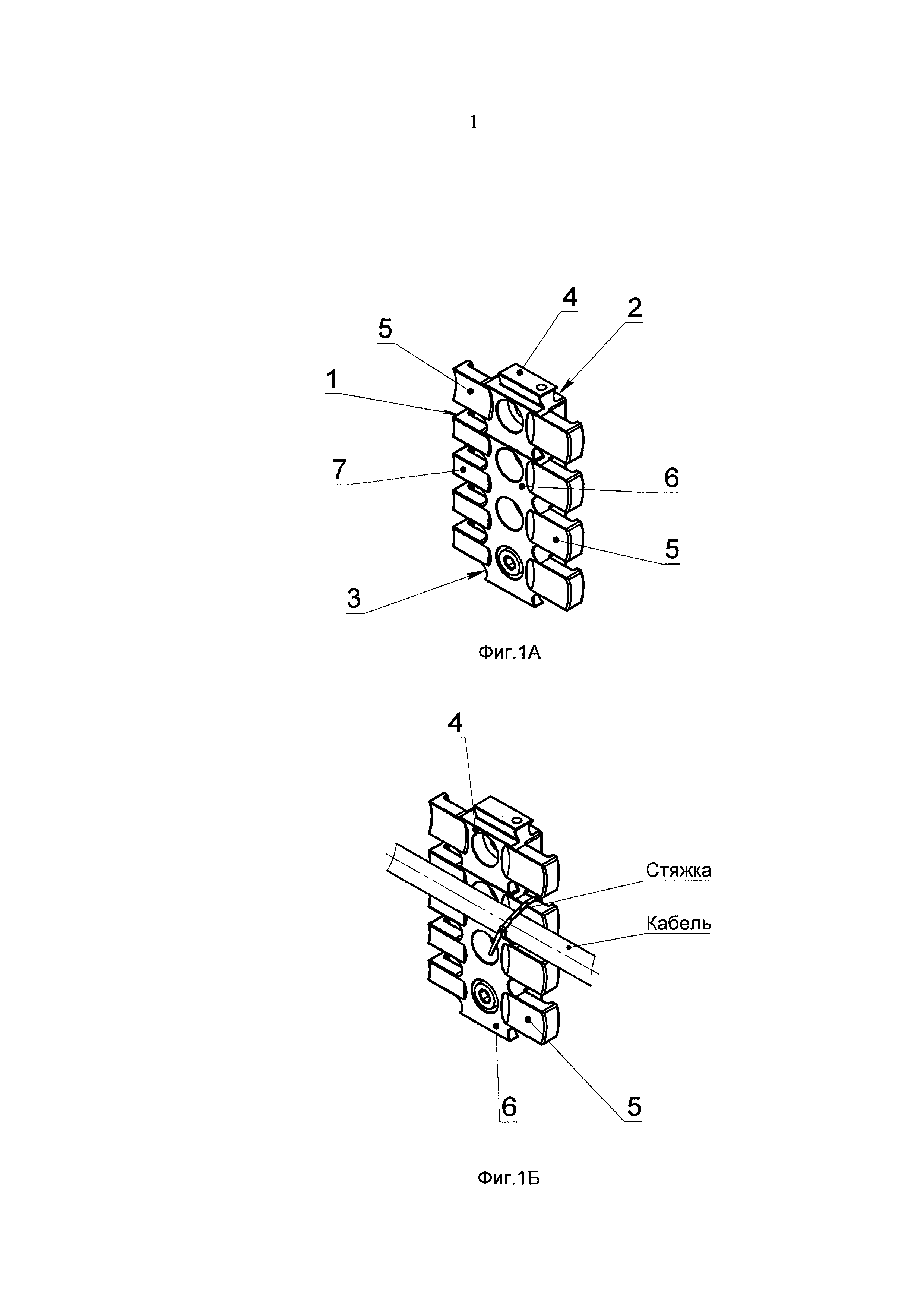
На фиг. 1А и 1Б представлен общий вид модульной гребенки, составленной из двух разных модулей и крепление электрического провода на гребенке, в соответствии с настоящим изобретением.

[38]

На фиг. 2-7 представлены изображения, иллюстрирующие первое исполнение модуля для крепления электрических проводов в соответствии с настоящим изобретением: фиг. 2 - общий вид модуля, на фиг., на фиг. 3 - продольное сечение модуля, на фиг. 4 - сечение модуля по линии А-А на фиг. 2, на фиг. 5 - сечение модуля по линии Б-Б на фиг. 4, на фиг. 6 и 7 представлены две модификации этого модуля.

[39]

На фиг. 8-12 представлены изображения, иллюстрирующие второе исполнение модульной гребенки для крепления электрических проводов в соответствии с настоящим изобретением: фиг. 8 - общий вид модульной гребенки из двух модулей, на фиг. 9 - продольное сечение модуля, на фиг. 10 - сечение модульной гребенки по линии В-В на фиг. 9, на фиг. 11 - сечение модульной гребенки по линии Г-Г на фиг. 10, на фиг. 12 - модификация быстроразъемного соединения этого модуля.

[40]

На фиг. 13-16 представлены изображения, иллюстрирующие третье исполнение модульной гребенки для крепления электрических проводов в соответствии с настоящим изобретением: фиг. 13 - общий вид модульной гребенки из двух модулей, на фиг. 14 - продольное сечение модуля, на фиг. 15 - сечение модульной гребенки по линии Д-Д на фиг. 14, на фиг. 161 - сечение модульной гребенки по линии Е-Е на фиг. 15.

[41]

На фиг. 17-20 представлены изображения, иллюстрирующие четвертое исполнение модульной гребенки для крепления электрических проводов в соответствии с настоящим изобретением: фиг. 17 - общий вид модульной гребенки из двух модулей, на фиг. 18 - продольное сечение модуля, на фиг. 19 - сечение модульной гребенки по линии Д-Д на фиг. 14, на фиг. 20 - сечение модульной гребенки по линии Е-Е на фиг. 19.

[42]

На фиг. 21-24 представлены изображения, иллюстрирующие пятое исполнение модульной гребенки для крепления электрических проводов в соответствии с настоящим изобретением: фиг. 21 - общий вид модульной гребенки из двух модулей, на фиг. 22 - продольное сечение модуля, на фиг. 23 - сечение модульной гребенки по линии М-М на фиг. 22, на фиг. 24 - сечение модульной гребенки по линии Н-Н на фиг. 23.

[43]

На фиг. 25-28 представлены изображения, иллюстрирующие шестое исполнение модульной гребенки для крепления электрических проводов в соответствии с настоящим изобретением: фиг. 25 - общий вид модульной гребенки из двух модулей, на фиг. 26 - продольное сечение модуля, на фиг. 27 - сечение модульной гребенки по линии П-П на фиг. 26, на фиг. 28 - сечение модульной гребенки по линии Р-Р на фиг. 27.

[44]

На фиг. 29-32 представлены изображения, иллюстрирующие седьмое исполнение модульной гребенки для крепления электрических проводов в соответствии с настоящим изобретением: фиг. 29 - общий вид модульной гребенки из двух модулей, на фиг. 30 - продольное сечение модуля, на фиг. 31 - сечение модульной гребенки по линии С-С на фиг. 30, на фиг. 32 - сечение модульной гребенки по линии Т-Т на фиг. 31.

[45]

На фиг. 33-34 представлены изображения, иллюстрирующие фиксатор состыкованного состояния быстроразъемного соединения: фиг. 33 - сечение по линии У-У на фиг. 4, на фиг. 34 показан фиксатор в состыкованном состоянии.

[46]

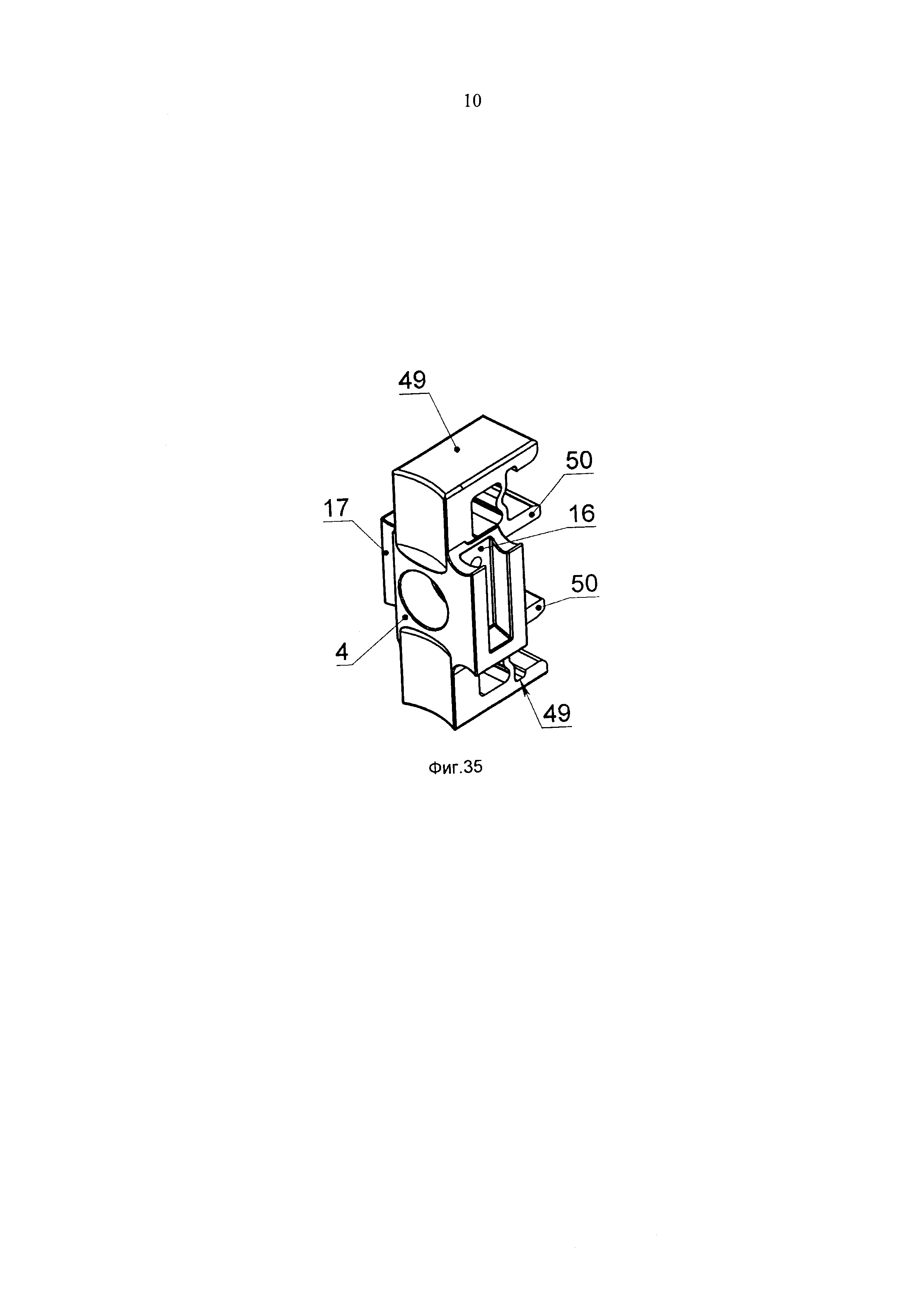
На фиг. 35-36 представлены изображения гребенки с захватами для крепления ее на DIN-рейке.

[47]

ПРИМЕРЫ ОСУЩЕСТВЛЕНИЯ ИЗОБРЕТЕНИЯ

[48]

Следует понимать, что последующее описание служит только для иллюстрации осуществления изобретения, и ни в какой мере не ограничивает объема настоящего изобретения

[49]

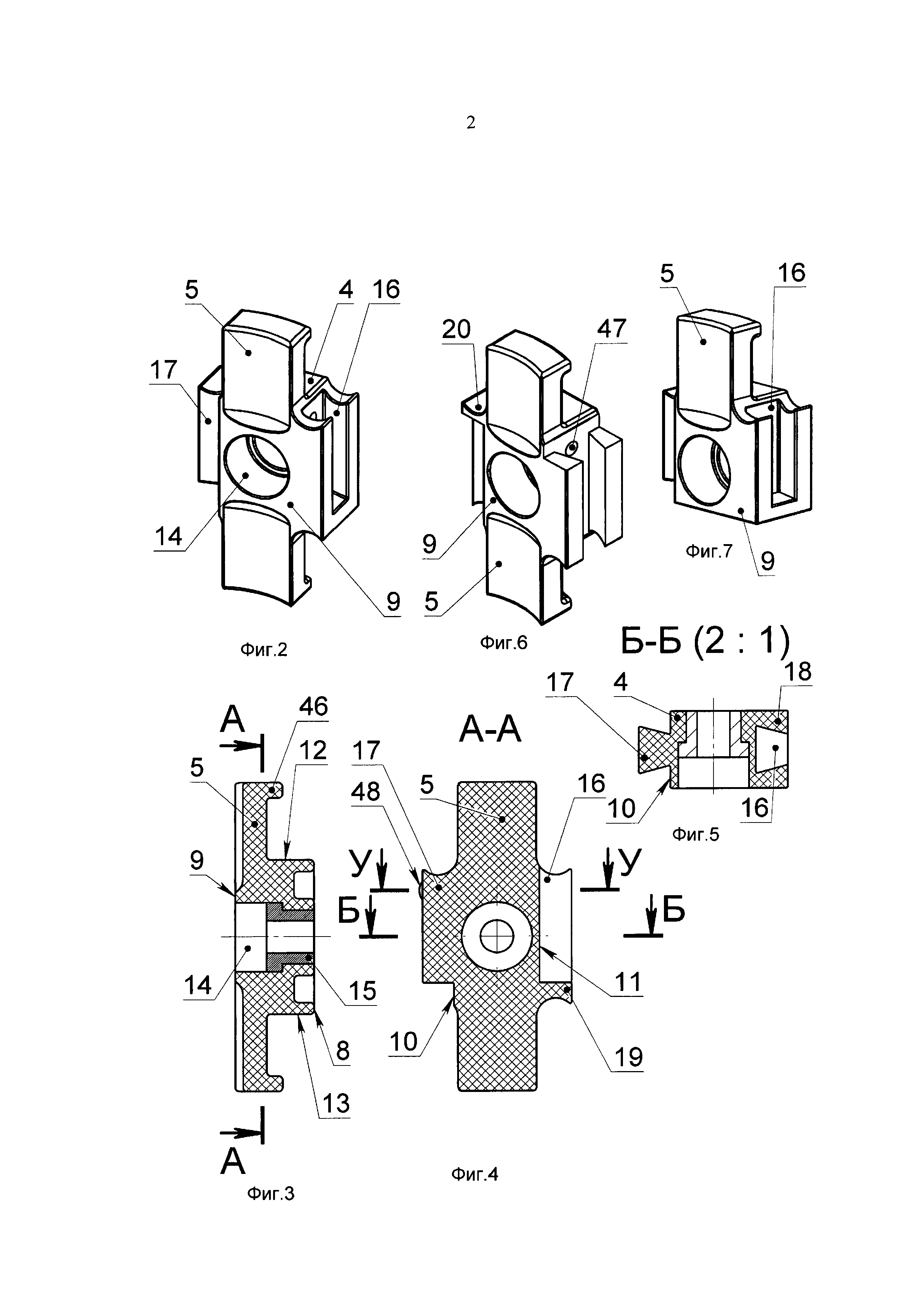
Как показано на фиг. 1А и 1Б модульная гребенка 1 содержит вертикальную линейку из двух последовательно соединенных модулей 2 и 3 (стенка, на которой закреплены модули, на чертеже не показана). Модуль 2 содержит монтажную рейку 4 с двумя однотипными (широкими) ложементами 5, размещенными с двух боковых сторон монтажной рейки 4. Модуль 3 содержит монтажную рейку 6, имеющую несколько ложементов для крепления проводов: четыре узких ложемента 7 с одной боковой стороны монтажной рейки 6 и три широких ложемента 5 с другой боковой стороны монтажной рейки 6. Следует понимать, что количество ложементов на одной рейке может быть одинаковым или различным с двух боковых сторон монтажной рейки, при этом не обязательно, чтобы ложементы с одной стороны монтажной рейки были одинакового размера. В частности, количество ложементов на монтажной рейке может изменяться от одного ложемента при одностороннем расположении ложемента на монтажной рейке, до двадцати и более ложементов при двухстороннем расположении ложементов относительно монтажной рейки. Соответственно меняется общая длина монтажной рейки, начиная с монтажной рейки длиной 15-25 мм для монтажной рейки с одним ложементом с одной стороны монтажной рейки или двумя ложементами при двухстороннем расположении ложементов. При большом количестве ложементов длина монтажной рейки может достигать 120-150 мм, или еще больше. Обычно длина монтажной рейки увеличивается на 10-15 мм при добавлении к монтажной рейке одного дополнительного ложемента (при условии, что новый ложемент добавляется со стороны уже заполненной ложементами).

[50]

Ложементы для крепления проводов могут быть расположены на обеих боковых поверхностях монтажной рейки напротив друг друга, например, широкие ложементы 5 на монтажной рейке 4, или они могут быть смещены относительно друг друга, например широкие ложементы 5 и узкие ложементы 7 на монтажной рейке 6.

[51]

На фиг. 1Б показан пример крепления электрического провода к гребенке. Для упрощения показано крепление одного провода, но можно закрепить столько проводов, сколько ложементов имеет монтажная рейка. Можно закрепить провод на одном ложементе, как это показано на фиг. 1Б, но можно закрепить провод на обоих ложементах. Для крепления проводов провода на ложементе можно использовать любые известные средства: стяжные хомуты, ленты, упругие разрезные кольца и т.п.

[52]

Далее будут описаны предпочтительные исполнения монтажных реек в соответствии с настоящим изобретением.

[53]

Пример 1. (Первое исполнение изобретения)

[54]

На фиг. 2-6 представлено первое исполнение модуля гребенки для крепления электрических проводов в соответствии с настоящим изобретением. На рисунках в качестве примера показан единичный модуль 2, содержащий монтажную рейку 4 с двумя широкими ложементами 5, расположенными с двух боковых сторон монтажной рейки 4. Однако следует понимать, что данная конфигурация монтажной рейки показана только в качестве примера для описания элементов монтажной рейки, которые являются универсальными для любых конфигураций монтажных реек с любым количеством и любой формой ложементов.

[55]

Единичный модуль 2 содержит монтажную рейку 4, имеющую основание 8, лицевую поверхность 9, первый торец 10 и второй торец 11, расположенные с противоположных сторон монтажной рейки 4, и две боковые поверхности 12 и 13, простирающиеся между торцами 10 и 11. Модуль 2 имеет два широких ложемента 5, присоединенных соответственно к боковым поверхностям 12 и 13. В этом исполнении в монтажной рейке 4 выполнено одно сквозное отверстие 14, проходящее поперек монтажной рейки 4 от ее лицевой поверхности 9 к опорному основанию 8. Отверстие 14 предназначено для размещения в нем элемента крепления модуля 2 к стене при установке модуля. Как правило, отверстие 14 имеет ступенчатую форму, при этом участок отверстия с большим диаметром расположен со стороны лицевой поверхности, для формирования опорного буртика для поджатия монтажной рейки к поверхности стены или любой другой монтажной поверхности (потолку, полу, несущей конструкции и т.п.). Отверстие 14 может быть выполнено также цилиндрическим, или иметь в своем составе сужающийся конический участок. В отверстии 14 может быть установлена металлическая втулка 15 с внешней поверхностью, совпадающей с контуром стенки отверстия 14. Предпочтительно, но не обязательно, металлическая втулка 15 установлена заподлицо с опорным основанием 8. В данном исполнении в монтажной рейке 4 выполнено одно сквозное отверстие 14, расположенное, предпочтительно, но не обязательно, в центральной зоне монтажной рейки, однако в длинных монтажных рейках может быть выполнено два отверстия (или три - четыре отверстия) для крепления монтажной рейки к стене.

[56]

Модуль 2 оснащен соединительными элементами, образующими быстроразъемное соединение, с возможностью последовательного присоединения модулей друг к другу. Соединительные элементы расположены на торцах монтажной рейки, при этом первый элемент быстроразъемного соединения выполнен в виде продольного паза 16, простирающегося в направлении параллельном лицевой поверхности 9 монтажной рейки 4, и расположен на одном из торцов, например на торце 11, монтажной рейки 4 модуля, а второй элемент быстроразъемного соединения выполнен в виде продольного выступа 17, простирающегося параллельно лицевой поверхности 9 монтажной рейки 4, расположен на противоположном торце 10 монтажной рейки 4 при этом внешние контуры продольного выступа 17 повторяют внутреннюю поверхность упомянутого продольного паза 16. В собранной гребенке продольный выступ 17, формирующий с продольным пазом 16 быстроразъемное соединение, одного модуля расположен на торце 10 монтажной рейки смежного с ним модуля

[57]

Предпочтительно, продольный паз 16 выполнен открытым с одной стороны, имеет стенки 18, формирующие боковую поверхность продольного паза 16, и поперечную перегородку 19, полностью или частично закрывающую продольный паз 16 с противоположной стороны.

[58]

В этом исполнении продольный выступ 17 выполнен с длиной, соответствующей длине продольного паза, и простирается параллельно продольному пазу на расстояние, равное длине продольного паза до поперечной перегородки. Продольный выступ 17 может быть оснащен полочкой 20, опирающейся при присоединении к смежному модулю на входные кромки продольного паза 16 этого смежного модуля. Полочка 20 может быть двухсторонней или односторонней.

[59]

В данном исполнении в быстроразъемном соединении продольный паз 16 выполнен с переменной шириной поперечного сечения, и продольный выступ 17 выполнен с переменной шириной поперечного сечения, в соответствии с поперечным сечением продольного паза. Предпочтительно, что продольный паз 16 и продольный выступ 17 образуют быстроразъемное соединение в форме «ласточкина хвоста».

[60]

На фиг. 6 представлена модификация модуля 2 по первому исполнению, в которой продольный паз 16 выполнен сквозным и продольный выступ 17 простирается вдоль всего торца 10 монтажной рейки 4.

[61]

На фиг. 7, представлена еще одна модификация модуля 2, в которой монтажная рейка 4 оснащена ложементами, присоединенными только к одной боковой поверхности монтажной рейки 4. В данном примере показан один широкий ложемент 5, но возможно присоединение нескольких широких или узких ложементов или их комбинации.

[62]

Размеры продольного выступа 17 и продольного паза 16 подбираются в зависимости от конкретных условий. В частности продольный выступ 17 может свободно входить в продольный паз 16 или для его введения в продольный паз и выведения из продольного паза 16 требуется некоторая сила, которая способна удерживать продольный выступ в пазу.

[63]

Пример 2. (Второе исполнение изобретения)

[64]

На фиг. 8-12 представлено второе исполнение модульной гребенки для крепления электрических проводов в соответствии с настоящим изобретением. При описании этого исполнения будет опущено подробное описание отдельных особенностей этого исполнения, относящихся к признакам, совпадающим с первым примером исполнения.

[65]

Как показано на фиг. 8 модульная гребенка 1 содержит два соединенных друг с другом модуля 2. Отличие данного примера исполнения от описанного выше первого примера заключается в ином исполнении быстроразъемного соединения.

[66]

В данном исполнении в быстроразъемном соединении первый элемент быстроразъемного соединения также выполнен в виде продольного паза 16, простирающегося в направлении параллельном лицевой поверхности 9 монтажной рейки 4, и расположен на торце 11, монтажной рейки модуля, ответный ему второй элемент быстроразъемного соединения выполнен в виде продольного выступа 17, простирающегося параллельно лицевой поверхности 9 монтажной рейки 4 и расположен на противоположном торце 10 монтажной рейки. Как показано на фиг. 8-12 продольный выступ 17 одного модуля 2 и продольный паз 16 смежного с ним модуля 2 образуют быстроразъемное соединение.

[67]

В отличие от описанного выше первого исполнения, продольный выступ 17 и продольный паз 16 выполнены с Т-образным поперечным сечением. Продольный выступ 17 содержит продольное ребро 21, расположенное, предпочтительно, в срединной зоне торца 10, и полку 22 вдоль внешней кромки продольного ребра 21. Соответственно, стенки продольного паза 16 имеют продольные элементы 23, расположенные, как правило, симметрично с двух сторон относительно продольной оси торца 11, и полки 24 вдоль внешней кромки продольных элементов 23, выступающие в направлении продольной оси торца 11. Продольный выступ 17 может быть выполнен с любой разумной толщиной продольного ребра 21 и любыми разумными размерами полки 22, определяемыми, в основном, требованиями к прочности быстроразъемного соединения. Полки 22 могут иметь прямоугольную форму поперечного сечения с равной толщиной полки, но эта форма полки 22 не является обязательной, и полка 22 может быть выполнена с переменным поперечным сечением, например, полка 22 может иметь буртик 25 любой формы вдоль внешней кромки полки 22 (буртик может быть выполнен прямоугольным, треугольным, трапецеидальным, или любым иным). Соответственно полка 24 стенки продольного паза выполнена с формой поперечного сечения, соответствующей форме поперечного сечения полки 22, и имеет буртик 26, чтобы вступить в зацепление с полкой 22.

[68]

На фиг. 8-12 показан модуль 2 гребенки для крепления проводов, в котором продольный выступ 17 и продольный паз 16 имеют Т-образное поперечное сечение, однако следует понимать, что продольный выступ 17 и продольный паз 16 могут иметь любое иное поперечное сечение, например, Г-образное поперечное сечение, или любой другой профиль поперечного сечения - крестообразное поперечное сечение, и т.п.

[69]

На фиг. 8-11, в качестве примера, показан модуль 2, в котором в отверстии 14 отсутствует металлическая втулка, однако понятно, что в данной конфигурации при необходимости металлическая втулка 15 может быть установлена в отверстии 14, как показано на фиг. 12.

[70]

Следует понимать, что все модификации выполнения первого и второго элементов быстроразъемного соединения (сквозной продольный паз 16 и продольный паз 16 с перегородкой, продольный выступ 17 с полкой и без полки и пр.) первого примера исполнения изобретения применимы ко второму примеру исполнения изобретения и наоборот.

[71]

Пример 3. (Третье исполнение изобретения)

[72]

На фиг. 13-16 представлено третье исполнение модульной гребенки для крепления электрических проводов в соответствии с настоящим изобретением. При описании этого исполнения будет опущено подробное описание отдельных особенностей этого исполнения, относящихся к признакам, совпадающим с первым и вторым примерами исполнения.

[73]

Как показано на фиг. 13 модульная гребенка 1 содержит два соединенных друг с другом модуля 2. Отличие данного примера исполнения от описанных выше примеров заключается в ином исполнении быстроразъемного соединения.

[74]

В данном исполнении в быстроразъемном соединении первый элемент быстроразъемного соединения также выполнен в виде продольного паза 16, простирающегося в направлении параллельном лицевой поверхности 9 монтажной рейки 4, и расположен на торце 11, монтажной рейки модуля, ответный ему второй элемент быстроразъемного соединения выполнен в виде продольного выступа 17, простирающегося параллельно лицевой поверхности 9 монтажной рейки 4 и расположен на противоположном торце 10 монтажной рейки. Как показано на фиг. 13-16 продольный выступ 17 одного модуля 2 и продольный паз 16 смежного с ним модуля 2 образуют быстроразъемное соединение.

[75]

В отличие от описанного выше первого исполнения, продольный выступ 17 имеет фигурное продольное ребро 27 переменной ширины, имеющее максимальную ширину в его срединной части, при этом продольный паз 16 выполнен с фигурной стенкой 28 с поперечным сечением, охватывающим фигурное продольное ребро 27 смежного модуля 2 формируя быстроразъемное соединение. Фигурное продольное ребро 27 расположено, предпочтительно, в срединной зоне торца 12. Соответственно, фигурные стенки 28 продольного паза 16 расположены, как правило, симметрично с двух сторон относительно продольной оси торца 11 и охватывают фигурное продольное ребро 27 смежного модуля 2.

[76]

Продольный выступ 17 может быть выполнен с любой формой поперечного сечения фигурного продольного ребра 27 и любыми размерами с утолщением в его срединной части, при выполнении условия, что фигурное продольное ребро 27 формирует с продольным пазом 16 быстроразъемное соединение двух модулей 2, фиксируя их относительно друг друга, путем предотвращения самопроизвольного продольного и поперечного смещения фигурного продольного ребра 27 и продольного паза 16. Фигурное продольное ребро 27 может быть выполнено в виде круглого или овального цилиндра, или, например, в виде шестигранника или другого многоугольника, примыкающего одним из своих ребер к торцу 10 монтажной рейки 4.

[77]

Соответственно стенка 28 продольного паза выполнена с формой поперечного сечения, соответствующей форме поперечного сечения фигурного продольного ребра 27, чтобы вступить в зацепление с фигурным продольным ребром 27.

[78]

На фиг. 13-16, в качестве примера, показан модуль 2, в котором в отверстии 14 отсутствует металлическая втулка, однако понятно, что в данной конфигурации при необходимости металлическая втулка 15 может быть установлена в отверстии 14, как показано на фиг. 12.

[79]

Следует понимать, что все модификации выполнения первого и второго элементов быстроразъемного соединения (сквозной продольный паз 16 и продольный паз 16 с перегородкой 19, продольное ребро 21 с полкой 20 и без полки и пр.) первого примера исполнения изобретения применимы к третьему примеру исполнения изобретения.

[80]

Пример 4. (Четвертое исполнение изобретения)

[81]

На фиг. 17-20 представлено четвертое исполнение модульной гребенки для крепления электрических проводов в соответствии с настоящим изобретением. При описании этого исполнения будет опущено подробное описание отдельных особенностей этого исполнения, относящихся к признакам, совпадающим с первым и вторым примерами исполнения.

[82]

Как показано на фиг. 17 модульная гребенка 1 содержит два соединенных друг с другом модуля 2. Отличие данного примера исполнения от описанного выше первого примера заключается в ином исполнении быстроразъемного соединения.

[83]

В данном исполнении в быстроразъемном соединении первый элемент быстроразъемного соединения расположен на торце 10 монтажной рейки 4 в зоне, прилегающей к ее лицевой поверхности 9, простирается в продольном направлении вдоль лицевой поверхности 9 и выполнен в виде первого продольного Г-образного захвата 29, имеющего стенку 30 и полку 31 вдоль внешней кромки этой стенки, обращенную к опорному основанию 8 монтажной рейки 4, а второй элемент быстроразъемного соединения расположен на противоположном торце 11 монтажной рейки 4 этого модуля, или на торце монтажной рейки смежного с ним модуля, в зоне, прилегающей к ее опорному основанию 8, простирается в продольном направлении вдоль опорного основания 8 (также параллельно и лицевой поверхности 9) и выполнен в виде ответного продольного Г-образного захвата 32, имеющего стенку 33 и полку 34 вдоль внешней кромки этой стенки, обращенную к лицевой поверхности 9 монтажной рейки 4. Как показано на фиг. 17-20 продольный Г-образный захват 29 одного модуля 2 и продольный Г-образный захват 32 смежного с ним модуля 2 сцепляются друг с другом полками 31 и 34 и образуют быстроразъемное соединение.

[84]

В отличие от описанных выше примеров исполнения изобретения, в данном примере исполнения использовано быстроразъемное соединение с открытым пазом, формируемое Г-образными захватами.

[85]

Продольные Г-образные захваты 29 и 32 могут быть выполнены с любой разумной толщиной стенок 30 и 33 и любыми размерами и формами полок 31 и 34, определяемыми, в основном, требованиями к прочности быстроразъемного соединения. Полки 31 и 34 могут иметь прямоугольную форму поперечного сечения с равной толщиной полки, но эта форма полок 31 и 34 не является обязательной и полки могут быть выполнены с переменным поперечным сечением, например, полка 31 может иметь буртик любой формы вдоль внешней кромки полки 31 (буртик может быть выполнен прямоугольным, треугольным, трапецеидальным, или любым иным). Соответственно полка 34 стенки 33 выполнена с формой поперечного сечения, соответствующей форме поперечного сечения полки 31, чтобы вступить в зацепление с полкой 31.

[86]

Продольный Г-образный захват 29 может быть оснащен перегородкой 35, закрывающей прорезь Г-образного захвата со стороны примыкающей боковой поверхности 12. Аналогичная перегородка 36 закрывает прорезь второго продольного Г-образного захвата 32.

[87]

На фиг. 17-20, в качестве примера, показан модуль 2, в котором в отверстии 14 отсутствует металлическая втулка, однако понятно, что в данной конфигурации при необходимости металлическая втулка 15 может быть установлена в отверстии 14, как показано на фиг. 12.

[88]

Пример 5. (Пятое исполнение изобретения)

[89]

На фиг. 21-24 представлено пятое исполнение модульной гребенки для крепления электрических проводов в соответствии с настоящим изобретением. При описании этого исполнения будет опущено подробное описание отдельных особенностей этого исполнения, относящихся к признакам, совпадающим с предыдущими примерами исполнения.

[90]

Как показано на фиг. 21 модульная гребенка 1 содержит два соединенных друг с другом модуля 2. Отличие данного примера исполнения от описанного выше первого примера заключается в ином исполнении быстроразъемного соединения.

[91]

В данном исполнении быстроразъемное соединение выполнено по типу быстроразъемного штыревого соединения, при этом первый элемент соединения расположен на торце 10 монтажной рейки 4 в зоне, прилегающей к одной из ее боковых поверхностей, например, к боковой поверхности 13, и выполнен в виде первого пилона 37 с продольным отверстием 38, простирающимся параллельно лицевой поверхности 9 монтажной рейки 4, а второй элемент соединения расположен на противоположном торце 11 монтажной рейки 4 этого модуля в зоне, прилегающей к другой боковой поверхности 12 монтажной рейки, и выполнен в виде второго пилона 39 со штырем 40 простирающимся параллельно лицевой поверхности 9 монтажной рейки для взаимодействия с отверстием 38 в первом пилоне 7, направленным к противолежащей боковой поверхности 13 этой монтажной рейки.

[92]

Как показано на фиг. 21-24 пилон 39 со штырем 40 одного модуля 2 и пилон 37 с отверстием 38 смежного с ним модуля 2 сцепляются друг с другом и образуют быстроразъемное соединение.

[93]

В отличие от описанных выше примеров исполнения изобретения, в данном примере исполнения использовано быстроразъемное штыревое соединение.

[94]

Штырь 40 может иметь любую форму поперечного сечения, круг, эллипс, треугольник, квадрат, прямоугольник, или любой другой многоугольник. Соответственно отверстие 38 имеет поперечное сечение, соответствующее поперечному сечению штыря 40.

[95]

Предпочтительно, отверстие 39, выполнено сквозным, как это показано на фиг. 21-24, но не исключается выполнение отверстия 39 глухим. Штырь 40 может иметь длину равную длине отверстия 39, но может быт короче отверстия 39 или наоборот, выступать за пределы отверстия 39. Штырь 40 может иметь сужающийся наконечник для удобства стыковки с отверстием 39. Кроме того, штырь 40 и отверстие 39 могут быть выполнены коническими.

[96]

Пилоны 37 и 39 могут иметь размеры, совпадающие с размерами торцов 10 и 11 монтажной рейки 4, как это показано на фиг. 21-24, но возможно выполнение пилонов 37 и 39 с меньшими размерами, чем, например, ширина торца.

[97]

На фиг. 21-24, в качестве примера, показан модуль 2, в котором в отверстии 14 отсутствует металлическая втулка, однако понятно, что в данной конфигурации при необходимости металлическая втулка 15 может быть установлена в отверстии 14, как показано на фиг. 12.

[98]

Пример 6. (Шестое исполнение изобретения)

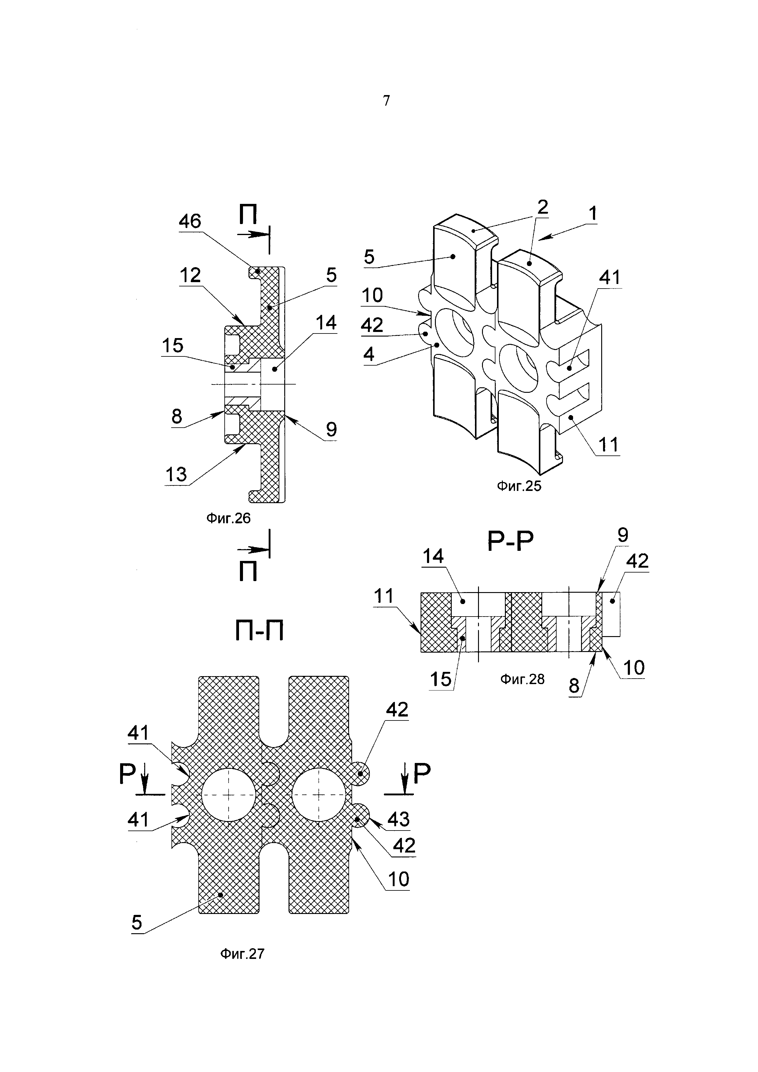
[99]

На фиг. 25-28 представлено шестое исполнение модульной гребенки для крепления электрических проводов в соответствии с настоящим изобретением. При описании этого исполнения будет опущено подробное описание отдельных особенностей этого исполнения, относящихся к признакам, совпадающим с предыдущими примерами исполнения.

[100]

Как показано на фиг. 25 модульная гребенка 1 содержит два соединенных друг с другом модуля 2. Основная особенность этого исполнения изобретения заключается в том, что элементы быстроразъемного соединения ориентированы в направлении перпендикулярном лицевой поверхности монтажной рейки.

[101]

В быстроразъемном соединении, приведенном на фиг. 25-28 в качестве примера, первый элемент выполнен в виде двух поперечных пазов 41, простирающихся в направлении перпендикулярном лицевой поверхности 9 монтажной рейки 4, и расположенных на торце 11, монтажной рейки 4 модуля. Ответный ему второй элемент быстроразъемного соединения выполнен в виде двух поперечных выступов 42, простирающихся перпендикулярно лицевой поверхности 9 монтажной рейки 4 и расположенных на противоположном торце 10 монтажной рейки. Как показано на фиг. 25-28 поперечные выступы

[102]

42 одного модуля 2 и поперечные пазы 41 смежного с ним модуля 2 образуют быстроразъемное соединение.

[103]

Поперечный выступ 42 представляет собой фигурное поперечное ребро.

[104]

43 переменной ширины, имеющее максимальную ширину в его срединной части, при этом поперечный паз 41 выполнен с поперечным сечением, охватывающим фигурное поперечное ребро 43 смежного модуля 2, формируя быстроразъемное соединение. Фигурные поперечные ребра 43 расположены с двух сторон относительно центра торца 10. Соответственно два поперечных паза 41 расположены с двух сторон относительно центра противоположного торца 11. Положение поперечных пазов 41 на торце 11 согласовано с расположением и размерами фигурных ребер 43 на торце 10. Как правило, фигурные поперечные ребра 43 и поперечные пазы 41 расположены симметрично относительно центра торцов 10 и 11..

[105]

Следует понимать, что выполнение фигурных поперечных ребер 43 в виде цилиндров является частным случаем исполнения этого быстроразъемного соединения. Поперечные выступы 42 могут быть выполнены с любой формой поперечного сечения фигурного поперечного ребра 43 и любыми размерами утолщения в его срединной части, при выполнении условия, что фигурное поперечное ребро 27 формирует с поперечным пазом 16 быстроразъемное соединение двух модулей 2, фиксируя их относительно друг друга, путем предотвращения самопроизвольного продольного и поперечного смещения относительно друг друга фигурных поперечных ребер 43 и поперечных пазов 41. Фигурное поперечное ребро 43 может быть выполнено в виде круглого или овального цилиндра, или например в виде шестигранника или другого многоугольника, примыкающего одной из своих граней к торцу 10 монтажной рейки 4.

[106]

Соответственно поперечные пазы 41 выполнены с формой поперечного сечения, соответствующей форме поперечного сечения фигурного поперечного ребра 43, чтобы вступить в зацепление с фигурными поперечными ребрами 43.

[107]

На рисунках 25-28 показан пример исполнения с двумя фигурными поперечными ребрами 43 и двумя поперечным пазами, но следует понимать, чот бытроразъемое соединение может быть выполнено с одним фигурным поперечным ребром 43 и одним поперечным пазом 41. В этой конфигурации, предпочтительно, но не обязательно, ребра 43 и паз 41 расположены соответственно в срединной зоне торцов 10 и 11.

[108]

На фиг. 25-28 монтажная рейка 4 выполнена со ступенчатым отверстием 14, в котором размещена металлическая втулка 15, но возможно исполнение монтажной рейки без втулки 15, как это показано, например, на фиг. 8-11 во втором пример исполнения настоящего изобретения.

[109]

Следует понимать, что в модульной гребенке с поперечным расположением элементов быстроразъемного соединения на торцах монтажной рейки 4 возможно использование элементов быстроразъемного соединения с любой формой поперечного сечения пазов и выступов, которые описаны в любом из предыдущих примеров исполнения: в частности можно использовать быстроразъемные соединения типа «ласточкин хвост» по первому примеру исполнения, быстроразъемные соединения с Т-образным поперечным сечением паза и выступа и их модификациями, как это описано во втором примере исполнения, быстроразъемные соединения с поперечными выступами в виде с Г-образных захватов, как это описано в четвертом примере исполнения, или с поперечным быстроразъемным штыревым соединением, элементы которого описаны в четвертом примере осуществления.

[110]

Пример 7. (Седьмое исполнение изобретения)

[111]

На фиг. 29-32 представлено седьмое исполнение модульной гребенки для крепления электрических проводов в соответствии с настоящим изобретением. При описании этого исполнения будет опущено подробное описание отдельных особенностей этого исполнения, относящихся к признакам, совпадающим с предыдущими примерами исполнения.

[112]

Как показано на фиг. 29 модульная гребенка 1 содержит два соединенных друг с другом модуля 2. Основная особенность этого исполнения изобретения заключается в том, что элементы быстроразъемного соединения ориентированы в направлении перпендикулярном торцовой поверхности монтажной рейки.

[113]

В быстроразъемном соединении, приведенном на фиг. 29-32 в качестве примера, использовано соединение типа «выступ-гнездо» первый элемент выполнен в виде двух цилиндрических выступов 44, простирающихся перпендикулярно торцу 10 монтажной рейки 4. Ответный ему второй элемент быстроразъемного соединения выполнен в виде двух гнезд 45, выполненных в противоположном торце 11 этой монтажной рейки 4 с возможностью формирования быстроразъемного соединения «выступ-гнездо» с цилиндрическими выступами на торце монтажной рейки смежного с ним модуля..

[114]

Положение гнезд 45 согласовано с положением цилиндрических выступов 44 на противолежащем торце 10 монтажной рейки смежного модуля 2, с которыми взаимодействуют гнезда 45, формируя быстроразъемное соединение. Цилиндрические выступы 44 и гнезда 45, предпочтительно, расположены симметрично, относительно центральной зоны торца 10 и торца 11. Хотя в примере на фиг. 29-32 быстроразъемное соединение оснащено двумя цилиндрическими выступами 44 и двумя гнездами 45, следует понимать, что в быстроразъемном соединении «выступ-гнездо» может использоваться один цилиндрический выступ 44 и одно гнездо 45, либо большее количество выступов и гнезд, согласованно размещенных на торцах 10 и 11.

[115]

Следует понимать, что выполнение выступа в виде цилиндра является частным случаем исполнения этого быстроразъемного соединения. Выступы 44 могут быть выполнены любой формы: конус, усеченный конус, пирамида с любым числом боковых граней, усеченная пирамида, цилиндр с наконечником любой формы - конус, полусфера и т.п., призма любой формы - треугольная, квадратная, шестигранная и т.д., полусфера и пр. Соответственно, форма гнезда 45 соответствует форме выступа 44, то есть гнездо может быть выполнено с любой из перечисленных выше форм выступа 44.

[116]

Возможно выполнение выступа 46 в виде короткого стержня с головкой, при этом ответное гнездо можно выполнить с охватывающей головку упругой стенкой, деформирующейся при взаимодействии с головкой.

[117]

Кроме того, возможно выполнение выступа 46 в виде цилиндра с резьбой и соответственно гнездо может быть выполнено также с резьбой.

[118]

В любом из описанных быстроразъемных соединений первый и второй элементы быстроразъемного соединения могут свободно входить друг в друга.

[119]

В ином исполнении для присоединения второго элемента к первому элементу быстроразъемного соединения и для их разделения требуется некоторая сила, которая способна удерживать их в состыкованном состоянии. В этом случае необязательно, чтобы охватывающий элемент быстроразъемного соединения повторял полностью ответного охватываемого элемента. Достаточно, чтобы они контактировали в нескольких, например, в трех или четырех точках, Кроме того, можно использовать заклинивающиеся конусы или заклинивающиеся клиновые пары.

[120]

Кроме того, в предлагаемой гребенке ложемент может быть оснащен выступом 46, размещенным на торце ложемента, простирающимся в направлении опорного основания монтажной рейки. Выступ 46 обеспечивает фиксацию на ложементе стяжного хомута, затягивающейся ленты или любого другого известного средства крепления.

[121]

Фиксацию быстроразъемного соединения в состыкованном состоянии можно также обеспечить с использованием фиксатора, показанного на фиг. 33-34.

[122]

Фиксатор собранного состояния быстроразъемного соединения, включает в себя выемку 47, расположенную на поверхности паза 16 на торце 11, и соответствующий выемке выпуклый элемент 48 фиксатора быстроразъемного соединения 48, расположенную на внешней поверхности выступа 17 на противоположном торце 10 монтажной рейки с возможностью взаимодействия с выемкой 47 на поверхности паза на торце монтажной рейки смежного модуля с формированием фиксатора собранного состояния, как это показано на фиг. 34. Следует понимать, что в другом исполнении выемка 47 может быть расположена на внешней поверхности выступа 17, и соответствующая выемке выпуклость 48 расположена на поверхности паза 16 на противоположном торце монтажной рейки с возможностью взаимодействия с выемкой 47на внешней поверхности выступа 17 на торце монтажной рейки смежного модуля с формированием фиксатора собранного состояния.

[123]

Модульная гребенка может использоваться для крепления электрических проводов на рейках, например, на DIN-рейках.

[124]

Для этого монтажная рейка оснащается захватами, предназначенными для взаимодействия с DIN-рейкой при установке гребенки в зоне монтажа, см. фиг. 35 и 36. Захваты размещены под ложементами 5 гребенки, примыкающими к торцам монтажной рейки. Каждый захват выполнен в виде двух упругих лапок 49, 50 для крепления модуля гребенки вдоль DIN-рейки, простирающихся за пределы опорного основания 8 монтажной рейки 6 (4). Упругие лапки 49, 50 расположены попарно с двух боковых сторон монтажной рейки под соответствующими ложементами.

[125]

Упругие лапки 49 и 50 могут иметь ширину равную ширине ложемента, например ширине ложемента 5, как показано на 35, или упругие лапки 49 и 50 могут иметь ширину меньшую ширины ложемента, например, ложемента 5, как показано на фиг. 36.

[126]

Следует отметить, что любые модификации элементов, формирующих модуль гребенки в одном из исполнений изобретения, могут быть использованы в любой другой модификации исполнения изобретения.

[127]

Выше описанные примеры не являются ограничивающими и могут быть предложены другие модификации быстроразъемных соединений в рамках действия формулы изобретения.

[128]

Следует понимать, что данное описание служит только для иллюстрации осуществления изобретения, и ни в какой мере не ограничивает объема настоящего изобретения.

[129]

При креплении электрических проводов выбирают модуль гребенки, имеющий необходимое количество ложементов, закрепляют монтажную рейку 4 или 6, например, на стенке в зоне монтажа винтами, или иными фиксирующими элементами, пропущенными через отверстия 14. Закрепляемый провод укладывают на один из ложементов 5 или 7 и фиксируют его с помощью, например, затягивающейся ленты, охватывающей ложемент и закрепляемый провод. При необходимости удлинить зону крепления выбирают второй модуль, используя быстроразъемное соединение на смежных торцах монтажных реек соединяемых модулей, присоединяют второй модуль к первому модулю и закрепляют монтажную рейку второго модуля на стенке, удлиняя гребенку.

[130]

Можно использовать иную технологию крепления проводов. Выбирают два (или более) модуля гребенки, используя быстроразъемные соединения на торцах монтажных реек, соединяют выбранные модули в цепочку, формируя гребенку для крепления проводов, и закрепляют собранную гребенку на стенке, как описано выше. Следует отметить, что для закрепления собранной гребенки можно обойтись меньшим количеством винтов или иных крепежных элементов.

[131]

ПРОМЫШЛЕННАЯ ПРИМЕНИМОСТЬ

[132]

В зависимости от условий эксплуатации для изготовления монтажной рейки могут использоваться любые электроизоляционные конструкционные материалы: полимеры любого вида, включая полиимиды, полиамиды, фторопласты, кремнийорганику, силиконы, фарфор и другие керамики, полиэтилен высокого давления, нейлон, карбамиды, наполненные пластики, текстолиты и пр.

[133]

Монтажная рейка может быть изготовлена по любой из освоенных технологий изготовления деталей машин, строительных конструкций, любых изолирующих элементов.

[134]

Перечень позиций

[135]

1 - гребенка для крепления электропроводки;

[136]

2 и 3 - модули гребенки;

[137]

4 - короткая монтажная рейка;

[138]

5 - широкий ложемент;

[139]

6 - длинная монтажная рейка;

[140]

7 - узкий ложемент;

[141]

8 - основание;

[142]

9 - лицевая поверхность;

[143]

10 - первый торец;

[144]

11 - второй торец;

[145]

12 и 13 - боковые поверхности;

[146]

14 - сквозное отверстие;

[147]

15 - металлическая втулка;

[148]

16 - продольный паз;

[149]

17 - продольный выступ;

[150]

18 - стенка продольного паза 16;

[151]

19 - поперечная перегородка паза;

[152]

20 - полочка выступа;

[153]

21 - продольное ребро;

[154]

22 - полка на продольном ребре;

[155]

23 - продольные элементы стенки паза;

[156]

24 - полки на стенке паза;

[157]

25 - буртик полки 22 продольного ребра;

[158]

26 - буртик полки 24 стенки паза;

[159]

27 - фигурное продольное ребро;

[160]

28 - фигурная стенка продольного паза

[161]

29 - первый продольный Г-образный захват;

[162]

30 - стенка продольного Г-образного захвата 29;

[163]

31 - полку стенки 30;

[164]

32 - второй продольный Г-образный захват;

[165]

33 - стенка продольного Г-образного захвата 32;

[166]

34 - полка стенки 33;

[167]

35 - перегородка;

[168]

36 - перегородка;

[169]

37 - первый пилон;

[170]

38 - продольное отверстие;

[171]

39 - второй пилон;

[172]

40 - штырь;

[173]

41 - поперечный паз;

[174]

42 - поперечный выступ;

[175]

43 - фигурное поперечное ребро;

[176]

44 - выступ, перпендикулярный торцу 10;

[177]

45 - гнездо в торце 11;

[178]

46 - выступ на торце ложемента;

[179]

47 - выемка фиксатора быстроразъемного соединения;

[180]

48 - выпуклый элемент фиксатора быстроразъемного соединения;

[181]

49 и 50 - упругие лапки.

Как компенсировать расходы
на инновационную разработку
Похожие патенты