патент
№ RU 2682842
МПК G01B11/26

Углоизмерительный прибор

Авторы:
Колосов Михаил Петрович
Номер заявки
2018106127
Дата подачи заявки
19.02.2018
Опубликовано
21.03.2019
Страна
RU
Как управлять
интеллектуальной собственностью
Чертежи 
6
Реферат

Прибор может быть использован для измерения угловых координат положения осей космических аппаратов относительно астроориентиров. Прибор содержит бленду, канал геометрического эталона (КГЭ) и приемное устройство, включающее объектив и фотоприемник с вычислительным блоком. КГЭ содержит блок коллиматора, включающий коллиматорный объектив, прямоугольную призму, источник излучения, точечную диафрагму и плоское зеркало, установленное на базовой плоскости на половине фокусного расстояния коллиматорного объектива, а также зеркально-призменный блок для ввода излучения в приемное устройство. Коллиматорный объектив выполнен в виде оптического элемента в виде монолитной детали с одной поверхностью сферической формы и с двумя параллельными наклонными поверхностями с зеркальным покрытием и выходной плоской поверхностью. На входную наклонную поверхность нанесена точечная диафрагма, размещенная в задней главной точке коллиматорного объектива. Прямоугольная призма установлена гипотенузной гранью в области диафрагмы, ее входная плоскость, обращенная к источнику излучения, перпендикулярна оптической оси коллиматорного объектива. Технический результат - повышение точности прибора без изменения массогабаритных характеристик. 6 ил.

Формула изобретения

Углоизмерительный прибор, содержащий бленду, канал геометрического эталона (КГЭ), выполненный в виде блока коллиматора, включающего в себя оптический элемент, одна из поверхностей которого имеет сферическую форму, прямоугольную призму и источник излучения, представляющие собой коллиматорный объектив с осветительным устройством, прозрачную точечную диафрагму и плоское зеркало, установленное на базовой плоскости на половине фокусного расстояния объектива, а также зеркально-призменный блок, находящийся в составе КГЭ и осуществляющий ввод излучения в приемное устройство, включающее в себя объектив и фотоприемник с вычислительным блоком, отличающийся тем, что коллиматорный объектив выполнен в виде оптического элемента, представляющего собой монолитную деталь с двумя параллельными плоскими наклонными поверхностями с зеркальным покрытием и выходной плоской поверхностью, при этом на входную наклонную поверхность нанесена прозрачная точечная диафрагма, размещенная в задней главной точке коллиматорного объектива, а прямоугольная призма жестко установлена гипотенузной гранью в области диафрагмы, ее входная плоскость, обращенная к источнику излучения, перпендикулярна отрезку оптической оси коллиматорного объектива, расположенного между его наклонными поверхностями.

Описание

[1]

Изобретение относится к оптоэлектронике и измерительной технике, а точнее, к оптико-электронным приборам ориентации и навигации космических аппаратов (КА), и может быть использовано в качестве углоизмерительного прибора для измерения угловых координат положения осей КА относительно астроориентиров.

[2]

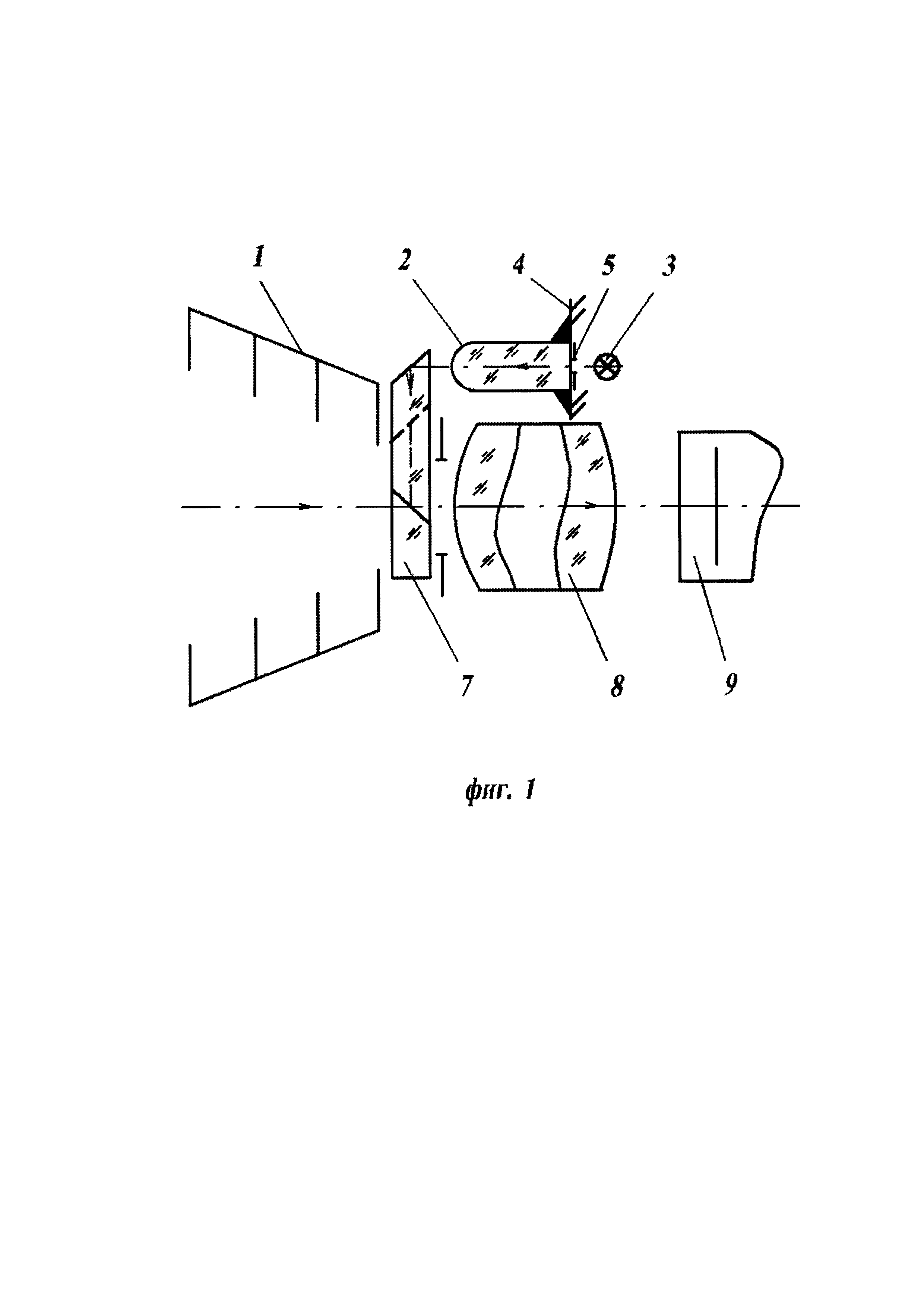
Известен углоизмерительный звездный прибор ориентации и навигации космического аппарата (фиг.1), содержащий бленду 1, канал геометрического эталона (КГЭ), состоящий из блока коллиматора, включающего объектив 2 с прозрачной точечной диафрагмой 5 на его входной поверхности, жестко закрепленного на базовой металлической плоскости 4, и источник излучения 3, расположенный перед точечной диафрагмой. При этом, в состав КГЭ также входит нерасстраиваемый зеркально-призменный блок 7, осуществляющий ввод излучения в приемное устройство прибора, содержащее объектив 8 и фотоприемник 9 с вычислительным блоком (см., например, В.И.Федосеев В.И., Колосов М.П., «Оптико-электронные приборы ориентации и навигации космических аппаратов»: - М.: Логос, 2007, стр. 73).

[3]

В этом устройстве измерение углового положения изображения точечного объекта (звезды), сформированного объективом 8 на чувствительной площадке фотоприемника матричного типа 9, производится относительно изображения точечной диафрагмы 5 коллиматора КГЭ, реализующей на матрице центр опорной системы координат (см., например, В.И.Федосеев В.И., Колосов М.П., «Оптико-электронные приборы ориентации и навигации космических аппаратов»: - М.: Логос, 2007, стр. 69).

[4]

Это позволяет исключить погрешности определения координат звезды, связанные, например, с микросмещениями фотоприемника 9 в направлениях, перпендикулярных оптической оси объектива 8 прибора.

[5]

Однако жесткое соединение коллиматора с базовой металлической плоскостью в ряде случаев не обеспечивает высокую стабильность его углового положения. Это обусловлено различием физико-технических свойств стекла и металла, характеризуемых коэффициентом линейного расширения, модулем упругости, коэффициентом теплопроводности и т.д., что при значительных температурных, вибрационных и ударных воздействиях приводит к возникновению деформаций. Эти деформации вызывают разворот блока коллиматора относительно базовой плоскости, приводящий к отклонению пучка параллельных лучей от первоначального направления, что снижает точность измеряемых величин. При расположении базовой плоскости, а, следовательно, и коллиматора, в открытом космосе и установленных отдельно от прибора (например, при привязке звездного прибора к базовой плоскости, расположенной на телескопе космического аппарата), влияние указанных деформаций еще более усиливается. Для высокоточных приборов с погрешностью единицы секунд это недопустимо.

[6]

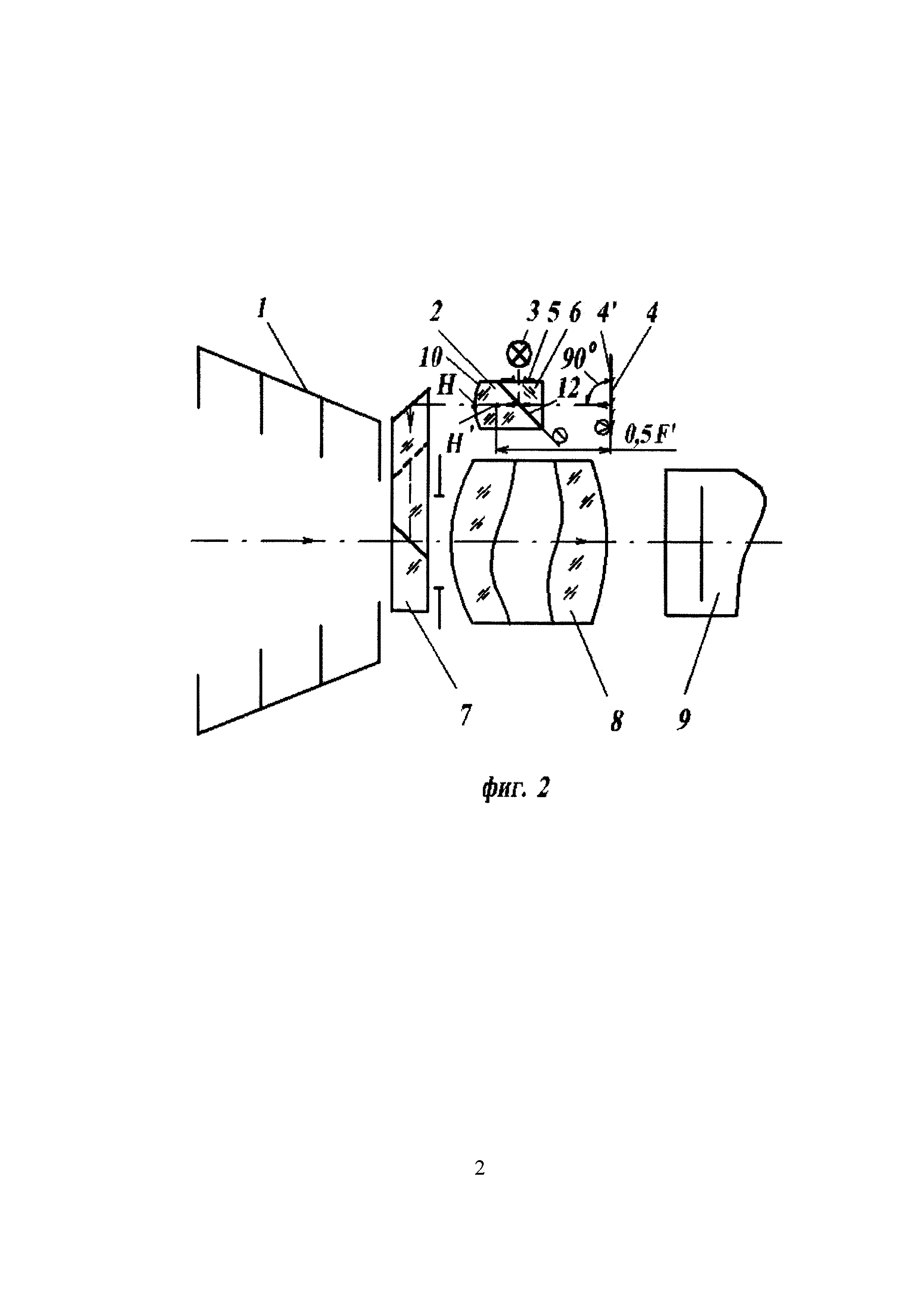
Указанная проблема решена в устройстве «Углоизмерительный звездный прибор ориентации и навигации КА» (фиг. 2) (см., например, Федосеев В.И., Колосов М.П., «Оптико-электронные приборы ориентации и навигации космических аппаратов»: - М.: Логос, 2007, стр. 76), являющимся наиболее близким по технической сущности и достигаемому результату к заявляемому объекту и выбранном в качестве прототипа. Прибор содержит бленду 1, КГЭ, выполненный в виде блока коллиматора, представляющего собой объектив 2, 6, точечную диафрагму 5, расположенную на его входной поверхности, источник излучения 3 и плоское зеркало 4', установленное на базовой плоскости 4 на половине фокусного расстояния объектива, нерасстраиваемый зеркально-призменный блок 7, выполненный из склеенных между собой призм БкР-180° и АР-90° с зеркальными и светоделительными, в месте склейки, наклонными гранями, осуществляющий ввод излучения в приемное устройство, включающее в себя объектив 8 и фотоприемник с вычислительным устройством 9.

[7]

Коллиматорный объектив КГЭ состоит из склеенных между собой оптического элемента 2 со сферической поверхностью 10 и прямоугольной призмы 6 с плоской поверхностью 13. В месте склейки оптического элемента 2 и призмы 6 расположен светоделитель 12, при этом мнимое изображение точечной диафрагмы 5 после светоделителя 12 находится в задней главной точке коллиматорного объектива Н'.

[8]

Данная система обеспечивает привязку углоизмерительного прибора к плоскому зеркалу 4', установленному на базовой плоскости 4, которая расположена на расстоянии от коллиматорного объектива.

[9]

В этом устройстве излучение от визируемой звезды, пройдя бленду 1, нерасстраиваемый зеркально-призменный блок 7 на проход, фокусируется объективом 8 на фотоприемнике матричного типа 9.

[10]

На входной поверхности зеркально-призменного блока 7 со стороны бленды в области склейки призм возможно нанесение черного матового покрытия или установка непрозрачной диафрагмы, занимающих небольшую часть зрачка объектива устройства и прикрывающих область склейки. Это позволяет исключить влияние клеевого соединения и обеспечить высокую стабильность углового положения прошедших лучей при жестких условиях эксплуатации в виде, например, температурных воздействий.

[11]

Зеркально-призменный блок 7 при работе на проход (режим визирования звезды) представляет собой плоскопараллельную пластину, работающую в параллельных пучках и, следовательно, не чувствителен к микронаклонам и микросмещениям.

[12]

В КГЭ излучение от источника излучения 3, пройдя через точечную диафрагму 5, входит в прямоугольную призму 6. Положение точечной диафрагмы 5 выбирается из условия совмещения ее мнимого изображения, образуемого после отражения от светоделителя 12 с задней главной точкой Н' коллиматорного объектива, образованного из склеенных между собой оптического элемента 2 и призмы 6. Коллиматорный объектив представляет собой плосковыпуклую линзу со сферической поверхностью 10.

[13]

Выйдя из призмы 6 через плоскую поверхность 13, пучок лучей падает на плоское зеркало 4', жестко закрепленное на базовой плоскости 4. Плоское зеркало 4' расположено на половине фокусного расстояния коллиматорного объектива от его главной задней точки Н'. В этом случае отраженный от зеркала 4' пучок лучей строит мнимое изображение диафрагмы 5 в фокусе объектива коллиматора. Далее, пройдя на проход в обратном направлении плоскую поверхность 13, светоделитель 12 и сферическую поверхность 10, выходящий пучок лучей становится коллимированным. При этом ось вышедшего пучка лучей всегда перпендикулярна поверхности зеркала 4', а микронаклоны и микросмещения объектива коллиматора практически не влияют на угловое положении коллимированного пучка. Выполнение плоского зеркала 4' металлическим непосредственно на базовой плоскости существенно повышает стабильность системы.

[14]

Свойство нерасстраиваемости блока коллиматора поясняется геометрическими построениями, представленными на фиг. 3 (см., например, Гебгарт А.Я., Колосов М.П. «Оптика приборов ориентации космических аппаратов»: - М.: Университетская книга, 2017, с. 50). На этой фигуре главные точки объектива 2, 6 коллиматора Н и Н' и центр диафрагмы 5 совмещены. При отражении от зеркала 4' мнимое изображение диафрагмы 5' расположено в фокальной плоскости F' объектива 2, 6. При микронаклоне коллиматорного объектива 2, 6 относительно плоского зеркала 4' на угол β мнимое изображение точечной диафрагмы 5' располагается на расстоянии у=f'⋅tgβ от его оси, где f' - фокусное расстояние. Ось вышедшего из объектива параллельного пучка лучей будет составлять с его осью угол β, и, следовательно, всегда перпендикулярна поверхности плоского зеркала 4'. Очевидно, что и линейные микросмещения объектива в направлениях, параллельных плоскости зеркала 4', не влияют на угловое положение коллимированного пучка.

[15]

Затем пучок параллельных лучей (фиг. 2), последовательно отразившись от зеркал призмы БкР-180° нерасстраиваемого зеркальнопризменного блока 7, попадает в объектив 8 приемного устройства, при этом ось пучка всегда параллельна нормали к плоскому зеркалу 4'. Это объясняется тем, что призма БкР-180° эквивалентна уголковому отражателю, и поэтому ее микросмещения и микронаклоны не влияют на угловое положение указанного пучка. Далее пучок лучей фокусируется объективом 8 на чувствительной площадке фотоприемника матричного типа 9.

[16]

Полученное изображение точечной диафрагмы 5 определяет центр опорной системы координат на фотоприемнике 9, соответствующий нормали к плоскости зеркала 4', установленного на базовой плоскости 4. Все это позволяет производить с помощью вычислительного блока (на фиг. 2 не показан) измерения углового положения изображения звезды относительно изображения диафрагмы 5 и тем самым исключить погрешности определения координат звезды, связанные, например, с микросмещениями фотоприемника 9 в направлениях, перпендикулярных оптической оси объектива 8.

[17]

Недостатком рассмотренного устройства является наличие клеевого соединения между оптическим элементом 2 и призмой 6 коллиматорного объектива в области светоделителя 12, обеспечивающего совмещение мнимого изображения точечной диафрагмы 5 с задней главной точкой объектива и прохождение лучей в прямом и обратном ходе через коллиматорный объектив. В этом случае угловое положение пучка, прошедшего через светоделитель 12 на отражение и на проход в зоне клеевого соединения не отличается стабильностью, что снижает точность определения координат визируемой звезды, а, следовательно, и прибора. Это обусловлено различием физико-технических свойств клея и стекла, что при значительных температурных, вибрационных и ударных воздействиях приводит к возникновению деформаций. Деформации вызывают разворот оптического элемента 2 и призмы 6 друг относительно друга. Это приводит к образованию дополнительного клина в зоне указанного соединения (см. фиг. 4). Следствием этого является отклонение вышедшего пучка А1 от первоначального направления А и, следовательно, смещение положения изображения диафрагмы 5 на матрице фотоприемника 9, что снижает точность определения координат углового положения визируемой звезды. Для устранения указанного недостатка возможна, например, доработка конструкции крепления коллиматорного блока, специальный термообогрев корпуса и т.д. Однако этот путь приводит к существенному усложнению конструкции прибора и к увеличению его массогабаритных характеристик.

[18]

Другим недостатком этого устройства является двукратное прохождение пучка лучей через светоделитель 12 в прямом и обратном ходе, что приводит к существенному уменьшению пропускания в канале КГЭ, снижению мощности регистрируемого излучения и, как следствие, падению отношения сигнал/шум на выходе фотоприемника, и уменьшению точности привязки к плоскому зеркалу 4', расположенному на базовой плоскости. Особенно это относится к случаю расположения зеркала на больших расстояниях от коллиматорного объектива.

[19]

Целью изобретения является повышение точности прибора без изменения массогабаритных характеристик.

[20]

Данная задача решается за счет того, что в углоизмерительном приборе, содержащем бленду, канал геометрического эталона (КГЭ), выполненный в виде блока коллиматора, включающий в себя оптический элемент, одна из поверхностей которого имеет сферическую форму, прямоугольную призму и источник излучения, представляющие собой коллиматорный объектив с осветительным устройством, прозрачную точечную диафрагму, плоское зеркало, установленное на базовой плоскости на половине фокусного расстояния объектива, а также нерасстраиваемый зеркально-призменный блок, находящийся в составе КГЭ и осуществляющий ввод излучения в приемное устройство, включающее в себя объектив и фотоприемник с вычислительным блоком, причем коллиматорный объектив выполнен в виде оптического элемента, представляющего собой монолитную деталь с двумя параллельными плоскими наклонными поверхностями с зеркальным покрытием и выходной плоской поверхностью, при этом на входную наклонную поверхность нанесена прозрачная точечная диафрагма, размещенная в задней главной точке коллиматорного объектива, а прямоугольная призма жестко установлена гипотенузной гранью в области диафрагмы, ее входная плоскость, обращенная к источнику излучения, перпендикулярна отрезку оптической оси коллиматорного объектива, расположенного между его наклонными поверхностями.

[21]

Таким образом, предлагаемое изобретение является новым техническим решением, т.к. оно неизвестно из уровня техники, а благодаря совокупности указанных признаков достигается технический результат -повышение точности прибора.

[22]

При этом следует отметить, что использование в оптико-электронных углоизмерительных звездных приборах каналов нерасстраиваемого геометрического эталона с блоком коллиматора для привязки к плоскому зеркалу, расположенному на базовой плоскости на половине фокусного расстояния объектива, известно.

[23]

Однако использование их в углоизмерительном приборе в выше указанной совокупности признаков является неизвестным техническим решением, обеспечивающий технический результат, обуславливающий:

[24]

- высокую стабильность оптических характеристик коллиматорного объектива за счет выполнения его в виде оптического элемента, представляющего собой единую монолитную деталь без использования клеевых соединений (в отличие от прототипа), что практически устраняет влияние жестких условий эксплуатации (например, температурных воздействий) на прохождение рабочих пучков;

[25]

- высокое пропускание коллиматорного объектива (оптического элемента) за счет выполнения его из единой стеклянной заготовки (оптического стекла) без использования светоделителя (в отличии от прототипа) и прохождения в нем светового пучка в обратном ходе лучей по одному пути с прямым ходом, что приводит к значительному повышению мощности оптического сигнала на поверхности светочувствительных элементов матричного фотоприемника.

[26]

В результате проведенного анализа следует, что заявленное техническое решение, характеризующееся указанной совокупностью существенных признаков по сравнению с прототипом, обеспечивает:

[27]

- увеличение точности устройства за счет повышения стабильности оптических характеристик коллиматорного объектива, обеспечивающих при жестких условиях эксплуатации (например, значительных температурных воздействиях) практическую неизменность углового положения выходящего из коллиматорного объектива пучков лучей, без усложнения конструкции и ухудшения габаритно-массовых характеристик;

[28]

- расширение диапазона удаления прибора от базовой плоскости при повышении точности за счет повышения мощности сигнала.

[29]

Для пояснения сущности предлагаемого изобретения предлагаются чертежи, на которых:

[30]

на фиг. 1 - приведена оптическая схема аналога;

[31]

на фиг. 2 - приведена оптическая схема прототипа;

[32]

на фиг. 3 - показана для прототипа нерасстраиваемость блока коллиматора;

[33]

на фиг. 4 - показано для прототипа отклонение пучка лучей от первоначального направления;

[34]

на фиг. 5 - приведена оптическая схема заявляемого устройства;

[35]

на фиг. 6 - приведена оптическая система блока коллиматора заявляемого устройства и его развертка.

[36]

Заявленное устройство (см. фиг. 5, 6), содержащее бленду 1, КГЭ, включающий в себя блок коллиматора, состоящий из оптического элемента 2, представляющего коллиматорный объектив, узла осветителя, состоящего из источника излучения 3 и прямоугольной призмы 6, а также базовой плоскости 4 с установленным на ней плоским зеркалом 4', расположенным на половине фокусного расстояния объектива и прозрачной точечной диафрагмы 5, расположенной в задней главной точке объектива. Кроме того, в состав КГЭ входит нерасстраиваемый зеркально-призменный блок 7, а в прибор - приемное устройство в виде объектива 8 и фотоприемник матричного типа 9.

[37]

Оптический элемент 2 по принципу действия представляет собой плосковыпуклую линзу, являющуюся единой монолитной деталью, у которой поверхность 10 имеет сферическую форму, плоские наклонные поверхности 11,12 имеют зеркальное покрытие и параллельны друг другу, а поверхность 13 - плоская и перпендикулярна оптической оси.

[38]

Прозрачная точечная диафрагма 5 расположена на поверхности 11 в главной задней точке коллиматорного объектива. Прямоугольная призма 6 жестко установлена гипотенузной гранью в области диафрагмы 5, например, путем приклейки гипотенузной грани к поверхности зеркала 11. В предлагаемом устройстве: - бленда 1 выполнена в виде набора диафрагм;

[39]

- оптический элемент 2 выполнен в виде детали из оптического бесцветного стекла, например, К108 ГОСТ 3514-94 (либо оптического кварцевого стекла ГОСТ 15130-86), при этом сферическая поверхность 10 -выпуклая, плоские зеркальные поверхности 11 и 12 - наклонные и расположены, например, под углом 45° к оптической оси;

[40]

- точечная прозрачная диафрагма 5 выполнена, например, путем фотолитографии или механическим способом на поверхности зеркала 11;

[41]

- прямоугольная призма 6 выполнена из оптического бесцветного стекла, например, К108 ГОСТ 3514-94 (либо оптического кварцевого стекла ГОСТ 15130-86), и приклеена гипотенузной гранью к поверхности зеркала 11 в области точечной диафрагмы 5 оптическим клеем. Марки стекол прямоугольной призмы 6 и оптического элемента 2 должны быть одинаковыми и прозрачными вместе с клеем в спектральном диапазоне работы источника излучения 3;

[42]

- в качестве источника излучения 3 может использоваться светодиод. В случае необходимости для улучшения засветки диафрагмы 5 между призмой 6 и источником излучения 3 может быть установлен конденсор (на чертеже не показан);

[43]

плоское зеркало 4' выполнено, например, металлическим непосредственно на базовой плоскости;

[44]

нерасстраиваемый зеркально-призменный блок 7 выполнен из склеенных между собой призм АР-90° и БкР-180°, с зеркальными и светоделительными, в месте склейки, наклонными гранями. В области склейки призм со стороны бленды может быть нанесено черное матовое покрытие или непрозрачная диафрагма;

[45]

- объектив 8 выполнен, например, в виде многолинзовой системы, обеспечивающей необходимые оптические характеристики;

[46]

- фотоприемник 9 может быть выполнен в виде матрицы ПЗС или фотодиодной матрицы с активными пикселями, подключенной к вычислительному устройству (на фигурах не показано).

[47]

Таким образом, предлагаемые примеры реализации подтверждают осуществимость заявленного технического решения. Устройство работает следующим образом.

[48]

Излучение от визируемой звезды (фиг. 5, 6), пройдя бленду 1, предназначенную для подавления паразитных боковых засветок, зеркально-призменный блок 7 на проход, попадает во входной зрачок объектива 8 и фокусируется на фотоприемнике 9. Зеркально-призменный блок 7 в данном направлении является плоскопараллельной пластиной, работающей в параллельных пучках и, следовательно, не чувствителен к микронаклонам и микросмещениям.

[49]

В КГЭ (фиг. 6) пучок лучей от источника излучения 3 падает на входную поверхность прямоугольной призмы 6, при этом ось падающего пучка перпендикулярна указанной поверхности. Далее, пройдя призму 6, приклеенную гипотенузной гранью к поверхности зеркала 11, пучок засвечивает прозрачную диафрагму 5, и поступает в оптический элемент 2 вдоль отрезка оптической оси Б между зеркалами 11 и 12. Положение точечной диафрагмы 5 выбирается из условия ее совмещения с задней главной точкой Н' оптического элемента 2, представляющего, как это следует из развертки (фиг. 6), плосковыпуклую линзу. Поэтому точечная диафрагма расположена на расстоянии S'Н=d/n от плоской поверхности 13 или на расстоянии a=d-d/n от передней главной точки Н (вершины сферической поверхности 10), где d - толщина оптического элемента (коллиматорного объектива) вдоль оптической оси, an- показатель преломления (см., например, Турыгин И.А. «Прикладная оптика»: - М.: Машиностроение, 1965. С. 33).

[50]

Наличие прямоугольной призмы 6 с входной поверхностью, перпендикулярной оси падающего пучка и отрезку оптической оси Б оптического элемента 2 между поверхностями 11, 12, позволяет пройти излучению в данную систему через диафрагму 5 вдоль указанной оси при любых угловых положениях зеркала 11. Призма 6 предназначена только для обеспечения подсветки точечной диафрагмы 5 и является частью осветительного устройства. В случае отсутствия призмы 6 распространение пучка от осветителя через диафрагму 5 вдоль оптической оси Б для достаточно широкого диапазона углов наклона зеркал 11, 12 становится невозможным из-за преломления на границе стекло - воздух.

[51]

Далее, пучок расходящихся лучей, пройдя диафрагму 5, отразившись от зеркала 12 и пройдя плоскую поверхность 13, выходит из оптического элемента 2 в направлении плоского зеркала 4'.

[52]

Плоское зеркало 4' расположено на половине фокусного расстояния оптического элемента 2 от его задней главной точки Н'. В этом случае отраженный от зеркала 4' пучок лучей строит мнимое изображение точечной диафрагмы 5' в фокусе оптического элемента 2. Далее, пройдя в обратном направлении плоскую поверхность 13, последовательно отразившись от зеркал 11 и 12 и пройдя сферическую поверхность 10, пучок лучей становится коллимированным. Наличие прозрачной точечной диафрагмы 5 силу ее малости практически не влияет на прохождение рабочих пучков лучей в обратном ходе, отраженных от зеркала 11. Радиус кривизны R сферической поверхности определяется из известного выражения f'=R/(n-l), где f' - фокусное расстояние оптического элемента, a n - показатель преломления. Направление оси коллимированного пучка всегда практически параллельно нормали к зеркалу 4' при микронаклонах и микросмещениях оптического элемента 2 относительно плоскости зеркала 4'. Ход лучей в коллиматорном объективе наглядно представлен на его развертке (фиг. 6). Неперпендикулярность точечной диафрагмы 5 оптической оси элемента 2 практически не влияет на качество изображения, формируемого на фотоприемнике 9, ввиду малости ее диаметра. Для получения на фотоприемнике 9 изображения диафрагмы 5 в виде окружности, контур ее может быть выполнен в виде соответствующего эллипса.

[53]

Свойство нерасстраиваемости блока коллиматора в отношении микронаклонов также, как и в прототипе, поясняется геометрическими построениями, представленными ранее на фиг. 3. Однако объектив коллиматора, представляющий собой оптический элемент 2, выполненный в виде единой монолитной детали без использования клеевых соединений, в этом случае обеспечивает более высокую стабильность углового положения пучка при значительных температурных, вибрационных и ударных воздействиях, а, следовательно, и более высокую точность определения координат визируемых звезд.

[54]

Клеевое соединение между оптическим элементом 2 и призмой 6 при жестких условиях эксплуатации не влияет на угловое положение коллимированного пучка (в отличие от прототипа), так как призма 6, как было указано выше, является составной частью узла осветителя, предназначена только для обеспечения подсветки диафрагмы 5 и не является частью коллиматорного объектива.

[55]

Высокое пропускание оптического элемента 2 обусловлено за счет выполнения его из единой стеклянной заготовки (оптического стекла) без использования светоделителя (в отличиии от прототипа) и прохождения в нем светового пучка в обратном ходе лучей по одному пути с прямым ходом. Это позволяет получить более высокую мощность регистрируемого излучения, повысить отношение сигнал/шум и, использовать предлагаемое устройство при больших удалениях базовой плоскости от коллиматорного объектива.

[56]

Габариты коллиматорного блока практически не превышают габаритов прототипа.

[57]

Вышедший из коллиматорного блока пучок параллельных лучей, последовательно отразившись от зеркал призмы БкР-180° зеркально-призменного блока 7 (фиг. 5), попадает в объектив 8, при этом ось пучка всегда параллельна нормали к плоскому зеркалу 4'. Это объясняется тем, что призма БкР-180° по своему действию эквивалентна уголковому отражателю, в котором падающий и отраженный пучки всегда параллельны друг другу. Также, вследствие указанного свойства уголкового отражателя, микронаклоны и микросмещения зеркально-призменного блока 7 не влияют на угловое положение пучков лучей, входящих в объектив 8 из КГЭ.

[58]

Далее пучок лучей фокусируется объективом 8 на чувствительной площадке фотоприемника матричного типа 9. Полученное изображение точечной диафрагмы 5 определяет центр опорной системы координат на фотоприемнике 9, соответствующий нормали к плоскости зеркала 4', установленного на базовой поверхности. Все это позволяет производить с помощью вычислительного блока (на фиг. 5 не показан) высокоточные измерения углового положения изображения звезды относительно изображения диафрагмы 5 и тем самым исключить погрешности определения координат звезды, связанные, например, с микросмещениями фотоприемника 9 в направлениях, перпендикулярных оптической оси объектива 8.

[59]

Таким образом, выполнение в углоизмерительном приборе коллиматорного объектива без использования клеевых соединений и светоделителя, и представляющего собой оптический элемент в виде монолитной детали с двумя параллельными плоскими наклонными поверхностями с зеркальным покрытием, сферической поверхностью, выходной плоской поверхностью, с нанесенной на входную наклонную поверхность в задней главной точке прозрачной точечной диафрагмой, а также использование в узле осветителя прямоугольной призмы для подсветки диафрагмы, жестко установленной (приклеенной) гипотенузной гранью в области диафрагмы, и выполнение входной плоскости призмы перпендикулярно отрезку оптической оси коллиматорного объектива, расположенного между его наклонными поверхностям:

[60]

- повышает точность прибора без ухудшения габаритно-массовых характеристик за счет обеспечения высокой стабильности углового положения вышедших из коллиматора пучков относительно базовой плоскости при значительных температурных, вибрационных и ударных воздействиях;

[61]

- расширяет диапазон удаления прибора от базовой плоскости за счет повышения мощности регистрируемого сигнала.

Как компенсировать расходы
на инновационную разработку
Похожие патенты