патент
№ RU 2644806
МПК E21B34/06

УСТРОЙСТВО ДЛЯ РАЗРАБОТКИ МНОГОПЛАСТОВОЙ СКВАЖИНЫ

Авторы:
Петров Владимир Николаевич
Номер заявки
2016147259
Дата подачи заявки
01.12.2016
Опубликовано
14.02.2018
Страна
RU
Как управлять
интеллектуальной собственностью
Чертежи 
2
Реферат

Изобретение относится к нефтегазодобывающей промышленности и может быть применено при разработке многопластовых скважин как для раздельной, так и для одновременной выработки пластов. Устройство содержит патрубок с отверстиями, выполненными напротив каждого из продуктивных пластов, герметично разделенных между собой пакерами, размещенный внутри патрубка, соединенный с насосным оборудованием и заглушенный снизу ниппель, который оснащен боковыми отверстиями, размещенными напротив отверстий патрубка. Отверстия патрубка снабжены управляемыми подпружиненными клапанами, включающими полый стакан, внутри которого размещена втулка с седлом, и шарик, выполненный с возможностью герметичного взаимодействия с седлом втулки, исключая переток продукции обратно в пласт. Ниппель сверху оснащен дополнительным подпружиненным клапаном, пропускающим давление из межтрубного пространства внутрь ниппеля при давлении, превосходящем гидростатическое давление между устьем и входом дополнительного клапана. Регулируемый клапан установлен внутри патрубка. Втулка снабжена изнутри цилиндрической полой вставкой, вставлена в полый стакан с возможностью ограниченного радиального перемещения и подпружинена в сторону ниппеля. Полая вставка выполнена с возможностью герметичного входа в соответствующее боковое отверстие ниппеля при совмещении во время поворота ниппеля с насосным оборудованием, спускаемым на трубах. Технический результат заключается в упрощении обслуживания и экономии времени обслуживания скважины за счет полного исключения спуско-подъемных операций и применения сложного оборудования. 2 ил.

Формула изобретения

Устройство для разработки многопластовой скважины, содержащее патрубок с отверстиями, выполненными напротив каждого из продуктивных пластов, герметично разделенных между собой пакерами, размещенный внутри патрубка, соединенный с насосным оборудованием и заглушенный снизу ниппель, который оснащен боковыми отверстиями, которые размещены напротив отверстий патрубка, причем отверстия патрубка снабжены управляемыми подпружиненными клапанами, включающими полый стакан, внутри которого размещена втулка с седлом, и шарик, выполненный с возможностью герметичного взаимодействия с седлом втулки, исключая переток продукции обратно в пласт, отличающееся тем, что ниппель сверху оснащен дополнительным подпружиненным клапаном, пропускающим давление из межтрубного пространства внутрь ниппеля при давлении, превосходящем гидростатическое давление между устьем и входом дополнительного клапана, а регулируемый клапан установлен внутри патрубка, причем втулка снабжена изнутри цилиндрической полой вставкой, вставлена в полый стакан с возможностью ограниченного радиального перемещения и подпружинена в сторону ниппеля, при этом полая вставка выполнена с возможностью герметичного входа в соответствующее боковое отверстие ниппеля при совмещении во время поворота ниппеля с насосным оборудованием, спускаемым на трубах.

Описание

[1]

Изобретение относится к нефтегазодобывающей промышленности и может быть использовано при разработке многопластовых скважин как для раздельной, так и для одновременной выработки пластов.

[2]

Известно устройство для одновременно раздельной эксплуатации многопластовой скважины, содержащее патрубок с отверстиями (патент RU №2334866, МПК Е21В 43/14, опубл. бюл №27 от 27.09.2008), размещенными напротив каждого из продуктивных пластов, герметично разделенных между собой пакерами, при этом снаружи патрубка напротив каждого из его отверстий размещены клапаны, каждый из которых состоит из корпуса с боковым каналом, подпружиненного снизу седла, герметично размещенного в корпусе, направляющего штифта и шарика, установленного на седле, причем на наружной поверхности седла выполнен замкнутый паз, состоящий из чередующихся между собой коротких и длинных проточек, а направляющий штифт с одной стороны жестко соединен с корпусом, а с другой стороны размещен в замкнутом пазу седла с возможностью перемещения по траектории чередующихся между собой коротких и длинных проточек под действием гидравлического давления сверху, при этом при расположении направляющего штифта в короткой проточке замкнутого паза седла клапан закрыт, а при размещении направляющего штифта в длинной проточке замкнутого паза седла клапан открыт.

[3]

Недостатками устройства являются сложность регулировки на разное давление клапанов из-за ограниченной возможности по регулированию, так как диаметр пружин одинаков, а ход должен обеспечить работу для перемещения не менее длины длинной проточки, высокая вероятность заклинивания одного или нескольких клапанов при скоплении в проточках скважинных отложений (например, парафина) или ржавчины, большие затраты времени при переключении, так как для закрытия и открытия клапанов необходимо отсоединить патрубки от насосного оборудования, а для этого необходимо применение подъемного оборудования с разгерметизацией устья и последующей герметизацией для регулировки клапанов.

[4]

Известно также устройство для одновременно-раздельной эксплуатации многопластовой скважины (патент RU №2339796, МПК Е21В 43/14, Е21В 34/06, опубл. Бюл №33 от 27.11.2008), содержащее корпус с отверстиями, выполненными напротив каждого продуктивного пласта, установленные в корпусе напротив каждого из его отверстий с возможностью осевого перемещения клапанные втулки с пружинными кольцевыми фиксаторами и захватываемыми элементами, механизм управления для спуска в скважину с дневной поверхности и перемещения клапанных втулок для открытия или закрытия отверстий корпуса, пакеры, при этом снаружи корпуса напротив каждого из его отверстий установлены регулируемые клапаны, причем каждый регулируемый клапан состоит из полого стакана, внутри которого размещена втулка с седлом, и подпружиненного сверху вниз шарика, размещенного на седле втулки, при этом регулируемые клапаны позволяют эксплуатировать соответствующие им продуктивные пласты при превышении заданных значений давления путем настройки усилия сжатия пружины шарика для каждого регулируемого клапана в отдельности, при этом захватываемые элементы клапанных втулок выполнены в виде их нижних торцов, а внутренний диаметр каждой из клапанных втулок уменьшается сверху вниз.

[5]

Недостатками устройства являются высокая вероятность невозможности открытия или закрытия одного или нескольких клапанов при скоплении в захватных элементах скважинных отложений (например, парафина) или ржавчины, что уменьшает неравномерно их начальный диаметр, большие затраты времени при переключении, так как для закрытия и открытия клапанов необходимо отсоединить патрубки от насосного оборудования, а для этого необходимо применение подъемного оборудования с разгерметизацией устья и последующей герметизацией для регулировки клапанов.

[6]

Наиболее близким по технической сущности и достигаемому результату является устройство для одновременно-раздельной эксплуатации многопластовой скважины (патент RU №2339797, МПК Е21В 43/14, Е21В 34/06, опубл. Бюл №33 от 27.11.2008), содержащее патрубок с отверстиями, выполненными напротив каждого из продуктивных пластов, герметично разделенных между собой пакерами, при этом снаружи к патрубку напротив каждого из его отверстий установлены регулируемые клапаны, причем каждый регулируемый клапан состоит из полого стакана, внутри которого размещена втулка с седлом, и подпружиненного сверху вниз шарика, размещенного на седле втулки, при этом регулирующие клапаны позволяют эксплуатировать соответствующие им продуктивные пласты при превышении заданных значений давления путем настройки усилия сжатия пружины шарика для каждого регулируемого клапана в отдельности, при этом внутри патрубка размещен заглушенный снизу ниппель, оснащенный боковыми отверстиями и шиберами, причем боковые отверстия ниппеля размещены напротив отверстий патрубка, которые необходимо установить в положение «открыто», а шиберы герметично установлены напротив отверстий патрубка, которые необходимо установить в положение «закрыто».

[7]

Недостатками устройства являются большие затраты времени при переключении, так как для закрытия и открытия клапанов необходимо полностью извлечь после разгерметизации устья насосное оборудование и ниппель, а для этого необходимы применение подъемного оборудования, переборка или замена ниппеля, регулировка насосного оборудования под новый ниппель, спуск ниппеля, спуск насосного оборудования и герметизация устья.

[8]

Техническими задачами предлагаемого изобретения являются: упрощение обслуживания и экономия времени при переключении клапанов за счет исключения спуско-подъемных операций.

[9]

Технические задачи решаются устройством для разработки многопластовой скважины, содержащим патрубок с отверстиями, выполненными напротив каждого из продуктивных пластов, герметично разделенных между собой пакерами, размещенный внутри патрубка, соединенный с насосным оборудованием и заглушенный снизу ниппель, который оснащен боковыми отверстиями, которые размещены напротив отверстий патрубка, причем отверстия патрубка снабжены управляемыми подпружиненными клапанами, включающими полый стакан, внутри которого размещена втулка с седлом, и шарик, выполненный с возможностью герметичного взаимодействия с седлом втулки, исключая переток продукции обратно в пласт.

[10]

Новым является то, что ниппель сверху оснащен дополнительным подпружиненным клапаном, пропускающим давление из межтрубного пространства внутрь ниппеля при давлении, превосходящем гидростатическое давление между устьем и входом дополнительного клапана, а регулируемый клапан установлен внутри патрубка, причем втулка снабжена изнутри цилиндрической полой вставкой, вставлена в полый стакан с возможностью ограниченного радиального перемещения и подпружинена в сторону ниппеля, при этом полая вставка выполнена с возможностью герметичного входа в соответствующее боковое отверстие ниппеля при совмещении во время поворота ниппеля с насосным оборудованием, спускаемым на трубах.

[11]

На фиг. 1 изображена схема устройства для разработки многопластовой скважины.

[12]

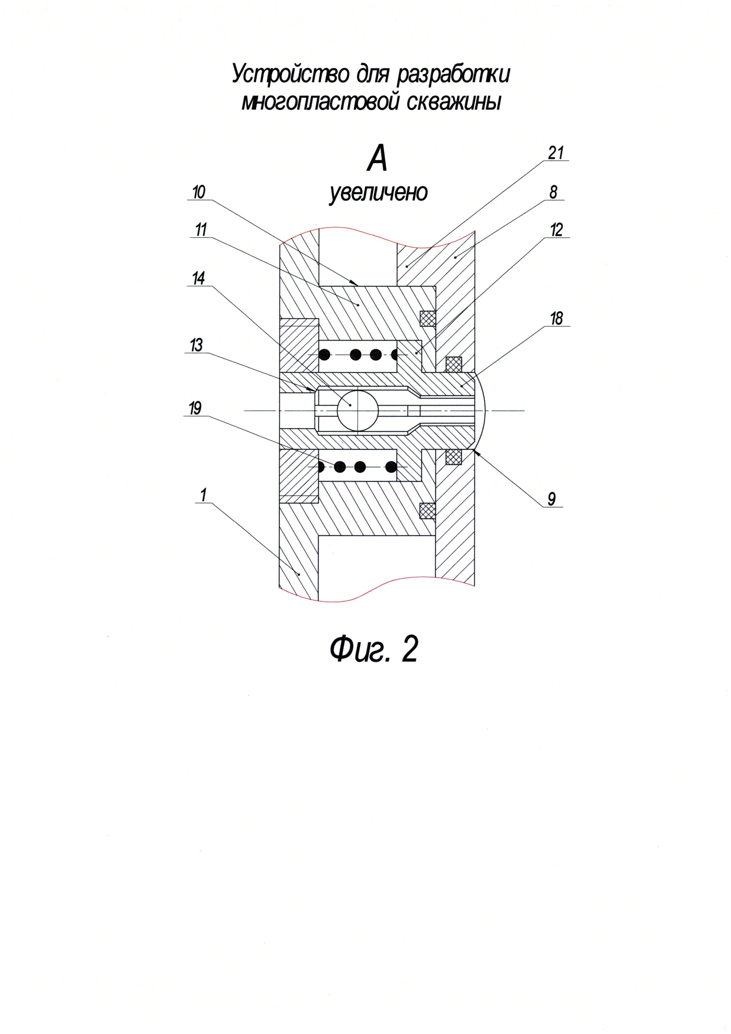
На фиг. 2 изображен увеличенный управляемый клапан в скважинных условиях (выносной элемент А, см. фиг. 1).

[13]

Устройство для разработки многопластовой скважины содержит патрубок 1 (фиг. 1) с отверстиями 2, выполненными напротив каждого вскрытого перфорацией 3 из продуктивных пластов 4 и 5, герметично разделенных между собой пакерами 6, размещенный внутри патрубка 1 соединенный с насосным оборудованием 7 (показан на фиг. 1 условно) и заглушенный снизу ниппель 8, который оснащен боковыми отверстиями 9, которые размещены напротив отверстий 2 патрубка 1. Отверстия 2 патрубка 1 снабжены управляемыми подпружиненными клапанами 10, включающими полый стакан 11 (фиг. 2), внутри которого размещена втулка 12 с седлом 13, и шарик 14, выполненный с возможностью герметичного взаимодействия с седлом 13 втулки 12, исключая переток продукции обратно в пласт 4 (фиг. 1) или 5. Ниппель 8 сверху оснащен дополнительным подпружиненным клапаном 15, пропускающим давление из межтрубного пространства 16 внутрь ниппеля 8 при давлении, превосходящем гидростатическое давление между устьем (не показано на фиг. 1) и входом 17 дополнительного клапана 15. Регулируемый клапан 10 установлен внутри патрубка 1. Втулка 12 (фиг. 2) снабжена изнутри цилиндрической полой вставкой 18, вставлена в полый стакан 11 с возможностью ограниченного радиального перемещения и поджата пружиной 19 в сторону ниппеля 8 (фиг. 1). Полая вставка 18 (фиг. 2) выполнена с возможностью герметичного входа в соответствующее боковое отверстие 9 ниппеля 8 при совмещении во время поворота ниппеля 8 (фиг. 1) с насосным оборудованием 7, спускаемым в скважину 20 на трубах (на фиг. 1 не показаны). Технологические элементы устройства, не влияющие на работоспособность, не показаны или не пронумерованы. Устройство работает следующим образом.

[14]

После вскрытия перфорацией 3 (фиг. 1) продуктивных пластов 4 и 5 в скважину 20 спускают патрубок 1 с ниппелем 8, регулируя их так, чтобы вставка 18 (фиг. 2) втулки 13 совмещалась с боковыми соответствующими отверстиями 9 ниппеля 8 поочередно или некоторые одновременно при вращении ниппеля 8 (фиг. 1) относительно патрубка 1. Для упрощения регулировки ниппель 8 (фиг. 2) может оснащаться упором 21, опирающимся на полый стакан 11. Пространство снаружи патрубка 1 (фиг. 1) между перфорациями 3 пластов 4 и 5 герметизируют пакерами 6, а между патрубком 1 и ниппелем 8 - герметичным взаимодействием полого стакана 11 (фиг. 2) и ниппеля 8. Далее в скважину 20 на трубах спускают насосное оборудование 7 любой известной конструкции (например, электроцентробежный насос, штанговый насос и т.п.). Снизу насосное оборудование 7 герметично «садится» на ниппель 8 без возможности вращения (например, при помощи шлицевого соединения, зубчатого соединения или правильной призмы, взаимодействующей с ответными выборками и т.д.). Устье скважины 20 герметизируют, причем трубы насосного оборудования 7 герметизируют с возможностью вращения. Насосное оборудование 7 запускают в действие и продукция пласта 4 через перфорацию 3, полую втулку 12 (фиг. 2), входящую вставкой 18 в боковое отверстие 9, поступает в ниппель 8, откуда насосным оборудованием 7 (фиг. 1) поднимается на поверхность (не показано на фиг. 1). В случае выхода из строя насосного оборудования 7 или при его замене жидкость из ниппеля 8 не сможет обратно задавиться в пласт 4, так как шар 14 (фиг. 2) сядет в седло 13, изолируя пространство за патрубком 1 (фиг. 1) от пространства внутри ниппеля 8. Для изоляции используемого пласта 4 и включения в работу другого пласта 5 насосное оборудование 7 останавливают. В межтрубном пространстве 16 создают давление, превосходящее гидростатическое давление между устьем и входом 17 дополнительного клапана 15. Дополнительный клапан 15 открывается, и избыточное давление воздействует на регулируемый клапан 10. При этом шар 14 (фиг. 2) сядет в седло 13, давление, воздействуя на втулку 12, сожмет пружину 19 и полая вставка 18 выйдет из бокового отверстия 9 ниппеля 8 (обычно достаточно давление на 0,2-0,3 МПа выше давления открывания дополнительного клапана 15). В это время трубы с насосным оборудованием 7 (фиг. 1) и ниппелем 8 поворачивают на угол 3°-5°, исключая возвращение полой вставки 18 в то же отверстие 9 ниппеля 8. Давление сбрасывают, а поворот труб с насосным оборудованием 7 и ниппелем 8 продолжают до того момента, когда усилие вращения начнет расти, что свидетельствует о герметичном входе вставки 18 (фиг. 2) втулки 12 под действием пружины 19 следующего клапана 10 в соответствующее отверстие 9 ниппеля для сообщения с пластом 5 (фиг. 1) и изоляции пласта 4. Насосное оборудование 7 запускают в действие и продукция пласта 5 через перфорацию 3, полую втулку 12 (фиг. 2), входящую вставкой 18 в боковое отверстие 9, поступает в ниппель 8, откуда насосным оборудованием 7 (фиг. 1) поднимается на поверхность. В случае наличия большего количества продуктивных пластов операции по переключению клапанов 10 для сообщения с соответствующими им пластами осуществляются подобным же образом. Переключение соответствующих клапанов 10 производится с минимальными затратами времени без привлечения подъемного оборудования, а избыточное давление можно создавать при помощи скважинной жидкости переносным насосом (не показан), так как большая производительность не нужна, причем поворот труб с оборудованием 7 и ниппелем 8 можно осуществлять простым инструментом (механизмом) для вращения на устье скважины 20. Усилие открывания дополнительного клапана 15 имеет величину не менее гидростатического давления между устьем скважины 20 и входом 17, что исключает «подсасывание» через него жидкости или газа из межтрубного пространства 16 на вход насосного оборудования 7 при его работе.

[15]

Предлагаемое устройство для разработки многопластовой скважины позволяет при переключении клапанов упростить обслуживание и сэкономить время за счет полного исключения спуско-подъемных операций и применения сложного оборудования.

Как компенсировать расходы
на инновационную разработку
Похожие патенты