патент
№ RU 2694451
МПК G01R29/26

УСТРОЙСТВО ДЛЯ ИЗМЕРЕНИЯ АМПЛИТУДНО-ФАЗОВЫХ ШУМОВ ИСТОЧНИКОВ СВЧ РАДИОИМПУЛЬСНОГО СИГНАЛА С ВЫСОКОЙ СКВАЖНОСТЬЮ ПЕРЕДАТЧИКОВ ВЫСОКОКОГЕРЕНТНЫХ СИСТЕМ ЛОКАЦИИ И СВЯЗИ

Авторы:
Шталев Алексей Борисович
Номер заявки
2017142821
Дата подачи заявки
07.12.2017
Опубликовано
15.07.2019
Страна
RU
Как управлять
интеллектуальной собственностью
Чертежи 
2
Реферат

Устройство для измерения амплитудно-фазовых (АФ) шумов источников СВЧ радиоимпульсного сигнала с высокой скважностью высококогерентных систем локации и связи относится к измерительной технике и может быть использовано для контроля уровня амплитудно-фазовых (АФ) шумов на различных стадиях изготовления и эксплуатации передатчиков систем локации и связи. Устройство состоит из соединенных последовательно смесителя, усилителя с отсечкой, фильтра промежуточной частоты, эмиттерного повторителя. Фильтр промежуточной частоты представляет собой кварцевый фильтр с возможностью осуществлять фильтрацию нулевой гармоники несущей частоты с прилежащими к ней АФ шумами при условии: Fпч/Fп=целое число; 2Fп≥Пф≥Fп, где: Fпч - центральная частота кварцевого фильтра; Fп - частота повторения радиоимпульсов; Пф - полоса пропускания кварцевого фильтра. Техническим результатом является расширение динамического диапазона и повышение достоверности измерений при измерении АФ шумов радиоимпульсного сигнала. 2 ил.

Формула изобретения

Устройство для измерения амплитудно-фазовых (АФ) шумов источников СВЧ радиоимпульсного сигнала с высокой скважностью высококогерентных систем локации и связи, состоящее из соединенных последовательно смесителя, усилителя с отсечкой, фильтра промежуточной частоты, эмиттерного повторителя, а также включающие малошумящий гетеродин непрерывных колебаний, анализатор спектра промежуточной частоты (ПЧ), фазовый детектор, генератор кварцевый, осциллограф, усилитель низкой частоты (УНЧ), анализатор спектра низкой частоты (НЧ), отличающееся тем, что фильтр промежуточной частоты представляет собой кварцевый фильтр с возможностью осуществлять фильтрацию нулевой гармоники несущей частоты с прилежащими к ней АФ шумами при условии:

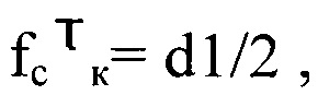
Fпч/Fп=целое число;

2Fп≥Пф≥Fп,

где: Fпч - центральная частота кварцевого фильтра;

Fп - частота повторения радиоимпульсов;

Пф - полоса пропускания кварцевого фильтра.

Описание

[1]

Изобретение относится к измерительной технике и может быть использовано для контроля уровня амплитудно-фазовых (АФ) шумов на различных стадиях изготовления и эксплуатации передатчиков систем локации и связи.

[2]

Целью изобретения является совершенствование методов измерения АФ шумов радиоимпульсного сигнала позволяющих расширить динамический диапазон и повысить достоверность измерений.

[3]

Известен способ измерения фазовых шумов с помощью фазового детектора (Agilent. Измерения параметров радиолокационных станций) Большинство фазовых детекторов является балансными смесителями, которые требуют как высокочастотного (ВЧ), так и опорного сигнала. Когда ВЧ и опорный сигналы находятся в квадратуре по отношению друг к другу и подаются на балансный смеситель, то выход промежуточной частоты (ПЧ) представляет меру мгновенной разности фаз между двумя сигналами. В большинстве исполнений квадратурное отношение фаз поддерживается, используя узкополосную систему фазовой автоподстройки частоты (ФАПЧ). Мгновенная разность фаз представляется мгновенным изменением напряжения около нуля вольт. При использовании двойного балансного смесителя в квадратуре амплитудный шум подавляется, в то время как фазовый шум измеряется. Напряжение шума (выход ПЧ) затем усиливается и обрабатывается по спектру для определения шума и паразитных сигналов как функции частотной отстройки. Системы для измерения фазовых шумов также обычно содержат отдельный детектор амплитудно-модулированного сигнала (АМ-детектор) для измерения амплитудных шумов и амплитуды паразитных сигналов как функции частотной отстройки. AM-детектор может базироваться на диодах или смесителе.

[4]

Известен измеритель шумовых характеристик СВЧ и ВЧ передатчиков, по патенту RU 2099729, МПК6 G01R 29/26, состоящий из делителя мощности, соединенных последовательно балансного смесителя, узкополосного фильтра низкой частоты (ФНЧ), усилителя постоянного тока (УПТ), первого аналого-цифрового преобразователя (АЦП) и ЭВМ, а также широкополосного ФНЧ и второго АЦП, введены направленный ответвитель, линия задержки, регулируемый аттенюатор, два регулируемых фазовращателя, НЧ коммутатор на три входа и один выход, усилитель с регулируемым коэффициентом передачи, три полосовых фильтра, СВЧ сумматор, делитель мощности на 3, при этом входом устройства служит вход направленного ответвителя, первый выход которого соединен с входом делителя мощности, а второй через первый регулируемый фазовращатель с гетеродинным входом балансного смесителя, тогда как первый выход усилителя мощности через линию задержки и второй регулируемый фазовращатель соединен с первым входом СВЧ сумматора, а второй выход делителя мощности через регулируемый аттенюатор со вторым входом СВЧ сумматора, выход которого является сигнальным входом балансного смесителя, при этом выход балансного смесителя также через широкополосный ФНЧ и регулируемый усилитель поступает на вход делителя мощности на 3, каждый из выходов которого через соответствующий полосовой фильтр соединен с соответствующим входом НЧ коммутатора, выход которого через первый АЦП соединен с ЭВМ, которая управляет управляющими входами НЧ коммутатора и регулируемого усилителя.

[5]

Недостатком выбранных аналогов является ограниченный диапазон уровней измеряемых шумовых характеристик и высокая стоимость самого устройства.

[6]

Ближайшим аналогом является способ обнаружения импульсных сигналов в условиях воздействия помех (патент RU 2037841 С1, МПК6G01S 7/292, опуб. 19.06.1995.), выбранный за прототип.

[7]

Предлагаемый способ заключается в следующем.

[8]

Известно, что способы оптимального обнаружения импульсных сигналов основаны на операциях согласованной со спектром сигнала линейной фильтрации или той или иной корреляционной обработки. В результате этих операций обеспечивается наибольшее отношение сигнал/шум (ОСШ), а отсюда наилучшее качество обнаружения сигнала по тому или иному вероятностному критерию.

[9]

Сущность изобретения заключается в том, что принимают сигнал, обеспечивая при этом избыточную полосу пропускания приемника по сравнению с шириной основного спектра импульсного сигнала длительностью где больше или равно принятый сигнал задерживают на время при выполнении условия где d - целое число; fc - несущая частота сигнала, суммируют незадержанный и задержанный сигнал с последующей фильтрацией в квазиоптимальном фильтре, полоса пропускания которого удовлетворяет условию много меньше а центральная частота fp=fc, выделяют огибающую, сравнивают с пороговым уровнем и по превышении порогового уровня обнаруживают сигнал.

[10]

Устройство, реализующее способ, содержит усилитель промежуточной частоты (УПЧ) приемника, устройство задержки на интервал усилитель, компенсирующий потери в устройстве задержки, сумматор, усилитель, нагруженный на квазиоптимальный фильтр, усилитель, детектор, решающее (пороговое) устройство, формирователь управляющих "обнулением" импульсов, устройство "обнуления" выходных цепей усилителей.

[11]

Недостатком выбранного аналога является ограниченный диапазон уровней измеряемых шумовых характеристик.

[12]

Технический результат предлагаемого изобретения состоит в расширении динамического диапазона измеряемых АФ шумов радиоимпульсного сигнала.

[13]

Сущность изобретения выражается совокупностью существенных признаков, а именно в применении кварцевого фильтра для компенсации понижения чувствительности измерения для импульсного сигнала с высокой Q-скважностью.

[14]

Указанный технический результат достигается следующим образом.

[15]

Как известно спектр радиоимпульсного сигнала состоит из большого количества гармонических составляющих и прилегающего к каждой из них СПМШ АФ шумов (см. фигуру 1). Относительный уровень СПМШ при каждой составляющей одинаковый, по этому достаточно выделить нулевую гармонику несущей частоты радиоимпульсного сигнала с помощью кварцевого фильтра с высокой добротностью на промежуточной частоте Fn4 с последующим подавление несущей на известную величину. Для этого необходимо выполнить два условия:

[16]

1. Fпч/Fп=целое число;

[17]

2. 2Fп≥Пф≥Fп, где: Fпч - центральная частота кварцевого фильтра;

[18]

Fп - частота повторения радиоимпульсов;

[19]

Пф - полоса пропускания кварцевого фильтра.

[20]

Таким образом, на выходе кварцевого фильтра имеем непрерывное колебание с частотой Fпч и АФ шумами подлежащими измерению. Этот сигнал можно подавать на анализатор спектра непрерывного сигнала.

[21]

На фигуре 1 изображено взаимное расположение спектрального сигнала и полосы пропускания кварцевого фильтра.

[22]

На фигуре 2 представлена структурная схема устройства для измерения АФ шумов источников СВЧ радиоимпульсного сигнала с высокой скважностью в составе: соединенные последовательно 1 - смесителя, 2 - усилителя с отсечкой, 3 - кварцевого фильтр промежуточной частоты, 4 - эмиттерного повторитель, а также 5 - малошумящего гетеродина непрерывных колебаний, 6 - анализатора спектра промежуточной частоты (ПЧ), 7 - фазового детектора, 8 - генератора кварцевого, 9 - осциллографа, 10 - усилителя низкой частоты (УНЧ), 11 - анализатора спектра низкой частоты (НЧ).

[23]

В предлагаемом устройстве используются стандартные компоненты.

[24]

В качестве малошумящего гетеродина непрерывных колебаний могут быть применены генераторы сигналов фирмы Agilent E82570-UNX и фирмы Rode @Schwarz SMA100A-B22.

Как компенсировать расходы
на инновационную разработку
Похожие патенты