патент
№ RU 2692783
МПК E05B17/00

НАКЛАДКА ДЛЯ ЗАЩИТЫ ЗАМКОВОГО ЭЛЕМЕНТА

Авторы:
Горчаков Виталий Дмитриевич
Номер заявки
2018124351
Дата подачи заявки
03.07.2018
Опубликовано
27.06.2019
Страна
RU
Как управлять
интеллектуальной собственностью
Чертежи 
5
Реферат

Изобретение относится к области устройств, усложняющих или предотвращающих несанкционированное открытие створок, снабженных замковыми элементами (окон, дверей, шкафов, сейфов или аптечек), например, детьми или домашними животными, или защищающих замковый элемент от неблагоприятных факторов среды и вандализма. Предлагается накладка для защиты замкового элемента, имеющего корпус и элемент контроля доступа, содержащая в себе крышку, втулку, размещенную внутри упомянутой крышки, корпус, имеющий полость для упомянутого корпуса замкового элемента и крепежные элементы, упомянутые крепежные элементы выполнены с возможностью неподвижного крепления относительно упомянутого замкового элемента, упомянутая полость имеет первое отверстие на одном из своих концов, такое, что упомянутый корпус может надеваться на упомянутый замковый элемент, и второе отверстие на другом из своих концов, такое, что элемент контроля доступа замкового элемента располагается напротив него, когда упомянутый корпус надет на упомянутый замковый элемент, характеризующееся тем, что в ней упомянутое второе отверстие и упомянутая втулка снабжены резьбой и вместе образуют винтовую пару, упомянутая крышка установлена на упомянутой втулке, закрывая ее, с возможностью проворачивания относительно упомянутой втулки, по меньшей мере, при отвинчивании, при этом упомянутая втулка и крышка снабжены элементами сцепления, выполненными с возможностью блокировки проворачивания, по меньшей мере, при отвинчивании, под действием силы, приложенной вдоль оси. 2 н. и 28 з.п. ф-лы, 4 ил.

Формула изобретения

1. Накладка для защиты замкового элемента, имеющего корпус и элемент контроля доступа, содержит в себе:

крышку,

втулку, размещенную внутри упомянутой крышки,

корпус, имеющий полость для упомянутого корпуса замкового элемента и крепежные элементы,

упомянутые крепежные элементы выполнены с возможностью неподвижного крепления относительно упомянутого замкового элемента,

упомянутая полость имеет первое отверстие на одном из своих концов, такое, что упомянутый корпус может надеваться на упомянутый замковый элемент, и второе отверстие на другом из своих концов, такое, что элемент контроля доступа замкового элемента располагается напротив него, когда упомянутый корпус надет на упомянутый замковый элемент, характеризующаяся тем, что в ней

упомянутое второе отверстие и упомянутая втулка снабжены резьбой и вместе образуют винтовую пару,

упомянутая крышка установлена на упомянутой втулке, закрывая ее, с возможностью проворачивания относительно упомянутой втулки, по меньшей мере, при отвинчивании, при этом упомянутая втулка и крышка снабжены элементами сцепления, выполненными с возможностью блокировки проворачивания, по меньшей мере, при отвинчивании, под действием силы, приложенной вдоль оси.

2. Накладка по п. 1, характеризующаяся тем, что ее вышеупомянутый корпус снабжен метками, располагающимися напротив соответствующих монтажных отверстий вышеупомянутого замкового элемента и крепежных элементов ответной части, для позиционирования сверла при высверливании крепежных элементов ответной части в случае экстренной ситуации или поломки замкового элемента.

3. Накладка по любому из пп. 1, 2, характеризующаяся тем, что ее вышеупомянутый корпус выполнен цельнолитым из пластика или металла.

4. Накладка по любому из пп. 1-3, характеризующаяся тем, что в ней вышеупомянутая крышка соединена с вышеупомянутым корпусом, и/или вышеупомянутой створкой, и/или с зоной вблизи створки посредством троса.

5. Накладка по любому из пп. 1-4, характеризующаяся тем, что в ней вышеупомянутая крышка снабжена выступами, выполненными таким образом, что они препятствуют отделению этой крышки от вышеупомянутой втулки, при этом предпочтительно, когда упомянутые выступы представляют собой кольцо, внутренний диаметр которого меньше внешнего диаметра вышеупомянутой втулки.

6. Накладка по любому из пп. 1-5, характеризующаяся тем, что в ней вышеупомянутые элементы сцепления выполнены таким образом, что обеспечивают блокировку проворачивания вышеупомянутой втулки при завинчивании в отсутствие силы, приложенной вдоль оси.

7. Накладка по любому из пп. 1-6, характеризующаяся тем, что в ней вышеупомянутая втулка подпружинена относительно вышеупомянутой крышки посредством пружинных элементов таким образом, что крышка имеет возможность осевого перемещения на расстояние H1=|L1-L2|, где L1 - положение крышки на оси с началом координат на упомянутой втулке, в котором пружинные элементы полностью разжаты, a L2 – положение, в котором пружинные элементы полностью сжаты, при этом упомянутая втулка и упомянутая крышка снабжены ответными выступами и пазами, выполненными с возможностью сцепления друг с другом и, в положении, когда пружинные элементы полностью разжаты, расположенными на расстоянии Н2 друг от друга таком, что 0<Н2<H1.

8. Накладка по любому из пп. 1-7, характеризующаяся тем, что в ней вышеупомянутая втулка имеет П-образное радиальное сечение.

9. Накладка по любому из пп. 1-8, характеризующаяся тем, что соединение между ее вышеупомянутыми корпусом и втулкой герметизировано посредством кольцевой прокладки, размещенной между внутренней поверхностью втулки и корпусом.

10. Накладка по любому из пп. 1-9, характеризующаяся тем, что соединение между ее вышеупомянутыми корпусом и крышкой герметизировано посредством кольцевой прокладки, размещенной между торцом крышки и корпусом, или между внутренней поверхностью крышки и корпусом.

11. Накладка по любому из пп. 1-10, характеризующаяся тем, что ее вышеупомянутые крепежные элементы представляют собой зоны с нанесенным на тыльную поверхность ее вышеупомянутого корпуса чувствительным к давлению клеем.

12. Накладка по любому из пп. 1-10, характеризующаяся тем, что ее вышеупомянутые крепежные элементы представляют собой по меньшей мере одну гибкую ленту с множеством взаимно параллельных выступов, один конец которой прикреплен к вышеупомянутому корпусу, и паз с подпружиненным клином, предназначенный для продевания упомянутой ленты, при этом упомянутые выступы ленты и упомянутый паз с подпружиненным клином образуют храповый механизм, обеспечивающий движение упомянутой ленты только в направлении затягивания.

13. Накладка по любому из пп. 1-12, характеризующаяся тем, что вышеупомянутая створка является распашной, или откидной, или раздвижной.

14. Накладка по любому из пп. 1-13, характеризующаяся тем, что ее внешний вид имитирует термометр с жидкокристаллическим индикатором.

15. Комплект, содержащий в себе замковый элемент и накладку по любому из пп. 1-15.

16. Комплект по п. 15, характеризующийся тем, что вышеупомянутый элемент контроля доступа представляет собой секретный механизм, активируемый посредством ключа, предпочтительно цилиндровый механизм, сувальдный механизм, дисковый механизм, томпольный механизм, помповый механизм или рамочный механизм.

17. Комплект по п. 15, характеризующийся тем, что вышеупомянутый элемент контроля доступа имеет паз для монеты, отвертки многогранника или несколько пазов для ключа с выступами ответной формы.

18. Комплект по п. 15, характеризующаяся тем, что вышеупомянутый элемент контроля доступа имеет по меньшей мере один выступ в виде многогранника для ключа с пазом ответной формы.

19. Комплект по любому из пп. 15-18, характеризующийся тем, что вышеупомянутый корпус замкового элемента выполнен с возможностью крепления рядом со створкой и снабжен двухпозиционной продольно вытянутой задвижкой, расположенной на его лицевой стороне, при этом один из ее концов шарнирно закреплен относительно корпуса с возможностью поворота таким образом, что в положении вышеупомянутого элемента контроля доступа «закрыто» упомянутая задвижка может быть зафиксирована в ориентации, при которой ее незакрепленный конец заходит за край вышеупомянутой створки, а в положении вышеупомянутого элемента контроля доступа «открыто» упомянутая задвижка имеет возможность поворачиваться в поперечной плоскости таким образом, чтобы ее незакрепленный конец не заходил за край вышеупомянутой створки.

20. Комплект по любому из пп. 15-18, характеризующийся тем, что вышеупомянутый корпус замкового элемента выполнен с возможностью крепления рядом со створкой и снабжен двухпозиционной продольно вытянутой задвижкой, расположенной на его лицевой стороне и закрепленной с возможностью возвратно-поступательного движения в поперечном направлении таким образом, что в положении вышеупомянутого элемента контроля доступа «закрыто» упомянутая задвижка имела возможность фиксироваться в положении, при котором ее конец заходит за край вышеупомянутой створки, а в положении вышеупомянутого элемента контроля доступа «открыто» упомянутая задвижка имела возможность перемещения в поперечном направлении в положение, при котором ее конец не заходит за край вышеупомянутой створки.

21. Комплект по любому из пп. 15-18, характеризующийся тем, что вышеупомянутый замковый элемент содержит ответный элемент и двухпозиционный элемент зацепления, соединенный с вышеупомянутым элементом контроля доступа и выполненный с возможностью сцепления с упомянутым ответным элементом в положении вышеупомянутого элемента контроля доступа «закрыто» и расцепления в положении вышеупомянутого элемента контроля доступа «открыто».

22. Комплект по п. 21, характеризующийся тем, что вышеупомянутый корпус замкового элемента выполнен с возможностью крепления на вышеупомянутой створке, а вышеупомянутый ответный элемент выполнен с возможностью крепления вблизи створки.

23. Комплект по п. 21, характеризующийся тем, что вышеупомянутый корпус замкового элемента выполнен с возможностью крепления вблизи створки, а вышеупомянутый ответный элемент - на створке.

24. Комплект по п. 15, характеризующийся тем, что вышеупомянутый элемент зацепления представляет собой штырь, имеющий по меньшей мере один боковой выступ, в частности штырь с Г-образным, Т-образным или крестообразным концом, а вышеупомянутый ответный элемент снабжен пазами, расположенными таким образом, что упомянутые выступы проникают в упомянутые пазы при вращении упомянутого стержня относительно оси, препятствуя его перемещению в осевом направлении.

25. Комплект по п. 15, характеризующийся тем, что вышеупомянутый ответный элемент представляет собой паз, вытянутый в поперечном направлении относительно оси, а вышеупомянутый элемент зацепления представляет собой двухпозиционную преграду, предпочтительно ригель, выполненный с возможностью возвратно-поступательного движения в поперечном направлении относительно оси таким образом, что в положении вышеупомянутых элементов контроля доступа «закрыто» она, по меньшей мере, частично выдвигается в поперечном направлении относительно оси в упомянутый паз, препятствуя перемещению замкового элемента в осевом направлении.

26. Комплект по п. 15, характеризующийся тем, что вышеупомянутый ответный элемент представляет собой штырь, имеющий по меньшей мере один боковой выступ на конце, в частности штырь с Г-образным, Т-образным или крестообразным концом, а вышеупомянутый элемент зацепления снабжен по меньшей мере одной двухпозиционной преградой, выполненной таким образом, что в положении вышеупомянутых элементов контроля доступа «закрыто» она, по меньшей мере, частично перекрывает упомянутые боковые выступы штыря, препятствуя перемещению в осевом направлении.

27. Комплект по п. 15, характеризующийся тем, что вышеупомянутый ответный элемент представляет собой штырь с Г-образным, Т-образным или крестообразным концом или с концом, имеющим по меньшей мере один боковой выступ, или штырь с расширенным концом, а элемент контроля доступа соединен с поворотным кольцом, снабженным ирисовым механизмом.

28. Комплект по п. 15, характеризующийся тем, что вышеупомянутый ответный элемент имеет отверстие диаметром D1, а вышеупомянутый элемент зацепления представляет собой цилиндр с боковыми отверстиями и установленными внутри них выдвижными элементами, выполненными таким образом, что в положении элемента контроля доступа «открыто» и «закрыто» диаметры D2 и D3 окружностей, описанных вокруг концов выдвижных элементов, соответственно, такие, что D2<D1<D3.

29. Комплект по п. 15, характеризующийся тем, что вышеупомянутый ответный элемент представляет собой трос, один из концов которого выполнен с возможностью взаимодействия с вышеупомянутым элементом сцепления.

30. Комплект по п. 15, характеризующийся тем, что вышеупомянутые крепежные элементы представляют собой лапки с выступами, расположенными таким образом, чтобы устанавливаться в отверстия внутри корпуса вышеупомянутого замкового элемента.

Описание

[1]

ОБЛАСТЬ ТЕХНИКИ, К КОТОРОЙ ОТНОСИТСЯ ИЗОБРЕТЕНИЕ

[2]

Изобретение относится к области устройств, усложняющих или предотвращающих несанкционированное открытие створок, снабженных замковыми элементами (окон, дверей, шкафов, сейфов или аптечек), например, детьми или домашними животными, или защищающих замковый элемент от неблагоприятных факторов среды и вандализма.

[3]

УРОВЕНЬ ТЕХНИКИ

[4]

Известны замковые элементы, предназначенные для крепления на распашные створки окон и/или дверей, главным образом, для защиты от несанкционированного открывания детьми, животными, недееспособными лицами или дееспособными лицами, когда открывание створок без разрешения нежелательно (например, двери и люки в общественном транспорте, поликлиниках, общественных местах). Такие замковые элементы обычно состоят из корпуса с элементами крепления к створке, ответной части, которая крепится в зоне оконного или дверного пролета, двухпозиционного элемента сцепления (ригеля, крючка, фигурной пластины), выполненного с возможностью сцепления с ответной частью в положении «закрыто» и расцепления в положении «открыто» и элемента контроля доступа, соединенного с элементом сцепления. Элемент, контроля доступа представляет собой любой известный механизм, который обеспечивает перевод элемента сцепления из положения «закрыто» в положение «открыто» с помощью ключа. Предпочтительно, когда элемент контроля доступа выполнен таким образом, чтобы его нельзя было перевести из положения «закрыто» в положение «открыто» голыми руками и/или без ключа. В качестве ключа может применяться любой элемент, имеющий возможность взаимодействовать с элементом контроля доступа, обеспечивая его перевод между положениями «закрыто» и «открыто». В случае, если элемент контроля доступа содержит секретный механизм - это может быть ключ с уникальным рисунком бороздок/выемок/углублений, соответствующий уникальному секретному механизму. Однако, возможны варианты, когда элементы контроля доступа выполнены так, чтобы открываться отверткой, монетой, металлическим многогранником, магнитным ключом, приложением электрического напряжения к контактам, набором кода и т.п. В таком случае под ключом понимается любой элемент, о котором пользователь (в отличие от иных лиц) знает, что с его помощью можно активировать элемент контроля доступа, или (в отличие от других лиц) имеет ключ и/или особые навыки, необходимые для активации элемента контроля доступа с его помощью. Одним из известых замковых элементов этого типа является замок-блокиратор Baby Safe Lock, изображенный на фиг. 1 (Al, А2), показанный в действии в видеообзоре https://www.youtube.com/watch?v=tBTgNuJn9as.

[5]

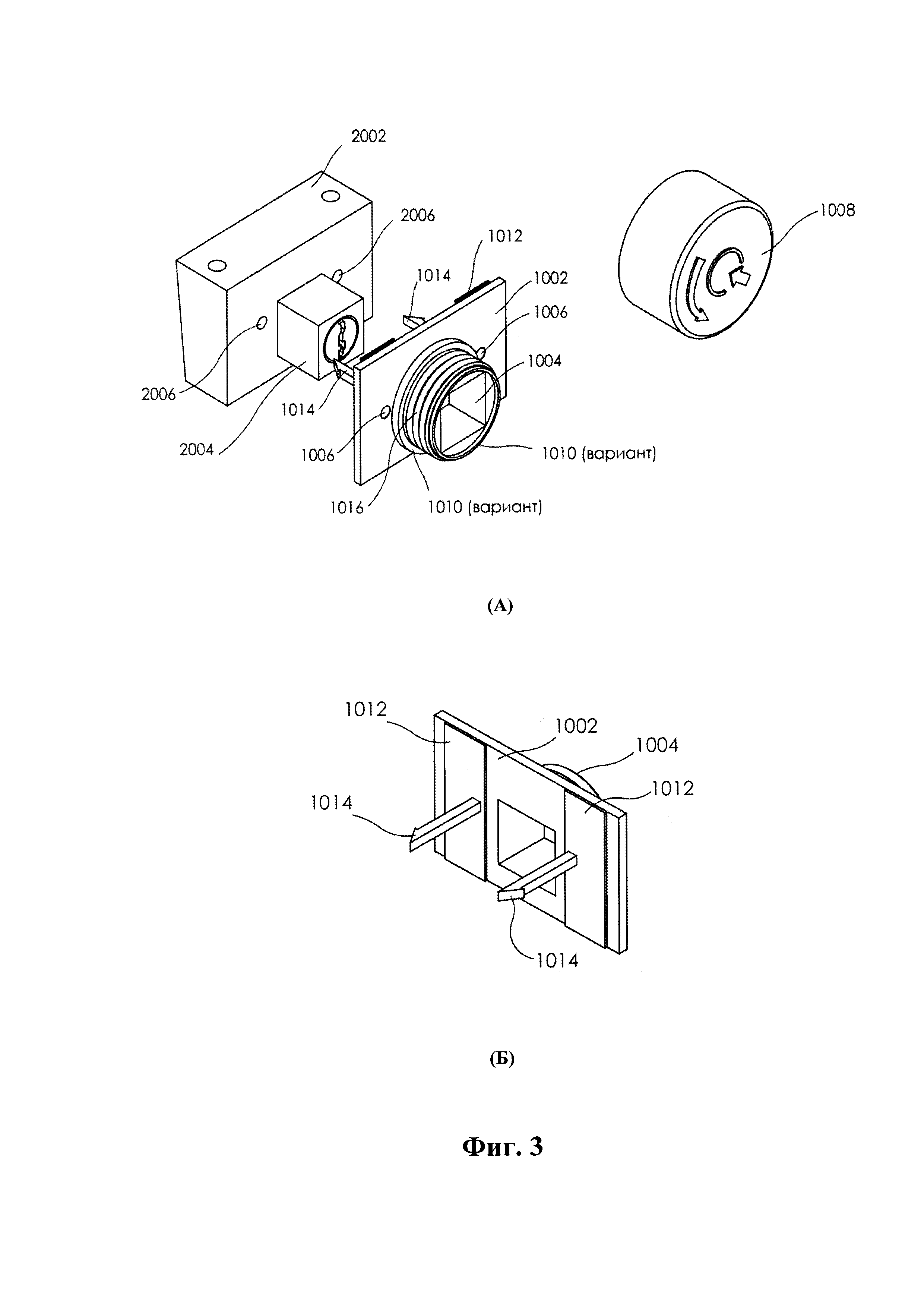
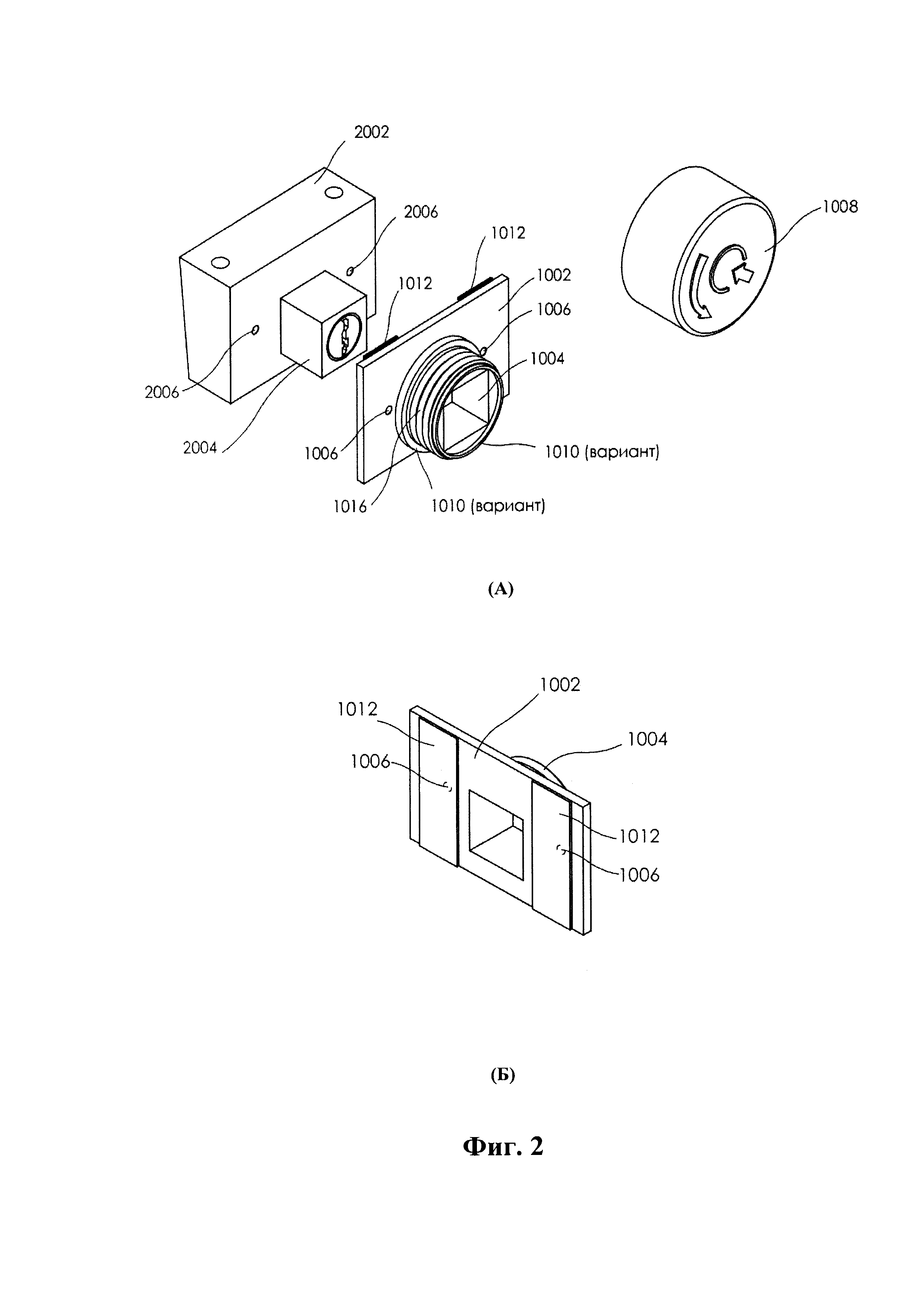
Недостаток известных замковых элементов состоит в том, что элементы контроля доступа подвержены порче. Например, дети могут испортить замковые элементы жевательной резинкой, грифелем, мелким мусором, а также клеем, ножницами, отверткой и т.п.также, учитывая, что пользователь редко носит собой ключи от замковых элементов не требующих частого открывания и может забыть их в доступном месте, существует высокий риск, что ребенок воспользуется этим и несанкционированно откроет створку окон и дверей или аптечки (шкафчик).

[6]

Из уровня техники известны устройства для защиты скважины замка от порчи, например, отодвигающиеся шторки. Однако, подобные устройства защищают лишь от неблагоприятных факторов окружающей среды (дождя, пыли) или от подглядывания через скважину, но не от действий ребенка, которому не составит труда разобраться, как отодвинуть подобную шторку.

[7]

Известны более сложные устройства для защиты замков, например, из патента РФ 2072200, однако это и подобные устройства весьма громоздки и требуют внесения изменений в конструкцию замка.

[8]

В соответствии с настоящим изобретением защиту замкового элемента от порчи предлагается обеспечить с помощью накладки с навинчивающейся крышкой. При этом соединение между крышкой и накладкой таково, что для отвинчивания необходимы действия, идущие вразрез с обычным (и, как правило, уже сформировавшимся у ребенка) навыком по отвинчиванию крышек. Подобные крышки известны в области упаковки (см., например, следующие патентные документы: US 3435975, DE 2927399 A1, ЕР 0026284 А1, FR 2403274 A1, US 12481931, US 20020027120 A1, US 20030121877 A1, US 20050161425 A1, US 20060057257 A1, US 20060108313 A1, US 20110147334 А1, US 3165220, US 3567057, US 3679085, US 3692199, US 3770153, US 3776407, US 3795337, US 3795338, US 3841514, US 3853236, US 3857505, US 3887099, US 3888375, US 3944102, US 3955696, US 4241840, US 4320844, US 4337869, US 4364484, US 4433789, US 4454955, US 4469235, US 4520938, US 4527701, US 4570809, US 4576315, US 4705181, US 4832218, US4834251, US 4905852, US 5005718, US 5020681, US 5148931, US 5161706, US 5316161, US 5370251, US 5383564, US 5411157, US 5460283, US 5464110, US 5579934, US 5579934, US 5667085, US 5711442, US 5927526, US 6041982, US 6112921, US 6206216, US 6367640, US 6681945, US 7815061, US 8056742, US 8833577, US 8870004). В частности, известны упаковки, имеющие резьбу на горловине и крышку, в которых между крышкой и резьбой имеется втулка, навинчивающаяся на резьбу. При этом в нормальном состоянии крышка по существу свободно или с незначительным сопротивлением (момент вращения, передаваемый от крышки к втулке ниже предела страгивания втулки) вращается относительно втулки, а достаточное для страгивания втулки и отвинчивания сцепление между крышкой и втулкой, обеспечивается только при дополнительных условиях, например, при надавливания на верхний и/или боковой торец крышки. Однако, для защиты замков подобные решения не применялись.

[9]

Таким образом, до настоящего времени не были известны устройства, обеспечивающие сочетание высокого уровня защищенности замкового элемента от порчи и простоту конструкции известных крышек, отвинчивающихся при нажатии и/или сдавливании.

[10]

РАСКРЫТИЕ ИЗОБРЕТЕНИЯ

[11]

Если из контекста не следует иное, терминам и выражениям, использованным в настоящем тексте следует придавать следующее смысловое значение:

[12]

«Ось» (и соответствующие производные от этого термина) - линия, которая в закрытом положении створки, по крайней мере, в начальный момент, совпадает с направлением движения зоны створки, располагающейся в непосредственной близости от замкового элемента при ее открывании. Для распашных и откидных створок «ось» и «осевое направление» по существу перпендикулярны плоскости пролета, для раздвижных створок - совпадает с направлением раздвигания.

[13]

«Поперечное направление» - направление, по существу перпендикулярное осевому направлению.

[14]

«Элемент контроля доступа» и его частный случай «секретный механизм» - часть замкового элемента, с помощью которой замковый элемент переводится между положениями «закрыто» и «открыто», для использования которого необходимы либо особые навыки, либо особые приспособления (например, ключ), в отношении которых предполагается, что они имеются у пользователя, но не у лиц, для которых открывание замкового элемента запрещено и/или опасно (открывание окна ребенком).

[15]

Под «надеванием» накладки на замковый элемент понимается в том числе случай, когда накладка прикладывается к нему так, что отверстие оказывается напротив элемента контроля доступа, но не охватывает корпус замкового элемента полностью.

[16]

Иные термины и выражения следует толковать в соответствии с их обычным значением при должном учете контекста и наглядных материалов, избегая противоречия концепции настоящего изобретения, его конкретным примерам, и здравому смыслу.

[17]

Задачей настоящего изобретения является создание устройства для защиты замкового элемента, обладающего совокупностью следующих преимуществ:

[18]

1) возможность монтажа без внесения каких-либо конструктивных изменений в защищаемый замковый элемент;

[19]

2) возможность демонтажа защитного устройства после того, как необходимость в нем отпадает;

[20]

3) повышение защищенности замка от открывания;

[21]

4) защита замка от детского вандализма: порчи замка засорением личинки посторонними предметами (например: жевательной резинкой, клеем, карандашным грифелем, зубочисткой и т.п.). Порча секретного механизма может быть внешне незаметна, и пользователь может не догадываться о том, что замок не функционирует на открывание, что особенно опасно в экстренных ситуациях (пожар), когда замок находится в положении «закрыт» и блокирует возможность открывания окна/двери, даже при наличии ключа у пользователя.

[22]

5) увеличение срока эксплуатации самой уязвимой части замка - секретного механизма, защита от пыли и коррозии;

[23]

6) защита от обледенения секретного элемента в холодное время года, вызываемого замерзанием конденсата (зимой, когда металлические элементы окна охлаждаются до температуры ниже точки росы воздуха в помещении, конденсат скапливается в секретном механизме и замерзает).

[24]

7) внешняя маскировка замка от посторонних лиц и от лишнего внимания ребенка.

[25]

Технический результат, обеспечиваемый при использовании изобретения состоит в том, что предлагаемая накладка обладает простой конструкцией и обеспечивает возможность монтажа и демонтажа без внесения конструктивных изменений в защищаемый замковый элемент.

[26]

Таким образом, вышеуказанная задача решена благодаря тому, что предлагаемая накладка для защиты замкового элемента, имеющего корпус и элемент контроля доступа, содержит в себе:

[27]

крышку,

[28]

втулку, размещенную внутри упомянутой крышки,

[29]

корпус, имеющий полость для упомянутого корпуса замкового элемента и крепежные элементы,

[30]

упомянутые крепежные элементы выполнены с возможностью неподвижного крепления относительно упомянутого замкового элемента,

[31]

упомянутая полость имеет первое отверстие на одном из своих концов, такое, что упомянутый корпус может надеваться на упомянутый замковый элемент, и второе отверстие на другом из своих концов, такое, что элемент контроля доступа замкового элемента располагается напротив него, когда упомянутый корпус надет на упомянутый замковый элемент; накладка характеризуется тем, что в ней

[32]

упомянутое второе отверстие и упомянутая втулка снабжены резьбой и вместе образуют винтовую пару,

[33]

упомянутая крышка установлена на упомянутой втулке, закрывая ее, с возможностью проворачивания относительно упомянутой втулки, по меньшей мере, при отвинчивании, при этом упомянутая втулка и крышка снабжены элементами сцепления, выполненными с возможностью блокировки проворачивания, по меньшей мере, при отвинчивании, под действием силы, приложенной вдоль оси.

[34]

Далее вышеупомянутая накладка, охарактеризованная с помощью обобщенных категорий, поясняется на примере некоторых особенно предпочтительных форм выполнения, обеспечивающими получение дополнительных преимуществ.

[35]

Вышеупомянутый элемент контроля доступа, - в одной из частных форм воплощения вышеупомянутой накладки, - представляет собой секретный механизм, активируемый посредством ключа, предпочтительно, цилиндровый механизм, сувальдный механизм, дисковый механизм, томпольный механизм, помповый механизм или рамочный механизм.

[36]

Вышеупомянутый элемент контроля доступа, - в одной из частных форм воплощения вышеупомянутой накладки, - имеет паз для монеты, отверки, многогранника или несколько пазов для ключа с выступами ответной формы.

[37]

Вышеупомянутый элемент контроля доступа, - в одной из частных форм воплощения вышеупомянутой накладки, - имеет, по меньшей мере, один выступ в виде многогранника для ключа с пазом ответной формы.

[38]

Вышеупомянутый корпус замкового элемента, - в одной из частных форм воплощения вышеупомянутой накладки, - выполнен с возможностью крепления рядом со створкой, и снабжен двухпозиционной продольно-вытянутой задвижкой, расположенной на его лицевой стороне, при этом один из ее концов шарнирно закреплен относительно корпуса с возможностью поворота, таким образом, что в положении вышеупомянутого элемента контроля доступа «закрыто» упомянутая задвижка может быть зафиксирована в ориентации, при которой ее незакрепленный конец заходит за край вышеупомянутой створки, а в положении вышеупомянутого элемента контроля доступа «открыто» упомянутая задвижка имеет возможность поворачиваться в поперечной плоскости, таким образом, чтобы ее незакрепленный конец не заходил за край вышеупомянутой створки.

[39]

Вышеупомянутый корпус замкового элемента, - в одной из частных форм воплощения вышеупомянутой накладки, - выполнен с возможностью крепления рядом со створкой, и снабжен двухпозиционной продольно-вытянутой задвижкой, расположенной на его лицевой стороне и закрепленной с возможностью возвратно-поступательного движения в поперечном направлении таким образом, что в положении вышеупомянутого элемента контроля доступа «закрыто» упомянутая задвижка имела возможность фиксироваться в положении, при котором ее конец заходит за край вышеупомянутой створки, а в положении вышеупомянутого элемента контроля доступа «открыто» упомянутая задвижка имела возможность перемещения в поперечном направлении в положение, при котором ее конец не заходит за край вышеупомянутой створки.

[40]

Вышеупомянутый замковый элемент, - в одной из частных форм воплощения вышеупомянутой накладки, - содержит ответный элемент и двухпозиционный элемент зацепления, соединенный с вышеупомянутым элементом контроля доступа и выполненный с возможностью сцепления с упомянутым ответным элементом в положении вышеупомянутого элемента контроля доступа «закрыто» и расцепления в положении вышеупомянутого элемента контроля доступа «открыто».

[41]

Вышеупомянутый корпус замкового элемента, - в одной из частных форм воплощения вышеупомянутой накладки, - выполнен с возможностью крепления на вышеупомянутой створке, а вышеупомянутый ответный элемент выполнен с возможностью крепления вблизи створки.

[42]

Вышеупомянутый корпус замкового элемента, - в одной из частных форм воплощения вышеупомянутой накладки, - выполнен с возможностью крепления вблизи створки, а вышеупомянутый ответный элемент - на створке.

[43]

Вышеупомянутый элемент зацепления, - в одной из частных форм воплощения вышеупомянутой накладки, - представляет собой штырь имеющий, по меньшей мере, один боковой выступ, в частности, штырь с Г-образным, Т-образным или крестообразным концом, а вышеупомянутый ответный элемент снабжен пазами, расположенными таким образом, что упомянутые выступы проникают в упомянутые пазы при вращении упомянутого стержня относительно оси, препятствуя его перемещению в осевом направлении.

[44]

Вышеупомянутый ответный элемент, - в одной из частных форм воплощения вышеупомянутой накладки, - представляет собой паз, вытянутый в поперечном направлении относительно оси, а вышеупомянутый элемент зацепления представляет собой двухпозиционную преграду, предпочтительно, ригель, выполненный с возможностью возвратно-поступательного движения в поперечном направлении относительно оси таким образом, что в положении вышеупомянутых элементов контроля доступа «закрыто» она, по меньшей мере, частично выдвигается в поперечном направлении относительно оси в упомянутый паз, препятствуя перемещению замкового элемента в осевом направлении.

[45]

Вышеупомянутый ответный элемент, - в одной из частных форм воплощения вышеупомянутой накладки, - представляет собой штырь, имеющий, по меньшей мере, один боковой выступ на конце, в частности, штырь с Г-образным, Т-образным или крестообразным концом, а вышеупомянутый элемент зацепления снабжен, по меньшей мере, одной двухпозиционной преградой, выполненной таким образом, что в положении вышеупомянутых элементов контроля доступа «закрыто» она, по меньшей мере, частично перекрывает упомянутые боковые выступы штыря, препятствуя перемещению в осевом направлении.

[46]

Вышеупомянутый ответный элемент, - в одной из частных форм воплощения вышеупомянутой накладки, - представляет собой штырь с Г-образным, Т-образным или крестообразным концом или с концом, имеющим, по меньшей мере один боковой выступ, или штырь с расширенным концом, а элемент контроля доступа соединен с поворотным кольцом, снабженным ирисовым механизмом.

[47]

Вышеупомянутый ответный элемент, - в одной из частных форм воплощения вышеупомянутой накладки, - имеет отверстие диаметром D1, а вышеупомянутый элемент зацепления представляет собой цилиндр, с боковыми отверстиями и установленными внутри них выдвижными элементами, выполненными таким образом, что в положении элемента контроля доступа «открыто» и «закрыто» диаметры D2 и D3 окружностей, описанных вокруг концов выдвижных элементов, соответственно, такие, что D2<D1<D3.

[48]

Вышеупомянутый ответный элемент, - в одной из частных форм воплощения вышеупомянутой накладки, - представляет собой трос, один из концов которого выполнен с возможностью взаимодействия с вышеупомянутым элементом сцепления.

[49]

Вышеупомянутый корпус накладки, - в одной из частных форм воплощения вышеупомянутой накладки, - снабжен метками, располагающимися напротив соответствующих монтажных отверстий замкового элемента и крепежных элементов (саморезов) ответной части, для позиционирования сверла при высверливании крепежных элементов ответной части в случае экстренной ситуации или поломки замкового элемента.

[50]

Вышеупомянутый корпус накладки, - в одной из частных форм воплощения вышеупомянутой накладки, - выполнен цельнолитым из пластика или металла.

[51]

Вышеупомянутая крышка, - в одной из частных форм воплощения вышеупомянутой накладки, - соединена с вышеупомянутым корпусом и/или вышеупомянутой створкой и/или с зоной вблизи створки посредством троса.

[52]

Вышеупомянутая крышка, - в одной из частных форм воплощения вышеупомянутой накладки, - снабжена выступами, выполненными таким образом, что они препятствуют отделению этой крышки от вышеупомянутой втулки, при этом, предпочтительно, когда упомянутые выступы представляют собой кольцо, внутренний диаметр которого меньше внешнего диаметра вышеупомянутой втулки.

[53]

Вышеупомянутые элементы сцепления, - в одной из частных форм воплощения вышеупомянутой накладки, - выполнены таким образом, что обеспечивают блокировку проворачивания вышеупомянутой втулки при завинчивании в отсутствие силы, приложенной вдоль оси.

[54]

Вышеупомянутая втулка, - в одной из частных форм воплощения вышеупомянутой накладки, - подпружинена относительно вышеупомянутой крышки посредством пружинных элементов таким образом, что крышка имеет возможность осевого перемещения на расстояние H1=|L1-L2|, где L1 - положение крышки на оси с началом координат на упомянутой втулке в котором пружинные элементы полностью разжаты, а L2 - положение в котором пружинные элементы полностью сжаты, при этом упомянутая втулка и упомянутая крышка снабжены ответными выступами и пазами, выполненными с возможностью сцепления друг с другом и, - в положении, когда пружинные элементы полностью разжаты, - расположенными на расстоянии H2 друг от друга таком, что 0<Н21.

[55]

Вышеупомянутая втулка, - в одной из частных форм воплощения вышеупомянутой накладки, - имеет П-образное радиальное сечение.

[56]

Соединение между вышеупомянутыми корпусом и втулкой, - в одной из частных форм воплощения вышеупомянутой накладки, - герметизировано посредством кольцевой прокладки, размещенной между внутренней поверхностью втулки и корпусом.

[57]

Соединение между вышеупомянутыми корпусом и крышкой, - в одной из частных форм воплощения вышеупомянутой накладки, - герметизировано посредством кольцевой прокладки, размещенной между торцом крышки и корпусом, или между внутренней поверхностью крышки и корпусом.

[58]

Вышеупомянутые крепежные элементы накладки, - в одной из частных форм воплощения вышеупомянутой накладки, - представляют собой зоны с нанесенным на тыльную поверхность ее вышеупомянутого корпуса чувствительным к давлению клеем.

[59]

Вышеупомянутые крепежные элементы накладки, - в одной из частных форм воплощения вышеупомянутой накладки, - представляют собой лапки с выступами, расположенными таким образом, чтобы устанавливаться в отверстия внутри корпуса вышеупомянутого замкового элемента.

[60]

Вышеупомянутые крепежные элементы накладки, - в одной из частных форм воплощения вышеупомянутой накладки, - представляют собой, по меньшей мере, одну гибкую ленту с множеством взаимно-параллельных выступов, один конец которой прикреплен к вышеупомянутому корпусу и паз с подпружиненным клином, предназначенный для продевания упомянутой ленты, при этом упомянутые выступы ленты и упомянутый паз с подпружиненным клином образуют храповый механизм, обеспечивающий движение упомянутой ленты только в направлении затягивания.

[61]

Вышеупомянутая створка, - в одной из частных форм воплощения вышеупомянутой накладки, - является распашной или откидной, или раздвижной.

[62]

Внешний вид накладки, - в одной из частных форм воплощения вышеупомянутой накладки, - имитирует термометр с жидкокристаллическим индикатором.

[63]

Вышеупомянутая задача также решена благодаря тому, что предлагаемый комплект содержит в себе замковый элемент и вышеупомянутую накладку.

[64]

Необходимо понимать, что в настоящем тексте накладка охарактеризована только такими признаками, которые достаточны для решения поставленной задачи, реализации назначения и достижения технического результата; специального упоминания всех без исключения признаков и утилитарных характеристик упаковки не требуется, если специалистам должно быть известно, что изделия того же рода обладают такими признаками и утилитарными характеристиками и без них не реализуется основное назначение; тем более не требуется ограничивать обобщенные признаки какими-либо конкретными вариантами, если таковые должны быть известны специалистам и (или) могут быть подобраны по известным правилам.

[65]

Конструкция и использование вышеупомянутой накладки наглядно иллюстрируется фигурами 1-4 на примере некоторых частных и конкретных вариантов воплощения.

[66]

КРАТКОЕ ОПИСАНИЕ ЧЕРТЕЖЕЙ

[67]

На фиг. 1 сверху схематично изображены известные замковые элементы; снизу - соответствующие фотографии. На фиг. 1 (A1, А2) изображен вариант, в котором вышеупомянутый корпус замкового элемента выполнен с возможностью крепления на вышеупомянутой створке, а вышеупомянутый ответный элемент выполнен с возможностью крепления вблизи створки. На фиг. 1 (Б1, Б2) изображен замковый элемент, выполненный с возможностью крепления рядом со створкой, и снабженный двухпозиционной продольно-вытянутой задвижкой, расположенной на его лицевой стороне, при этом один из ее концов шарнирно закреплен относительно корпуса с возможностью поворота, таким образом, что в положении вышеупомянутого элемента контроля доступа «закрыто» упомянутая задвижка может быть зафиксирована в ориентации, при которой ее незакрепленный конец заходит за край вышеупомянутой створки, а в положении вышеупомянутого элемента контроля доступа «открыто» упомянутая задвижка имеет возможность поворачиваться в поперечной плоскости, таким образом, чтобы ее незакрепленный конец не заходил за край вышеупомянутой створки. На фиг. 1 (B1, В2) изображен вариант, в котором вышеупомянутый корпус замкового элемента выполнен с возможностью крепления вблизи створки, а вышеупомянутый ответный элемент - на створке; вышеупомянутый ответный элемент представляет собой трос, один из концов которого выполнен с возможностью взаимодействия с вышеупомянутым элементом сцепления.

[68]

На фиг. 2 сверху схематично изображена сборка одного из вариантов накладки с замковым элементом; снизу - накладка, вид сзади.

[69]

На фиг. 3 сверху схематично изображена сборка одного из вариантов накладки с замковым элементом; снизу - накладка, вид сзади.

[70]

На фиг. 4 схематично изображена сборка втулки и крышки в разных ракурсах (А), крышка в разных ракурсах и в разрезе (Б) и втулка в разных ракурсах и в разрезе (В).

[71]

На фиг. 1-4 использованы следующие обозначения:

[72]

1002 - корпус накладки,

[73]

1004 - трубчатый выступ корпуса накладки с резьбой,

[74]

1006 - метки на корпусе накладки,

[75]

1008 - крышка накладки,

[76]

1010 - кольцевая прокладка для предотвращения свободного скручивания втулки и для герметизации от конденсата,

[77]

1012 - чувствительный к давлению клей,

[78]

1014 - лапки с выступами,

[79]

1016 - резьба на резьбовой паре (внешняя на корпусе накладки и внутренняя во втулке),

[80]

2002 - корпус замкового элемента,

[81]

2004 - продольно-вытянутая часть корпуса замкового элемента с передней частью секретного механизма,

[82]

2006 - монтажное отверстие в замковом элементе (для точного позиционирования по меткам).

[83]

ОСУЩЕСТВЛЕНИЕ ИЗОБРЕТЕНИЯ

[84]

Как показано на фиг. 2 и 3 накладка для защиты замкового элемента, имеющего корпус и элемент контроля доступа, содержит в себе:

[85]

крышку,

[86]

втулку, размещенную внутри упомянутой крышки,

[87]

корпус, имеющий полость для упомянутого корпуса замкового элемента и крепежные элементы,

[88]

упомянутые крепежные элементы выполнены с возможностью неподвижного крепления относительно упомянутого замкового элемента,

[89]

упомянутая полость имеет первое отверстие на одном из своих концов, такое, что упомянутый корпус может надеваться на упомянутый замковый элемент, и второе отверстие на другом из своих концов, такое, что элемент контроля доступа замкового элемента располагается напротив него, когда упомянутый корпус надет на упомянутый замковый элемент, характеризующееся тем, что в ней

[90]

упомянутое второе отверстие и упомянутая втулка снабжены резьбой и вместе образуют винтовую пару,

[91]

упомянутая крышка установлена на упомянутой втулке, закрывая ее, с возможностью проворачивания относительно упомянутой втулки, по меньшей мере, при отвинчивании, при этом упомянутая втулка и крышка снабжены элементами сцепления, выполненными с возможностью блокировки проворачивания, по меньшей мере, при отвинчивании, под действием силы, приложенной вдоль оси.

[92]

На фиг. 2 (Б) и 3 (Б) показан вариант накладки, у которой ее крепежные элементы представляют собой зоны с нанесенным на тыльную поверхность ее корпуса чувствительным к давлению клеем. На фиг. 3 (Б) показан вариант накладки у которого помимо клея имеются крепежные элементы в виде лапок с выступами, расположенными таким образом, чтобы устанавливаться в отверстия внутри корпуса замкового элемента.

[93]

На фиг. 4 изображена крышка и втулка. Втулка подпружинена относительно крышки посредством пружинных элементов таким образом, что крышка имеет возможность осевого перемещения на расстояние H1=|L1-L2|, где L1 - положение крышки на оси с началом координат на втулке в котором пружинные элементы полностью разжаты, a L2 - положение в котором пружинные элементы полностью сжаты, при этом втулка и крышка снабжены ответными выступами и пазами, выполненными с возможностью сцепления друг с другом и, - в положении, когда пружинные элементы полностью разжаты, - расположенными на расстоянии Н2 друг от друга таком, что 0<H2<H1. Втулка на фиг. 4 имеет П-образное радиальное сечение, что позволяет обеспечить герметичное соединение втулки и корпуса накладки.

[94]

Предлагаемая накладка может быть закреплена на замковом элементе либо посредством клея, чувствительного к давлению, либо посредством крепежных элементов, которые в одном из предпочтительных вариантов представляют собой ленты с храповым механизмом (аналогичные известным кабельным стяжкам).

[95]

Чтобы открыть створку с замковым элементом, дополненным накладкой, пользователю нужно вначале надавить на крышку, сжимая пружинные элементы, и лишь в том случае, если сила давления достаточна, выступы и пазы крышки и втулки входят друг в друга, обеспечивая возможность передачи крутящего момента с крышки на втулку, после чего пользователь может отвинтить крышку от корпуса вместе с втулкой, открыть средства контроля доступа и воспользоваться ключом. Если же несанкционированный пользователь попытается отвинтить крышку без надавливания - она будет свободно проворачиваться относительно втулки без отделения от корпуса, таким образом несанкционированный пользователь не сможет открыть средства контроля доступа.

[96]

После того, как необходимость в накладке отпала (ребенок вырос) - накладка может быть легко удалена, при этом ее использование не оставляет каких-либо нежелательных следов на замковом элементе и не требует его модификации.

[97]

Применение вышеописанной накладки с существующими вариантами замков, показанных на фиг. 1, позволяет выполнить все вышеперечисленные задачи, включая защиту замкового элемента от неблагоприятных факторов внешней среды, от замерзания и несанкционированного использования ребенком.

Как компенсировать расходы
на инновационную разработку
Похожие патенты