патент
№ RU 2422592
МПК E02D31/08

СПОСОБ ПОДДЕРЖАНИЯ НАЧАЛЬНОГО НАПРЯЖЕННО-ДЕФОРМИРОВАННОГО СОСТОЯНИЯ ГРУНТА В ЗОНЕ ФУНДАМЕНТА СУЩЕСТВУЮЩЕГО ЗДАНИЯ

Авторы:
Попсуенко Иван Константинович
Правообладатель:
Все (2)
Номер заявки
2010103598/03
Дата подачи заявки
04.02.2010
Опубликовано
27.06.2011
Страна
RU
Как управлять
интеллектуальной собственностью
Чертежи 
1
Реферат

[12]

Изобретение относится к области строительства, преимущественно к технологиям устройства оснований фундаментов сооружений, возводимых в зоне городской застройки вблизи существующих зданий. Способ возведения подземных сооружений в зоне городской застройки включает устройство в грунте геотехнического барьера между фундаментов существующего здания и возводимым подземным сооружением с заделкой его на расчетную глубину, возведение стен и днища подземного сооружения. При этом геотехнический барьер устраивают на расчетном расстоянии от фундамента существующего здания в виде ряда вертикальных буроинъекционных свай с шагом, при этом каждую из них выполняют следующим образом: в предварительно пробуренную технологическую скважину устанавливают кондуктор, наполняют его цементным раствором с последующей временной выдержкой до полного набора прочности цементного раствора, затем разбуривают образовавшийся цементный камень внутри кондуктора, а технологическую скважину добуривают до расчетной глубины и потом опускают специальный скважинный монитор с боковыми насадками и подают к монитору по гибкому рукаву размывающий цементный раствор, который, выходя из боковых насадок монитора в виде высокоскоростной струи, производит размыв заданного расчетного объема грунта, образуя в нем размытую полость (каверну), заполненную грунтоцементой смесью, после этого из технологической скважины извлекают скважинный монитор, на его место вставляют пакер, и одновременно, рядом с технологической скважиной, устанавливают вертикальные манжетные инъекторы, таким образом, чтобы отверстия инъекторов располагались в размытой полости (каверне) и производят контролируемое нагнетание цементного раствора для поддержания начального напряженно-деформированного состояния грунта в зоне фундамента существующего здания. 1 з.п. ф-лы, 1 ил.

Формула изобретения

1. Способ поддержания начального напряженно-деформированного состояния грунта в зоне фундамента существующего здания, включающий устройство в грунте геотехнического барьера между фундаментом существующего здания и возводимым подземным сооружением с заделкой его на расчетную глубину, возведение стен и днища подземного сооружения, отличающийся тем, что геотехнический барьер устраивают следующим образом: в предварительно пробуренную технологическую скважину устанавливают кондуктор, наполняют его цементным раствором с последующей временной выдержкой до полного набора прочности цементного раствора, затем разбуривают образовавшийся цементный камень внутри кондуктора, а технологическую скважину добуривают до глубины, превышающей глубину залегания основания фундамента существующего здания, и потом опускают скважинный монитор с боковыми насадками и подают к монитору по гибкому рукаву размывающий цементный раствор, который, выходя из боковых насадок монитора в виде высокоскоростной струи, производит размыв заданного расчетного объема грунта, образуя в нем размытую полость (каверну), заполненную грунтоцементной смесью, после этого из технологической скважины извлекают скважинный монитор, на его место вставляют пакер, и одновременно, рядом с технологической скважиной, устанавливают вертикальные манжетные инъекторы таким образом, чтобы отверстия манжетных инъекторов располагались в размытой полости (каверне), и производят контролируемое нагнетание цементного раствора для поддержания начального напряженно-деформированного состояния грунта в зоне фундамента существующего здания в процессе возведения подземного сооружения.

2. Способ поддержания начального напряженно-деформированного состояния грунта в зоне фундамента существующего здания по п.1, отличающийся тем, что технологическую скважину выполняют диаметром меньшим, чем диаметр кондуктора.

Описание

[1]

Изобретение относится к области строительства, преимущественно к технологиям устройства оснований фундаментов сооружений, возводимых в зоне городской застройки вблизи существующих зданий. Известен способ возведения подземных сооружений в зоне городской застройки, включающий устройство в грунте геотехнического барьера в виде разделительного сооружения между фундаментом существующего здания и возводимым подземным сооружением с заделкой его на расчетную глубину, возведение стен и днища подземного сооружения (1). Устройство в грунте разделительного ограждения осуществляют путем рыхления вокруг возводимого сооружения грунта и задавливания шпунтового ограждения с последующим устройством глинистой завесы из глинистого раствора. После чего приступают к возведению стен подземного сооружения. Недостатком данного способа является его трудоемкость и невозможность предотвращения изменения напряженно-деформированного состояния грунта под фундаментом существующего здания, что может привести к осадке фундамента больше допустимых значений.

[2]

Наиболее близким техническим решением, выбранным в качестве прототипа, является способ возведения подземных сооружений в зоне городской застройки (2), включающий устройство геотехнического барьера между фундаментом существующего здания и возводимым подземным сооружением с заделкой его на расчетную глубину, возведение стен и днища подземного сооружения, при этом геотехнический барьер устраивают путем внедрения в грунт ряда вертикальных инъекторов на пути распространения волны изменения напряженно-деформированного состояния грунта и производят закачивание цементного раствора до расчетного объема. Недостатком данного способа является малый объем воздействия на массив грунта и несовпадение направлений вертикальных напряжений от оседающего фундамента с горизонтальным направлением напряжений обжатия грунта от геотехнического барьера.

[3]

Техническая задача заключается в предотвращении изменения напряженно-деформированного состояния грунта под фундаментом существующего здания в период возведения рядом с ним подземного сооружения.

[4]

Достигается это тем, что в способе поддержания начального напряженно-деформированного состояния грунта в зоне фундамента существующего здания, включающем устройство в грунте геотехнического барьера между фундаментов существующего здания и возводимым подземным сооружением с заделкой его на расчетную глубину, возведение стен и днища подземного сооружения, согласно изобретению геотехнический барьер устраивают следующим образом: в предварительно пробуренную технологическую скважину устанавливают кондуктор, диаметром большим, чем диаметр технологической скважины, наполняют кондуктор цементным раствором с последующей временной выдержкой до полного набора прочности цементного раствора, затем разбуривают образовавшийся цементный камень внутри кондуктора, а технологическую скважину добуривают до расчетной глубины (h), затем в технологическую скважину опускают скважинный монитор с боковыми насадками и подают к монитору по гибкому рукаву размывающий цементный раствор, который, выходя из боковых насадок монитора в виде высокоскоростной струи, производит размыв заданного расчетного объема грунта, образуя в нем размытую полость (каверну), заполненную грунтоцементой смесью, после этого из технологической скважины извлекают скважинный монитор, на его место вставляют пакер, и одновременно, рядом с технологической скважиной, устанавливают вертикальные манжетные инъекторы, таким образом, чтобы отверстия вертикальных манжетных инъекторов располагались в размытой полости (каверне) и производят контролируемое нагнетание цементного раствора до достижения заданного напряженно-деформированного состояния грунта основания существующего фундамента.

[5]

Предлагаемый способ отличается от известного тем, что геотехнический барьер устраивают путем подземного размыва грунта с помощью скважинного монитора горизонтальными струями из заранее пробуренных технологических скважин с образованием полостей в грунте заданных форм и размеров и синхронным заполнением этих полостей твердеющим раствором через вертикальные манжетные иъекторы.

[6]

Предлагаемый способ позволяет поддерживать начальное напряженно-деформированное состояние грунта в зоне фундамента существующего здания в процессе возведения поземного сооружения, что дает возможность снизить вертикальные и горизонтальные перемещения до предельно допустимых значений.

[7]

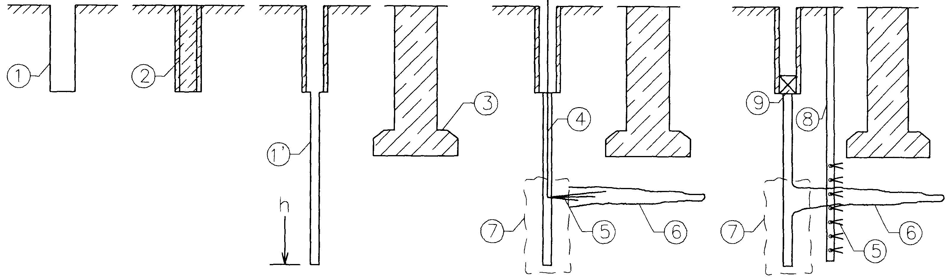
Предложенное техническое решение поясняется чертежом, где изображена технологическая схема осуществления данного способа.

[8]

Способ поддержания начального напряженно-деформированного состояния грунта в зоне фундамента существующего здания осуществляют следующим образом. Вначале бурят технологическую скважину (1) и устанавливают в нее кондуктор (2), причем диаметр кондуктора больше, чем диаметр технологической скважины. Затем кондуктор (2) заполняют цементным раствором и дают время для полного набора прочности залитого цементного раствора. Дальше разбуривают образовавшийся цементный камень внутри кондуктора (2), а саму технологическую скважину (1) добуривают до расчетной глубины (h), причем глубина технологической скважины (1) должна быть больше глубины залегания подошвы фундамента существующего сооружения (3). Затем в добуренную технологическую скважину (1) опускают скважинный монитор (4), имеющий боковые насадки. К скважинному монитору (2) подают цементный раствор. При этом через боковые насадки выходит высокоскоростная струя цементного раствора (5), которая производит размыв грунта, образуя в нем горизонтальную полость (6). Если скважинный монитор (2) приводят во вращение вокруг вертикальной оси и одновременно начинают медленно поднимать, то в результате, по мере подъема вращаемого скважинного монитора (4), часть размытого вращаемой струей грунта (в пределах радиуса размывающей способности струи) перемешивается с раствором и таким образом в грунтовом массиве образуется цилиндрическая размытая полость (7), заполненная грунтоцементной смесью. После этого из технологической скважины (1) извлекают скважинный монитор (4) и на его место устанавливают пакер (не обозначен). Одновременно забивают вертикальные манжетные инъекторы (8) таким образом, чтобы их отверстия располагались в размытой полости (6) или (7). И производят контролируемое нагнетание цементного раствора под давлением, равным или превышающем давление под фундаментом. В процессе нагнетания ведут наблюдение за перемещением фундамента существующего здания и в соответствии с перемещениями меняют режим закачки цементного раствора. Таких режимов закачек может быть несколько, при этом каждый последующий с давлением, превышающем давление в предыдущем режиме закачки. После затвердевания цементного раствора образуется геотехнический барьер в виде горизонтального образования (6) или цилиндрической колонны (7).

[9]

Источники информации

[10]

1. Патент России, №2042013, кл. E02D 29/045, БИ №23, 20.08.95.

[11]

2. Патент России, №2245966, кл. E02D 31/08, БИ №35, 20.12.2008.

Как компенсировать расходы
на инновационную разработку
Похожие патенты