патент
№ RU 2640849
МПК E21B17/10

ЦЕНТРАТОР ОБСАДНОЙ КОЛОННЫ

Авторы:
Зарипов Ильдар Мухаматуллович Оснос Владимир Борисович Исхаков Альберт Равильевич
Все (4)
Номер заявки
2017111383
Дата подачи заявки
04.04.2017
Опубликовано
12.01.2018
Страна
RU
Как управлять
интеллектуальной собственностью
Чертежи 
1
Реферат

Изобретение относится к строительству скважин и может быть использовано в компоновке обсадной колонны или хвостовиков при креплении нефтяных и газовых скважин, а также боковых стволов. Технический результат - беспрепятственный спуск обсадной колонны в скважину и центрирование ее во время цементирования обсадной колонны. Центратор обсадной колонны включает центрирующие металлические пластины, закрепляемые равномерно по периметру на кольцах, стопорные кольца, закрепленные на обсадной колонне, и полости, заполненные водонабухающим полимером. Cтопорные кольца установлены сверху и снизу центратора. Полости под водонабухающий полимер выполнены в виде кольцевых внутренних выборок в стопорных кольцах, обращенных в сторону колец центратора, которые вставлены в кольцевые выборки стопорных колец с возможностью продольного перемещения под действием расширяющегося водонабухающего полимера. 2 ил.

Формула изобретения

Центратор обсадной колонны, включающий центрирующие металлические пластины, закрепляемые равномерно по периметру на кольцах, стопорные кольца, закрепленные на обсадной колонне, и полости, заполненные водонабухающим полимером, отличающийся тем, что стопорные кольца установлены сверху и снизу центратора, а полости под водонабухающий полимер выполнены в виде кольцевых внутренних выборок в стопорных кольцах, обращенных в сторону колец центратора, которые вставлены в кольцевые выборки стопорных колец с возможностью продольного перемещения под действием расширяющегося водонабухающего полимера.

Описание

[1]

Изобретение относится к строительству скважин и может быть использовано в компоновке обсадной колонны или хвостовиков при креплении нефтяных и газовых скважин, а также боковых стволов.

[2]

Известен центратор обсадной колонны с изменяемой геометрией (патент RU №2473777, МПК Е21B 17/10, опубл. Бюл. №3 от 27.01.2013), содержащий корпус и жестко закрепленные на корпусе центрирующие элементы из эластичного материала, имеющие внутреннюю полость, расположенные по спирали на поверхности корпуса, при этом внутренняя полость центрирующих элементов заполнена водонабухающим полимером, а наружные боковые грани эластичного центрирующего элемента выполнены полупроницаемыми.

[3]

Недостатками данной конструкции являются сложность в изготовлении полых полупроницаемых граней, дороговизна материалов как самого центратора, так и материалов. Из-за неконтролируемого расширения водонабухающего материала нет гарантированного центрирования обсадной колонны.

[4]

Наиболее близким по технической сущности и достигаемому техническому результату является центратор обсадной колонны (патент RU №2468181, МПК Е21В 17/10, опубл. Бюл. №33 от 27.11.2012), включающий центрирующие металлические пластины, закрепляемые на кольцах, и стопорное кольцо для закрепления центратора на обсадной колонне, при этом на внутренней поверхности центрирующих пластин закреплены полые элементы, выполненные из эластичного полупроницаемого материала, внутренняя полость которых заполнена водонабухающим полимером, при этом стопорное кольцо выполнено с закругленными краями.

[5]

Недостатками данной конструкции также являются сложность в изготовлении полых полупроницаемых элементов, дороговизна материалов как самого центратора, так и материалов. Из-за неконтролируемого расширения водонабухающего материала нет гарантированного центрирования обсадной колонны.

[6]

Технической задачей предлагаемого центратора обсадной колонны является создание простой в изготовлении и надежной конструкции, позволяющей беспрепятственно спускать обсадную колонну в скважину и гарантированно центрировать ее во время цементирования.

[7]

Поставленная задача достигается тем, что центратор обсадной колонны включает центрирующие металлические пластины, закрепляемые равномерно по периметру на кольцах, стопорные кольца, закрепленные на обсадной колонне, и полости, заполненные водонабухающим полимером.

[8]

Новым является то, что стопорные кольца установлены сверху и снизу центратора, а полости под водонабухающий полимер выполнены в виде кольцевых внутренних выборок в стопорных кольцах, обращенных в сторону колец центратора, которые вставлены в кольцевые выборки стопорных колец с возможностью продольного перемещения под действием расширяющегося водонабухающего полимера.

[9]

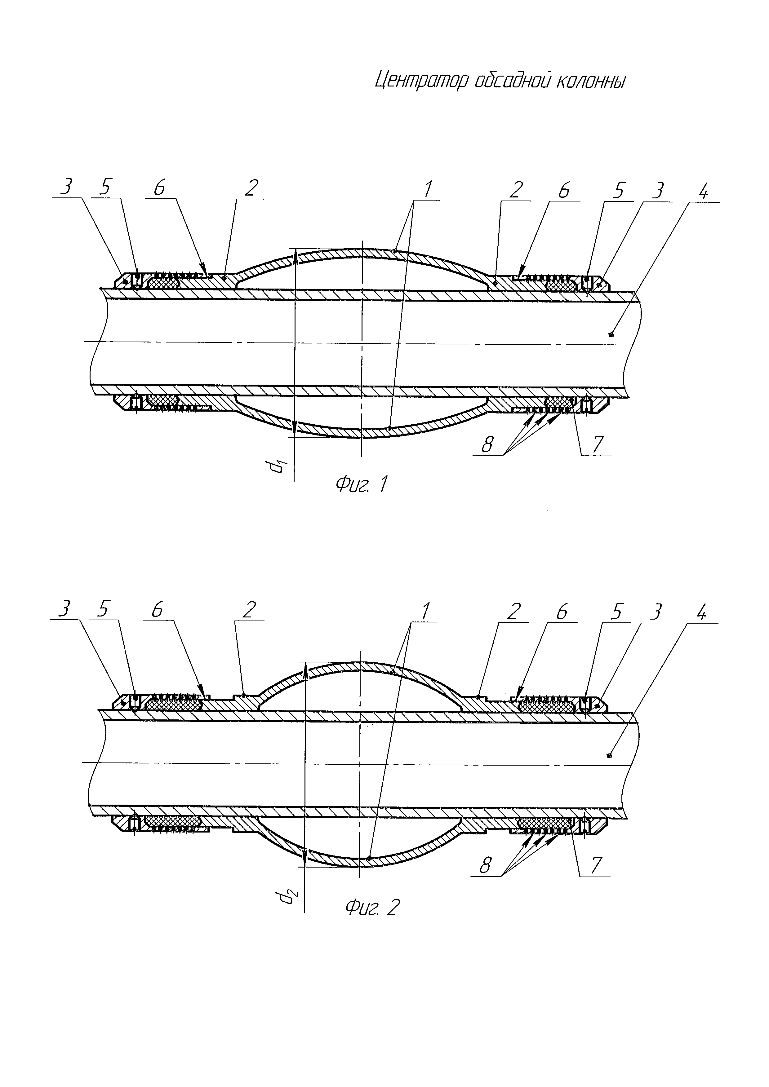
На фиг. 1 изображен центратор обсадной колонны в транспортном положении.

[10]

На фиг. 2 изображен центратор обсадной колонны в рабочем положении в процессе цементирования.

[11]

Центратор обсадной колонны состоит из металлических пластин 1 (фиг. 1 и 2), равномерно закрепленных по периметру на кольцах 2, и стопорных колец 3, расположенных сверху и снизу центратора, закрепленных на обсадной колонне 4, например, с помощью стопорных винтов 5. В стопорных кольцах 3 выполнены полости 6 в виде кольцевых внутренних выборок, которые заполнены водонабухающим полимером 7. Кольца 2 центратора также вставлены в полости 6 стопорных колец 3 с возможностью продольного перемещения под действием водонабухающего полимера 7. Для ускорения процесса набухания полимера в стопорных кольцах 3 выполнены отверстия 8.

[12]

Центратор обсадной колонны работает следующим образом.

[13]

В процессе спуска обсадной колонны 4 (фиг. 1) в скважину на нее устанавливаются центраторы на расчетном расстоянии и крепятся стопорными кольцами 3, например, с помощью стопорных винтов 5. В отличие от центраторов гидравлического типа в данной конструкции не нарушается целостность обсадной колонны. Центраторы в это время находятся в транспортном положении, диаметр по металлическим пластинам 1 равен при этом - d1, что позволяет беспрепятственно спускать колонну обсадных труб в скважину до проектной глубины.

[14]

После спуска колонны 4 (фиг. 2) в процессе промывки скважины и подготовки ее к цементированию промывочная жидкость через отверстия 8 стопорных колец 3 попадает в полости 6, выполненные в виде кольцевых внутренних выборок. Водонабухающий полимер 7 под действием промывочной жидкости начинает увеличиваться в объеме и при этом начинает передавать усилие на кольца 2, на которых закреплены пластины 1. Кольца 2 при этом, перемещаясь в стороны, противоположные стопорным кольцам 3, сжимают пластины 1, и диаметр описанной окружности по пластинам 1 при этом увеличивается до диаметра - d2, что в свою очередь надежно центрирует обсадную колонну 4 относительно стенок скважины.

[15]

Таким образом, обсадная колонна 4 к началу цементирования будет отцентрирована в скважине с любым углом наклона, в том числе и в горизонтальных скважинах.

[16]

Данное устройство простое в изготовлении, позволяет беспрепятственно спускать обсадную колонну в скважину и гарантированно центрировать ее во время цементирования обсадной колонны.

Как компенсировать расходы
на инновационную разработку
Похожие патенты