Изобретение относится к области целлюлозно-бумажного производства, может быть использовано при получении целлюлозы из недревесного однолетнего растительного сырья. Способ получения целлюлозы включает дробление и очистку целлюлозосодержащего материала, варку в щелочном растворе, термомеханохимическую активацию целлюлозосодержащего материала, промывку, отбелку, промывку и сушку. Термомеханохимическую активацию проводят вне емкости варки непрерывно в возвратном потоке с использованием ультразвукового устройства и/или устройства вращающихся под действием электромагнитного поля ферромагнитных тел. Использование способа позволяет сократить время процесса за счет уменьшения времени щелочной варки. 2 з.п. ф-лы, 3 ил., 1 табл., 6 пр.
1. Способ получения целлюлозы, включающий дробление и очистку целлюлозосодержащего материала, варку в щелочном растворе, термомеханохимическую активацию целлюлозосодержащего материала, промывку, отбелку, промывку и сушку, отличающийся тем, что варку целлюлозосодержащего материала совмещают с термомеханохимической активацией, которую проводят вне емкости варки непрерывно в возвратном потоке с использованием ультразвукового поля и/или потоком анизотропных ферромагнитных тел. 2. Способ по п. 1, отличающийся тем, что объем щелочного раствора целлюлозосодержащего материала, перемещаемого из емкости варки, за время операции щелочной варки превышает объем раствора, находящегося в емкости варки. 3. Способ по п. 1, отличающийся тем, что термомеханохимическую активацию выполняют в одном аппарате или в нескольких, установленных последовательно.
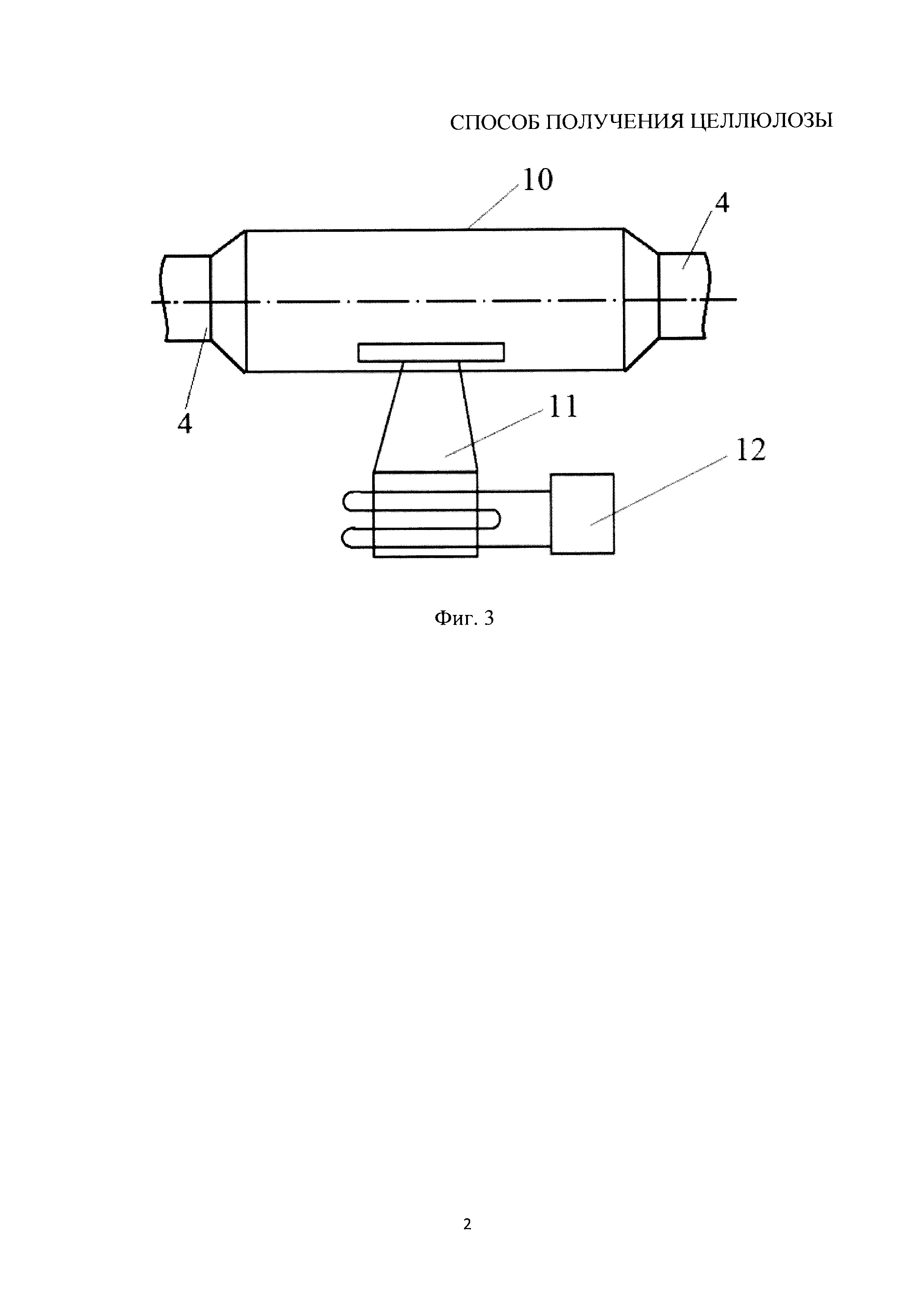
Изобретение относится к области целлюлозно-бумажного производства, может быть использовано при получении целлюлозы из недревесного однолетнего растительного сырья. Известен способ получения целлюлозы, включающий механическую обработку целлюлозосодержащего материала (ЦСМ) путем одновременного его рыхления и очистки, варку в щелочном растворе при температуре 130-140°С под давлением 3-4 атм. в течение 180-210 мин, промывку, отбелку в кислом растворе гипохлоритом натрия, отжим, рыхление и сушку (патент RU 2078163, кл. D04H 1/02, оп. 27.04.1997). Недостатками способа являются проведение процесса щелочной варки в жестких условиях и использование для отбелки канцерогенного гипохлорита натрия. Известен способ получения целлюлозы путем одновременного рыхления и очистки целлюлозосодержащего материала, измельчения, замочки в растворе NaOH и очистки, щелочной варки в течение 1,5-3 часов при гидромодуле 1:(5-20), содержащем дополнительно ПАВ, промывки, отбелки в растворе H2O2, промывки, отжима и сушки (патент RU 2304647, кл. D21C 5/00, D21C 1/06, D21C 3/02, D01C 1/02, оп 20.08.2007). Недостатками известного способа является невозможность получения целлюлозы из ЦСМ с высокой степенью закостренности и большим содержанием лигнина в полупродукте. Известны способы активации ферментативного гидролиза ЦСМ и выделения лигнина и других спутников целлюлозы с помощью ультразвуковой обработки (УЗО). Обработка проводится в ультразвуковых ваннах в течение от 5 минут до нескольких часов (см., например, Донцов А.Г. Влияние ультразвуковой кавитации на реакционную способность лигноцеллюлозных субстратов при биоконверсии растительной биомассы / А.Г. Донцов, А.П. Карманов, Л.С. Кочева и др. / Бутлеровские сообщения 2014, Т. 39,№9. - с 52-57). Недостатком является длительность процесса и его периодичность. Такой способ применим только для ЦСМ с высоким содержанием целлюлозы. Наиболее близким, выбранным в качестве прототипа, является способ получения целлюлозы из льняного сырья, включающий рыхление и очистку ЦСМ, дополнительную промывку и резку, замочку (варку) измельченного сырья в щелочном растворе в течение 15-60 минут, термомеханохимическую активацию (ТМХА) подготовленной пульпы в течение 15-30 минут, промывку, отбелку, промывку, отжим и сушку. При необходимости после ТМХА добавляется стадия дозревания (дополнительной варки) в течение 30-60 минут (RU 2343241, D21C 5/00, D21C 1/06, D21C 9/12, D21B 1/16, D01C 1/02, 10.01.2009). Недостатком способа является длительность операции замочки (варки) ЦСМ. Технической проблемой является уменьшение времени щелочной варки ЦСМ при одновременном сохранении качества получаемой целлюлозы. Техническая проблема решается способом, включающим дробление и очистку целлюлозосодержащего материала (ЦСМ), варку в щелочном растворе, термомеханохимическую активацию (ТМХА) целлюлозосодержащего материала, промывку, отбелку, промывку и сушку, при этом щелочную варку целлюлозосодержащего материала совершают с термомеханохимической активацией, которую осуществляют вне емкости варки непрерывно в возвратном потоке с использованием ультразвукового поля и/или потоком анизотропных ферромагнитных тел. Объем раствора ЦСМ, перемещаемого из емкости варки, за время операции щелочной варки может превышать объем материала, находящегося в емкости варки. Термомеханохимическая активация может быть выполнена с использованием одного аппарата или нескольких установленных последовательно. Техническим результатом предлагаемого изобретения является уменьшение времени щелочной варки ЦСМ при сохранении качества получаемой целлюлозы. Операция варки ЦСМ состоит из нескольких стадий: диффузии варочного раствора к поверхности ЦСМ, проникновении внутрь, реакции гидролиза и диффузии продуктов реакции в раствор. В процессе варки важнейшим химическим процессом является гидролиз макромолекул лигнина, что приводит к его переходу в растворимую форму и выделению. Под воздействием активных реагентов и температуры связанный лигнин расщепляется и накапливается в варочном растворе. Скорость реакции может быть увеличена с помощью активации ЦСМ, в результате которой происходит разупорядочение и разрушение клеточного строения ЦСМ. Это может достигаться воздействием, связанным со сжатием, деформацией и дезинтеграцией сечки ЦСМ в варочном растворе, многими известными приемами, например, с использованием ультразвукового воздействия (УЗ) или силового воздействия в потоке анизотропных ферромагнитных тел. В отличие от прототипа в предлагаемом способе ТМХА проводят непосредственно в процессе варки в обогреваемом наружном контуре непрерывно в возвратном потоке. При этом ЦСМ после активации опять подается в варочную емкость с щелочным раствором. В этом случае быстрее происходит диффузия раствора в ЦСМ и извлечение из него лигнина и других спутников. За счет этого можно добиться сокращения времени варки. Изобретение поясняется чертежами, на которых изображены: на Фиг. 1 - общая схема установки для получения целлюлозы заявляемым способом, где 1 - емкость для варки, 2 - перемешивающее устройство, 3 - масса-насос, 4 - трубопровод, 5 - устройство ТМХА; на Фиг. 2 - схема устройства непрерывно вращающихся под действием электромагнитного поля ферромагнитных тел, где 7 - корпус с катушками электромагнитного поля, 6 - немагнитная цилиндрическая труба, встроенная в наружный контур, 9 - ферромагнитные частицы, непрерывно вращающиеся под действием электромагнитного поля, 8 - блок управления скоростью вращения; на Фиг. 3 - схема устройства ультразвуковой обработки, где 10 - корпуса, 11 - ультразвуковой генератор, 12 - блок управления. В качестве сырья возможно использовать любой ЦСМ из однолетних растений не зависимо от его природы (лен, конопля, рапс, люцерна, амарант, солома пшеницы, ржи и др.). Процесс по формуле изобретения осуществляют следующим образом. Предварительно подготовленную сечку однолетнего растительного сырья, измельченную до 10-15 мм. загружают в емкость 1 со щелочным раствором, где ее разогревают при перемешивании. Варку ЦСМ проводят в растворе щелочи с концентрацией 0,7 масс. % с гидромодулем 1:15, с добавлением перекиси водорода с концентрацией 0,25 масс. % и ПАВ с концентрацией 0,1 масс. %. Температура варочного раствора 100°С, время варки не более 60 минут. Для увеличения интенсивности варки варочный раствор подвергают ТМХА, прокачивая его масса-насосом 3 из варочной емкости 1 по наружному обогреваемому контуру 4 через устройство ТМХА 5 и по трубопроводу 4 возвращают его в варочную емкость 1. Объем раствора, проходящего через наружный контур, регулируется производительностью масса-насоса 3. По окончании процесса варки выполняют стандартные операции дезинтеграции целлюлозного полуфабриката до необходимых размеров, промывки, отбелки, промывки и сушки. Все вышесказанное подтверждается следующими примерами, в которых в качестве ЦСМ использовали коноплю, амарант и люцерну. Пример 1. Подготовленную сечку однолетнего растительного сырья загружают в емкость со щелочным раствором, где ее разогревают до 100°С при перемешивании. Через 10 минут после начала щелочной варки раствор ЦСМ начинают перекачивать масса-насосом AE.H-ZD (Производительность 3,4 м3/ч) по обогреваемому наружному контуру (диаметр трубопровода 25 мм.) через устройство ТМХА обратно в емкость варки. В качестве устройства ТМХА используется проточное ультразвуковое устройство «Молот» (производительность до 3 м3/ч, мощность 5,5 кВт/ч). Перекачиваемый объем в течение времени операции варки равен объему емкости варки. Общее время варки 35 минут. Затем выполняют стандартные операции дезинтеграции целлюлозного полуфабриката до необходимых размеров, промывку, отбелку, промывку и сушку. Показатели полученной целлюлозы представлены в таблице (опыт 1, 2, 3, 4). Пример 2 (аналогичен примеру 1). Варочный раствор при движении по наружному контуру подвергается ТМХА в двух последовательно установленных ультразвуковых устройствах за один проход наружного контура. Показатели полученной целлюлозы представлены в таблице (опыт 5). Пример 3 (аналогичен примеру 1). В наружном контуре в качестве устройства ТМХА установлено устройство силового воздействия непрерывно вращающимися под действием электромагнитного поля ферромагнитными телами диаметром 2 мм. и длиной 15 мм. при диаметре внутренней полости устройства 70 мм. и длиной 100 мм. Скорость вращения электромагнитного поля 3000 об/мин. Объем перекачиваемого целлюлозосодержащего материала по наружному контуру равен объему емкости варки. Показатели полученной целлюлозы представлены в таблице (опыт 6, 7). Пример 4 (аналогичен примеру 3). Варочный раствор во время операции варки перекачивают через наружный контур, в котором установлены последовательно два устройства ТМХА. Объем перекачивания равен объему емкости варки. Показатели полученной целлюлозы представлены в таблице (опыт 8). Пример 5 (аналогичен примеру 3). Перекачиваемый по наружному контуру объем раствора ЦСМ в два раза больше объема емкости варки. Показатели полученной целлюлозы представлены в таблице (опыт 9). Пример 6 (аналогичен примеру 1). Варочный раствор во время операции варки перекачивается через наружный контур, в котором последовательно установлены два устройства ТМХА: ультразвуковое устройство и устройство с движущимися ферромагнитными телами, приводимыми в действие электромагнитными полями. Объем перекачиваемого материала по наружному контуру объему материала варки. Показатели полученной целлюлозы представлены в таблице (опыт 10, 11). Анализ данных таблицы показывает, что предложенный способ позволяет получить целлюлозу из соломы однолетнего растительного сырья при меньшем времени варки ЦСМ, но при этом сохранить качество, соответствующее прототипу. Это достигается тем, что операцию варки совмещают с термомеханохимической активацией, которая осуществляется при прохождении потока ЦСМ по наружному контуру емкости варки через ультразвуковое устройство или устройство с непрерывно вращающимися под действием электромагнитного поля ферромагнитными телами. Показатель α-целлюлоза остаются на уровне прототипа при значительном уменьшении общее время процесса варки. Сочетание того или иного воздействия, их количества, порядка их осуществления не меняют общую картину полученного результата. Таким образом, предлагаемый способ позволяет получить целлюлозу из недревесного однолетнего растительного сырья с показателями качества сравнимыми с прототипом, но при значительном уменьшении времени щелочной варки, а, следовательно, и всего процесса в целом.