Изобретение относится к области рентгеновской техники. Источник рентгеновского излучения содержит автокатод, рабочей областью которого является кромка круглого отверстия в проводящем слое, а антикатод (анод) выполнен симметричным относительно оси отверстия автокатода в виде фигуры вращения и имеет радиус меньше радиуса этого отверстия. Предложены варианты точечного и матричного интегрального исполнений. Технический результат - увеличение поверхностной излучаемой мощности рентгеновского излучения и срока службы источника. 6 з.п. ф-лы, 2 ил.
1. Источник рентгеновского излучения, включающий одну или множество ячеек, каждая из которых является источником рентгеновского излучения и содержит автокатод, антикатод, окно, рабочий - вакуумированный или газонаполненный - объем, средства формирования электронных потоков и систему питания ячеек, отличающийся тем, что автокатод выполнен из проводникового, полупроводникового или комбинированного, в том числе многослойного или композитного, материала в виде или тонкого - менее 0,5 мм - слоя с круглым отверстием, или в виде слоя с круглым отверстием и с заостренной внутренней кромкой, а антикатод (анод) выполнен симметричным относительно оси отверстия в виде фигуры вращения и имеет радиус меньше радиуса отверстия. 2. Источник по п. 1, отличающийся тем, что средства формирования электронных потоков выполнены в виде расположенных с одной или с двух сторон автокатода параллельно плоскости катода одного или нескольких управляющих электродов из слоев проводника или полупроводника той же формы в плане, что и автокатод, с отверстиями такого же, как у автокатода, или отличающегося диаметра, причем управляющие электроды выполнены так, чтобы исключить холодную эмиссию с них в рабочих режимах источника, и с возможностью задания их электрических потенциалов относительно катода и других электродов. 3. Источник по п. 1, отличающийся тем, что антикатод выполнен из кремния с включениями или покрытием из иного проводящего материала или без включений и покрытия. 4. Источник по п. 1, отличающийся тем, что антикатод в области, совпадающей с плоскостью автокатода и в смежной с ней области, в которой его поверхность облучается электронами, имеет диаметр поперечного сечения много меньший, чем диаметр отверстия в автокатоде. 5. Источник по п. 1, отличающийся тем, что антикатод выполнен в виде конуса, направленного вершиной к окну, и расположен так, что пересекает плоскость отверстия катода, его ось совпадает с осью отверстия автокатода, а угол при вершине выполнен в пределах от 1° до 120°. 6. Источник по п. 5, отличающийся тем, что антикатод выполнен в виде конуса с углом при вершине α=π/2 рад. 7. Источник по любому из пп. 1-5, отличающийся тем, что включает множество ячеек, выполненных в интегральном исполнении, окно каждой ячейки выполнено в виде мембраны, отделяющей внешнюю среду от рабочего - вакуумированного или газонаполненного - объема, а система питания ячеек выполнена с возможностью включения ячеек и управления ими в заданной последовательности или/и в заданных сочетаниях.
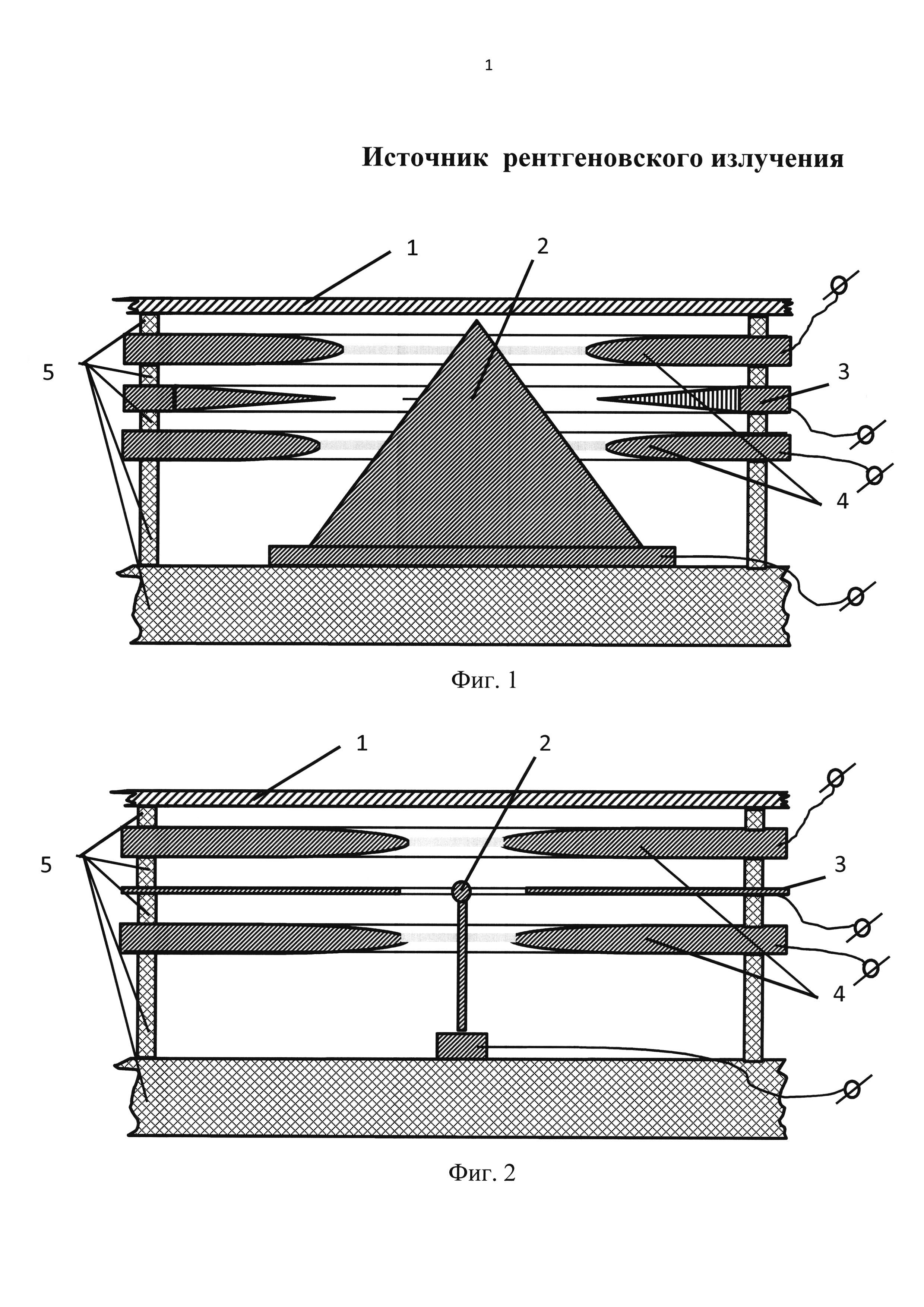
Изобретение относится к области рентгеновских излучателей, а именно миниатюрных источников рентгеновского излучения с автокатодами (называемые также холодными катодами) и, в частности, многокатодных источников рентгеновского излучения в интегральном исполнении. Известны рентгеновские излучатели, содержащие рабочий вакуумированный объем, окно для рентгеновского излучения в стенке рабочего объема, антикатод и катод, в которых в качестве катода использованы автокатоды (например: US 6876724; EP 1205216; диссертация Иванова О.В. - Исследование и разработка высокостабильного и долговечного автоэмиссионного катода с электронно-оптической яркостью свыше 1·108 А·см-2·срад-1 для электронно-зондовой аппаратуры и других ЭВП, работающих в условиях высокого технического вакуума. - М., 2007). Недостатком их является неустойчивость работы, недолговечность и инерционность (из-за задержек теплоотвода). Основные причины нестабильности эмиссии катодов - изменение их геометрических размеров в результате бомбардировки поверхности ионами остаточных газов и изменение потенциального барьера на поверхности вследствие адсорбции и химического взаимодействия с остаточными газами. Основную роль играет ионная бомбардировка, поскольку она активизирует все другие механизмы деградации катода (Н. Дюжев, Ю. Тишин. - Молибденовая и кремниевая технологии плоских автоэмиссионных экранов. - Электроника: Наука, Технология, Бизнес 1/2001.) Известны рентгеновские излучатели, в которых применены композитные автокатоды, содержащие углеродные волокна (например, US 20030002627, US 6850595), разрушение поверхности торцов которых не приводит к их затуплению, т.к. они не заточены, а эффективны благодаря малому диаметру, а включенность углеродных нитей в массивную матрицу улучшает теплоотвод. Недостатком их является сложность изготовления. Известен многокатодный источник рентгеновского излучения, выполненный в интегральной форме и содержащий вакуумированный объем, матрицу острийных (в виде игл) автокатодов, электроды, формирующие электронный поток и окна в виде мембран, служащие антикатодами (WO 2013184213). Недостатком его является нестойкость острийных автокатодов и необходимость выполнения специальных требований к окнам для повышения эффективности преобразования электронного потока в рентгеновское излучение. Технической задачей, на решение которой направлено предлагаемое изобретение, является увеличение поверхностной (на единицу площади) излучаемой мощности рентгеновского излучения, увеличение срока службы и устойчивости работы источника рентгеновского излучения. Указанная задача решается тем, что источник рентгеновского излучения, включает одну или множество ячеек, каждая из которых является источником рентгеновского излучения и содержит автокатод, антикатод, окно, рабочий - вакуумированный или газонаполненный - объем, средства формирования электронных потоков и систему питания ячеек, причем автокатод выполнен из проводникового, полупроводникового или комбинированного, в том числе многослойного или композитного, материала в виде или тонкого - менее 0,5 мм - слоя с круглым отверстием, или в виде слоя с круглым отверстием и с заостренной внутренней кромкой, а антикатод, являющийся одновременно анодом, выполнен симметричным относительно оси отверстия в виде фигуры вращения и имеет радиус меньше радиуса отверстия катода. Система питания ячеек включает и соответствующий блок управления. При такой конструкции источника рентгеновского излучения рабочая область автокатода, расположенная на кромке отверстия, заостренной (в виде лезвия) или достаточно тонкой для обеспечения холодной эмиссии в требуемом интервале напряжений, имеет значительно большую площадь, чем рабочая поверхность острийного автокатода. При приложении достаточно большого напряжения, обеспечивающего эмиссию, например, со всей внутренней кромки, ток эмиссии, при котором не происходит разрушения автокатода, может иметь большие значения, чем у острийного автокатода, благодаря как большей рабочей площади, так и значительно более хорошему теплоотводу. Улучшенный теплоотвод обеспечивается тем, что площадь кругового поперечного сечения автокатода предложенной конструкции растет пропорционально радиусу. При приложении напряжений, недостаточных для обеспечения значительной эмиссии по всей круговой кромке автокатода, разряд сосредотачивается на одной или нескольких локальных ее областях. По мере износа этих областей расстояние от них до антикатода, являющегося в данном случае и анодом, возрастает, что приводит к переходу разряда на другие области кольцевой кромки. Таким образом, локальный износ кромки не приводит к отказу автокатода или значительным изменениям его свойств. В случае использования автокатода с заостренной кромкой по мере эксплуатации может произойти снижение заостренности по всей кольцевой кромке - это также не приведет к отказу катода, а может лишь сказаться на его характеристиках, изменение которых может быть компенсировано следящей электронной системой питания ячеек. В случае использования достаточно тонкого автокатода, не нуждающегося для получения холодной эмиссии при заданных напряжениях в дополнительной заточке, локальный износ оказывает на характеристики автокатода еще меньшее влияние, т.к. приводит лишь к незначительному увеличению расстояния от изнашивающихся областей до анода-антикатода, что также может компенсироваться системой питания ячеек. Описанный процесс изменения формы рабочей кромки способен также компенсировать возможные неточности формы или положения анода-антикатода, который, хотя и заявлен симметричным относительно оси автокатода, может быть выполнен с отклонениями, вызванными несовершенством технологии. Средства формирования электронных потоков могут включать, кроме автокатода, анода-антикатода и средств питания, также и дополнительные электроды. Для формирования электронных потоков и управления ими (например, для обеспечения сканирования по поверхности антикатода) предлагается выполнить с одной или с обеих сторон катода параллельно плоскости катода один или нескольких управляющих электродов из слоев проводника или полупроводника той же формы в плане, что и катод, с отверстиями такого же, как у катода, или отличающегося диаметра. Управляющие электроды должны быть выполнены так, чтобы исключить холодную эмиссию с них в рабочих режимах источника, т.е. они не должны иметь острых кромок, или быть расположены слишком близко к аноду, или находиться под высоким напряжением по отношению к другим элементам. Управляющие электроды выполнены с возможностью задания их электрических потенциалов относительно катода и других электродов с помощью системы питания ячеек. В варианте предлагаемого изобретения антикатод выполнен из кремния с включениями или покрытием из иного проводящего материала или без включений и покрытия. Выполнение антикатода из кремния обеспечивает хороший теплоотвод, т.к. кремний обладает очень высокой теплопроводностью. Антикатод из кремния или из другого материала может быть покрыт или может иметь объемные включения из материалов с заданным рентгеновским спектром излучения. Для получения источника рентгеновского излучения с характеристиками, близкими к точечному, используются разные приемы: например, в изобретении по патенту US 7469039 широким электронным потоком облучают антикатод малого размера. Предлагаемый источник рентгеновского излучения особенно пригоден для реализации такого варианта, т.к. весь, без потерь, электронный поток приходит, в отличие от указанного выше прототипа точечного источника, на антикатод, т.к. он одновременно является анодом. Для получения характеристик, близких к характеристикам точечного источника, предлагается вариант настоящего изобретения, в котором антикатод в области, совпадающей с плоскостью катода и в смежной с ней области, в которой его поверхность облучается электронами, имеет диаметр поперечного сечения много меньший, чем диаметр отверстия в катоде. Для улучшения теплоотвода предлагается вариант источника, в котором антикатод выполнен в виде конуса, направленного вершиной к окну и расположенного так, что пересекает плоскость отверстия катода, его ось совпадает с осью отверстия катода, а угол при вершине конуса (α) выполнен в пределах от 1° до 120°. Нижний предел, 1°, выбран из следующих соображений: величина увеличения теплоотвода из-за конусности автокатода пропорциональна примерно tg(α/2), где α - угол при вершине конуса, а при малых углах α - интенсивность теплоотвода пропорциональна α/2. Поэтому нижнюю границу значения угла α можно определить из условия, что α/2>0,01, т.к. выигрыш менее 1% в данном случае не оправдывает конструктивного усложнения, т.е. должно выполняться условие α>0,02 рад., или примерно α>1°. Верхний предел выбран 120°, т.к. увеличение этого угла более 120° приводит к слишком крутой зависимости разрядного промежутка от смещения (например, по технологическим причинам) антикатода вдоль оси катода. Оптимальным для большинства применений является угол α=π/2 рад. В варианте изобретения источник является многокатодным и включает множество описанных выше ячеек, выполненных в интегральном исполнении: окно каждой ячейки выполнено в виде мембраны, отделяющей внешнюю среду от рабочего - вакуумированного или газонаполненного - объема, а система питания ячеек выполнена с возможностью включения ячеек и управления ими в заданной последовательности или/и в заданных сочетаниях. Рабочий объем каждой ячейки герметичен, вакуумирован или заполнен газом под требуемым давлением, изолирован от рабочих объемов других ячеек. В рабочий объем может быть помещен и геттер газов для долговременного сохранения вакуума или состава газа-заполнителя. На фиг. 1 схематично изображен в разрезе один из вариантов предложенного источника - с заточенной кромкой автокатода и с коническим антикатодом с α=π/2 рад (без необходимых, но общеизвестных элементов: разводки и т.п.). На фиг. 2 схематично изображен в разрезе вариант предложенного источника с тонким автокатодом и антикатодом, форма которого приближает характеристики источника к характеристикам точечного. Цифрами на чертежах обозначены: 1 - мембрана-окно, 2 - антикатод, 3 - автокатод, 4 - электроды вспомогательные, 5 - диэлектрические подложка и стенки ячеек. Примером конкретного выполнения предлагаемого рентгеновского источника является многокатодный матричный источник 100×100 ячеек, выполненный по планарной кремниевой технологии: изолирующие слои и стенки ячеек выполнены из SiO2, окно выполнено в виде мембраны из SiO2 толщиной 2 мкм, автокатод выполнен в виде мембраны из молибдена толщиной 0,5 мкм с отверстием диаметром 10 мкм, формирующие электроды выполнены с двух сторон от автокатода на расстоянии 2 мкм от него из никеля толщиной 2 мкм и с отверстиями диаметром 10 мкм, анод-антикатод выполнен из кремния в виде конуса с углом при вершине α=π/2 рад, разводка выполнена из Ni, система питания ячеек выполнена также в интегральном исполнении на кремнии в одном кристалле с матрицей ячеек. Предлагаемый источник рентгеновского излучения обеспечивает большую поверхностную мощность рентгеновского излучения, стабильность работы и долговечность, может быть изготовлен в разных вариантах для разных применений с использованием приемов хорошо освоенной планарной технологии.