патент
№ RU 2289664
МПК E05C1/04

ЗАПИРАЮЩЕЕ УСТРОЙСТВО

Авторы:
Соркин Эдуард Матвеевич
Номер заявки
2005115542/12
Дата подачи заявки
24.05.2005
Опубликовано
20.12.2006
Страна
RU
Как управлять
интеллектуальной собственностью
Чертежи 
5
Реферат

[17]

Изобретение относится к устройствам для запирания дверей и может быть использовано для запирания дверей туалетных кабин, например, в авиационном, морском или железнодорожном транспорте и касается запирающего устройства, содержащего корпус с торцевой планкой, задней стенкой и крышкой, ригель с ручкой управления ригелем и механизм фиксации ригеля в крайних положениях. Корпус запирающего устройства снабжен направляющим профилем для размещения ригеля, имеющим продольный паз, в котором установлена ручка управления, при этом длина паза равна ходу ригеля, а механизм фиксации ригеля в крайних положениях выполнен в виде двух, симметрично установленных относительно продольной оси ригеля витых пружин кручения, одни концы которых закреплены через отверстия на корпусе ригеля, а другие - через отверстия на задней стенке корпуса. В хвостовике ригеля выполнены отверстия, в которых установлены светофильтры разного цвета, и поперечный паз для перемещения ригеля с наружной стороны двери. Техническим результатом является повышение надежности устройства и упрощение его конструкции. 6 ил.

Формула изобретения

Запирающее устройство, содержащее корпус с торцевой планкой, задней стенкой и крышкой, ригель с ручкой управления ригелем и механизм фиксации ригеля в крайних положениях, отличающееся тем, что корпус снабжен направляющим профилем для размещения ригеля, имеющим продольный паз, в котором установлена ручка управления, при этом длина паза равна ходу ригеля, а механизм фиксации ригеля в крайних положениях выполнен в виде двух, симметрично установленных относительно продольной оси ригеля витых пружин кручения, одни концы которых закреплены через отверстия на корпусе ригеля, а другие - через отверстия на задней стенке корпуса, причем в хвостовике ригеля выполнены отверстия, в которых установлены светофильтры разного цвета, и поперечный паз для перемещения ригеля с наружной стороны двери.

Описание

[1]

Настоящее изобретение относится к устройствам для запирания дверей и может быть использовано для запирания дверей туалетных кабин, например, в авиационном, морском или железнодорожном транспорте.

[2]

Известно запирающее устройство, содержащее корпус с торцевой планкой, задней стенкой и крышкой, ригель с ручкой управления ригелем и механизм фиксации ригеля в крайних положениях (см. патент Франции №2408707, МПК Е 05 С 1/02, 1977 г.).

[3]

Недостатком известного запирающего устройства является возможность самопроизвольного закрытия или открытия ригеля под действием вибрации, отсутствие индикации открытого и закрытого состояния, необходимость прикладывания значительных усилий для перемещения ригеля из-за сил трения, действующих на него, а также сложность конструкции, обусловленная конструкцией механизма перемещения ригеля.

[4]

Технической задачей изобретения является повышение надежности запирающего устройства и упрощение его конструкции, позволяющей обеспечить индикацию открытого и закрытого положения.

[5]

Поставленная задача решается тем, что в запирающем устройстве, содержащем корпус с торцевой планкой, задней стенкой и крышкой, ригель с ручкой управления ригелем и механизм фиксации ригеля в крайних положениях, корпус снабжен направляющим профилем для размещения ригеля, имеющим продольный паз, в котором установлена ручка управления ригелем, при этом длина паза равна ходу ригеля, а механизм фиксации ригеля в крайних положениях выполнен в виде двух симметрично установленных относительно продольной оси ригеля витых пружин кручения, одни концы которых закреплены через отверстия на корпусе ригеля, а другие - через отверстия на задней стенке корпуса, причем в хвостовике ригеля выполнены отверстия, в которых установлены светофильтры разного цвета, и поперечный паз для перемещения ригеля с наружной стороны двери.

[6]

Изобретение поясняется чертежами.

[7]

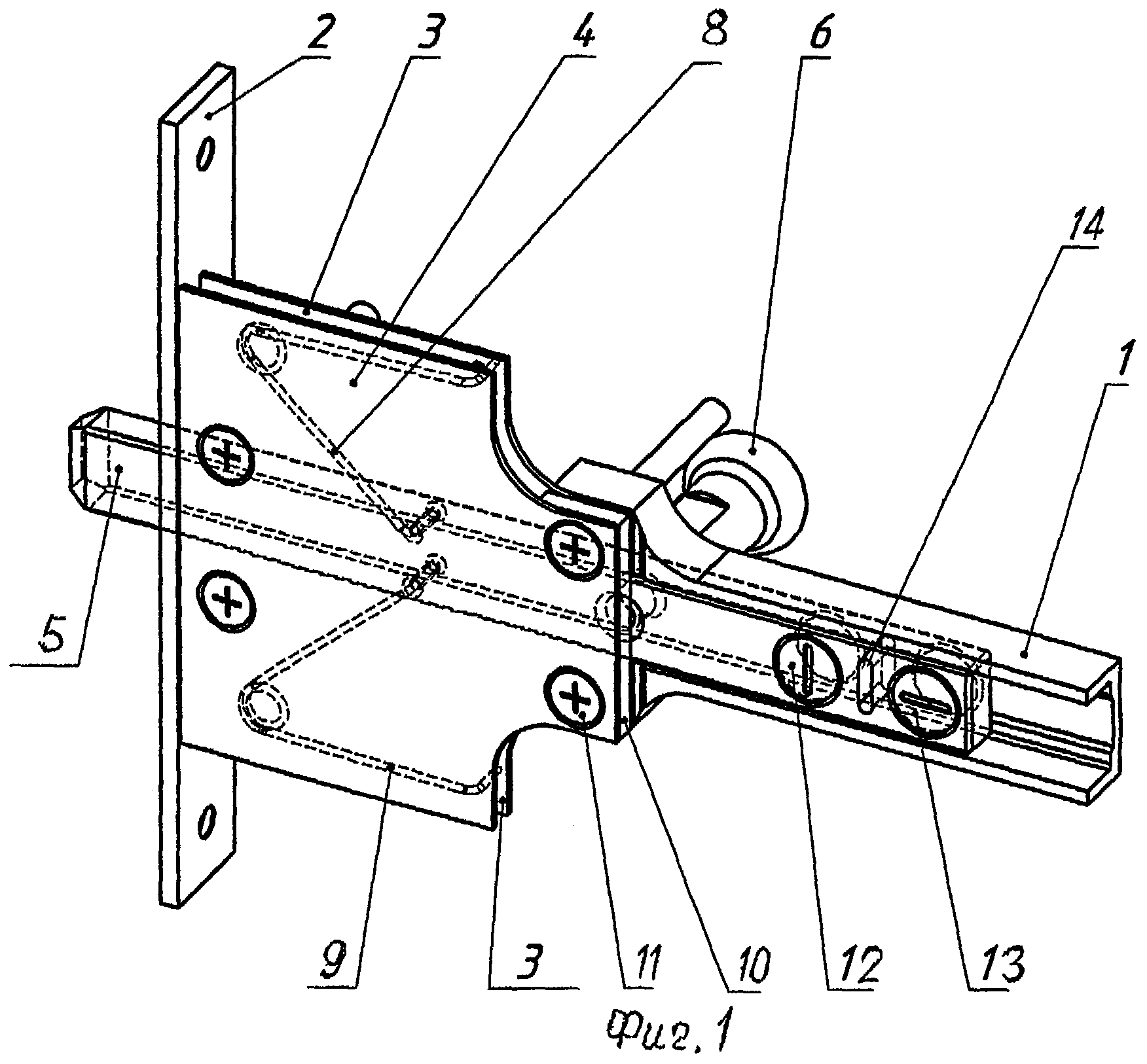
На фиг.1 показан общий вид запирающего устройства в аксонометрической проекции.

[8]

На фиг.2 показано запирающее устройство в закрытом положении.

[9]

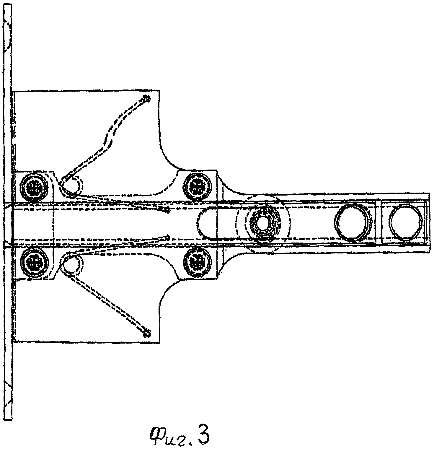
На фиг.3 - запирающее устройство в открытом положении.

[10]

На фиг.4 показана схема распределения усилий от действия витых пружин кручения на ригель (вид А на фиг.2).

[11]

На фиг.5 представлен вид дверного полотна снаружи, в котором установлено запирающее устройство.

[12]

На фиг.6 - вид дверного полотна изнутри.

[13]

Запирающее устройство состоит из корпуса с направляющим профилем 1 и торцевой планкой 2. Корпус также имеет заднюю стенку, которая может быть выполнена, например, из двух пластин 3, и крышку 4. В направляющем профиле установлен с возможностью возвратно-поступательного перемещения ригель 5, к которому прикреплена ручка 6 управления ригелем, и выполнен продольный паз 7, длина которого равна ходу ригеля 5, ограничивающий перемещение ручки 6 управления ригелем и ригеля 5. Запирающее устройство также содержит механизм фиксации ригеля в крайних положениях, выполненный в виде двух, симметрично установленных относительно продольной оси ригеля 5 витых пружин кручения 8 и 9. Пружины установлены в корпусе симметрично относительно продольной оси ригеля, при этом один из концов каждой пружины закреплен на задней стенке, а другой - на ригеле. Между задней стенкой и крышкой установлена планка 10, которая обеспечивает необходимый зазор между этими элементами. Задняя стенка и крышка соединены между собой посредством винтов 11. В хвостовике ригеля 5 выполнены сквозные отверстия, в которые вставлены светофильтры 12 и 13 разного цвета, например красного и зеленого, которые обеспечивают индикацию открытого и закрытого положений запирающего устройства. В дверном полотне, в свою очередь, выполнено отверстие, через которое осуществляется визуализация состояния запирающего устройства снаружи. Данное отверстие может быть выполнено сквозным, что обеспечивает подсветку светофильтров за счет внутреннего освещения помещения. Поскольку запирающее устройство оборудовано только одной ручкой управления ригелем, которой можно перемещать ригель в закрытое или открытое положение изнутри, могут возникнуть нештатные ситуации, при которых необходимо открыть дверь снаружи. Для решения этой задачи в хвостовике ригеля выполнен поперечный паз 14, в который можно вставить любой плоский предмет, например отвертку, и перевести ригель в открытое положение.

[14]

Запирающее устройство работает следующим образом.

[15]

Для закрывания или открывания запирающего устройства ригель 5 перемещают ручкой управления 6 в направляющем профиле 1 в одно из фиксированных положений ("закрыто" или "открыто"), индикация которых осуществляется светофильтрами 12 и 13. При переводе ригеля 5 из открытого в закрытое положения и наоборот витые пружины кручения 8 и 9 дожимают его до упора ручки 6 управления ригелем в край продольного паза 7. Эти пружины, расположенные симметрично относительно продольной оси ригеля, противодействуя друг другу, уравновешивают усилия прижатия ригеля к направляющему профилю, снижая тем самым трение (см. фиг.4). При необходимости открыть дверь снаружи используется поперечный паз 14, в который вставляют плоский предмет, например отвертку, и переводят ригель в открытое положение.

[16]

Изобретение позволит повысить надежность устройства и упростить его конструкцию, позволяющую обеспечить индикацию открытого и закрытого положений.

Как компенсировать расходы
на инновационную разработку
Похожие патенты