патент
№ RU 2650049
МПК H01Q21/00

СПОСОБ УСИЛЕНИЯ МОЩНОСТИ РАДИОЧАСТОТНОГО СИГНАЛА

Авторы:
Тушнов Петр Анатольевич
Номер заявки
2017112010
Дата подачи заявки
10.04.2017
Опубликовано
06.04.2018
Страна
RU
Как управлять
интеллектуальной собственностью
Чертежи 
4
Реферат

Изобретение относится к области радиоэлектроники и может быть использовано для усиления мощности радиочастотного сигнала, в приемо-передающем СВЧ-модуле активной фазированной антенной решетки, в частности радиолокационной станции, работающей в импульсном режиме. Для усиления мощности радиочастотного сигнала подают радиочастотный сигнал на вход передающего тракта, включающего по меньшей мере предварительный и выходной усилители мощности, содержащие транзисторы, работающие в режиме глубокого насыщения. Предварительно формируют калибровочную таблицу, отражающую зависимость между мощностью на выходе приемо-передающего канала и соответствующим напряжением питания каждого из упомянутых усилителей мощности. Напряжение питания выходного усилителя мощности выбирают из условия получения заданной мощности на выходе приемо-передающего канала, а напряжение питания предварительного усилителя мощности выбирают из условия получения максимального значения КПД выходного усилителя мощности. Затем на выходе приемо-передающего канала получают радиочастотный сигнал заданной мощности путем подачи на каждый из упомянутых усилителей мощности соответствующего напряжения питания, выбираемого в соответствии с упомянутой калибровочной таблицей. Технический результат заключается в уменьшении энергопотребления и тепловых потерь. 1 з.п. ф-лы, 5 ил.

Формула изобретения

1. Способ усиления мощности радиочастотного сигнала в приемо-передающем СВЧ-модуле активной фазированной антенной решетки, включающем в себя по меньшей мере один приемо-передающий канал, содержащий приемный и передающий тракты, включающий подачу радиочастотного сигнала на вход передающего тракта, включающего в себя по меньшей мере предварительный и выходной усилители мощности, содержащие транзисторы, работающие в режиме глубокого насыщения, и управление каждым из упомянутых усилителей мощности, отличающийся тем, что предварительно формируют калибровочную таблицу, отражающую зависимость между мощностью на выходе приемо-передающего канала и соответствующим напряжением питания каждого из упомянутых усилителей мощности, при этом напряжение питания выходного усилителя мощности выбирают из условия получения заданной мощности на выходе приемо-передающего канала, а напряжение питания предварительного усилителя мощности выбирают из условия получения максимального значения КПД выходного усилителя мощности, и затем на выходе приемо-передающего канала получают радиочастотный сигнал заданной мощности путем подачи на каждый из упомянутых усилителей мощности соответствующего напряжения питания, выбираемого в соответствии с упомянутой калибровочной таблицей.

2. Способ по п. 1, отличающийся тем, что упомянутая калибровочная таблица дополнительно отражает зависимость между напряжением питания каждого из упомянутых усилителей мощности и частотой радиочастотного сигнала и/или температурой в зоне усилителей мощности.

Описание

[1]

Изобретение относится к области радиоэлектроники и может быть использовано для усиления мощности радиочастотного сигнала в приемо-передающем СВЧ-модуле активной фазированной антенной решетки.

[2]

Известен способ усиления мощности радиочастотного сигнала в приемо-передающем СВЧ-модуле активной фазированной антенной решетки, включающем в себя, по меньшей мере, один приемо-передающий канал, содержащий приемный и передающий тракты, включающий подачу радиочастотного сигнала на вход передающего тракта, включающего в себя предварительный, промежуточный и выходной усилители мощности, содержащие транзисторы, работающие в режиме глубокого насыщения, и управление каждым из упомянутых усилителей мощности (см. US 5093667, H03F 3/68, 03.03.1992).

[3]

Известный способ принят в качестве ближайшего аналога заявленного способа.

[4]

Недостатки известного способа заключаются в низкой эффективности усиления мощности радиочастотного сигнала в силу отсутствия возможности обеспечения работы выходного усилителя с максимальным КПД.

[5]

Технической проблемой, решаемой настоящим изобретением, является создание способа усиления мощности радиочастотного сигнала в приемо-передающем СВЧ-модуле активной фазированной антенной решетки, в частности, используемой в радиолокационной станции, работающей в импульсном режиме, лишенного указанных недостатков.

[6]

В результате достигается технический результат, заключающийся в повышении эффективности усиления мощности радиочастотного сигнала и, как следствие, уменьшении энергопотребления и тепловых потерь.

[7]

Конкретно, технический результат достигается путем осуществления способа усиления мощности радиочастотного сигнала в приемо-передающем СВЧ-модуле активной фазированной антенной решетки, включающем в себя, по меньшей мере, один приемо-передающий канал, содержащий приемный и передающий тракты, включающего подачу радиочастотного сигнала на вход передающего тракта, включающего в себя, по меньшей мере, предварительный и выходной усилители мощности, содержащие транзисторы, работающие в режиме глубокого насыщения, и управление каждым из упомянутых усилителей мощности. Предварительно формируют калибровочную таблицу, отражающую зависимость между мощностью на выходе приемо-передающего канала и соответствующим напряжением питания каждого из упомянутых усилителей мощности. Напряжение питания выходного усилителя мощности выбирают из условия получения заданной мощности на выходе приемо-передающего канала, а напряжение питания предварительного усилителя мощности выбирают из условия получения максимального значения КПД выходного усилителя мощности. Затем на выходе приемо-передающего канала получают радиочастотный сигнал заданной мощности путем подачи на каждый из упомянутых усилителей мощности соответствующего напряжения питания, выбираемого в соответствии с упомянутой калибровочной таблицей.

[8]

Согласно частному варианту выполнения, упомянутая калибровочная таблица дополнительно отражает зависимость между напряжением питания каждого из упомянутых усилителей мощности и частотой радиочастотного сигнала и/или температурой в зоне усилителей мощности.

[9]

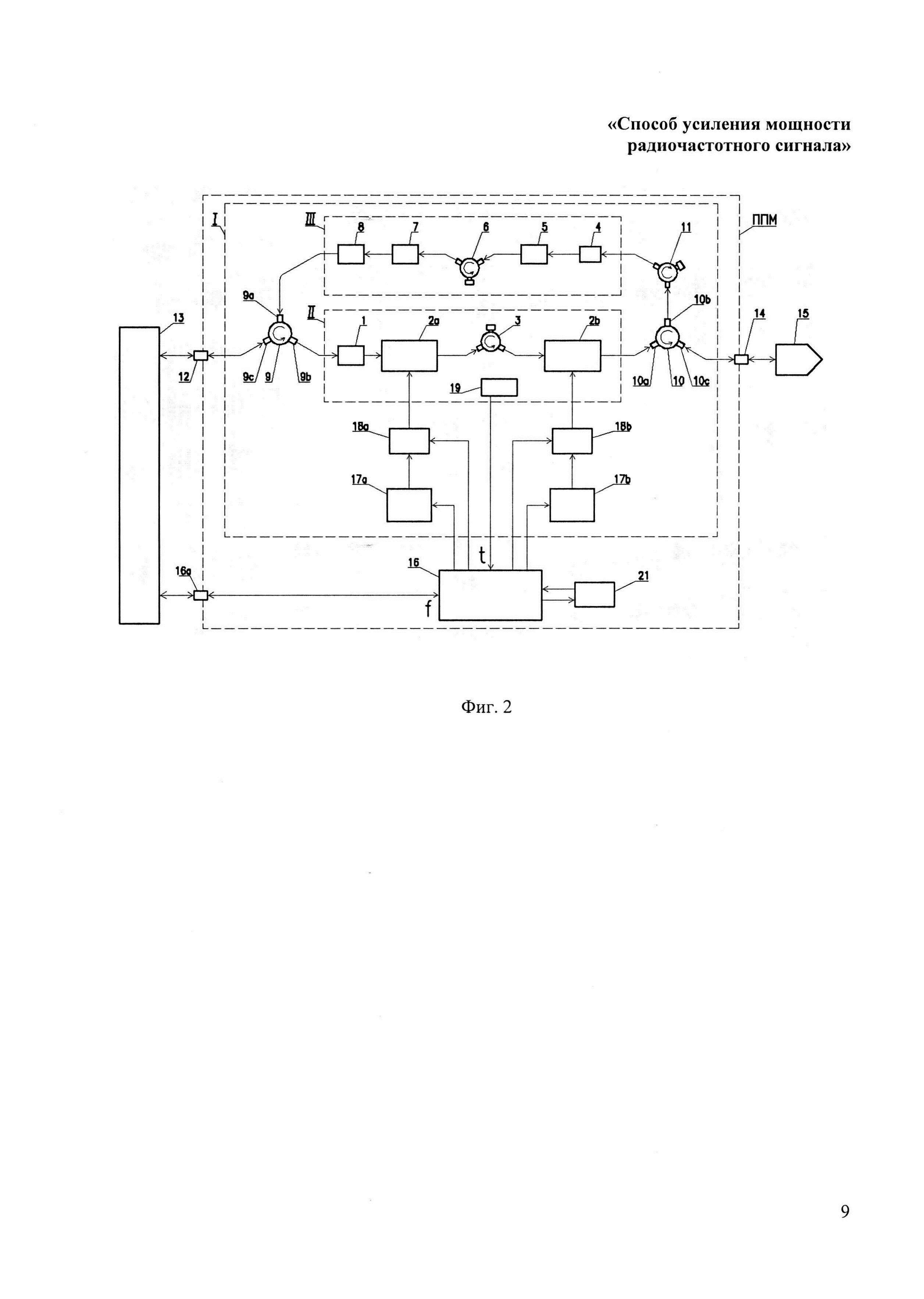
На фиг. 1 показано схематичное изображение приемо-передающего СВЧ-модуля в режиме калибровки, согласно частному варианту выполнения.

[10]

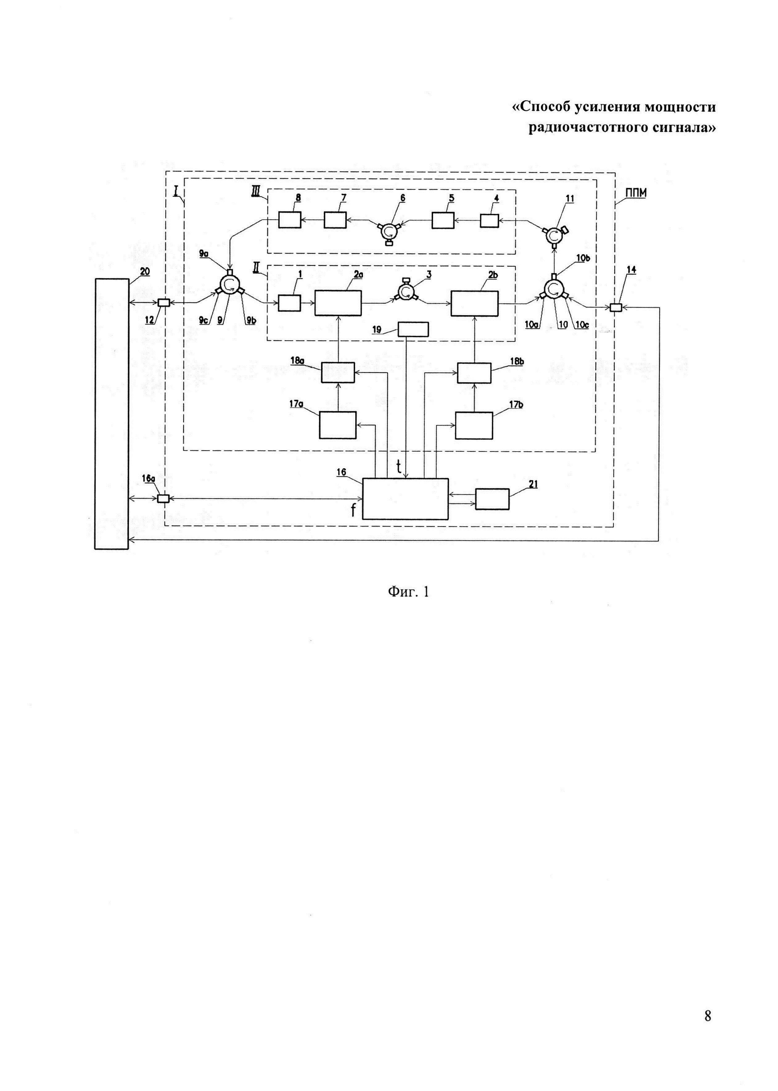
На фиг. 2 показано схематичное изображение приемо-передающего СВЧ-модуля в рабочем режиме, согласно частному варианту выполнения.

[11]

На фиг. 3 представлены экспериментальные зависимости выходной мощности усилителя мощности на базе транзистора IGN2932M75 на частоте 3 ГГц от входной мощности при различных значениях напряжения питания.

[12]

На фиг. 4 представлены экспериментальные зависимости выходной мощности усилителя мощности на базе транзистора IGN2932M75 на частоте 3 ГГц от напряжения питания при различных значениях входной мощности.

[13]

На фиг. 5 представлены экспериментальные зависимости КПД усилителя мощности на базе транзистора IGN2932M75 на частоте 3 ГГц от входной мощности при различных значениях напряжения питания.

[14]

Приемо-передающий СВЧ-модуль (далее - ППМ) активной фазированной антенной решетки, в частности радиолокационной станции, работающей в импульсном режиме, показанный на фиг. 1 и 2, содержит приемо-передающий канал I, включающий в себя передающий тракт II, содержащий соединенные последовательно фазовращатель 1, предварительный и выходной усилители мощности 2а и 2b и вентиль 3, расположенный между ними, и приемный тракт III, включающий в себя соединенные последовательно защитное устройство 4, малошумящий усилитель (МШУ) 5, вентиль 6, фазовращатель 7 и аттенюатор 8.

[15]

Предварительный и выходной усилители мощности 2а и 2b содержат транзисторы, работающие в режиме глубокого насыщения.

[16]

Приемо-передающий канал I также включает в себя циркуляторы 9 и 10, обеспечивающие разделение приемного (III) и передающего (II) трактов, и вентиль 11. Вход 9а циркулятора 9 соединен с выходом аттенюатора 8 (являющимся выходом приемного тракта III), а выход 9b соединен с входом фазовращателя 1 (являющимся входом передающего тракта II). Циркулятор 9, кроме этого, имеет вход-выход 9с, соединенный с СВЧ-соединителем 12, который, в свою очередь, соединен с устройством формирования и обработки радиочастотного сигнала 13.

[17]

Вход защитного устройства 4 (являющийся входом приемного тракта III) соединен с выходом вентиля 11, вход которого соединен с выходом 10b циркулятора 10, вход 10а которого соединен с выходом усилителя мощности 2b (являющимся выходом передающего тракта II). Циркулятор 10, кроме этого, имеет вход-выход 10с, соединенный с СВЧ-соединителем 14, который, в свою очередь, может быть соединен с излучателем 15.

[18]

В качестве СВЧ-соединителей 12 и 14 могут быть использованы участки СВЧ-линий (например, полосковых линий), неразрывно соединенные, например, путем сварки или пайки, или разъемные соединители (например, СВЧ-разъемы).

[19]

Кроме этого, ППМ содержит систему управления 16, управляемые источники питания 17а и 17b и модуляторы 18а и 18b, обеспечивающие режим импульсного питания. Один из входов каждого из модуляторов 18а и 18b соединен с выходом соответствующего управляемого источника питания 17а и 17b, другой вход соединен с одним из соответствующих выходов системы управления 16, а выход соединен с входом питания соответствующего усилителя мощности 2а и 2b.

[20]

Управляющий вход каждого из управляемых источников питания 17а и 17b соединен с соответствующим выходом системы управления 16. Каждый из управляемых источников питания 17а и 17b снабжен входом питания от внешнего источника питания (не показан).

[21]

В качестве каждого из управляемых источников питания 17а и 17b может быть использован управляемый преобразователь напряжения.

[22]

Система управления 16 выполнена с возможностью ввода информации о температуре t в зоне усилителей мощности (от датчика температуры 19) и имеет вход 16а для подсоединения устройства формирования и обработки радиочастотного сигнала 13 или калибровочного устройства 20 (в частности, для получения информации о частоте f радиочастотного сигнала).

[23]

Система управления 16, кроме этого, связана с запоминающим устройством 21, предназначенным для хранения данных калибровочной таблицы, отражающих зависимость между мощностью на выходе приемо-передающего канала I и напряжением питания каждого из усилителей мощности 2а и 2b.

[24]

Запоминающее устройство 21 также предназначено для хранения данных калибровочной таблицы, отражающих зависимость между напряжением питания каждого из усилителей мощности 2а и 2b и частотой радиочастотного сигнала и/или температурой в зоне усилителей мощности.

[25]

В общем случае в состав ППМ могут входить два и более одинаковых приемо-передающих канала. При этом система управления 16 и запоминающее устройство 21 могут являться общими для всех каналов ППМ.

[26]

Заявленный способ усиления мощности радиочастотного сигнала осуществляют следующим образом.

[27]

Предварительно производят калибровку ППМ при его работе на передачу (при помощи калибровочного устройства 20, подключаемого к ППМ через СВЧ-соединители 12 и 14).

[28]

Для каждого значения мощности на выходе приемо-передающего канала I подбирают соответствующее значение напряжения питания каждого из усилителей мощности 2а и 2b.

[29]

Напряжение питания выходного усилителя мощности 2b (обозначаемое UВУМ), подбирают из условия получения заданной мощности на выходе приемо-передающего канала I (исходя из зависимостей между параметрами типовых усилителей, содержащих транзисторы, работающие в режиме глубокого насыщения, показанных на фиг. 3 и 4 и раскрытых в патентном документе US 5093667 на фиг. 13).

[30]

Напряжение питания предварительного усилителя мощности 2а (обозначаемое UПУМ) подбирают из условия получения максимального значения КПД выходного усилителя мощности 2b (исходя из зависимостей между параметрами типовых усилителей, содержащих транзисторы, работающие в режиме глубокого насыщения, см. там же). Для каждого значения мощности на выходе приемо-передающего канала I (и соответствующему ему значения UВУМ) варьируют UПУМ с шагом, задаваемым калибровочным устройством 20. Затем для каждого значения UПУМ рассчитывают значение КПД выходного усилителя 2b (равное отношению значения выходной мощности выходного усилителя мощности 2b к значению мощности питания, подаваемой на выходной усилитель мощности 2b). При этом значение мощности питания, подаваемого на выходной усилитель мощности 2b, рассчитывают как произведение UВУМ и силы тока, потребляемого выходным усилителем мощности 2b.

[31]

Из полученного массива значений UПУМ и соответствующих им значений КПД выходного усилителя мощности 2b для каждого значения мощности на выходе приемо-передающего канала I выбирают посредством калибровочного устройства 20 такое значение UПУМ, которому соответствует максимальное значение КПД выходного усилителя 2b.

[32]

Формируют калибровочную таблицу, отражающую зависимость между мощностью на выходе приемо-передающего канала I и напряжением питания усилителя мощности 2а и между мощностью на выходе приемо-передающего канала I и напряжением питания усилителя мощности 2b, данные которой подают с калибровочного устройства 20 на вход 16а системы управления 16 и записывают в запоминающее устройство 21.

[33]

Упомянутая сформированная калибровочная таблица дополнительно может отражать зависимость между напряжением питания каждого из упомянутых усилителей мощности и частотой радиочастотного сигнала и/или температурой в зоне усилителей мощности.

[34]

В рабочем режиме при работе ППМ на передачу радиочастотный сигнал подают из устройства формирования и обработки радиочастотного сигнала 13 в фазовращатель 1, посредством которого выставляют необходимую фазу радиочастотного сигнала. Далее радиочастотный сигнал подают в предварительный усилитель мощности 2а и затем в выходной усилитель мощности 2b, где усиливают до требуемого уровня, и затем подают через циркулятор 10 в излучатель 15.

[35]

Усиление мощности радиочастотного сигнала на каждом из усилителей мощности 2а и 2b обеспечивают за счет управления напряжением питания каждого из усилителей мощности 2а и 2b (посредством управляющего сигнала, например, в виде цифрового кода, подаваемого на соответствующий управляемый источник питания 17а или 17b от системы управления 16 в соответствии с калибровочной таблицей).

[36]

Если в передающем тракте между предварительным усилителем 2а и выходным усилителем 2b дополнительно расположены еще один или более усилителей, то управление предварительным усилителем 2а производят с учетом последующего дополнительного усиления перед поступлением радиочастотного сигнала на вход выходного усилителя 2b.

[37]

При работе ППМ на прием отраженный сигнал подают через излучатель 15 и циркулятор 10 в защитное устройство 4, которое защищает приемный тракт от воздействия мощностей большого уровня. Затем сигнал подают в МШУ 5, где усиливают, затем - в фазовращатель 7 и аттенюатор 8, посредством которых выставляют необходимую фазу сигнала, и затем - в устройство формирования и обработки радиочастотного сигнала 13.

Как компенсировать расходы
на инновационную разработку
Похожие патенты