патент
№ RU 2653180
МПК H01P1/10

МНОГОКАНАЛЬНОЕ КОММУТИРУЮЩЕЕ УСТРОЙСТВО СВЧ С ИЗОЛИРОВАННЫМИ ЭЛЕКТРОДАМИ

Авторы:
Адонин Алексей Сергеевич
Номер заявки
2017116633
Дата подачи заявки
12.05.2017
Опубликовано
07.05.2018
Страна
RU
Как управлять
интеллектуальной собственностью
Чертежи 
3
Реферат

Изобретение относится к полупроводниковым изделиям, предназначенным для СВЧ управляющих устройств. Сущность изобретения заключается в том, что коммутирующее устройство СВЧ с изолированными электродами изготовлено на графене, где в качестве подложки использован кремний, затем последовательно размещены: слой оксида кремния (SiO), двумерный слой графена, который служит нижней обкладкой конденсатора, поверх которого нанесен комбинированный диэлектрик, содержащий аморфный слой оксида алюминия (AlO), аморфный слой диэлектрика с высокой диэлектрической постоянной, например двуокиси гафния (HfO) и повторно аморфный слой оксида алюминия (AlO), а поверх диэлектрика размещены металлические электроды полосковой формы, которые образуют верхнюю обкладку, по меньшей мере, трех управляемых напряжением конденсаторов, образующих 3-х электродную 2-х канальную конфигурацию. Технический результат – повышение уровня допустимой входной мощности, повышение скорости переключения и уменьшение входных потерь, повышение надежности приборов, уровня радиационной стойкости. 3 з.п. ф-лы, 3 ил.

Формула изобретения

1. Коммутирующее устройство СВЧ с изолированными электродами, содержащее три линии передачи, одна линия передачи предназначена для входа СВЧ-сигнала, две другие для выхода, отличающееся тем, что коммутирующее устройство СВЧ изготовлено на графене, где в качестве подложки использован кремний, затем последовательно размещены: слой оксида кремния (SiO2), двумерный слой графена, который служит нижней обкладкой конденсатора, поверх которого нанесен комбинированный диэлектрик, содержащий аморфный слой оксида алюминия (Al2O3), аморфный слой диэлектрика с высокой диэлектрической постоянной, например двуокиси гафния (HfO2) и повторно аморфный слой оксида алюминия (Al2O3), а поверх диэлектрика размещены металлические электроды полосковой формы, которые образуют верхнюю обкладку, по меньшей мере, трех управляемых напряжением конденсаторов, образующих 3-х электродную 2-х канальную конфигурацию.

2. Коммутирующее устройство СВЧ по п. 1, отличающееся тем, что коммутирующее устройство содержит ряд 3-х электродных 2-х канальных конфигураций, причем выходные сигналы первой конфигурации являются входными сигналами для следующих аналогичных конфигураций

3. Коммутирующее устройство СВЧ по п. 1, отличающееся тем, что диэлектрик с высокой диэлектрической постоянной, могут использоваться диэлектрики других оксидов редких и редкоземельных металлов с высокой диэлектрической постоянной.

4. Коммутирующее устройство СВЧ по п. 1, отличающееся тем, что для повышения рабочих напряжений коммутирующего устройства увеличивается толщина комбинированного диэлектрика за счет толщины диэлектрика с высокой диэлектрической постоянной, эффективность работы емкостной связи обеспечивается при толщинах двуокиси гафния (HfO2) менее 30 нм.

Описание

[1]

Изобретение относится к изделиям микроэлектроники и приборам, предназначенным для СВЧ управляющих устройств, и может быть использовано при создании нового поколения СВЧ элементной базы и монолитных интегральных схем (МИС СВЧ) на графене.

[2]

Высокочастотные переключатели играют важную роль в работе многих типов современных систем, таких как радар, фазированная решетка, так как добавляют/снижают фазовую задержку при использовании в сочетании с сегментами линии передачи, используются в различных системах беспроводной связи, таких как мобильный телефон, приемники глобальной спутниковой системы определения местонахождения и/или тому подобное.

[3]

Традиционные ВЧ-ключи на основе кремниевого P-I-N диода приводят к дополнительным потерям напряжения постоянного тока, поскольку диод потребляет энергию. Кроме того, кремниевые P-I-N диоды трудно адаптировать к применениям, которые требуют как коммутацию мощности непрерывной волны (CW), так и высокие скорости переключения. В частности, так как высокочастотная энергия рассеивается в P-I-N диоде во время своего относительно длительного переходного процесса при коммутации, номинальная мощность "горячего переключения" P-I-N ключа, как правило, значительно ниже, чем стационарное значение, даже при низкой скорости переключения. Недостатком переключательных СВЧ диодов с p-i-n структурой является инерционность процесса рассасывания носителей зарядов из i-слоя при переключении диода с прямого направления на обратное, так как толщина слоя может составлять несколько десятков микрометров, а скорость движения носителей заряда ограничена.

[4]

Кроме того, P-I-N ключ требует схем управления, которые, как правило, сложные, громоздкие и дорогие. В результате, существует потребность в разработке переключателей на основе активных устройств.

[5]

Значительно большую скорость переключения можно получить при использовании диодов Шоттки, изготовленных на арсениде галлия. Однако уровень переключаемой СВЧ мощности при этом на несколько порядков ниже, чем при применении переключательных СВЧ диодов с p-i-n структурой.

[6]

Известен переключатель СВЧ (RU №2072593, 27.01.1997), содержащий соединение трех линий передачи с одинаковыми волновыми сопротивлениями, одна линия передачи предназначена для входа СВЧ-сигнала, две другие - для выхода, каждая из двух линий передачи на выходе снабжена, по крайней мере, одним электронным ключом, в качестве которых использованы полевые транзисторы с барьером Шотки, при этом их стоки соединены с линиями передачи на выходе, истоки - с линией передачи на входе, а на затворы подают постоянное управляющее напряжение. Недостатком данного устройства является низкая надежность, обусловленная прямыми потерями СВЧ сигнала.

[7]

Кроме того, известно коммутирующее устройство СВЧ (RU №2574811, 14.01.2016) на нитриде галлия, где в качестве подложки использован сапфир, затем последовательно размещены: буферный слой AlN, буферный слой из GaN, второй буферный слой из нелегированного нитрида галлия (i-тип), твердый раствор AlXGa1-XN, и в интерфейсе GaN/AlXGa1-XN гетероструктуры образован двумерный электронный газ высокой плотности, который служит нижней обкладкой конденсатора, поверх твердого раствора AlXGa1-XN размещен химически устойчивый сглаживающий слой из нитрида галлия, поверх которого нанесен диэлектрик с высокой диэлектрической проницаемостью, например слой из двуокиси гафния. Поверх диэлектрика размещены металлические электроды полосковой формы, которые образуют верхнюю обкладку конденсатора, при этом, коммутирующее устройство содержит, по меньшей мере, три управляемых напряжением переменных конденсатора, образующих 3-х электродную 2-х канальную конфигурацию. Данное коммутирующее устройство СВЧ является наиболее близким аналогом и выступает в качестве прототипа.

[8]

Недостатком коммутирующего устройства СВЧ, при его высоких технических характеристиках, является сложность формирования заземляющих контактов из-за наличия изолирующей подложки сапфира, что приводит к увеличению импеданса входных потерь. Введение дополнительных технологических операций, например формирования в сапфире сквозных заземляющих отверстий, значительно усложняют технологию создания СВЧ устройств.

[9]

Технический результат заявляемого изобретения заключается в повышении уровня допустимой входной мощности, повышении скорости переключения и уменьшении входных потерь, повышении надежности приборов, уровня радиационной стойкости.

[10]

Для достижения указанного технического результата необходимо решение задач устранения недостатков прототипа и улучшения технических характеристик устройства.

[11]

Для этого переключатель СВЧ изготовлен на графене, где в качестве подложки использован кремний. Затем последовательно размещены: слой оксида кремния (SiO2), двумерный слой графена, который служит нижней обкладкой конденсатора, поверх которого нанесен комбинированный диэлектрик, содержащий аморфный слой оксида алюминия (Al2O3), аморфный слой диэлектрика с высокой диэлектрической постоянной, например двуокиси гафния (HfO2) и повторно аморфный слой оксида алюминия (Al2O3), поверх комбинированного диэлектрика размещены металлические электроды полосковой формы, которые образуют верхнюю обкладку конденсаторов, по меньшей мере, трех управляемых напряжением конденсаторов, образующих двойные ВЧ-ключи.

[12]

В мощном переключателе СВЧ на основе графена используется низкоомная подложка кремния, в которой технологически просто формируются эффективные заземляющие контакты; двумерный слой графена - это двумерная аллотропная форма углерода, в которой атомы объединены в гексагональную кристаллическую решетку, материал с очень высокой проводимостью электричества и тепла; подвижность носителей заряда в графене, при комнатной температуре достигает 200000 см2/В⋅c (А.K. Geim, K.S. Novoselov, Nature Matrerials 6, 183 (2007); K.S. Novoselov, A.K. Geim, S.V. Morosov, D. Jiang, Y. Zhang, S.V. Dubonos, I.V. Grigorieva, A.A. Firsov, «Electric Field Effect in Atomically Thin Carbon Films», Science Vol. 306, No. 6596, pp. 666-669, October 22, 2004), что обеспечит повышенные скорости переключения и наличие низкого импеданса контактов. Для повышения надежности приборов предусмотрено капсулирование двуокиси гафния (HfO2) сверху и снизу аморфными слоями оксида алюминия (Al2O3). Длительная эксплуатация и воздействие повышенных температур могут приводить к кристаллизации HfO2, что может привести к изменению параметров СВЧ переключателя и повышению уровня деградации. Аморфные слои оксида алюминия (Al2O3) не подвержены рекристаллизации в широком диапазоне температур (во всем диапазоне рабочих и критических температур работы СВЧ устройств). Аморфные диэлектрики на границах с двуокисью гафния не будут создавать центры кристаллизации и будут препятствовать кристаллизации двуокиси гафния, что позволит повысить уровень радиационной стойкости СВЧ устройств и их надежность.

[13]

Принципиальная схема заявляемого изобретения приведена на фиг. 1, где:

[14]

1. Подложка кремния;

[15]

2. Слой оксида кремния (SiO2);

[16]

3. Двумерный слой графена (нижняя обкладка конденсатора);

[17]

4. Аморфный слой оксида алюминия (Al2O3);

[18]

5. Аморфный слой диэлектрика с высокой диэлектрической проницаемостью (ε) (принято считать, если у диэлектрика ε более 20, то такие диэлектрики называют high-K диэлектрики, например у оксида гафния (HfO2)ε≥20);

[19]

6. Аморфный слой оксида алюминия (Al2O3);

[20]

7. Металлический электрод.

[21]

На подложке кремния 1 толщиной 150-200 мкм последовательно размещены слой оксида кремния 2, двухмерный слой графена 3 (нижняя обкладка конденсатора). Поверх слоя графена 3 нанесен комбинированный диэлектрик, включающий последовательно нанесенные слои 4, 5, 6:

[22]

- аморфный слой оксида алюминия (Al2O3) 1-3 нм;

[23]

- аморфный слой диэлектрика с высокой диэлектрической проницаемостью (ε) оксида гафния (HfO2) 7-10 нм;

[24]

- аморфный слой оксида алюминия (Al2O3) 1-3 нм.

[25]

Оксид гафния является представителем наиболее перспективных диэлектрических материалов для микроэлектроники, отличается высокой технологичностью. Этот материал обладает высокой диэлектрической проницаемостью (ε≥20-25) и шириной запрещенной зоны Eg=5,8 эв. Кроме того, двуокись гафния как диэлектрический материал подходит для устройств с парными емкостно соединенными контактами с изолированными электродами, имеет высокую диэлектрическую проницаемость и пригоден для более сильной емкостной связи. Для повышения надежности приборов предусмотрено капсулирование двуокиси гафния (HfO2) сверху и снизу аморфными слоями 4 и 6 оксида алюминия (Al2O3). Длительная эксплуатация и воздействие повышенных температур могут приводить к кристаллизации HfO2, что может привести к изменению параметров СВЧ переключателя и повышению уровня деградации. Аморфные слои 4, 6 оксида алюминия (Al2O3) не подвержены рекристаллизации в широком диапазоне температур (во всем диапазоне рабочих и критических температур работы СВЧ устройств), наличие аморфного диэлектрика оксида алюминия с двух сторон двуокиси гафния не будет создавать центры кристаллизации для двуокиси гафния и это позволит повысить уровень радиационной стойкости СВЧ устройств и их надежность.

[26]

Поверх комбинированного диэлектрика размещены изолированные электроды 7 полосковой формы Mo/Ti/Au.

[27]

Таким образом, в данном изобретении предлагается конструкция коммутирующего устройства, которая позволяет использовать парные емкостные контакты. Соединенные "спина к спине" конденсаторы образуют ВЧ-ключи, тем самым устраняя потребность в омических контактах. Приведенная конструкция коммутирующего устройства сочетает преимущества графена, материала с очень высокой проводимостью электричества и тепла; подвижность носителей заряда в графене при комнатной температуре достигает 200000 см2/В⋅с. Это обеспечивает очень высокую проводимость и низкое сопротивление канала, и рекордно высокие токи насыщения.

[28]

Использование комбинированного диэлектрика Al2O3/HfO2/Al2O3 обеспечивает низкие токи утечки и хорошую емкостную связь.

[29]

Принцип работы 3-х электродного 2-х канального устройства приведен на фиг. 2. Входной импульс может быть подан между землей Eo и электродом E2, в то время как два маршрутных канала (каналы A, B) подсоединены между землей Eo и электродами E3 и E1 соответственно. Для работы коммутирующего устройства управляющее напряжение (+UC1) может быть подано на E3, а отрицательное управляющее напряжение (-UC1) может быть подано на E1. Когда полярность управляющего напряжения положительна, конденсатор для E1 будет включен, а для E3 будет выключен. В результате, входной сигнал будет направлен к каналу, подсоединенному между E3 и Eo (канал A). Аналогично, когда полярность управляющего напряжения отрицательна, то входной сигнал будет направлен между E1 и Eo (канал B).

[30]

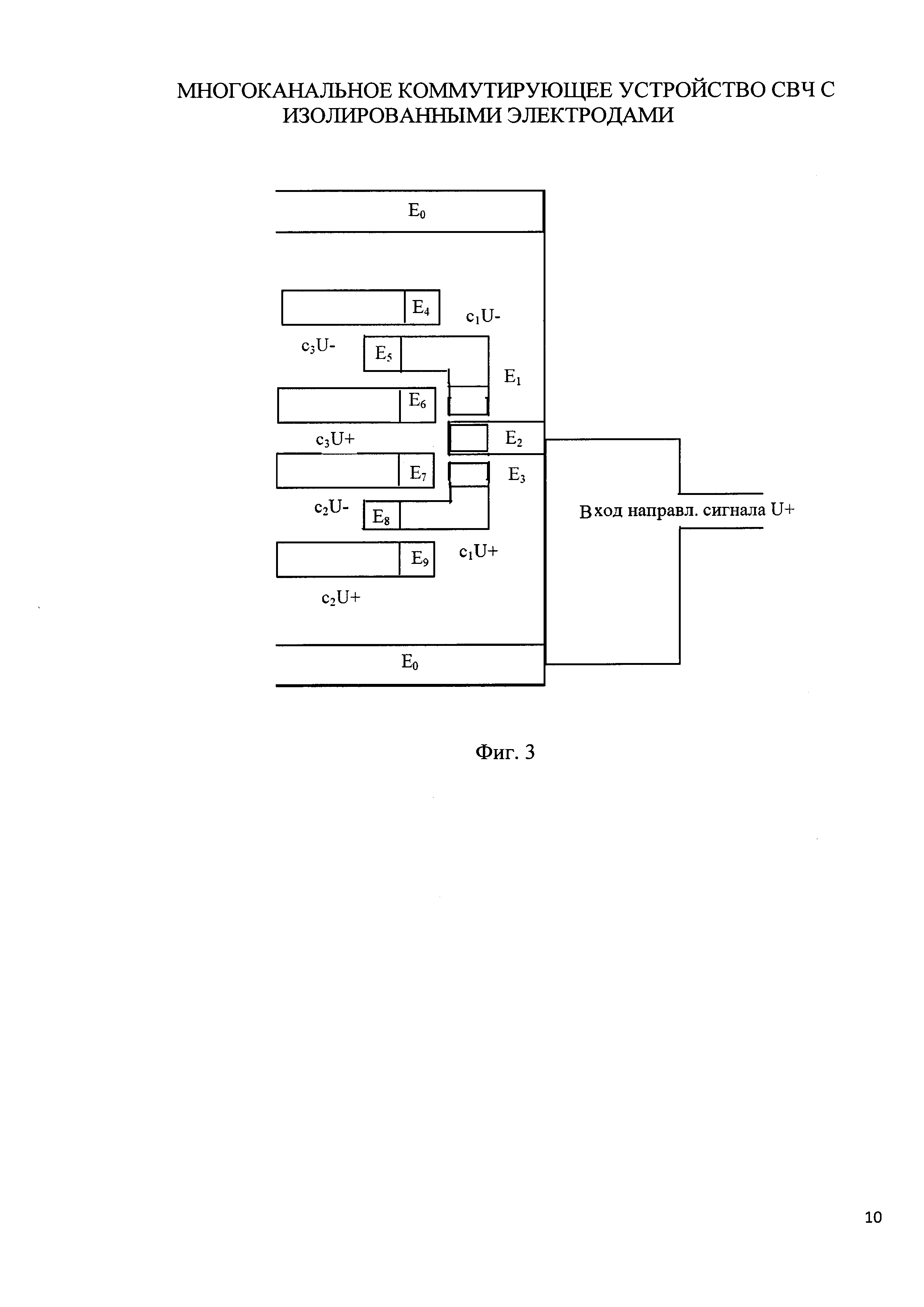
Принцип работы коммутирующего устройства может быть распространен на ВЧ коммутаторы любого количества каналов. На фиг. 3 показан четырехканальный коммутатор с вариантом реализации изобретения. В этом случае каждый выходной сигал трехэлектродной конфигурации является входным сигналом для другой трехэлектродной конфигурации. В частности, входной сигнал подан между землей Eo и электродом E2, а четыре маршрутных канала подсоединены между землей и E4, E6, E7 и E9 соответственно. Подавая три управляющих напряжения UC1, UC2, UC3 между электродами E1 и E3, E4 и E6, а также E7 и E9 соответственно и изменяя их полярности, как требуется, входной сигнал может быть направлен на любой желаемый канал, соединенный с E4, E6, E7, или E9.

Как компенсировать расходы
на инновационную разработку
Похожие патенты