патент
№ RU 2637816
МПК H02K44/00

Капиллярно-пористый электрод для магнитогидродинамических плазменных устройств

Авторы:
Мартыненко Юрий Владимирович
Номер заявки
2017108625
Дата подачи заявки
15.03.2017
Опубликовано
07.12.2017
Страна
RU
Как управлять
интеллектуальной собственностью
Чертежи 
1
Реферат

Изобретение относится к энергетике и может использоваться для преобразования энергии в магнитогидродинамических (МГД) плазменных устройствах, к которым относятся МГД генераторы электрической энергии и МГД ускорители плазменных сред. Техническим результатом является создание капиллярно-пористых электродов для магнитогидродинамических плазменных устройств, не подверженных деградации и возобновляемых за счет пополнения жидкого металла из резервного объема, что увеличивает их ресурс. Для этого предложен капиллярно-пористый электрод, состоящий из замкнутого корпуса с расплавом металла, поверхность которого, обращенная к плазме, выполнена из волокнистого материала в виде пористых матов из металлических волокон металла с температурой плавления выше температуры плавления металла расплава, при этом корпус соединен с резервной емкостью с расплавом металла. Капиллярно-пористые маты выполнены из металлического войлока или представляют собой многослойную решетку. Металл расплава, металл пористого мата и эффективные размеры его пор выбирают из условия необходимой подачи расплава к поверхности мата за счет капиллярных сил. 3 з.п. ф-лы, 2 ил.

Формула изобретения

1. Капиллярно-пористый электрод для магнитогидродинамических плазменных устройств: МГД генераторов электрической энергии и МГД ускорителей плазменных сред, состоящий из корпуса с расплавом металла с размещенным в нем волокнистым материалом, отличающийся тем, что поверхность замкнутого корпуса, обращенная к плазме, выполнена из волокнистого материала в виде пористых матов из металлических волокон металла с температурой плавления выше температуры плавления металла расплава, при этом корпус соединен с резервной емкостью с расплавом металла.

2. Капиллярно-пористый электрод по п. 1, отличающийся тем, что капиллярно-пористые маты выполнены из металлического войлока.

3. Капиллярно-пористый электрод по п. 1, отличающийся тем, что капиллярно-пористые маты представляют собой многослойную решетку.

4. Капиллярно-пористый электрод по п. 1, отличающийся тем, что металл расплава, металл пористого мата и эффективные размеры его пор выбирают из условия необходимой подачи расплава к поверхности мата за счет капиллярных сил.

Описание

[1]

Использование: в магнитогидродинамических (МГД) плазменных устройствах (далее МГД преобразователь), к которым относятся МГД генераторы электрической энергии (далее МГД генератор) и МГД ускорители плазменных сред (далее МГД ускоритель).

[2]

Наибольшему разрушению подвержены огневые стенки магнитогидродинамических плазменных устройств, контактирующие с плазмой, состоящие из изолирующей стенки и токосъемных проводящих электродов. Для стационарных и квазистационарных магнитогидродинамических плазменных преобразователей энергии и ускорителей максимальную эрозию испытывают токосъемные электроды.

[3]

Мощность на единицу объема МГД преобразователя пропорциональна проводимости газа α. Проводимость газа обеспечивается за счет ионизации присадок, содержащих щелочные металлы, и для хорошей проводимости нужна как можно более высокая температура. Приэлектродный, более холодный слой плазмы имеет меньшую проводимость, и прохождение тока через приэлектродный слой возможно в следующих режимах: диффузионном, микродуговом с множеством микродуг, и - при достаточно больших токах - в режиме контракции тока и большой дуги, вызывающей эрозию электродов. Для преодоления этого недостатка необходимо повысить температуру электродов и приэлектродного пограничного слоя, и тем самым увеличить проводимость этого слоя. Ведутся поиски жаропрочных материалов, но эти работы направлены на поиск материалов для твердых электродов, которые имеют ограниченный, и при больших мощностях, весьма короткий (десятки минут и меньше) срок работы.

[4]

В отличие от твердотельных электродов капиллярно-пористые электроды, наполненные жидким металлом, могут быть возобновляемыми за счет пополнения жидкого металла из резервного объема. При этом свойства электрода не деградируют.

[5]

Имеются патенты, в которых предлагается увеличить срок работы электродов с помощью специальной конструкции электрода, содержащей керамику на основе оксидов металла (патенты №1790025, 1376898, 1698941), с помощью перемещения дуги по электроду (патент №799683).

[6]

Известен также патент №2522702 «Катод плазменного ускорителя», в котором предлагается конструкция катода для плазменного ускорителя, представляющего собой систему полых катодов, образуемых набором вольфрамовых проволок, внутри которых ионизуется рабочий газ. Капиллярные силы не используются.

[7]

Известен патент №2051430 «Дивертор термоядерного реактора токамака», в котором предлагается использовать выполненные из металлических волокон капиллярно-пористые маты, каждый из которых непосредственно соединен с емкостью, заполненной жидким литием. Однако патент №2051430 конструктивно отличается от нашего предложения и предназначен для использования в других целях. В патенте №2051430 в качестве жидкого металла заявлен только литий. Применение лития в качестве наполняющего маты жидкого металла невозможно в МГД преобразователях, использующих газ, содержащий кислород, ввиду быстрого окисления (горения) лития. В случае использования газа, содержащего кислород, необходимо использовать металлы, у которых энтальпия окислов мала, такие как медь или чугун, и которые мало окисляются. В нашем предложении в общем случае возможен широкий выбор жидкого металла, подбор жидкого металла осуществляется конкретно для данного МГД преобразователя и должен опираться на такие требования, как: коррозионная стойкость при воздействии потока данного ионизованного газа, смачивание с материалом пористой матрицы, технологические особенности использования этих металлов и безопасность.

[8]

Наиболее близкий (прототип) к нашему патент №1804688 предлагает «электрод МГД генератора, включающий выходящий на огневую поверхность керамический сосуд с металлическим расплавом и электрический контакт, соединяющий металлический расплав с внешней электрической цепью, отличающийся тем, что, с целью повышения эффективности преобразования энергии и увеличения ресурса, в сосуд, частично заполненный металлическим расплавом, введен волокнистый керамический материал, обладающий свойством смачиваемости по отношению к жидкому шлаку и металлическому расплаву, причем свободная поверхность волокнистого материала со стороны канала расположена на одном уровне со стенками сосуда». Этот патент, как и указанные выше, предлагает увеличить срок работы электрода, но не предлагает возобновляемый электрод. В частности, в предложении патента 1804688 наибольшую нагрузку несет электрический контакт, соединяющий металлический расплав с внешней электрической цепью. Расплавленный металл служит для равномерного распределения тока по огневой поверхности.

[9]

Техническим результатом, на которое направлено изобретение, является создание капиллярно-пористых электродов для магнитогидродинамических плазменных устройств, не подверженных деградации и возобновляемых за счет пополнения жидкого металла из резервного объема, что увеличивает его ресурс.

[10]

Для достижения указанного результата предложен капиллярно-пористый электрод для магнитогидродинамических (МГД) плазменных устройств: МГД генераторов электрической энергии и МГД ускорителей плазменных сред, состоящий из корпуса с расплавом металла с размещенным в нем волокнистым материалом, при этом поверхность замкнутого корпуса, обращенная к плазме, выполнена из волокнистого материала в виде пористых матов из металлических волокон металла с температурой плавления выше температуры плавления металла расплава, при этом корпус соединен с резервной емкостью с расплавом металла.

[11]

Кроме того:

[12]

- капиллярно-пористые маты выполнены из металлического войлока,

[13]

- капиллярно-пористые маты представляют собой многослойную решетку,

[14]

- металл расплава, металл пористого мата и эффективные размеры его пор выбирают из условия необходимой подачи расплава к поверхности мата за счет капиллярных сил.

[15]

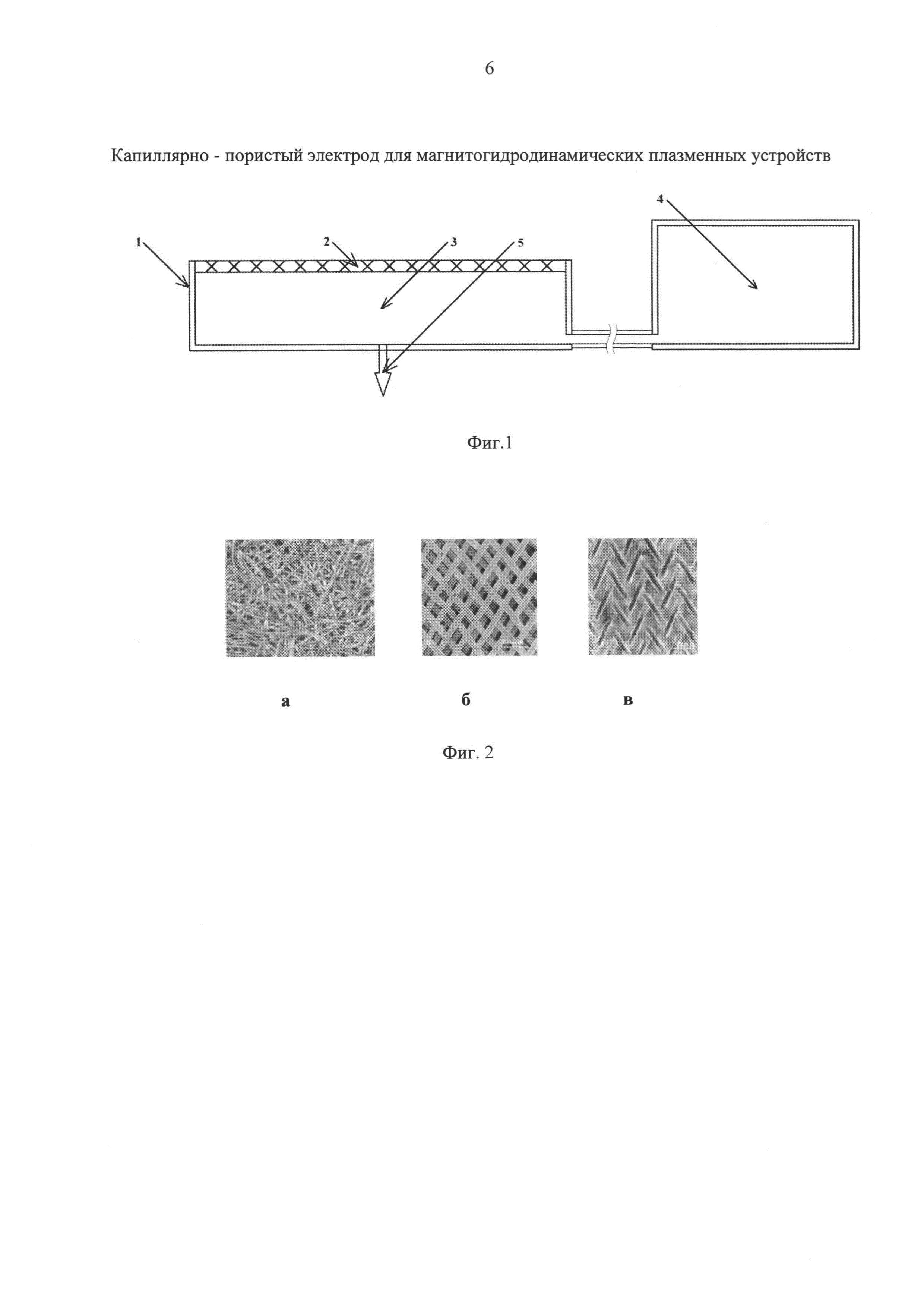
На фиг. 1 показана схема капиллярно-пористого электрода: 1 - корпус электрода, 2 –капиллярно-пористый мат, 3 - жидкий металл, 4 - резервный объем жидкого металла, 5 - отвод тока.

[16]

На фиг. 2 показаны варианты возможного выполнения капиллярно-пористых матов: а - металлический войлок, б - многослойная решетка, в - многослойная решетка, заполненная жидким металлом.

[17]

Конструкция электрода с капиллярно-пористой системой, заполненной жидким металлом, разрабатывается конкретно для данного МГД преобразователя. Но, в общем, принципиальная схема электрода с капиллярно-пористой системой, заполненной жидким металлом, выглядит следующим образом: замкнутый металлический корпус представляет собой коробку 1, одна сторона которой, обращенная к плазме, сделана из пористого мата 2, заполненного жидким металлом и контактирующего с объемом жидкого металла 3, который пополняется из резервного объема с жидким металлом 4.

[18]

Принцип работы электрода следующий. Электрод поддерживается при высокой температуре как за счет независимого внешнего нагрева (источник нагрева на фиг. не показан), так и за счет протекающего через него тока, обеспечивающей хорошую ионизацию и проводимость приэлектродного слоя.

[19]

Рабочий интервал температур, между температурой плавления расплава металла и температурой его кипения, должен включать температуры, при которых рабочее вещество плазмы ионизовано согласно формуле Саха. За счет капиллярных сил поверхность мата (фиг. 2) покрыта слоем жидкого металла, который и контактирует с плазмой. Капиллярные силы поднимают жидкий металл к поверхности, контактирующей с плазмой, и компенсируют потери жидкого металла за счет испарения или других видов эрозии.

[20]

Работоспособность электрода обеспечивается следующими факторами. Капиллярное давление, поднимающее жидкий металл, равно Рс=2αcosθ/r, где α - поверхностное натяжение жидкого металла; θ - краевой угол смачивания жидкого металла и металла капиллярного мата; r - эффективный радиус пор. Отсюда следует, что жидкий металл должен хорошо смачивать металл капиллярного мата, и диаметр проволоки, из которой изготавливаются маты, и расстояние между проволочками в матах должны быть минимальным возможным, на практике не превышать нескольких десятков микрон.

[21]

Для долговечности электрода требуется металлургическая совместимость расплавленного металла и металла, из которого выполнен мат электрода.

[22]

Расход жидкого металла определяется его испарением. Для МГД ускорителя испарение жидкого металла с электрода увеличивает плотность ускоряемой плазмы, и является положительным фактором, который при соответствующем выборе режима может быть весьма существенным. Для уменьшения расхода жидкого металла необходима его химическая совместимость с химическими элементами плазмы.

[23]

На практике это могут быть легкоплавкие металлы, например, Li, Hg, Cs, или металлы с более высокими температурами плавления и кипения, например, чугун или медь. Материалами для изготовления пористых матов могут быть тугоплавкие металлы, например, вольфрам, молибден.

[24]

Выбор конкретных размеров и материалов электрода обусловлен реальными условиями эксплуатации.

[25]

Таким образом, предлагаемый электрод является возобновляемым, не подвержен деградации, и тем самым увеличивается ресурс его работы.

Как компенсировать расходы
на инновационную разработку
Похожие патенты