патент
№ RU 2595589
МПК F16B39/01

СТОПОРЯЩЕЕСЯ РЕЗЬБОВОЕ СОЕДИНЕНИЕ

Авторы:
Вавилов Юрий Григорьевич Лашков Вячеслав Александрович Лебедков Юрий Александрович
Все (5)
Номер заявки
2015120082/12
Дата подачи заявки
27.05.2015
Опубликовано
27.08.2016
Страна
RU
Как управлять
интеллектуальной собственностью
Чертежи 
2
Реферат

Изобретение относится к крепежным изделиям, исключающим самопроизвольное отвинчивание гайки, и может быть использовано в механизмах, испытывающих вибрационные, ударные нагрузки и тепловое воздействие. Изобретение предназначено для использования в силовых и энергетических машинах и установках авиационной техники. Стопорящееся резьбовое соединение, включающее болт с резьбовым стержнем и гайку. Гайка имеет на торцевой поверхности слой из композита, включающего полимерное связующее, устойчивое к длительному воздействию температуры до 600°С, и наполнитель из высокотвердых дисперсных частиц с эквивалентным диаметром 0,08-0,10 мм. Содержание наполнителя в композите составляет 50-60 мас.%. Технический эффект: повышение надежности стопорения резьбового соединения при нагрузках вибрационного, ударного характера, а также термического воздействия за счет увеличения площади контакта в резьбовом соединении между гайкой и деталью, а также уменьшение общей массы крепежных изделий в силовых, энергетических машинах и установках авиационной техники. 2 ил.

Формула изобретения

Стопорящееся резьбовое соединение, включающее болт с резьбовым стержнем, гайку, отличающееся тем, что гайка имеет на торцевой поверхности слой из композита, включающего полимерное связующее, устойчивое к длительному воздействию температуры до 600°С, и наполнитель из высокотвердых дисперсных частиц с эквивалентным диаметром 0,08-0,10 мм и содержанием в композите 50-60 мас.%.

Описание

[1]

Изобретение относится к крепежным изделиям, исключающим самопроизвольное отвинчивание гайки, и может быть использовано в механизмах, испытывающих вибрационные, ударные нагрузки и тепловое воздействие.

[2]

Изобретение предназначено для использования в автомобильной, авиационной, машиностроительной, железнодорожной и других отраслях промышленности.

[3]

Преимущественно данное изобретение предназначено для использования в силовых и энергетических машинах и установках авиационной техники.

[4]

Известно стопорящееся крепежное соединение, включающее болт (шпильку) с гайкой и шайбой Гровера, см. книгу Орлова П.И. Основы конструирования: Справочно-методическое пособие. В 2-х кн. Кн. 2. - М: Машиностроение, 1988. С. 145-146, рис. 315.

[5]

Недостатком крепежного соединения с шайбой Гровера является ограниченность использования в случае знакопеременных нагрузок вибрационного и ударного действия.

[6]

Это объясняется тем, что при затяжке гайки шайба обеспечивает только локальное стопорение гайки относительно детали.

[7]

Известна также самоконтрящаяся гайка с отверстиями и вставленными в них пластмассовыми штифтами, см. RU Патент 2347119 МПК7 F16B 39/34, F16B 39/06, 2009.

[8]

При завертывании гайки нарезной стержень болта (шпильки) нарезает резьбу в пластмассовых штифтах, материал которых заполняет зазоры между резьбами гайки и болта.

[9]

Недостатком известного изобретения является ограниченность использования в результате ненадежности стопорения резьбового соединения от самопроизвольного отвинчивания гайки.

[10]

Указанный недостаток обусловлен использованием пластмассовых штифтов, которые теряют свои свойства при воздействии на них тепла, света, химических веществ и т.п.

[11]

Наиболее близким по технической сущности является стопорящееся резьбовое соединение, содержащее болт (шпильку) с гайкой и деформируемой пластмассовой шайбой, см. книгу Орлова П.И. Основы конструирования: Справочно-методическое пособие в 2-х книгах, Кн. 2. - М: Машиностроение, 1988. С. 148, рис. 338.).

[12]

При затяжке гайки шайба деформируется. Материал шайбы заполняет витки резьбы, обеспечивая стопорение гайки и герметичность соединения.

[13]

Недостатком данного технического решения является ограниченность использования резьбового соединения с указанным уплотнением резьбы.

[14]

Указанный недостаток обусловлен небольшой площадью контакта при уплотнении ограниченного числа витков резьбы полимерным материалом, низким коэффициентом трения пластмасс по стали, нестойкостью пластических масс к воздействию значительных нагрузок вибрационного, ударного и теплового характера.

[15]

Под действием тепла, выделяемого энергетическими машинами и установками, в пластических массах наблюдаются деструктивные реакции, при которых полимер радикально меняет свои свойства: изменяя молекулярную массу, строение и химические свойства.

[16]

Наложение вибрационных воздействий на резьбовое соединение приводит к возникновению момента сил раскручивания, превышающих момент сил трения в месте уплотнения витков резьбы.

[17]

При использовании в силовых и энергетических машинах и установках авиационной техники стопорящиеся резьбовые соединения обладают повышенной общей массой крепежных изделий.

[18]

Задачей изобретения является повышение надежности стопорения резьбового соединения при воздействии нагрузок вибрационного и ударного характера, в том числе в условиях термического воздействия, и уменьшение общей массы крепежных изделий в силовых, энергетических машинах и установках авиационной техники.

[19]

Техническая задача решается тем, что стопорящееся резьбовое соединение, включающее болт с резьбовым стержнем и гайку, в котором гайка имеет на торцевой поверхности слой из композита, включающего полимерное связующее, устойчивое к длительному воздействию температуры до 600°С, и наполнитель из высокотвердых дисперсных частиц с эквивалентным диаметром 0,08-0,10 мм и содержанием в композите 50-60 мас.%.

[20]

Решение технической задачи позволяет повысить надежность стопорения резьбового соединения при нагрузках вибрационного, ударного характера, а также термического воздействия за счет увеличения площади контакта в резьбовом соединении между гайкой и деталью, а также значительно уменьшить общую массу крепежных изделий в силовых, энергетических машинах и установках авиационной техники.

[21]

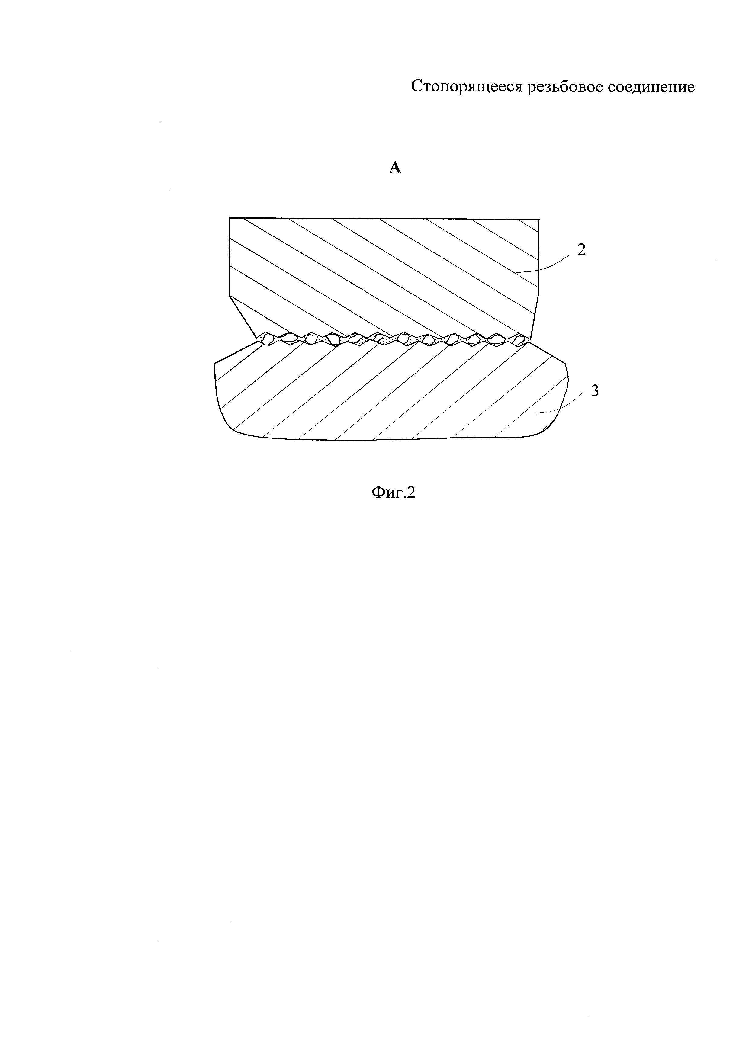
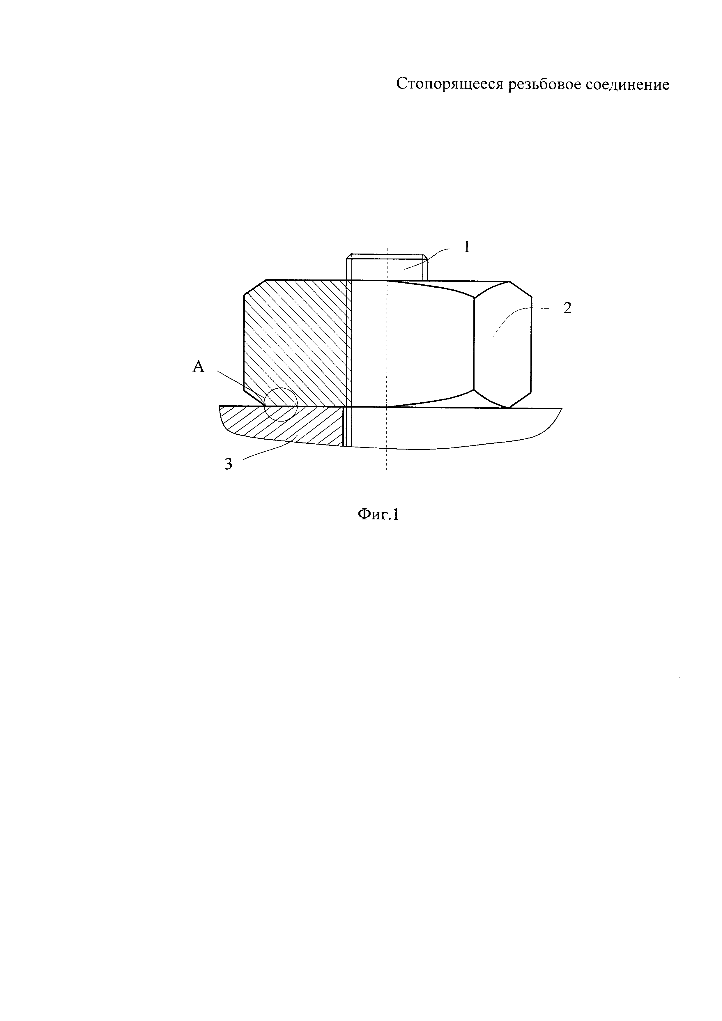
Сущность изобретения поясняется чертежом. На фиг. 1 представлен общий вид резьбового соединения; на фиг. 2 - вид А.

[22]

Стопорящееся резьбовое соединение включает: болт (шпильку) с резьбовым стержнем 1, гайку 2. Гайка 2 имеет на торцевой поверхности слой из композита, включающего полимерное связующее, устойчивое к длительному воздействию температуры до 600°С, и наполнитель из высокотвердых дисперсных частиц с эквивалентным диаметром 0,08-0,10 мм и содержанием в композите 50-60 мас.%.

[23]

Резьбовой стержень болта (шпильки) введен в отверстие детали 3.

[24]

В качестве связующего можно использовать, например, кремнийорганические полимеры (кремнийорганические эмали). Второй компонент композита с содержанием в композите 50-60 мас.% - это высокотвердые дисперсные частицы с эквивалентным диаметром 0,08-0,10 мм.

[25]

В качестве второго компонента композита могут быть использованы дисперсные частицы с эквивалентным диаметром dэкв, равном 0,08-0,10 мм, полученные, например, на стадии заточки (шлифовки) режущегося инструмента с твердосплавной напайкой абразивным шлифовальным инструментом (эльбором).

[26]

Нижняя граница диапазона второго компонента композита 50 мас.% обусловлена тем, что ниже 50 мас.% уменьшается число активных центров и удельная межфазная поверхность контакта гайки и детали.

[27]

Верхняя граница диапазона второго компонента композита 60 мас.% обусловлена тем, что выше 60 мас.% происходит перераспределение частиц по поверхности при завертывании гайки, что может привести к неравномерному распределению силовых факторов по площади контакта.

[28]

Стопорящееся резьбовое соединение работает следующим образом.

[29]

Гайку 2 с нанесенным на торцовую поверхность тонкого слоя композита толщиной, равной эквивалентному диаметру высокопрочной дисперсной частицы, навинчивают на резьбовой конец болта (шпильки) 1 до контакта с поверхностью детали 3. При вращении гайки 2 высокотвердые частицы совершают перемещение, оставляя на поверхностях гайки 2 и детали 3 микроскопические борозды. Поверхности насыщаются абразивными частицами, обеспечивая равномерное распределение сил трения по поверхности контакта.

[30]

Отсутствие шайбы в резьбовом соединении уменьшает общую массу изделия, что важно при использовании такого стопорящегося резьбового соединения в силовых и энергетических машинах и установках авиационной техники для снижения общей массы крепежных изделий.

[31]

Гайку 2 можно использовать многократно.

[32]

Таким образом, совокупность признаков заявляемого объекта позволяет повысить надежность стопорения резьбового соединения при нагрузках вибрационного, ударного характера, а также термического воздействия за счет увеличения площади контакта в резьбовом соединении между гайкой и деталью, а также позволяет значительно уменьшить общую массу крепежных изделий в силовых, энергетических машинах и установках авиационной техники.

Как компенсировать расходы
на инновационную разработку
Похожие патенты