патент
№ RU 2680618
МПК E21B33/03

УСТРОЙСТВО ДЛЯ ОПРЕССОВКИ ПРЕВЕНТОРА НА СКВАЖИНЕ

Авторы:
Ковальчук Александр Павлович
Номер заявки
2018116104
Дата подачи заявки
27.04.2018
Опубликовано
25.02.2019
Страна
RU
Как управлять
интеллектуальной собственностью
Чертежи 
1
Реферат

Изобретение относится к нефтедобывающей промышленности и предназначено для опрессовки превентора на скважине. Устройство для опрессовки превентора на скважине включает опорную трубу, проходящую через корпус превентора, две резиновые манжеты с шайбой между ними, опорную и зажимную тарелки, заглушку с внутренней резьбой, установленный в опорной трубе шток, предназначенный для сжатия резиновых манжет. На верхнем торце зажимной тарелки имеется цилиндрическая выборка. Новым является то, что шток выполнен из трубы, имеющей на обоих концах наружную цилиндрическую резьбу. Заглушка выполнена с внутренней цилиндрической резьбой, завернута в цилиндрическую резьбу нижнего конца штока и снабжена стопорным винтом. Опорная тарелка расположена сверху резиновых манжет и посажена прессовой посадкой на опорную трубу. При этом зажимная тарелка расположена снизу резиновых манжет и выполнена с плоским верхним торцом. Между зажимной тарелкой и заглушкой на шток надета шайба из антифрикционного материала. Внутрь опорной трубы с верхнего торца установлена прессовой посадкой втулка с внутренней цилиндрической резьбой, соответствующей резьбе штока. В эту втулку завернут верхний конец штока с цилиндрической резьбой. С верхнего торца штока выполнена проточка. При этом со дна проточки выполнены два радиальных отверстия, расположенных по диаметру штока. В предложенном устройстве упрощается конструкция. 4 ил.

Формула изобретения

Устройство для опрессовки превентора на скважине, включающее опорную трубу, проходящую через корпус превентора, две резиновые манжеты с шайбой между ними, опорную и зажимную тарелки, заглушку с внутренней резьбой, установленный в опорной трубе шток, предназначенный для сжатия резиновых манжет, причем на верхнем торце зажимной тарелки имеется цилиндрическая выборка, отличающееся тем, что шток выполнен из трубы, имеющей на обоих концах наружную цилиндрическую резьбу, причем заглушка выполнена с внутренней цилиндрической резьбой, завернута в цилиндрическую резьбу нижнего конца штока и снабжена стопорным винтом, причем опорная тарелка расположена сверху резиновых манжет и посажена прессовой посадкой на опорную трубу, при этом зажимная тарелка расположена снизу резиновых манжет и выполнена с плоским верхним торцом, причем между зажимной тарелкой и заглушкой на шток надета шайба из антифрикционного материала, причем внутрь опорной трубы с верхнего торца установлена прессовой посадкой втулка с внутренней цилиндрической резьбой, соответствующей резьбе штока, причем в эту втулку завернут верхний конец штока с цилиндрической резьбой, причем с верхнего торца штока выполнена проточка, при этом со дна проточки выполнены два радиальных отверстия, расположенных по диаметру штока.

Описание

[1]

Изобретение относится к нефтедобывающей промышленности и предназначено для опрессовки превентора на скважине.

[2]

Известен превентор (Патент RU 2264528, МПК Е21В 33/06, опубл. 20.11.2005), который содержит корпус с осевым каналом для прохода труб с технологическим оборудованием в скважину, плашки трубные с поршневым гидроприводом, смонтированным на боковых крышках, и плашки глухие с поршневым гидроприводом, смонтированным на боковых крышках, гидроцилиндры, соединенные попарно каналами сообщения для подачи рабочей жидкости. Каждый канал сообщения гидроцилиндра с линией нагнетания рабочей жидкости снабжен отсечным клапаном. Часть отсечного клапана расположена в корпусе, а часть - в боковой крышке. При сомкнутом положении корпуса с боковой крышкой перепускной клапан находится в положении "открыто", а при демонтаже боковой крышки для замены плашек перепускной клапан имеет возможность перекрытия канала сообщения гидроцилиндра с линией нагнетания рабочей жидкости для обеспечения герметичности системы гидропривода, при которой рабочая жидкость из полости гидроцилиндров не вытекает. В конструкции известного превентора не предусмотрена опрессовка его в скважине.

[3]

Наиболее близким к предлагаемому является устройство для опрессовки превентора на скважине, описанное в патенте RU 2364701, МПК Е21В 33/03, опубл. 20.08.2009, и включающее опорную трубу, проходящую через корпус превентора, две резиновые манжеты с шайбой между ними, опорную и зажимную тарелки, заглушку с внутренней резьбой, установленный в опорной трубе шток, предназначенный для сжатия резиновых манжет, причем на верхнем торце зажимной тарелки имеется цилиндрическая выборка. Недостаток прототипа состоит в том, что он имеет сложную конструкцию. При опрессовке превентора усилие для сжатия резиновых манжет передается при повороте болта, завернутого на гайку, которая неподвижно завернута в муфту опорной трубы. Болт взаимодействует на шток, который перемещает вниз толкатель, расположенный в выборке зажимной тарелки. При этом толкатель проходит через продольный сквозной паз опорной трубы. При перемещении вниз зажимная тарелка давит сверху на резиновые манжеты и увеличивает их в диаметре для изоляции нижней части ствола скважины. Опорная тарелка в прототипе расположена снизу резиновых манжет, а зажимная тарелка расположена сверху резиновых манжет. Заглушка в прототипе выполнена с внутренней конической резьбой, защитная тарелка с конической стенкой на верхнем торце, а опорная труба с коническими резьбами на концах. Выполнение заглушки с внутренней конической резьбой, защитной тарелки с конической стенкой, опорной трубы с коническими резьбами, продольного сквозного паза на длинной опорной трубе и толкателя прямоугольного сечения, а также наличие толкателя, муфты, болта и гайки усложняют конструкцию прототипа.

[4]

Задачей изобретения является упрощение конструкции. Поставленная техническая задача решается тем, что в устройстве для опрессовки превентора, включающем опорную трубу, проходящую через корпус превентора, две резиновые манжеты с шайбой между ними, опорную и зажимную тарелки, заглушку с внутренней резьбой, установленный в опорной трубе шток, предназначенный для сжатия резиновых манжет, причем на верхнем торце зажимной тарелки имеется цилиндрическая выборка, новым является то, что шток выполнен из трубы, имеющей на обеих концах наружную цилиндрическую резьбу, причем заглушка выполнена с внутренней цилиндрической резьбой, завернута в цилиндрическую резьбу нижнего конца штока и снабжена стопорным винтом, причем опорная тарелка расположена сверху резиновых манжет и посажена прессовой посадкой на опорную трубу, при этом зажимная тарелка расположена снизу резиновых манжет и выполнена с плоским верхним торцом, причем между зажимной тарелкой и заглушкой на шток одета шайба из антифрикционного материала, причем внутрь опорной трубы с верхнего торца установлена прессовой посадкой втулка с внутренней цилиндрической резьбой, соответствующей резьбе штока, причем в эту втулку завернут верхний конец штока с цилиндрической резьбой, причем с верхнего торца штока выполнена проточка, при этом со дна проточки выполнены два радиальных отверстия, расположенные по диаметру штока.

[5]

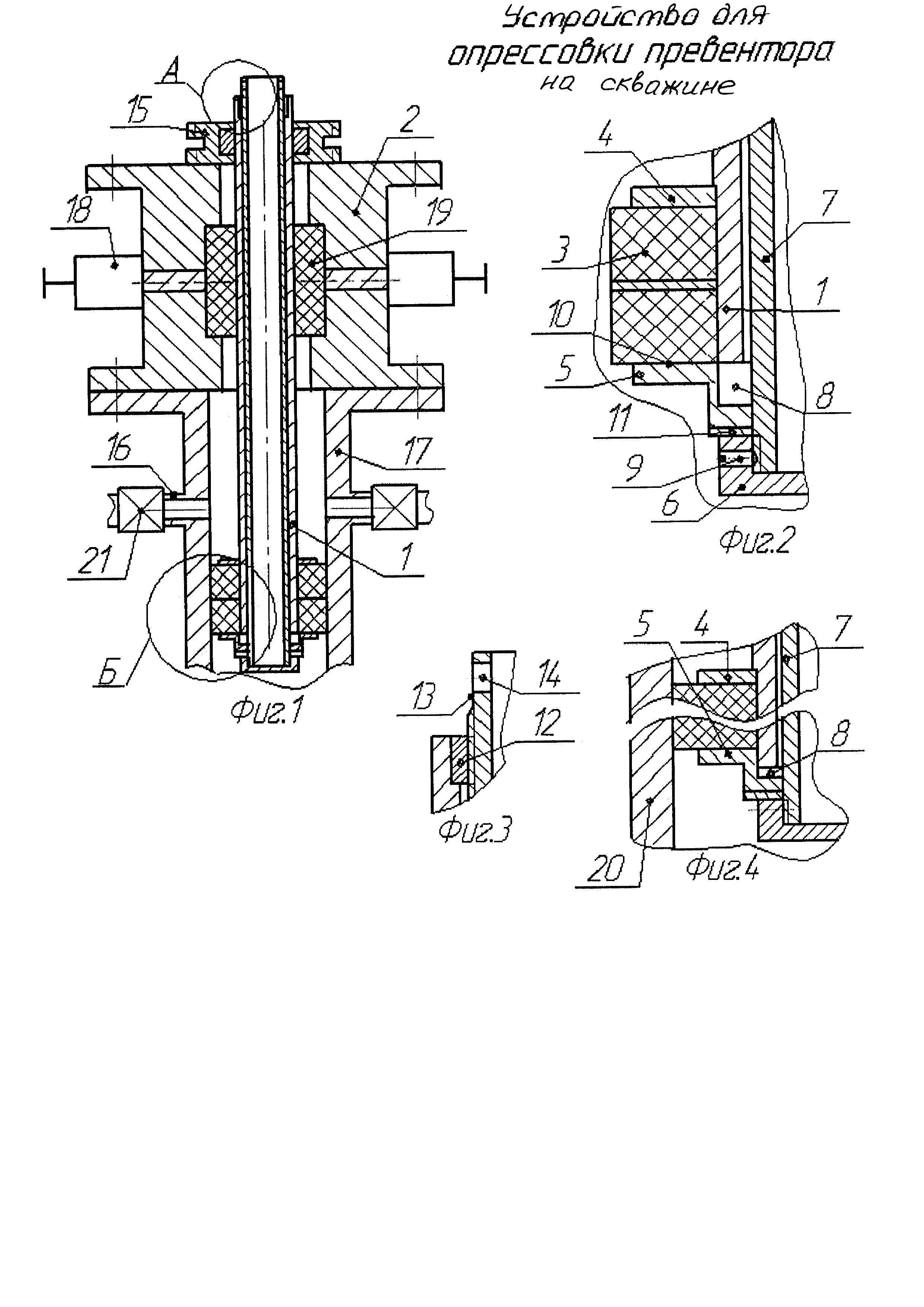
Сущность заявляемого технического решения поясняется фигурами. На фиг. 1 изображено устройство для опрессовки превентора на скважине в разрезе; на фиг. 2 изображен вид Б фиг. 1; на фиг. 3 - вид А фиг. 1; на фиг. 4 - вид Б фиг. 1, поясняющий принцип работы устройства. Устройство для опрессовки превентора на скважине включает опорную трубу 1, проходящую через корпус 2 превентора, две резиновые манжеты 3 с шайбой между ними, опорную 4 и зажимную 5 тарелки, заглушку 6 с внутренней резьбой, установленный в опорной трубе 1 шток 7, предназначенный для сжатия резиновых манжет 3. На верхнем торце зажимной тарелки 5 имеется цилиндрическая выборка 8. Шток 7 выполнен из трубы, имеющей на обеих концах наружную цилиндрическую резьбу. При выполнении штока из трубы снижается его металлоемкость при сохранении продольной устойчивости. Заглушка 6 выполнена с внутренней цилиндрической резьбой, завернута в цилиндрическую резьбу нижнего конца штока 7 и снабжена стопорным винтом 9. Опорная тарелка 4 расположена сверху резиновых манжет 3 и посажена прессовой посадкой на опорную трубу 1. При этом зажимная тарелка 5 расположена снизу резиновых манжет 3 и выполнена с плоским верхним торцом 10. Между зажимной тарелкой 5 и заглушкой 6 на шток 7 одета шайба 11 из антифрикционного материала, например, из бронзы или фторопласта, чтобы при работе устройства крутящий момент от штока 7 не передавался защитной тарелке 5, а затем и нижней резиновой манжете 3. Внутрь опорной трубы 1 с верхнего торца установлена прессовой посадкой втулка 12 с внутренней цилиндрической резьбой, соответствующей резьбе штока 7. В эту втулку 12 завернут верхний конец штока с цилиндрической резьбой. С верхнего торца штока 7 выполнена проточка 13. При этом со дна проточки 13 выполнены два радиальных отверстия 14, расположенные по диаметру штока 7.

[6]

Устройство для опрессовки превентора на скважине работает следующим образом. Устройство при помощи элеватора 15 спускают вниз через корпус 2 превентора до расположения резиновых манжет 3 под патрубки 16 колонной головки 17. Приводом 18 превентора двигают плашки 19 превентора друг к другу. Они герметично обжимают опорную трубу 1. Далее за отверстия 14 поворачивают шток 7 против часовой стрелки (если смотреть на устройство сверху). При этом верхняя резьбовая часть штока 7 отворачивается во втулке 12. Из-за этого шток 7 поднимается вверх относительно опорной трубы 1 и поднимает вверх зажимную тарелку 5, которая не поворачивается из-за наличия антифрикционной шайбы 11. При подъеме вверх зажимной тарелки 5 расстояние между этой тарелкой и опорной тарелкой 4 уменьшается и резиновые манжеты 3 увеличиваются в диаметре. Они герметичного перекрывают кольцевое пространство между стенкой трубы 20 обсадной колонны и этими манжетами 3. При подъеме зажимной тарелки 5 нижний конец опорной трубы 1 входит в цилиндрическую выборку 8 этой тарелки 5. Приводом 18 двигают плашки 19 превентора в сторону друг от друга и полости корпуса 2 превентора и колонной головки 18 над резиновыми манжетами 3 заполняют технологической жидкостью. Затем плашки 19 превентора двигают друг к другу. Через патрубок 16 колонной головки 17, открыв запорную арматуру 21, от насосного агрегата внутри превентора поднимают давление технологической жидкости и определяют герметичность превентора на скважине. Таким образом производят опрессовку превентора.

[7]

В предложенном устройстве, в отличие от прототипа, на концах штока нарезана резьба и на верхнем его конце выполнена проточка. Зажимная тарелка выполнена с плоским верхним торцом, заглушка выполнена с цилиндрической резьбой и завернута в нижний конец штока, а в опорную трубу запрессована втулка. Однако в предложенном устройстве отсутствуют: конические резьбы на концах опорной трубы, коническая стенка в защитной тарелке, коническая резьба в заглушке, продольный сквозной паз на длинной опорной трубе, болт, муфта, гайка и толкатель прямоугольного сечения (не тело вращения). Из сравнительного анализа вытекает, что в предложенном устройстве упрощается конструкция.

[8]

Перечень использованной информации

[9]

1. Патент RU 2264528, МПК Е21В 33/06, опубл. 20.11.2005.

[10]

2. Патент RU 2364701, МПК Е21В 33/03, опубл. 20.08.2009.

Как компенсировать расходы
на инновационную разработку
Похожие патенты