патент
№ RU 2395812
МПК G01N33/49

УСТРОЙСТВО ДЛЯ ИССЛЕДОВАНИЯ ПРОСТРАНСТВЕННОГО СВЕРТЫВАНИЯ КРОВИ И ЕЕ КОМПОНЕНТОВ

Авторы:
Пантелеев Михаил Александрович Сарбаш Василий Иванович Атауллаханов Фазоил Инаятович
Все (4)
Номер заявки
2008144909/14
Дата подачи заявки
14.11.2008
Опубликовано
27.07.2010
Страна
RU
Как управлять
интеллектуальной собственностью
Чертежи 
2
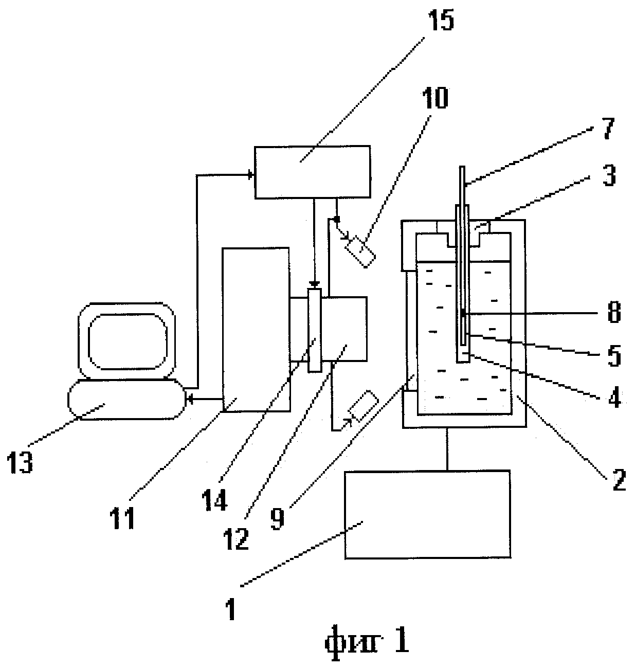
Реферат

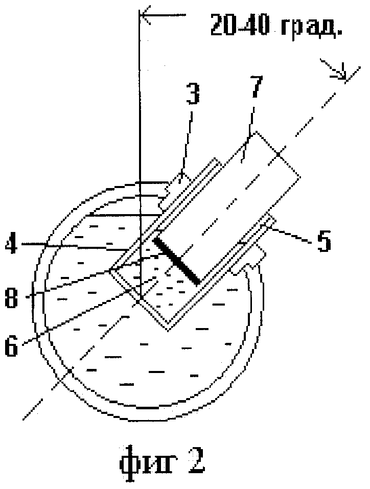
Изобретение относится к медицинской диагностике и предназначено для исследования характеристик свертываемости крови и ее компонентов. Устройство содержит термостатируемую, заполненную жидкостью камеру с окном, внутри которой расположена кювета с исследуемым образцом крови и активатором свертывания; светодиоды, освещающие образующийся у активатора сгусток; цифровую камеру, размещенную напротив окна и фиксирующую растущий сгусток, и компьютер для обработки полученных данных. Кювета размещена в держателе, продольная ось которого расположена под углом 20-40° к вертикали, и выполнена продольной с вертикальным каналом внутри. Окно для съемки выполнено в боковой стенке камеры. Технический результат заключается в повышении точности и достоверности пространственного определения свертываемости крови или ее компонентов. 4 з.п. ф-лы, 2 ил.

Формула изобретения

1. Устройство для исследования пространственного свертывания крови и ее компонентов, содержащее термостатируемую, заполненную жидкостью камеру с окном, внутри которой расположена кювета с исследуемым образцом, помещенный внутрь кюветы активатор свертывания, светодиоды, освещающие образующийся у активатора сгусток, цифровую камеру, расположенную напротив окна в камере и фиксирующую рост сгустка, и компьютер для обработки полученных данных, отличающееся тем, что оно снабжено держателем, в котором размещена кювета, при этом держатель с кюветой расположен под углом 20-40° к вертикали, сама кювета выполнена продольной с вертикальным каналом внутри, а окно размещено в боковой стенке камеры.

2. Устройство по п.1, отличающееся тем, что держатель укреплен на корпусе камеры.

3. Устройство по п.1, отличающееся тем, что активатор свертывания представляет собой размещаемую в канале кюветы продольную вставку, на нижней торцевой поверхности которой нанесено вещество, способствующее свертыванию.

4. Устройство по п.3, отличающееся тем, что в качестве вещества, способствующего свертыванию, используют тромбопластин, иммобилизованный на торцевую поверхность вставки.

5. Устройство по п.1, отличающееся тем, что оно дополнительно снабжено блоком синхронизации и шторкой, открывающей объектив цифровой камеры при синхронном включении светодиодов.

Описание

[1]

Изобретение относится к устройствам для исследования характеристик крови и ее компонентов, в частности их свертываемости, и может быть использовано в биологии и медицине для исследования параметров свертывания крови и ее компонентов как животных, так и человека в клинической диагностике заболеваний, а также при проведении экспериментальных исследованиях крови и ее составных частей.

[2]

Исследования свертывания крови представляют практический интерес, поскольку не только позволяют диагностировать отдельные заболевания, но и оценивать активность препаратов, влияющие на параметры свертывания крови.

[3]

Известны различные устройства для определения скорости свертываемости, как цельной крови, так и ее плазмы, получаемой путем центрифугирования крови.

[4]

Известны устройства - тромбоэластографы - приборы с графической регистрацией изменений вязкости и упругоэластических свойств образующегося сгустка, предназначенные для измерения времени образования сгустка плазмы в коагулометрических тестах и содержащие кювету, в которую помещается исследуемая проба плазмы и погруженный в нее вибрирующий с определенной частотой и амплитудой стержень. По мере превращения жидкой плазмы в более плотный сгусток, стержень, вибрирующий в загустевающей плазме, испытывает все более нарастающее сопротивление со стороны густеющей жидкости вплоть до полной его остановки. По временной диаграмме движения стержня оценивают время превращения жидкой плазмы в гелеобразный сгусток, характеризующее работу системы свертывания крови пациента. Справочник по гематологии под редакцией А.Ф.Романовой, Кuïв: Здоров'я, 1997 г

[5]

Данное устройство позволяет с высокой производительностью осуществлять исследования большого количества проб плазмы крови, однако при этом оно обладает рядом существенных недостатков, главным из которых является то, что данное исследование проводится в гомогенной системе с постоянным перемешиванием. За счет того что весь объем плазмы от момента начала эксперимента и вплоть до его окончания постоянно перемешивается, все факторы свертывания, образующиеся в процессе образования сгустка плазмы, гомогенно распределяются по всему пространству исследуемой пробы, и поэтому образование сгустка идет одновременно во всем объеме исследуемой пробы. Эта ситуация по своей физиологической сути принципиально отличается от тех условий, в которых сгусток образуется в живом организме. В кровеносной системе человека и животных сгусток пространственно образуется не во всем объеме плазмы крови, а строго локально - только в небольшой зоне повреждения стенки кровеносного сосуда. При этом факторы свертывания закономерным образом распределяются в небольшом объеме плазмы, и лишь в нем и образуется тромб. Это отражает основные защитные механизмы работы системы гемостаза (специально созданные в процессе эволюции) - предотвращение нарушения целостности кровеносного русла за счет образования тромба в месте повреждения.

[6]

Наиболее близким к изобретению является устройство для исследования пространственной динамики свертывания плазмы крови, позволяющее наиболее полно смоделировать ту пространственную ситуацию, в которой кровь свертывается непосредственно в кровеносном сосуде. В этом устройстве плазма крови помещается в прозрачную полистироловую чашечку, опущенную в термостатируемую камеру, жидкость в которой непрерывно перемешивается. Это необходимо для того, чтобы выровнять температуру по всему объему камеры, в которую помещена чашечка, и полностью исключить конвективные тепловые потоки в тонком слое плазмы на дне помещенной в камеру чашечки. В пробу плазмы, налитой в чашечку, помещают стеклянный шарик. Стекло локально активирует плазму, заставляя ее свертываться только вокруг шарика, что является хорошим аналогом локального повреждения стенки кровеносного сосуда. Микроскопный столик, на котором помещена емкость, позволяет выставить место локального свертывания в центр поля зрения цифровой фотокамеры, при помощи которой осуществляется непрерывная регистрация всей картины роста сгустка. Чашечка снизу через окно в дне термостатируемой емкости подсвечивается светодиодами, а изображение тромба, растущего вокруг шарика, последовательно кадр за кадром регистрируется цифровой фотокамерой. Оцифрованные файлы изображения каждого кадра передаются в компьютер, где в дальнейшем сравниваются друг с другом и анализируются по определенному алгоритму. Патент РФ на полезную модель № 64785.

[7]

Такой непрерывный анализ роста тромба в пространстве позволяет более детально изучать процесс свертывания крови и более точно осуществлять диагностику работы системы свертывания как в норме, так и при различных патологиях гемостаза.

[8]

Недостатком этого устройства является то, что под дном чашечки с плазмой, расположенной в устройстве горизонтально, и объективом камеры находится слой термостатируемой жидкости, где могут образовываться пузырьки воздуха, которые, находясь между тромбом и объективом камеры, искажают реальную картину процесса свертывания и результаты компьютерного анализа.

[9]

Кроме того, чашечку с налитой плазмой заранее нужно снабдить активатором (стеклянным шариком), герметично закрыть, опустить в термостатируемую камеру, закрепить там и только после этого начинать измерение. При этом из анализа выпадает регистрация начальной фазы свертывания, важной для качественного проведения анализа.

[10]

К недостаткам можно также отнести и тот факт, что излучение направленных на плазму светодиодов вызывает локальный нагрев плазмы, что приводит к возникновению паразитных конвективных потоков, искажающих реальную картину роста тромба.

[11]

Во время наливания плазмы в горизонтально расположенную чашечку и помещения в нее активатора вся поверхность тонкого слоя плазмы, включая и зоны, непосредственно прилегающие к активатору, открыта для попадания в нее из окружающего воздуха посторонних частиц (например, пыли), которые также могут играть роль паразитных активаторов, искажающих результаты исследования.

[12]

Технической задачей настоящего изобретения является повышение точности и достоверности пространственного определения свертываемости крови или ее компонентов.

[13]

Технический результат, достигаемый при использовании настоящего изобретения, заключается в том, чтобы исключить паразитное влияние на процесс свертывания крови пузырьков воздуха в слое термостатируемой жидкости под кюветой, предотвратить возникновение паразитных конвективных потоков и попадания посторонних частиц в кювету, что искажает реальную картину роста тромба.

[14]

Для достижения указанного технического результата устройство для исследования пространственного свертывания крови и ее компонентов, содержащее термостатируемую, заполненную жидкостью камеру с окном, внутри которой расположена кювета с исследуемым образцом крови, помещенный внутрь кюветы активатор свертывания, светодиоды, освещающие образующийся у активатора сгусток, цифровую камеру, размещенную напротив окна и фиксирующую растущий сгусток, и компьютер для обработки полученных данных, снабжено держателем, в котором размещена кювета, сама кювета выполнена продольной с вертикальным каналом внутри, при этом продольная ось держателя расположена под углом 20-40° к вертикали, а окно для съемки расположено в боковой стенке камеры. Кювета выполнена преимущественно одноразовой.

[15]

Держатель кюветы может быть укреплен на корпусе термостатируемой камеры. Активатор свертывания представляет собой продольную вставку прямоугольного или иного сечения, вставляемую внутрь кюветы, на нижней торцевой поверхности которой нанесено вещество, инициирующее запуск процесса свертывания.

[16]

В качестве вещества, способствующего инициации процесса свертывания, может быть использован: белок, так называемый - тканевый фактор (тромбопластин), иммобилизованный различными способами на торцевую поверхность вставки; а также другие материалы организменного происхождения, представляющие собой препараты клеток и тканей. В качестве активатора можно использовать и другие тромбогенные вещества: стекло; каолин, пластик и т.п.

[17]

Кроме того, устройство дополнительно снабжено шторкой, закрывающей объектив цифровой камеры, и блоком синхронизации включения светодиодов и поднятия шторки.

[18]

Выполнение кюветы (вместо горизонтальной чашечки) продольной с узким вертикальным каналом внутри, вставляемой снаружи в держатель, ось которого расположена под углом 20-40° к вертикали, позволяет расположить верхнюю часть кюветы вне термостатируемой камеры, поэтому активатор свертывания можно поместить в кювету в любой момент и сразу же после этого начинать измерение. При этом, проникновение посторонних частиц в кювету практически сведено к минимуму. А чтобы внутри образца плазмы не возникало паразитных конвекционных потоков за счет локального разогрева плазмы излучением светодиодов, последние включены через блок синхронизации и вспыхивают кратковременно - только на момент съемки каждого кадра, в момент поднятия шторки, закрывающей объектив цифровой камеры. Кювета в держателе после ее установки может быть зафиксирована в нем любым возможным способом.

[19]

Предлагаемое устройство представлено на чертежах, где на фиг.1 показан общий вид устройства, а на фиг.2 - вид кюветы с держателем.

[20]

Устройство содержит термостатируемую при помощи электронного термостата 1 камеру 2, заполненную прозрачной жидкостью. Внутри камеры 2 размещен укрепленный на ее корпусе держатель 3 с размещенной в нем кюветой 4, в канал 5 которой налита плазма 6, в которую помещена вставка 7 с нанесенным на ее нижнем торце веществом 8, способствующем свертыванию. Термостатируемая камера 2 снабжена прозрачным стеклянным окном 9, через которое одним или несколькими светодиодами 10 освещают сгусток плазмы, образующийся вокруг нижнего торца вставки 7. Изображение этого растущего сгустка фиксируется цифровой фотокамерой 11, снабженной объективом 12. Цифровая камера 11 электрически связана с компьютером 13, связанным с блоком синхронизации, и снабжена электромеханической шторкой 14, также электрически связанной с блоком синхронизации 15, который управляет светодиодами 10 и шторкой 14. Для того чтобы под вставкой 7 не скапливались пузырьки воздуха, кювета 3 наклонена под углом 20-40° к вертикали.

[21]

Устройство работает следующим образом. За счет работы электронного водяного термостата 1 температура прозрачной жидкость в термостатируемой камере 2 поддерживается на заданном уровне, и жидкость равномерно обогревает кювету 4, в которую помещают исследуемый образец, например, тестируемую плазму 6. Поскольку кювета 4 имеет для размещения плазмы длинный и узкий канал 5, а площадь поверхности раздела плазма-воздух минимальна, то и попадание в плазму посторонних частиц из воздуха также минимально. После того как температура по всему объему плазмы установится одинаковой и конвекционные потоки в плазме прекратятся, в нее медленно (чтобы не создать паразитных потоков) погружают вставку 7 таким образом, чтобы тромгенное вещество 8, нанесенное на торец этой вставки 7, коснулось поверхности плазмы 6. Одновременно с этим включают цифровую камеру 11, связанную с компьютером 13, в которую через прозрачное окно 9 и объектив 12 начинают поступать изображения растущего у конца вставки 7 тромба. Эти оцифрованные изображения поступают в память компьютера 13 для дальнейшей компьютерной обработки. После включения цифровой камеры 11 компьютер 13 при помощи специальной программы начинает управлять блоком синхронизации 15, сигналы с которого через заданные интервалы времени одновременно поступают и на шторку 14, открывая ее, и на светодиоды 10, включая их лишь на то краткое время, когда шторка 14 открыта и осуществляется процесс съемки. Такой режим работы светодиодов 10 обеспечивает минимальное время засветки плазмы, сводя к минимуму ее локальный нагрев и, тем самым, уменьшая паразитные конвекционные потоки, возникающие за счет этого локального разогрева.

[22]

Таким образом, предлагаемое устройство позволяет более точно и более детально исследовать все фазы процесса свертывания плазмы в пространстве, что повышает точность и достоверность проведения клинических анализов плазмы крови как в норме, так и при различных патологиях.

Как компенсировать расходы
на инновационную разработку
Похожие патенты