патент
№ RU 2691121
МПК H01Q21/24

Двухполяризационная антенна

Авторы:
Орлов Валерий Алексеевич Сулимова Галина Анатольевна Скибин Сергей Эврикович
Все (5)
Номер заявки
2018121460
Дата подачи заявки
09.06.2018
Опубликовано
11.06.2019
Страна
RU
Как управлять
интеллектуальной собственностью
Чертежи 
3
Реферат

Изобретение относится к радиотехнике, более конкретно к области антенной техники, и может быть использовано как однонаправленная относительно малогабаритная резонансная или широкополосная антенна, в том числе как элемент антенной решетки. Двухполяризационная антенна содержит плоский металлический экран и размещенный над ним параллельно ему квадратный излучатель со стороной, равной примерно 1/3 длины рабочей волны. В углах квадратного двухполяризационного металлического излучателя, расположенного над экраном, выполнены четыре квадратных окна, в образовавшихся полосах, соединяющих середины противоположных сторон образовавшейся рамки, выполнены симметрично расположенные узкие разрезы, к которым подведено противофазное питание, а два входных коаксиальных кабеля выведены через центр излучателя к металлическому экрану. Технический результат заключается в увеличении рабочего частотного диапазона, а также в возможности управления характеристиками антенны путем изменения соотношения между ее элементами. При этом возможна реализация как узкополосной резонансной антенны, так и широкополосной диапазонной антенны. 3 ил.

Формула изобретения

Двухполяризационная антенна, содержащая плоский металлический экран и размещенный над ним параллельно ему квадратный излучатель со стороной, равной примерно 1/3 длины рабочей волны, отличающаяся тем, что в плоском квадратном излучателе в его углах на малом расстоянии от боковых границ выполнены квадратные окна со стороной, меньшей половины стороны квадратного излучателя, в образовавшихся полосах, соединяющих середины противолежащих сторон образовавшейся рамки, расположенной по контуру излучателя, выполнены узкие зазоры, расположенные симметрично относительно центра квадратного излучателя, к двум зазорам каждой полосы присоединен отрезок коаксиального кабеля длиной в половину длины рабочей волны в кабеле, а к одному из зазоров каждой полосы присоединен один из двух входных коаксиальных кабелей, выведенных через центр излучателя к металлическому экрану.

Описание

[1]

Изобретение относится к радиотехнике, более конкретно, к области антенной техники, и может быть использовано как однонаправленная относительно малогабаритная резонансная или широкополосная антенна, в том числе, как элемент антенной решетки.

[2]

Известны двухполяризационные микрополосковые антенны включающие металлическую пластину, экран и диэлектрическое основание (Д.М. Сазонов. Антенны и устройства СВЧ, Москва, Высшая школа, 1988 г. стр. 258-261). Их недостаток - узкополосность и пониженный коэффициент полезного действия.

[3]

Известны планарные антенны, содержащие плоский излучающий элемент, расположенный над металлическим экраном параллельно ему на увеличенной по сравнению с микрополосковой антенной высоте (Журнал «Радиолюбитель» г.Минск 2014 г.№8 стр.22). Известная антенна широкополосна и имеет высокий коэффициент полезного действия, но работает только на одной поляризации.

[4]

Ближайшим аналогом (прототипом) изобретения является антенна, содержащая квадратный излучатель (с размером стороны около одной трети длины рабочей волны), расположенный над плоским экраном (патент РФ №2530242, п. 1. H01Q 21/24, 9.042013) и питаемый по коаксиальному кабелю.

[5]

Технический результат предложения состоит в увеличении рабочего частотного диапазона, а также в возможности управления характеристиками антенны путем изменения соотношения между ее элементами. При этом возможна реализация, как узкополосной резонансной антенны, так и широкополосной диапазонной антенны, т.е. достигается дополнительно расширение арсенала плоскостных антенн.

[6]

Технический результат достигается тем, что в двухполяризационной антенне, содержащей плоский металлический экран и размещенный над ним квадратный излучатель со стороной, равной примерно 1/3 длины рабочей волны, в углах квадратного излучателя на малом расстоянии от боковых границ квадратного излучателя выполнены 4 квадратных окна со стороной, меньшей половины стороны квадратного излучателя, так что образуется квадратная рамка, расположенная по периметру квадратного излучателя и две полосы, соединяющие середины противолежащих сторон квадратной рамки и образующие крестообразную фигуру в центре квадратного излучателя. В полосах выполнены узкие поперечные зазоры, расположенные симметрично относительно центра квадратного излучателя, к двум зазорам каждой полосы присоединен отрезок коаксиального кабеля длиной в половину длины рабочей волны в коаксиальном кабеле, а к одному из зазоров каждой полосы присоединен один из двух входных коаксиальных кабелей, выведенных через центр квадратного излучателя к металлическому экрану.

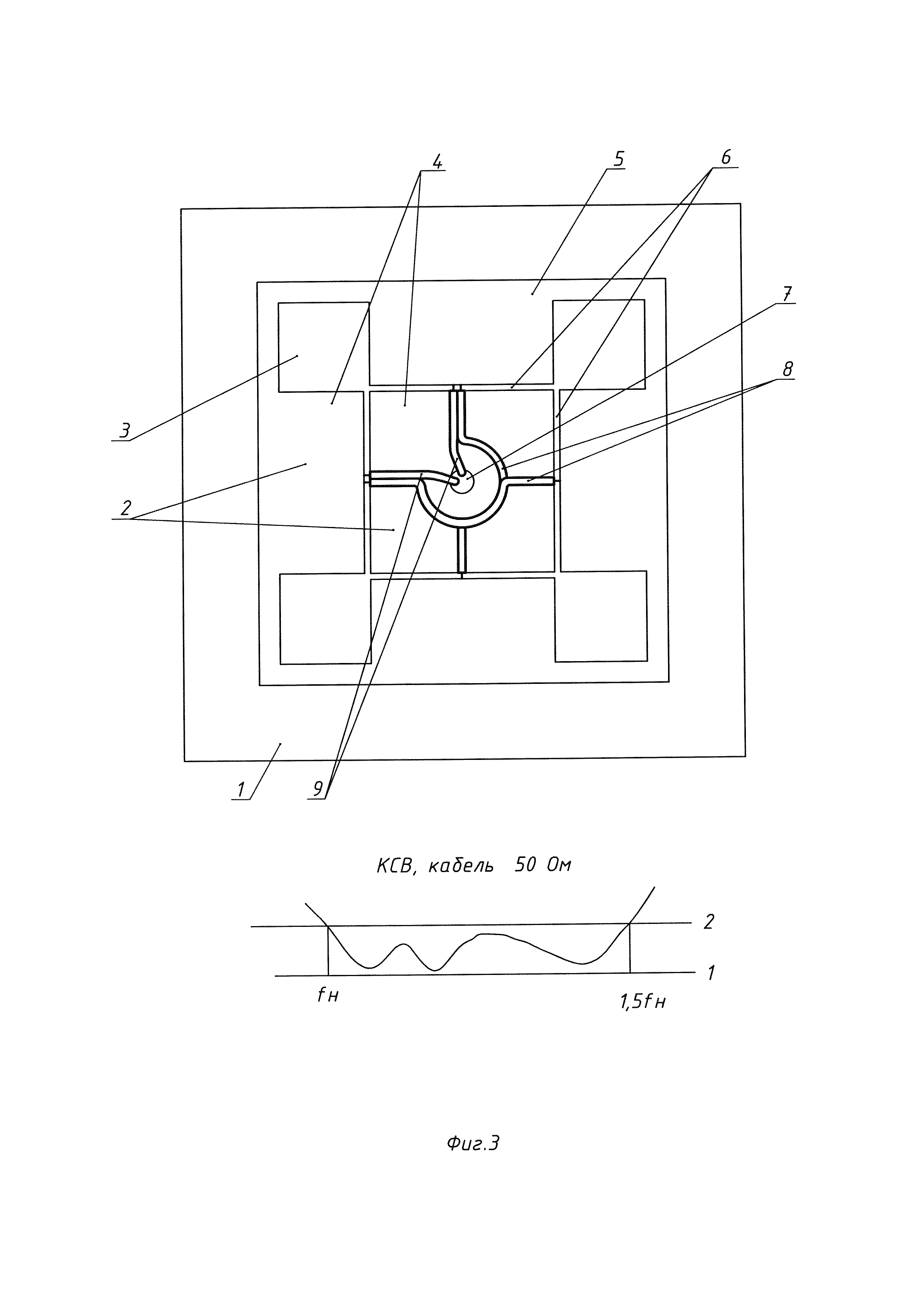
[7]

На чертежах представлены:

[8]

Фиг. 1 Вид сбоку предложенной антенны;

[9]

Фиг. 2 Вид сверху предложенной антенны с большими (максимально возможными) окнами и зависимость коэффициента стоячей волны (КСВ) от частоты для данного варианта антенны;

[10]

Фиг. 3 Вид сверху антенны с уменьшенными окнами и зависимость (КСВ) от частоты для данного варианта антенны

[11]

Цифрами на фигурах обозначены:

[12]

1 - Металлический экран

[13]

2 - Квадратный излучатель

[14]

3 - Квадратные окна

[15]

4 - Полосы

[16]

5 - Рамка

[17]

6 - Узкие зазоры

[18]

7 - Центр излучателя

[19]

8 - Отрезки кабеля

[20]

9 - Входные кабели

[21]

10 - Опорные стойки-изоляторы

[22]

11 - Трубчатая стойка, показанная пунктиром на фиг. 1.

[23]

Предлагаемая антенна содержит плоский металлический экран 1, на котором установлен квадратный излучатель 2, (посредством опорных стоек-изоляторов 10 или одной стойки в виде металлической трубки 11, расположенной в центре квадратного излучателя 2).

[24]

В углах квадратного излучателя 2 выполнены квадратные окна 3 таким образом, что образуются полосы 4 и рамка 5, причем ширина проводника рамки 5 много меньше длины рабочей волны, а ширина полос 4 зависит от размера окон 3 и может быть узкой (т.е. много меньше длины рабочей волны) при большом окне 3 или широкой при малом окне 3. В полосах 4 на равных расстояниях от центра 7 выполнены узкие зазоры 6, к которым подведено противофазное питание от входного кабеля 9 через полуволновые отрезки кабеля 8.

[25]

При размере стороны квадратного излучателя 2 около 1/3 длины рабочей волны и данном способе питания по сторонам рамки 5 и параллельной им полосы 4 протекают однонаправленные синфазные токи и с учетом отражения от экрана 1 формируется однонаправленная диаграмма излучения с повышенным коэффициентом усиления.

[26]

Свойства и характеристики предложенной антенны зависят от размеров ее элементов и могут регулироваться их выбором в широких пределах.

[27]

Размер стороны квадратного излучателя 2 должен быть равен приблизительно 1/3 длины рабочей волны для достижения эффективного излучения. При большом размере квадратных окон 3 и узкой полосе 4 при разнесенных далеко друг от друга узких разрезах 6 входное сопротивление антенны велико, и для согласования с входным кабелем требуется уменьшение высоты расположения квадратного излучателя 2 над экраном 1 (фиг. 2). Антенна становится резонансной с узкой полосой (порядка 10%).

[28]

При уменьшении размеров квадратных окон и сближении узких зазоров 6 друг с другом рабочий диапазон антенны расширяется и перекрытие по частоте достигает значения 1,5 и более (фиг. 3) при высоте расположения квадратного излучателя 2 над экраном 1 h≈1/8 длины рабочей волны λ.

[29]

Экспериментальные образцы имели следующие размеры:

[30]

а - длина стороны квадратного излучателя 2;

[31]

b - длина стороны квадратного окна 3;

[32]

h - высота квадратного излучателя 2 над экраном 1;

[33]

с - ширина проводника 4 рамки 5;

[34]

d - ширина проводника полосы 4;

[35]

е - расстояние между узкими зазорами 6;

[36]

λ - длина рабочей волны;

[37]

λн - максимальная длина рабочей волны;

[38]

fн - минимальная частота рабочего диапазона.

[39]

Резонансная антенна (фиг.2)

[40]

а=0.33λ; b=0,12λ; h=0,08λ; с=0,03λ; d=0,03λ; е=0,27λ

[41]

Диапазонная антенна (фиг.З)

[42]

а=0,31λн; b=0,06λн; h=0,12λн c=0,018λн, d=0,133λн; е=0,133λн

Как компенсировать расходы
на инновационную разработку
Похожие патенты