Изобретение относится к машиностроению и может быть использовано при производстве центробежных насосов, в частности погружных насосов для перекачки воды и жидкого топлива. Центробежный насос содержит корпус, направляющий аппарат, жестко соединенный с корпусом, рабочее колесо, закрепленное на валу. Рабочее колесо содержит диск с лопатками и прижимное устройство с центральным входным отверстием. Граница поперечного сечения, проходящего через вышеуказанный диск, включает участок, который содержит чередующиеся по длине участка выступы и углубления. Протяженность участка составляет 0,25 от периметра границы поперечного сечения диска. Количество выступов равно количеству углублений и составляет от 3 до 9. Высота и глубина соответственно каждого выступа и углубления составляет 0,2 мм. Диаметр диска составляет величину 50 мм, внутренний диаметр корпуса составляет 56 мм. Колесо содержит восемь лопаток. Насос выполнен с возможностью работы на частоте вращения 3000 об/мин. Изобретение направлено на снижение уровня вибрации при работе насоса путем ухода от резонанса за счет внесения изменения в колебательный гидродинамический режим работы насоса при воздействии движущейся жидкости на элементы рабочего колеса. 4 з.п. ф-лы, 11 ил., 6 табл.
1. Центробежный насос, содержащий корпус, направляющий аппарат, жестко соединенный с корпусом, вал, рабочее колесо, закрепленное на валу, при этом рабочее колесо содержит диск с лопатками, прижимное устройство с центральным входным отверстием, отличающийся тем, что граница поперечного сечения, проходящего через вышеуказанный диск, содержит участок и указанный участок содержит чередующиеся по длине участка выступы и углубления, при этом протяженность вышеуказанного участка границы поперечного сечения диска составляет величину L и величину L определяют по формуле: L=0.25 Р, где Р - периметр границы поперечного сечения диска; количество выступов выполняют от 3 до 9, при этом количество углублений равно количеству выступов, и высота каждого выступа составляет 0.2 мм, глубина каждого углубления составляет 0.2 мм; и диаметр диска составляет величину 50 мм, внутренний диаметр корпуса составляет 56 мм, рабочее колесо содержит восемь лопаток, при этом центробежный насос выполнен с возможностью работы на частоте вращения 3000 об/мин. 2. Центробежный насос по п. 1, отличающийся тем, что семь из восьми лопаток закреплены на диске таким образом, что их продольные оси ориентированы радиально, а одна лопатка закреплена на диске таким образом, что ее продольная ось ориентирована под углом 0.1 рад к радиальной оси диска, проходящей через цент масс лопатки. 3. Центробежный насос по п. 1, отличающийся тем, что семь из восьми лопаток, закрепленных на диске, выполнены толщиной 1 мм, а одна лопатка, закрепленная на диске, выполнена толщиной 1.7 мм. 4. Центробежный насос по п. 1, отличающийся тем, что семь из восьми лопаток, закрепленных на диске, выполнены длиной 18 мм, а одна лопатка, закрепленная на диске, выполнена длиной 16 мм. 5. Центробежный насос по п. 1, отличающийся тем, что граница поперечного сечения вышеуказанного прижимного устройства содержит участок и указанный участок содержит чередующиеся по длине участка выступы и углубления, при этом протяженность вышеуказанного участка границы поперечного сечения прижимного устройства составляет величину М и величину М определяют по формуле: М=0.25 Р, где Р - периметр границы поперечного сечения прижимного устройства; при этом количество выступов равно 3, количество углублений равно количеству выступов, и высота каждого выступа составляет 0.2 мм, глубина каждого углубления составляет 0.2 мм, и диаметр прижимного устройства составляет величину 50 мм.
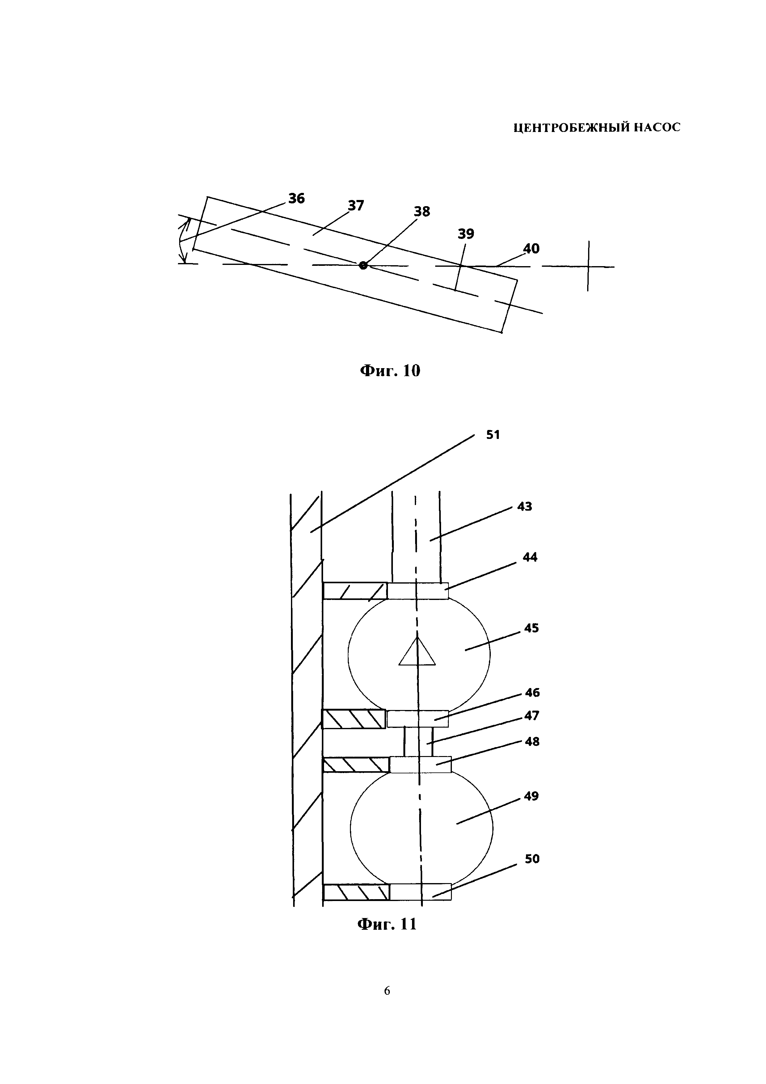
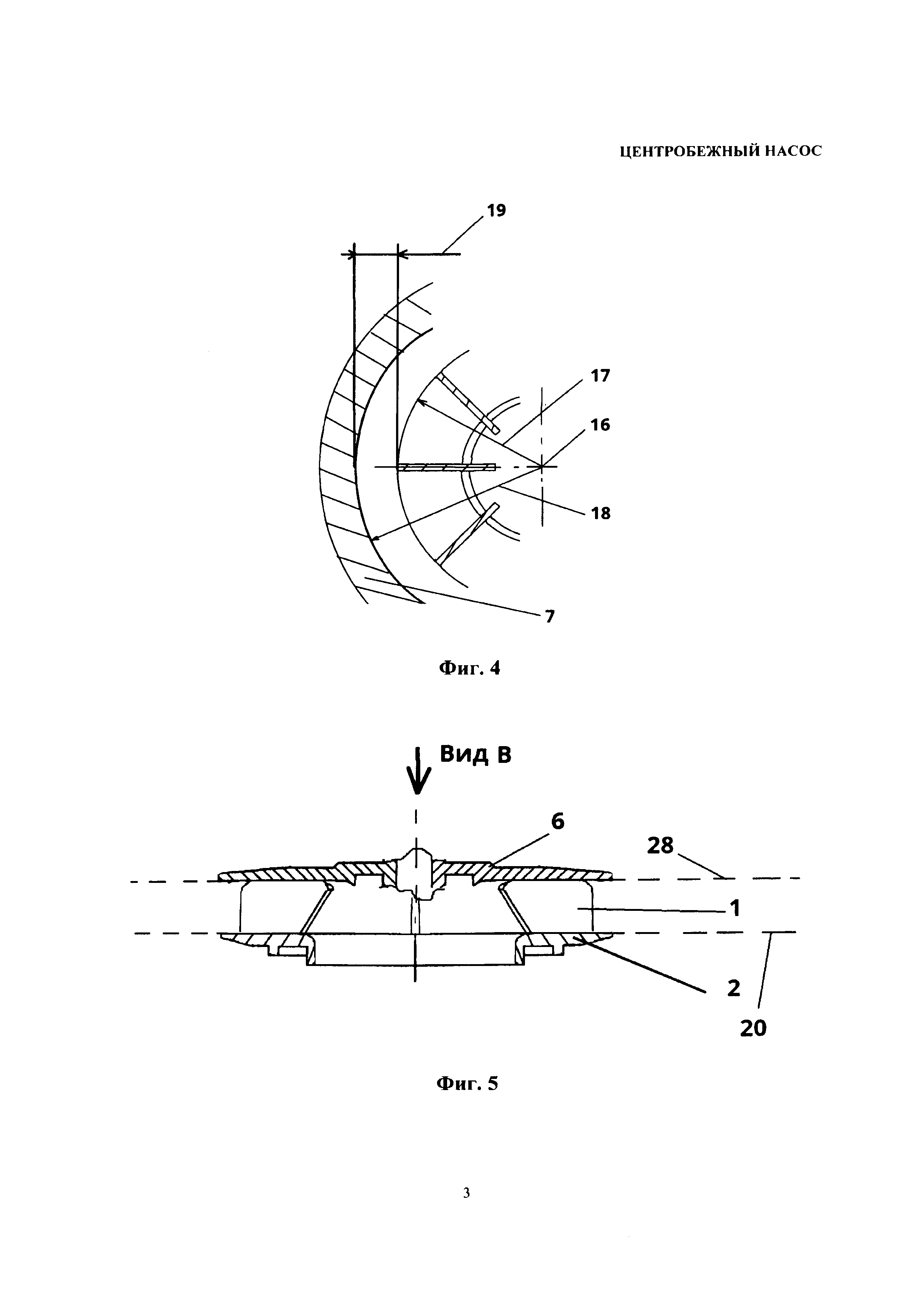
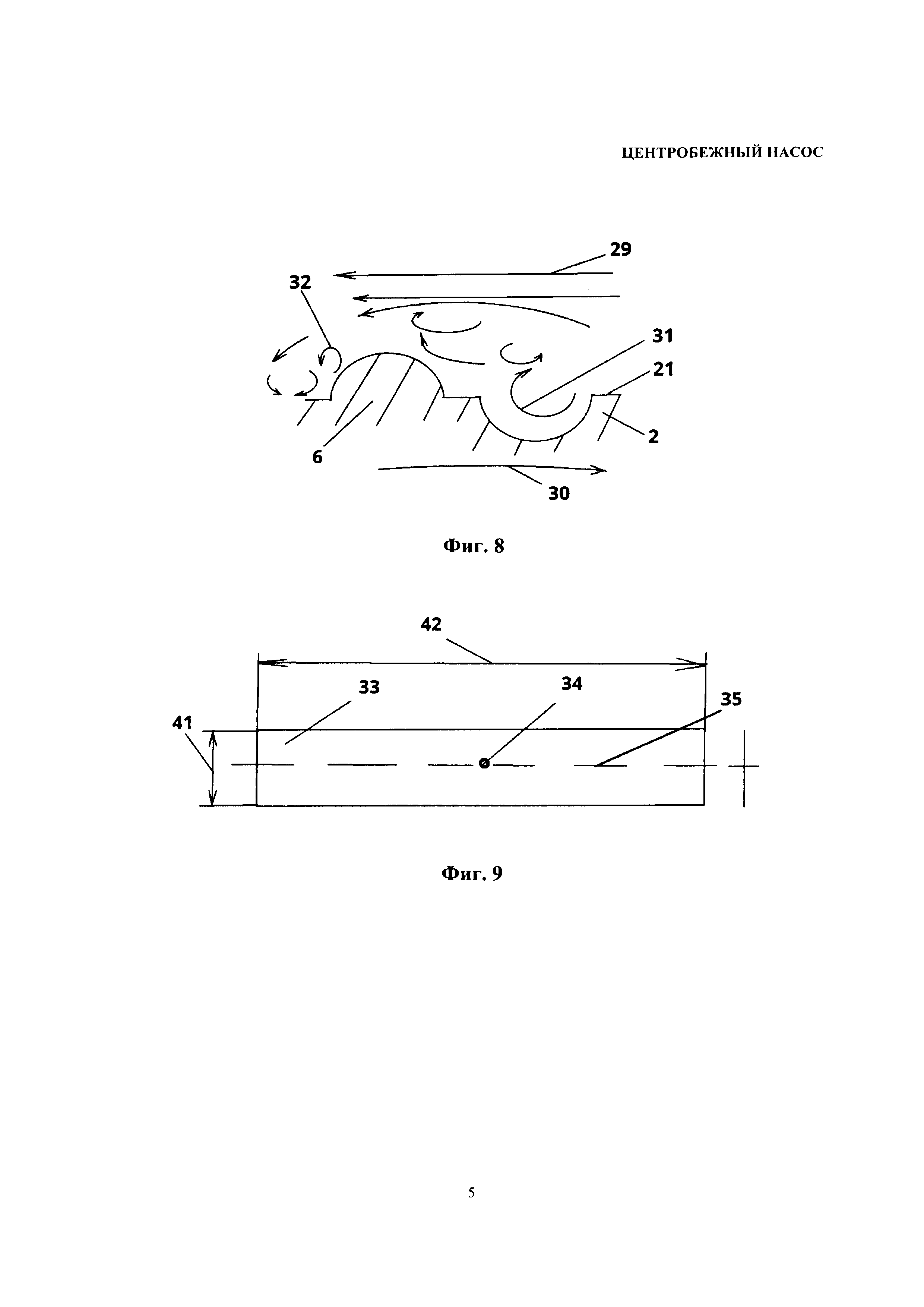
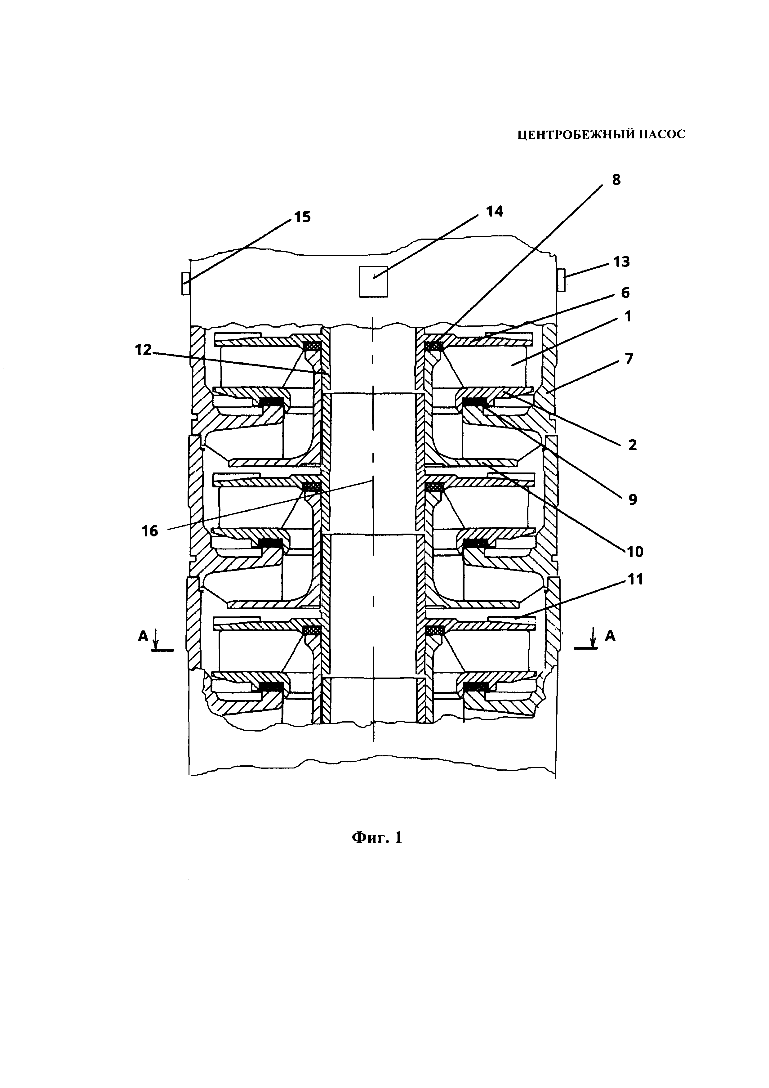
Изобретение относится к машиностроению и гидравлике и может быть использовано для производства центробежных насосов, в частности погружных насосов для перекачки воды и жидкого топлива. Уровень техники. Надежность насосов определяется рядом факторов, в том числе повышенной вибрацией, которая, в первую очередь, сказывается на техническом состоянии подшипников, уплотнений, устройств сопряжения валов, элементов корпуса насоса. Различают вибрации механического, электротехнического и гидродинамического происхождения. Эксплуатация насосов показывает, что наиболее опасна вибрация гидродинамического происхождения, особенно, возникающая при работе насосов на пониженных и повышенных подачах и скоростях. При такой работе насосов происходит интенсивное динамическое воздействие на гидравлическую часть насосов, которое воспринимается механической частью и передается на подшипники, уплотнения, корпус и другие элементы насоса. Данный вид вибрации, в итоге, приводит к разрушению подшипников, смещению и биению валов, разрушению уплотнений, к вибрации трубопроводов, соединенных с насосами. Гидродинамическая вибрация возникает вследствие резонансных или близких к резонансу колебательных процессов, происходящих внутри центробежного насоса. Основной причиной колебательных процессов являются ударные процессы, возникающие при взаимодействии потока с вращающимися лопатками, направляющими поток элементами и корпусом в целом. Настоящее изобретение направлено на снижение опасности возникновения и развития во времени вибрации гидродинамического происхождения. Аналогом изобретению является регулируемый центробежный насос (Патент РФ 80519, опубликованный 10.02.2009), содержащий корпус с всасывающим патрубком и отводом, и расположенное в корпусе рабочее колесо, имеющее лопатки, закрепленный на валу ведущий диск и ведомый диск, установленный с возможностью осевого перемещения, при этом корпус насоса снабжен крышкой, установленной с возможностью осевого перемещения и связанной с ведомым диском, лопатки закреплены на ведущем диске, а в ведомом диске выполнены пазы или прорези для расположения лопаток. Аналог направлен на предотвращение опасных вибраций за счет регулирования расхода перекачиваемой насосом жидкости. У аналога признаки «… центробежный насос содержит корпус, вал, рабочее колесо …» совпадают с признаками изобретения. Недостатком аналога является то, что для предотвращения вибрации не используется такой эффективный способ борьбы с ней, как уход от гидродинамического резонанса за счет внесения в конструкцию рабочего колеса не симметрии его элементов. Также, известен центробежный насос с улучшенными технико-экономическими характеристиками, конкретно, с пониженной вибрацией, с повышенными надежностью и ресурсом (Патент РФ 2485352, опубликованный 20.06.2013). В центробежном насосе, состоящем из корпуса и крышки корпуса, между корпусом и крышкой установлен ротор, состоящий из вала и рабочего колеса с лопатками, при этом ротор насоса установлен во внешних по отношению к корпусу насоса консольных опорах подшипников, последние согласно изобретению выполнены в виде подшипников качения двух типов: сферического двухрядного роликового подшипника, воспринимающего осевую нагрузку вала насоса, и «плавающего» тороидального роликоподшипника, оба подшипника установлены на валу на конических стяжных втулках с осевым разрезом. У аналога признаки «… центробежный насос содержит корпус, вал, рабочее колесо с лопатками …» совпадают с признаками изобретения. Недостатком аналога является то, что для предотвращения вибрации не используется такой эффективный способ борьбы с ней, как уход от гидродинамического резонанса за счет внесения в конструкцию рабочего колеса не симметрии его элементов. В патенте РФ 2476844, опубликованном 27.02.2013, описан центробежный насос, содержащий корпус, вал, рабочее колесо и характеризующийся тем, что при сборке на вал насоса устанавливают пары рабочих колес, подобранных таким образом, чтобы в каждой паре колеса имели равный или близкий по величине, но противоположный или близкий к нему по направлению дисбаланс. Технический результат аналога заключается в увеличении межремонтного периода насоса за счет снижения вибраций насоса при уменьшении трудоемкости процесса уравновешивания ротора. У аналога признаки «… центробежный насос содержит корпус, вал, рабочее колесо …» совпадают с признаками изобретения. Недостатком аналога является то, что для предотвращения вибрации не используется такой эффективный способ борьбы с ней, как уход от гидродинамического резонанса за счет внесения в конструкцию рабочего колеса не симметрии его элементов. Авторы указанного аналога решают задачу борьбы с механическими причинами вибрации, не обращая внимание на гидродинамическую составляющую вибрации. Прототипом изобретению является центробежный насос, содержащий корпус, направляющий аппарат, жестко соединенный с корпусом, вал, рабочее колесо, закрепленное на валу, при этом рабочее колесо содержит диск с лопатками, прижимное устройство с центральным входным отверстием (см. Патент РФ 2568358, опубликованный 20.11.2015). Лопатки со стороны их выходных кромок снабжены, выполненными заодно с лопатками, аксиальными хвостовиками, выступающими за поверхность вращения, на покрывном диске выполнены выходящие на эту поверхность аксиальные пазы, в которых размещены указанные хвостовики, в центробежном рабочем колесе выполнены по числу лопаток отверстия, каждое из которых последовательно проходит через покрывной диск с одной стороны соответствующего паза, размещенный в этом пазе аксиальный хвостовик и покрывной диск с другой стороны этого паза, и в отверстиях установлены штифты. Признаки, совпадающие с признаками изобретения: «…центробежный насос, содержащий корпус, направляющий аппарат, жестко соединенный с корпусом, вал, рабочее колесо, закрепленное на валу, при этом рабочее колесо содержит диск с лопатками, прижимное устройство с центральным входным отверстием». Недостатком аналога является то, что для предотвращения вибрации не используется такой эффективный способ борьбы с ней, как уход от гидродинамического резонанса за счет внесения в конструкцию рабочего колеса не симметрии его элементов. Сущность изобретения. Задачей изобретения является повышение надежности работы центробежного насоса за счет снижения вибрации. Задача изобретения достигается за счет того, что центробежный насос содержит корпус, направляющий аппарат, жестко соединенный с корпусом, вал, рабочее колесо, закрепленное на валу, при этом рабочее колесо содержит диск с лопатками, прижимное устройство с центральным входным отверстием, и от прототипа отличается тем, что граница поперечного сечения, проходящего через вышеуказанный диск, содержит участок и указанный участок содержит чередующиеся по длине участка выступы и углубления, при этом протяженность вышеуказанного участка границы поперечного сечения диска составляет величину L и величину L определяют по формуле: L=0.25 Р, где Р - периметр границы поперечного сечения диска; количество выступов выполняют от 3 до 9, при этом количество углублений равно количеству выступов, и высота каждого выступа составляет 0.2 мм, глубина каждого углубления составляет 0.2 мм; и диаметр диска составляет величину 50 мм, внутренний диаметр корпуса составляет 56 мм, рабочее колесо содержит восемь лопаток, при этом центробежный насос выполнен с возможностью работы на частоте вращения 3000 об/мин. В частном случае реализации изобретения центробежный насос может быть выполнен таким образом, что семь из восьми лопаток закреплены на диске таким образом, что их продольные оси ориентированы радиально, а одна лопатка закреплена на диске таким образом, что ее продольная ось ориентирована под углом 0.1 рад к радиальной оси диска, проходящей через цент масс лопатки. В частном случае реализации изобретения центробежный насос может быть выполнен таким образом, что семь из восьми лопаток, закрепленных на диске, выполнены толщиной 1 мм, а одна лопатка, закрепленная на диске, выполнена толщиной 1.7 мм. В частном случае реализации изобретения центробежный насос может быть выполнен таким образом, что семь из восьми лопаток, закрепленных на диске, выполнены длиной 18 мм, а одна лопатка, закрепленная на диске, выполнена длиной 16 мм. В частном случае реализации изобретения центробежный насос может быть выполнен таким образом, что граница поперечного сечения вышеуказанного прижимного устройства содержит участок и указанный участок содержит чередующиеся по длине участка выступы и углубления, при этом протяженность вышеуказанного участка границы поперечного сечения прижимного устройства составляет величину М и величину М определяют по формуле: М= 0.25 Р, где Р - периметр границы поперечного сечения прижимного устройства; при этом количество выступов равно 3, количество углублений равно количеству выступов, и высота каждого выступа составляет 0.2 мм, глубина каждого углубления составляет 0.2 мм, и диаметр прижимного устройства составляет величину 50 мм. Технический результат изобретения заключается в снижении уровня вибрации, при работе центробежного насоса, путем ухода от резонанса за счет внесения изменения в колебательный гидродинамический режим работы насоса при воздействии движущейся жидкости на элементы рабочего колеса насоса. Другим техническим результатом является замедление развития и усиления вибрационных процессов с течением времени работы насоса. Частные варианты реализации изобретения усиливают положительный эффект, а именно, дополнительно снижают гидродинамическое воздействие при работе насоса. Определение некоторых терминов, используемых в описании, представлены ниже в разделе «Осуществление изобретения». Одним из факторов, определяющих уровень вибрации является гидродинамический резонансный или близкий к резонансному режим работы насоса. В силу не нулевой толщины лопаток рабочего колеса, во время работы насоса возникает периодическое гидродинамическое воздействие потока жидкости, обтекающего лопатки, на элементы направляющего аппарата и на другие элементы корпуса насоса. В случае, если частота гидродинамического воздействия близка к одной из частот собственных колебаний насоса (особенно к одной из низших частот собственных колебаний) или его элемента, например, рабочего колеса, возникают и развиваются резонансные гидродинамические процессы в работающем насосе. В случае совпадения частоты гидродинамического воздействия с одной из частот собственных колебаний насоса или его элемента, возникает и стремительно развивается резонансный режим работы насоса, который приводит к поломке насоса. Для того, чтобы уйти от гидродинамического резонанса при работе насоса предлагается внести ряд конструктивных особенностей в элементы рабочего колеса. Экспериментально установлено, что выполнение выступов и углублений, с определенными геометрическими характеристиками, на заданном участке кромки диска рабочего колеса, приводит к турбулизации потока жидкости в районе выступов и углублений. При этом гидродинамическая картина течения жидкости меняется, изменяется частота гидродинамического воздействия движущейся жидкости на элементы направляющего аппарата. Характеристики выступов и углублений, а также их число, подбирается таким образом, чтобы «увести подальше» значение частоты гидродинамического воздействия от ближайшей частоты собственных колебаний насоса или его элемента. Указанным способом удалось существенно снизить уровень вибраций, в том числе, уменьшить развитие вибрации во времени. Также, экспериментально установлено, что изменение ориентации одной из лопаток на диске, изменение геометрических характеристик (толщины и длины) одной из лопаток, по сравнению с остальными, также может привести к снижению уровня вибрации. Кроме того, выполнение выступов и углублений, с определенными геометрическими характеристиками, на участке кромки прижимного устройства, также приводит к снижению уровня вибрации. В изобретении заявлены наиболее предпочтительные геометрические характеристики выступов и углублений на кромке диска рабочего колеса. Уменьшение высоты выступов и глубины углублений (от заявленных значений), а также уменьшение их числа (от заявленного диапазона значений) уменьшает положительный эффект. Увеличение высоты выступов и глубины углублений (от заявленных значений) сводит к нулю заявленный технический результат. Превышение заявленного значения угла между продольной осью, упомянутой выше, лопатки и радиальной осью диска, проходящей через цент масс лопатки, сводит к нулю заявленный технический результат. Уменьшение значения угла между продольной осью, упомянутой выше, лопатки и радиальной осью диска, проходящей через цент масс лопатки, относительно, заявленного в изобретении значения, уменьшает положительный эффект. Также, экспериментально подобраны геометрические размеры лопатки, с помощью которой добиваются изменения частотных характеристик гидродинамического воздействия движущейся жидкости на элементы корпуса насоса. Увеличение или уменьшение толщины лопатки относительно заявленного в изобретении значения приводит к уменьшению положительного эффекта. Увеличение или уменьшение длины лопатки относительно заявленного в изобретении значения приводит к уменьшению положительного эффекта. Экспериментально установлено, что выполнение выступов и углублений, с определенными геометрическими характеристиками, на заданном участке кромки прижимного устройства рабочего колеса, приводит к турбулизации потока жидкости в районе выступов и углублений. При этом гидродинамическая картина течения жидкости меняется, изменяется частота гидродинамического воздействия движущейся жидкости на элементы направляющего аппарата. Характеристики выступов и углублений, а также их число, подбирается таким образом, чтобы «увести подальше» значение частоты гидродинамического воздействия от ближайшей частоты собственных колебаний насоса или его элемента. Указанным способом удалось существенно снизить уровень вибраций, в том числе, уменьшить развитие вибрации во времени. Также, удалось существенно усилить положительный эффект, полученный от использования выступов и углублений на кромке диска рабочего колеса. Перечень фигур на чертежах. На фиг. 1 представлен фрагмент продольного разреза центробежного насоса. На фиг. 2 представлен фрагмент поперечного разреза А-А, на котором изображено прижимное устройство и лопатки. Вал и корпус на фигуре не показаны. На фиг. 3 представлен продольный разрез Б-Б, а именно продольный разрез диска с лопатками и прижимным устройством. Вал на фигуре не показан. На фиг. 4 показаны геометрические размеры элементов рабочего колеса и корпуса, в частности, зазор между прижимным устройством и корпусом в поперечном разрезе. На фиг. 5 показан продольный разрез диска с лопатками и прижимным устройством. Вал на фигуре не показан. На фигуре пунктиром показаны плоскость 28 поперечного сечения диска и плоскость 20 поперечного сечения прижимного устройства. На фиг. 6 показан вид «В» на диск с указанием границы поперечного сечения 27 диска. На фиг. 7 представлен фрагмент выносного элемента «Г». На фигуре изображена часть границы поперечного сечения диска с выступами и углублениями. На фиг. 8 представлена картина течения жидкости вблизи выступа и углубления при вращении диска. На фиг. 9 представлено продольное сечение лопатки, параллельное поперечному сечению диска и проходящее через центр масс лопатки. Штриховка сечения лопатки не показана, чтобы не загромождать изображение. На фиг. 10 представлено продольное сечение лопатки, параллельное поперечному сечению диска и проходящее через центр масс лопатки. Штриховка сечения лопатки не показана, чтобы не загромождать изображение. Продольная ось лопатки расположена под углом 36 к радиальной оси, проходящей через центр масс лопатки. На фиг. 11 представлена схема центробежного насоса с электродвигателем. Осуществление изобретения. Термины и определения (см. Статью в сети Интернет http://pump.vacau.com/articles/novye-issledovanija-i-razrabotki-v-oblasti-sovershenstvovanija-centrobezhnyh-nasosov.html). Лопатка ориентирована радиально в том случае, когда продольная ось лопатки, проходящая через центр масс лопатки, совпадает с радиальной осью диска, проходящей через цент масс лопатки. Центр масс лопатки - это точка, расположенная внутри лопатки относительно которой суммарный момент сил тяжести, действующих на лопатку равен нулю. В изобретении каждая лопатка в продольном сечении лопатки, параллельном поверхности поперечного сечения диска, содержит границу сечения, и граница сечения выполнена в форме прямоугольника. Направляющий аппарат - устройство, которое направляет поток жидкости, движущейся от выхода одного рабочего колеса на вход другого рабочего колеса или на выход центробежного насоса. Диск с лопатками является одним из основных элементов рабочего колеса центробежного насоса. Диск крепится к валу. Прижимное устройство с центральным входным отверстием является одним из основных элементов рабочего колеса центробежного насоса. Прижимное устройство прижимает лопатки к диску. Прижимное устройство крепится к лопаткам. В изобретении под положительным эффектом понимается снижение гидродинамическое воздействие со стороны движущейся жидкости на элементы насоса при его работе. В исследованиях для определения виброперемещения и виброускорения использовали двухканальный виброанализатор Диана-2М. Средние за сутки значения виброускорения и виброперемещения определяются следующим образом. Замеры виброускорения и виброперемещения осуществляли виброанализатором Диана-2М один раз в час, каждый час в течение суток. Всего за сутки 24 замера. После чего, определялись среднеарифметические значения виброускорения и виброперемещения за сутки. В таблицах приведены средние значения виброускорения и виброперемещения за 1 сутки наблюдения, за 30-е сутки наблюдения (через месяц), на 60-е сутки и на 90-е сутки наблюдения. На фигурах пронумерованы следующие элементы: 1 - лопатка, закрепленная на диске 6. 2 - прижимное устройство с центральным входным отверстием, расположенным вокруг вала 12. Более полное название прижимного устройства - прижимное устройство рабочего колеса или прижимное устройство лопаток рабочего колеса. 3 - продольная ось лопатки, проходящая через цент масс лопатки и центр симметрии поперечного сечения центробежного насоса. 4 - линия, касательная к границе поперечного сечения 21 прижимного устройства в точке пересечения границы поперечного сечения 21 и продольной оси лопатки 3. 5 - угол между линией 4 и линией 3. 6 - диск с закрепленными на нем лопатками 1. Более полное название диска -диск рабочего колеса. 7 - корпус центробежного насоса. 8 - уплотнение. 9 - уплотнение. 10 - направляющий аппарат. 11 - дополнительные лопатки на диске. 12 - вал центробежного насоса. На валу жестко крепится диск с лопатками и снаружи вала располагается направляющий аппарат. Направляющий аппарат выполнен с возможностью проворачиваться относительно вала. 13 - датчик виброметра, установлен на корпусе насоса над первым подшипником. 14 - датчик виброметра. 15 - датчик виброметра. 16 - продольная ось центробежного насоса. 17 - радиус прижимного устройства. Радиус границы поперечного сечения прижимного устройства. 18 - внутренний радиус корпуса. Радиус внутренней границы поперечного сечения корпуса. 19 - зазор между прижимным устройством и корпусом. 20 - поперечная плоскость прижимного устройства. 21 - граница поперечного сечения прижимного устройства. Граница сечения проходит по кромке прижимного устройства. 22 - выступ на границе поперечного сечения 21 диска. 23 - углубление на границе поперечного сечения 21 диска. 24 - высота выступа. 25 - глубина углубления. 26 - выступ на границе поперечного сечения 21 диска. 27 - граница поперечного сечения диска 6. Граница сечения проходит по кромке диска. 28 - поперечная плоскость диска. 29 - линия потока жидкости вблизи выступа и углубления. 30 - направление вращения диска. 31 - линия тока жидкости в углублении. 32 - линия тока жидкости за выступом по направлению движения жидкости. 33 - лопатка в продольном сечении, проходящем через центр масс лопатки (штриховка сечения лопатки не показана). 34 - центр масс лопатки. 35 - продольная ось лопатки, проходящая через центр масс лопатки в продольном сечении лопатки, параллельном поперечному сечению диска. 36 - угол между продольной осью 39 лопатки и радиальной оси диска, проходящей через цент масс 38 лопатки 37. 37 - лопатка в продольном сечении, проходящем через центр масс лопатки (штриховка сечения лопатки не показана). 38 - центр масс лопатки. 39 - продольная ось лопатки. 40 - радиальная ось диска, проходящая через цент масс 38 лопатки 37. 41 - ширина лопатки. 42 - длина лопатки. 43 - напорный трубопровод или напорная труба. 44 - первый подшипник насоса. 45 - центробежный насос. 46 - второй подшипник насоса. 47 - вал, соединяющий электродвигатель с насосом. 48 - первый подшипник электродвигателя. 49 - электродвигатель. 50 - второй подшипник электродвигателя. 51 - труба. В этой трубе закреплены посредством подшипников центробежный насос и электродвигатель. На фиг. 1 представлен фрагмент продольного разреза центробежного насоса. Центробежный насос содержит корпус 7, направляющий аппарат 10, жестко соединенный с корпусом 7, вал 12, рабочее колесо, закрепленное на валу 12, при этом рабочее колесо содержит диск 6 с лопатками 1, прижимное устройство 2 с центральным входным отверстием. Граница поперечного сечения 27 (см. фиг. 6), проходящего через вышеуказанный диск 6, содержит участок (см. фиг. 6, выносной элемент Г) и указанный участок содержит чередующиеся по длине участка выступы 22, 26 и углубления 23, при этом протяженность вышеуказанного участка границы поперечного сечения диска составляет величину L и величину L определяют по формуле: L=0.25 Р, где Р - периметр границы 27 поперечного сечения диска. Расположение поперечного сечения 28 диска 6 показано на фиг. 5. Количество выступов выполняют от 3 до 9, при этом количество углублений равно количеству выступов. Высота 24 каждого выступа составляет 0.2 мм (см. фиг. 7), глубина 25 каждого углубления составляет 0.2 мм. Диаметр диска, равен диаметру границы поперечного сечения 27 диска и составляет величину 50 мм. Внутренний диаметр корпуса составляет 56 мм. Диаметр равен двойному радиусу 18 (см. фиг. 4). Рабочее колесо содержит восемь лопаток 1. При этом центробежный насос выполнен с возможностью работы на частоте вращения 3000 об/мин. Частные возможные вариант реализации изобретения приведены ниже. В изобретении конструктивно семь из восьми лопаток закреплены на диске 6 таким образом, что их продольные оси ориентированы радиально, а одна лопатка закреплена на диске таким образом, что ее продольная ось ориентирована под углом 0.1 рад к радиальной оси диска, проходящей через цент масс лопатки. На фиг. 9 представлена одна из семи лопаток - лопатка 33, у этой лопатки продольная ось 35 совпадает с радиальной осью диска. Продольная ось лопатки проходит через центр масс 34 лопатки. Одна из восьми лопаток - лопатка 37 закреплена на диске таким образом, что ее продольная ось 39, проходящая через центр масс 38 этой лопатки ориентирована под углом 36, равным 0.17 рад к радиальной оси 40 диска 6, проходящей через центр масс 38. В изобретении центробежный насос выполнен так, что семь из восьми лопаток, закрепленных на диске, выполнены толщиной 1 мм (толщина лопатки указана позицией 41 на фиг. 9), а одна лопатка, закрепленная на диске, выполнена толщиной 1.7 мм. В изобретении центробежный насос выполнен так, что семь из восьми лопаток, закрепленных на диске, выполнены длиной 18 мм, а одна лопатка, закрепленная на диске, выполнена длиной 16 мм. Длина лопатки обозначена позицией 42 на фиг. 9. В изобретении центробежный насос выполнен так, что граница 21 (см. фиг. 2) поперечного сечения 20 (см. фиг. 5) вышеуказанного прижимного устройства 2 содержит участок и указанный участок содержит чередующиеся по длине участка выступы и углубления. Протяженность вышеуказанного участка границы поперечного сечения прижимного устройства составляет величину М и величину М определяют по формуле: М=0.25 Р, где Р - периметр границы поперечного сечения прижимного устройства. При этом количество выступов равно 3, количество углублений равно количеству выступов, и высота каждого выступа составляет 0.2 мм, глубина каждого углубления составляет 0.2 мм. Диаметр прижимного устройства 2 равен диаметру границы поперечного сечения 21 и составляет величину 50 мм. Работает заявленное устройство следующим образом. Вращающий момент на вал насоса передается с вала электродвигателя. Схема насосной установки с электродвигателем показана на фиг. 11. На схеме насос 45 закреплен в трубе 51 посредством подшипников 44 и 46. Выход насоса соединен с напорной трубой 43. Вал насоса посредством соединительного вала 47 соединен с валом электродвигателя 49. Электродвигатель также закреплен в трубе посредством подшипников 48 и 50. Во время работы насоса, жидкость поступает через центральное входное отверстие прижимного устройства 2 в межлопаточное пространство, затем с выхода лопаток поступает в направляющий аппарат 10. Дополнительное воздействие на поток оказывают лопатки 11. Направляющий аппарат направляет поток на центральное входное отверстие прижимного устройства рабочего колеса следующей ступени или на выход из насоса в напорный трубопровод. Гидродинамическое воздействие оказывается на торцы лопаток, при натекании на них потока, на корпус 7 насоса, на стенки и другие элементы направляющего аппарата. В силу не нулевой толщины лопаток рабочего колеса, во время работы насоса возникает периодическое гидродинамическое воздействие потока жидкости, обтекающего лопатки, на корпус насоса и элементы направляющего аппарата. Как правило, частота гидродинамического воздействия близка к одной из низших частот собственных колебаний насоса или его элемента, например, рабочего колеса. В этом случае возникают и развиваются резонансные гидродинамические процессы в работающем насосе - вибрация элементов и в целом насоса. В случае совпадения частоты гидродинамического воздействия с одной из частот собственных колебаний насоса или его элемента, возникает и стремительно развивается резонансный режим работы насоса, который приводит к поломке насоса. В процессе работы насоса (приработке его элементов), частоты его собственных колебаний могут изменяться. В этом случае, значение одной из частот собственных колебаний может приближаться к значению частоты гидродинамического воздействия. Наступает гидродинамический резонансный или близкий к резонансному режим работы насоса. Опасные процессы развиваются, значения виброускорения и виброперемещения существенно растут. В табл. 1 в первой строчке показано, как изменяется значение виброускорения у базовой конструкции насоса в течение 90 суток. В табл. 6 в первой строчке показано, как изменяется значение виброперемещения у базовой конструкции насоса в течение 90 суток. Замеры виброускорения и виброперемещения осуществляли на корпусе насоса над первым подшипником 44 в радиальном направлении (см. фиг. 11). Похожие картины развития вибрационных характеристик можно получить и в других точках на корпусе насоса. Для того, чтобы уйти от гидродинамического резонанса при работе насоса в изобретении предлагается внести ряд конструктивных особенностей в элементы рабочего колеса. Экспериментально установлено, что выполнение выступов и углублений, с определенными геометрическими характеристиками, на заданном участке кромки диска рабочего колеса, приводит к турбулизации потока жидкости в районе выступов и углублений. При этом гидродинамическая картина течения жидкости меняется, изменяется частота гидродинамического воздействия движущейся жидкости на элементы направляющего аппарата. Характеристики выступов и углублений, а также их число, подбирается таким образом, чтобы «увести подальше» значение частоты гидродинамического воздействия от ближайшей частоты собственных колебаний насоса или его элемента. Указанным способом удалось существенно снизить уровень вибраций, в том числе, уменьшить развитие вибрации во времени. В таблице 1 представлено изменение среднего за сутки значения виброускорения в районе первого подшипника центробежного насоса в течение трех месяцев наблюдения, в зависимости от технического облика насоса. Из таблицы видно, что выполнение выступов и углублений на кромке диска приводит к снижению вибрации. Дальнейшее увеличение количества выступов (от количества, заявленного в изобретении) не приводит к росту положительного эффекта. Уменьшение количества выступов и углублений (от количества, заявленного в изобретении) приводит к резкому уменьшению эффекта. Заявленная в изобретении конструкция диска с выступами и углублениями позволяет снизить уровень вибрации приблизительно в 1.7…2.2 раза на заявленной частоте работы насоса. С течением времени уровень вибрации также уменьшается. Значения виброускорения и виброперемещения, приведенные в таблицах, получены при заявленной в изобретении частоте вращения рабочего диска. Количество ступеней в экспериментальном насосе изменяли от одной до шести. В таблицах приведены результаты экспериментов с насосом, у которого было три ступени, конструктивные особенности, описанные в изобретении, реализовывались только на одной ступени насоса. Уменьшение числа ступеней в насосе до одной улучшали эффект процентов на пять, что близко к погрешности измерений. Увеличение числа ступеней в насосе с трех до шести ухудшали эффект приблизительно процентов на пять-шесть, что также близко к погрешности измерений. Увеличение количества ступеней более шести при заявленном внутреннем диаметре корпуса проблематично с технологической стороны. В формализованном виде технические облики насосов, прошедших испытания при разработке изобретения, могут быть описаны следующим образом: центробежный насос, содержащий корпус, вал, от 1-й до 6-и ступеней и каждая ступень содержит направляющий аппарат, жестко соединенный с корпусом, рабочее колесо, закрепленное на валу, при этом рабочее колесо содержит диск с лопатками, прижимное устройство с центральным входным отверстием и в одной из ступеней насоса граница поперечного сечения, проходящего через вышеуказанный диск, содержит участок и указанный участок содержит чередующиеся по длине участка выступы и углубления. Проведенные исследования показали, что возможно усилить положительный эффект от выступов и углублений на диске за счет внесения конструктивной особенности в креплении одной из восьми лопаток. Одну лопатку закрепляют на диске таким образом, что ее продольная ось ориентирована под углом не равным нулю (под заявленным в изобретении углом) к радиальной оси диска. Такое расположение лопатки вносит возмущение в поток жидкости, обтекающий лопатку. В результате изменяется частота гидродинамического воздействия на элементы насоса. В таблице 2 показано изменение среднего за сутки значения виброускорения в районе первого подшипника центробежного насоса в течение трех месяцев наблюдения при заявленном угле наклона лопатки. Это оптимальный угол наклона лопатки, увеличение угла приводит к увеличению вибрации, а уменьшение угла приводит к снижению положительного эффекта. За счет наклона лопатки можно, в среднем, процентов на двадцать дополнительно снизить вибрацию насоса. Исследования также показали, что изменить характеристики гидродинамического воздействия на элементы насоса возможно за счет того, что одну лопатку, закрепленную на диске, выполнить большей толщины, чем остальные лопатки. В таблице 3 показано изменение среднего за сутки значения виброускорения в районе первого подшипника центробежного насоса в течение трех месяцев наблюдения при заявленном увеличении толщины одной из лопаток. Дальнейшее увеличение толщины одной лопатки (от заявленного в изобретении значения) приводит к росту виброускорения. Уменьшение толщины (от заявленного в изобретении значения) приводит к снижению положительного эффекта. Из таблицы 3 видно, что общий эффект от использования утолщенной лопатки может быть увеличен примерно в 1.2 раза. Кроме того, исследования показали, что изменить характеристики гидродинамического воздействия на элементы насоса возможно за счет того, что одну лопатку, закрепленную на диске, выполнить меньшей длины, чем остальные лопатки. В таблице 4 показано изменение среднего за сутки значения виброускорения в районе первого подшипника центробежного насоса в течение трех месяцев наблюдения при заявленном уменьшении длины одной из лопаток. Дальнейшее укорочение одной лопатки (от заявленного в изобретении значения) приводит к росту виброускорения. Удлинение лопатки от заявленного в изобретении значения технически невозможно. Из таблицы 4 видно, что общий эффект от использования укороченной лопатки может быть увеличен примерно в 1.15 раза. Экспериментально установлено, что выполнение выступов и углублений на кромке прижимного устройства приводит к дополнительному снижению вибрации. Дальнейшее увеличение количества выступов (от количества, заявленного в изобретении) не приводит к росту положительного эффекта. Уменьшение количества выступов и углублений (от количества, заявленного в изобретении) приводит к резкому уменьшению эффекта. Заявленная в изобретении конструкция прижимного устройства с выступами и углублениями позволяет снизить уровень вибрации приблизительно в 1.25 раза на заявленной частоте работы насоса. С течением времени уровень вибрации также уменьшается. При проведении исследований осуществляли замер виброускорения и виброперемещения. Эффект от изобретения может быть продемонстрирован на примере изменений виброускорений. Данный показатель наиболее универсальный для характеристики вибрации. Виброперемещения, при экспериментах, показывали аналогичную виброускорению динамику изменения. Для примера в таблице 6 представлено изменение среднего за сутки значения виброперемещения в районе первого подшипника центробежного насоса в течение трех месяцев наблюдения, в зависимости от количества выступов и углублений на кромке диска. В экспериментах достигнуто уменьшение виброперемещения в разы. В результате исследований, проведенных при разработке изобретения, установлено, что внедрение предложенных конструктивных изменений в насос приводит к уменьшению вибрации, а, следовательно, и к повышению надежности работы насоса, его долговечности. Таким образом, задача изобретения решена, при реализации изобретения будет достигнуто повышение надежности работы центробежного насоса за счет снижения вибрации. Будет существенно снижено гидродинамическое воздействие на насос, будет устранена гидродинамическая причина развития вибрации со временем в процессе работы насоса. Будет достигнут заявленный технический результат, а именно, будет достигнуто снижение уровня вибрации, при работе центробежного насоса, путем ухода от резонанса за счет внесения изменения в колебательный гидродинамический режим работы насоса при воздействии движущейся жидкости на элементы рабочего колеса насоса. Также будет замедлено развитие и усиление вибрационных процессов с течением времени работы насоса. Примечание. Замеры виброускорения осуществляли один раз в час в течение суток. Всего за сутки 24 замера. Примечание. Замеры виброперемещения осуществляли один раз в час в течение суток. Всего за сутки 24 замера.




