патент
№ RU 2640281
МПК E01H5/10

СНЕГОТАЯЛКА

Авторы:
Борткевич Виктор Станиславович Щигал Тамара Афроимовна Миркис Михаил Владимирович
Все (4)
Номер заявки
2017112045
Дата подачи заявки
10.04.2017
Опубликовано
27.12.2017
Страна
RU
Как управлять
интеллектуальной собственностью
Чертежи 
1
Реферат

Изобретение относится к области городского хозяйства, а именно к устройствам для сбора и таяния снега и льда. Снеготаялка содержит подземную снегоприемную камеру с загрузочным окном, перекрытым решеткой, трубопровод для отвода талой воды и интенсификатор таяния снега. Интенсификатор выполнен в виде коллектора с оросительными трубами, присоединенного к магистрали сточных вод. Устройство включает снегоплавильный канал, сообщенный с камерой, с установленным над каналом съемным перекрытием и расположенным в канале средством для задержания твердых плавающих загрязнений. Вдоль внутренней поверхности стен снегоприемной камеры располагается затопленный трубопровод с отверстиями для подачи теплой сточной воды, оснащенный задвижкой, установленной перед вводом трубопровода в снеготаялку. При этом дно снегоприемной камеры, возвышающееся над дном снегоплавильного канала, выполнено наклонным в его сторону и сопрягается с дном снегоплавильного канала ступенькой. Технический результат изобретения заключается в повышении эффективности работы снеготаялки, а также сокращении длины и глубины снегоплавильного канала за счет обеспечения возможности регулирования интенсивности плавления снега и гидравлического смыва со дна снегоприемной камеры минеральных частиц, выпадающих при плавлении снега. 1 з.п. ф-лы, 2 ил.

Формула изобретения

1. Снеготаялка, содержащая подземную снегоприемную камеру с загрузочным окном, перекрытым решеткой, трубопровод для отвода талой воды и интенсификатор таяния снега, выполненный в виде коллектора с оросительными трубами, присоединенного к магистрали сточных вод, снегоплавильный канал, сообщенный с камерой, с установленным над каналом съемным перекрытием и расположенным в канале средством для задержания твердых плавающих загрязнений, отличающаяся тем, что вдоль внутренней поверхности стен снегоприемной камеры располагается затопленный трубопровод с отверстиями для подачи теплой сточной воды, оснащенный задвижкой, установленной перед вводом трубопровода в снеготаялку, при этом дно снегоприемной камеры, возвышающееся над дном снегоплавильного канала, выполнено наклонным в его сторону и сопрягается с дном снегоплавильного канала ступенькой.

2. Снеготаялка по п. 1, отличающаяся тем, что затопленный трубопровод с отверстиями для подачи теплой сточной воды оснащен автоматической задвижкой, связанной с датчиком температуры воды, расположенным на входе в снегоплавильный канал.

Описание

[1]

Изобретение относится к области городского хозяйства, а именно к устройствам для сбора и таяния снега и льда.

[2]

Известны мобильные и стационарные снеготаялки, в которых плавление снега достигается путем его подогрева теплом выхлопных газов [1] или топливными горелками различной конструкции [2]. Эти снеготаялки требуют больших затрат топлива и отрицательно влияют на окружающую среду. Указанных недостатков лишены снеготаялки, использующие тепло сточных канализационных вод.

[3]

Наиболее близким по технической сущности и достигаемому результату является известная снеготаялка, содержащая подземную снегоприемную камеру с загрузочным окном, перекрытым решеткой, трубопровод для отвода талой воды и интенсификатор таяния снега, выполненный в виде коллектора с оросительными трубами, присоединенного к магистрали сточных вод, снегоплавильный канал, сообщенный с камерой, с установленным над каналом съемным перекрытием и расположенным в канале средством для задержания твердых плавающих загрязнений [3].

[4]

Недостатками известной снеготаялки являются отсутствие возможности регулирования интенсивности плавления снега и скопление на дне снегоприемной камеры минеральных частиц, выпадающих при его плавлении, что приводит к необходимости удлинения снегоплавильного канала и увеличению его глубины, а также к снижению эффективности работы снеготаялки.

[5]

Цель изобретения - обеспечение возможности регулирования интенсивности плавления снега и гидравлического смыва со дна снегоприемной камеры минеральных частиц, выпадающих при его плавлении, что позволяет сократить длину и глубину снегоплавильного канала, а также повысить эффективность работы снеготаялки с уменьшением строительного объема сооружения.

[6]

Поставленная цель достигается тем, что в известной снеготаялке, содержащей подземную снегоприемную камеру с загрузочным окном, перекрытым решеткой, трубопровод для отвода талой воды и интенсификатор таяния снега, выполненный в виде коллектора с оросительными трубами, присоединенного к магистрали сточных вод, снегоплавильный канал, сообщенный с камерой, с установленным над каналом съемным перекрытием и расположенным в канале средством для задержания твердых плавающих загрязнений, вдоль внутренней поверхности стен снегоприемной камеры располагается затопленный трубопровод с отверстиями для подачи теплой сточной воды, оснащенный задвижкой, установленной перед вводом трубопровода в снеготаялку, при этом дно снегоприемной камеры, возвышающееся над дном снегоплавильного снеготаялку, при этом дно снегоприемной камеры, возвышающееся над дном снегоплавильного канала, выполнено наклонным в его сторону и сопрягается с дном снегоплавильного канала ступенькой.

[7]

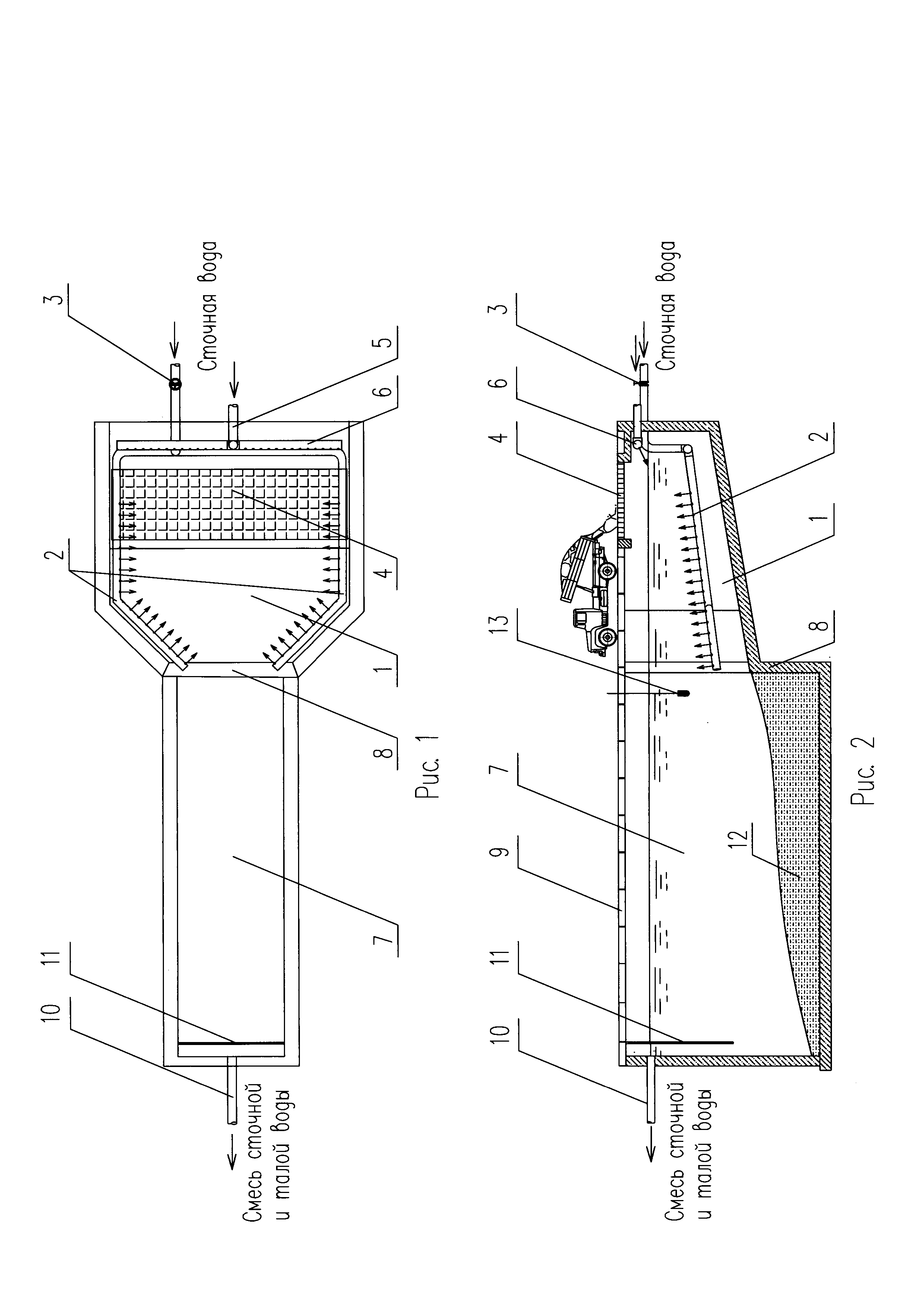
На рис. 1 показан план снеготаялки, на рис. 2 - продольный разрез.

[8]

Снеготаялка содержит подземную снегоприемную камеру 1 с наклонным дном и затопленным трубопроводом 2, оснащенным задвижкой 3, загрузочное окно с решеткой 4, интенсификатор таяния снега, выполненный в виде коллектора 5 с оросительными трубами 6, и снегоплавильный канал 7, соединенный со снегоприемной камерой ступенькой 8. Над снегоплавильным каналом расположено съемное перекрытие 9, а перед трубопроводом отвода смеси талой и сточной воды в канализацию 10 в снегоплавильном канале установлено устройство для задержания плавающих загрязнений 11.

[9]

Снеготаялка работает следующим образом.

[10]

Снег из автотранспорта сбрасывается в снегоприемную камеру 1 через загрузочное окно, перекрытое решеткой 4. Рыхлый снег свободно падает через прозоры решетки в снегоприемную камеру, слежавшийся снег и лед принудительно измельчают и продавливают сквозь решетку, например, системами шнеков или бульдозером, который перемещается по решетке, продавливает снег и одновременно убирает за ее пределы крупные включения (камни, строительный мусор и др.). Одновременно с измельченным снегом в камеру 1 с помощью насосов подаются сточные воды из городской сети канализации, для чего используется интенсификатор таяния снега, выполненный в виде коллектора 5 с оросительными трубами 6. Орошение падающего снега струями теплых сточных вод происходит с помощью оросительных труб. При необходимости увеличения интенсивности плавления снега дополнительно открывается задвижка 3 на затопленном трубопроводе с отверстиями для подачи теплой сточной воды 2, что создает условия для ускоренного плавления снежной массы. Подача сточной воды, регулирование и отключение затопленного трубопровода производится задвижкой 3. Смесь сточной и талой воды, образовавшаяся после таяния снега, перетекает вместе с нерастаявшей частью снега из снегоприемной камеры с наклонным дном 1 в снегоплавильный канал 7, где одновременно с плавлением нерастаявшей части снега из смеси сточной и талой воды осаждаются минеральные частицы 12, которые накапливаются на дне снегоплавильного канала. Осветленная смесь сточной канализационной и талой воды по трубопроводу 10 самотеком отводится в городскую канализацию. Попадание плавающих загрязнений в отводящий трубопровод предотвращается устройством для задержания плавающих загрязнений 11. По мере накопления минеральных частиц 12 в снегоплавильном канале 7 загрузка снега в камеру 1 прекращается, перекрытие снегоплавильного канала 9 снимают, откачивают воду и производят выгрузку минеральных частиц строительной техникой, например экскаватором-грейфером.

[11]

Для повышения оперативности процесса регулирования интенсивности плавления снега, при изменении температуры воды на входе в снегоплавильный канал, затопленный трубопровод с отверстиями для подачи теплой сточной воды может быть оснащен автоматической задвижкой 3, связанной с датчиком температуры воды 13, расположенным на входе в снегоплавильный канал.

[12]

Сопоставительный анализ заявленного технического решения с прототипом показывает, что предложенная снеготаялка с регулируемой интенсивностью плавления снега и гидравлическим смывом минеральных частиц из снегоприемной камеры отличается наличием новых конструктивных признаков, способствующих повышению эффективности ее работы и уменьшению строительного объема сооружения, следовательно, соответствует критерию изобретения - «новизна».

[13]

Сравнением заявленного технического решения не только с прототипом, но и другими известными решениями того же назначения [4, 5 и пр.] не обнаружено решение, обладающее сходными признаками, что позволило сделать вывод о соответствии предложенного технического решения критерию - «существенные отличия».

[14]

Заявленное техническое решение предлагается использовать при утилизации снежной массы в городе Тюмени [6], а в дальнейшем в других городах России. Изобретение может быть широко использовано в коммунальном хозяйстве и в сфере природообустройства.

[15]

Источники информации

[16]

1. Патент РФ №2023786 на изобретение «Снеготаялка». Авторы: Попенко Борис Васильевич, Поляков Евгений Алексеевич. Публикация патента 30.11.1994.

[17]

2. Патент РФ №2484199 на изобретение «Установка для таяния снега». Авторы: Щенников Коминтерн Александрович, Богов Игорь Александрович, Толмачев Валерий Владиславович. Публикация патента 10.06.2013.

[18]

3. Патент РФ №2237136 на изобретение «Снеготаялка». Авторы: Храменков С.В., Пупырев Е.И., Зарубин А.П., Штопоров В.Н., Вайсфельд Б.А., Корецкий В.Е., Шеломков А.С. Публикация патента 27.09.2004. Перерегистрирован 25.11.2010 г.

[19]

4. Патент РФ №2226591 на изобретение «Снеготаялка». Авторы: Савкин А.А., Лапшев Н.Н., Панибратов Ю.П., Фалтинский Р.А. Публикация патента 10.04.2004.

[20]

5. Авторское свидетельство СССР №1574718 «Снеготаялка». Авторы: Хотенко С.В., Головчинов В.Н., Ступников С.В., Исраелянц А.Л. Публикация авторского свидетельства 30.06.90.

[21]

6. «Утилизация снежной массы» Борткевич B.C., Миркис В.И., Драчиков С.А., Удовиченко Р.И., Щигал Т.А. «ТБО» - 2017. №2. - С. 18-21.

Как компенсировать расходы
на инновационную разработку
Похожие патенты