Изобретение может быть использовано при создании тепловизионных приборов с охлаждаемыми матричными фотоприемными устройствами. Оптическая система состоит из последовательно расположенных вдоль оптической оси входного объектива, формирующего промежуточное изображение и содержащего первую положительную, вторую отрицательную и третью положительную выпукло-вогнутые линзы, проекционного объектива, содержащего первую двояковыпуклую, вторую отрицательную вогнуто-выпуклую и третью положительную выпукло-вогнутую линзы, и фотоприемного устройства с охлаждаемой диафрагмой. Технический результат - повышение качества изображения системы во всем поле зрения при сохранении габаритов и уменьшении массы. 2 ил., 2 табл.
Оптическая система тепловизионного прибора, состоящая из последовательно расположенных вдоль оптической оси входного объектива, формирующего промежуточное изображение и содержащего первую и вторую выпукло-вогнутые и третью линзы, проекционного объектива, содержащего первую положительную, вторую отрицательную вогнуто-выпуклую и третью положительную выпукло-вогнутую линзы, и фотоприемного устройства, отличающаяся тем, что во входном объективе первая линза выполнена положительной, вторая выполнена отрицательной и третья линза выполнена положительной выпукло-вогнутой, в проекционном объективе первая линза выполнена двояковыпуклой.
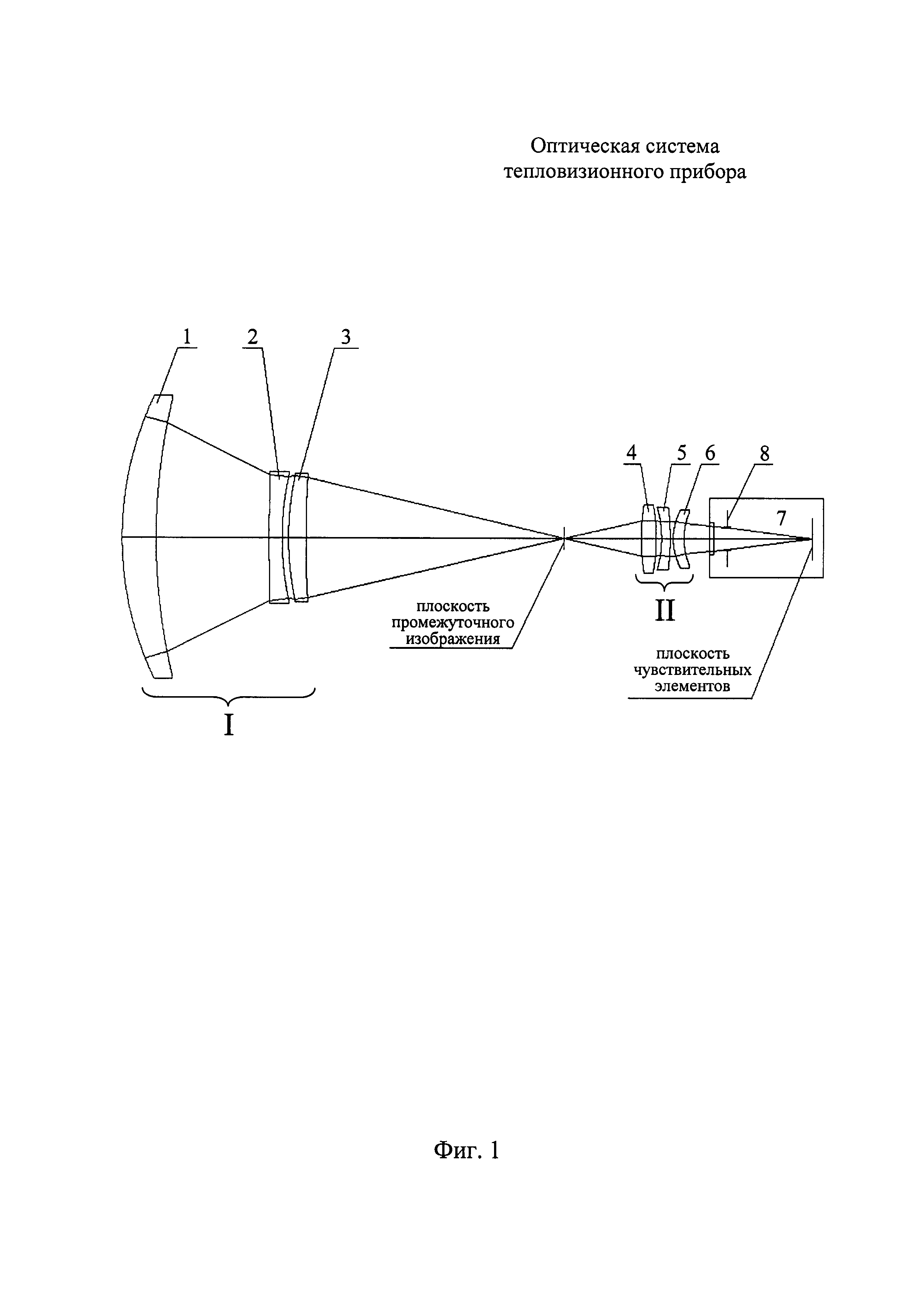
Изобретение относится к инфракрасным оптическим системам и может быть использовано при создании тепловизионных приборов различного назначения с охлаждаемыми матричными фотоприемными устройствами. Известна оптическая система для тепловизионных приборов (см. патент на изобретение RU 2449328 A, МПК7 G02B 13/14, 23/12, опубл. 27.04.2010 г.), содержащая входной объектив из двух линз и проекционный объектив из пяти линз, при этом фокусное расстояние f составляет 60 мм. Также известна оптическая система для тепловизионных приборов (см. патент на изобретение RU 2338227 C1, МПК7 G02B 13/14, 9/64, опубл. 10.11.2008 г.), содержащая входной объектив из трех линз и проекционный объектив из четырех линз, при этом фокусное расстояние f составляет 150 мм. Недостатком указанных систем является малое значение фокусного расстояния. Наиболее близкой по технической сущности к заявляемой оптической системе, принятой за прототип, является оптическая система тепловизионного прибора (см. патент на изобретение RU 2525463 U1, МПК G02B 13/14, 13/16, 9/64, опубл. 20.08.2014 г.), состоящая из расположенных вдоль оптической оси входного объектива, формирующего промежуточное изображение и содержащего первую отрицательную и вторую положительную выпукло-вогнутые линзы и третью отрицательную вогнуто-выпуклую линзу, проекционного объектива, содержащего первую положительную и вторую отрицательную вогнуто-выпуклые линзы, третью положительную выпукло-вогнутую линзу и четвертую положительную вогнуто-выпуклые линзу, и фотоприемного устройства. Оптическая система работает с относительным отверстием 1:4, фокусное расстояние объектива f=230 мм, длина L=159,7 мм, при этом коэффициент телеукорочения TL=L/f=0,69. В приведенных конструктивных параметрах примера конкретного исполнения системы отсутствуют данные о материалах линз. С учетом ограниченности номенклатуры используемых в инфракрасной области оптических материалов, получение заявленных характеристик системы возможно только при выполнении первой и третьей линз входного объектива и второй и четвертой линз проекционного объектива из германия, а второй линзы входного объектива, первой и третьей линз проекционного объектива - из кремния. При таком варианте исполнения масса оптических элементов всей системы m составляет 270 г, причем масса входного объектива mI составляет 263 г за счет наличия в нем двух линз из германия большого диаметра и толщины. В описываемой системе конструкция входного объектива обеспечивает высокое качество изображения в центре поля зрения за счет выполнения первого компонента из двух линз, имеющих большее число коррекционных параметров. Конструктивное выполнение третьей линзы не позволяет обеспечить хорошего качества изображения по всему полю зрения. Для данного примера конкретного исполнения концентрация энергии в кружке диаметром 30 мкм составляет в центре поля зрения 75%, в середине - 66%, на краю - 25% (при размере изображения 12 мм по диагонали). Задачей, на решение которой направлено изобретение, является повышение качества изображения системы во всем поле зрения при сохранении габаритов и уменьшении массы. Указанная цель достигается тем, что в оптической системе тепловизионного прибора, состоящей из последовательно расположенных вдоль оптической оси входного объектива, формирующего промежуточное изображение и содержащего первую и вторую выпукло-вогнутые и третью линзы, проекционного объектива, содержащего первую положительную, вторую отрицательную вогнуто-выпуклую и третью положительную выпукло-вогнутую линзы, и фотоприемного устройства, во входном объективе первая линза выполнена положительной, вторая выполнена отрицательной и третья линза выполнена положительной выпукло-вогнутой, в проекционном объективе первая линза выполнена двояковыпуклой. На фигуре 1 представлена схема оптической системы тепловизионного прибора. На фигуре 2 представлены графики функции концентрации энергии (ФКЭ) системы по полю зрения в кружке рассеяния диаметром 30 мкм. Оптическая система состоит из последовательно расположенных вдоль оптической оси входного объектива I, содержащего первую положительную 1, вторую отрицательную 2 и третью положительную 3 выпукло-вогнутые линзы, проекционного объектива II, содержащего первую двояковыпуклую линзу 4, вторую отрицательную вогнуто-выпуклую линзу 5 и третью положительную выпукло-вогнутую линзу 6, и фотоприемного устройства 7 с охлаждаемой диафрагмой 8. В таблице 1 приведены технические характеристики системы, работающей в среднем инфракрасном диапазоне спектра (3,0-5,0 мкм). В таблице 2 приведены конструктивные параметры примера конкретного исполнения оптической системы. Оптическая система работает следующим образом. Иизлучение от бесконечно удаленного объекта проходит через линзы 1-3 входного объектива I и фокусируется в плоскости промежуточного изображения, затем проходит через линзы 4-6 проекционного объектива II и попадает в фотоприемное устройство 7, в плоскости чувствительных элементов которого формируется изображение, при этом охлаждаемая диафрагма 8 фотоприемного устройства 7 выполняет функцию апертурной диафрагмы системы. Оптическая система тепловизионного прибора работает с относительным отверстием 1:4, фокусное расстояние fmax=230 мм, длина L=161 мм. Общая масса оптических элементов m=82 г, при этом масса входного объектива составляет mI=77 г. Из графика, приведенного на фигуре 2, следует, что в оптической системе обеспечивается высокое качество изображения в пределах всего поля зрения. Концентрация энергии в кружке диаметром 30 мкм составляет в центре поля зрения 75%, в середине - 71%, на краю - 50% (при размере изображения 12 мм по диагонали). При этом масса оптических элементов системы меньше, чем в прототипе в 3,3 раза. Таким образом, выполнение оптической системы тепловизионного прибора в соответствии с предлагаемым техническим решением позволяет обеспечить высокое качество изображения в пределах всего поля зрения при сохранении габаритных размеров и существенном уменьшении массы ее оптических элементов.
