патент
№ RU 2668237
МПК B23K26/262

Сборочно-сварочный стан для производства труб

Авторы:
Котлов Александр Олегович Романцов Александр Игоревич Федоров Михаил Александрович
Все (4)
Номер заявки
2017143109
Дата подачи заявки
16.01.2017
Опубликовано
27.09.2018
Страна
RU
Как управлять
интеллектуальной собственностью
Чертежи 
4
Реферат

Изобретение относится к производству труб большого диаметра, в частности к сборочно-сварочному стану для производства труб. Стан содержит средство подачи трубной заготовки с транспортным рольгангом с продольной осью, проходящим через сборочно-сварочную клеть с радиально расположенными прижимными роликовыми балками, выполненными с возможностью обжатия трубной заготовки, перемещаемой по транспортному рольгангу, продольно ориентированный направляющий нож и тележку с роликами, вращающимися по внутренней поверхности трубной заготовки при перемещении тележки через сборочно-сварочную клеть. На опорных элементах сборочно-сварочной клети установлена гибридная лазерно-дуговая сварочная головка с возможностью ее перемещения по горизонтали, вертикали и вокруг ее продольной оси. Тележка жестко связана с опорными элементами сборочно-сварочной клети посредством вертикально ориентированного продольно направленного соединительного ножа. Направляющий нож выполнен с возможностью позиционирования трубной заготовки раскрытием кромок в положении на 12 часов и установлен на опорных элементах сборочно-сварочной клети с возможностью вертикального перемещения и фиксации. На тележке установлен с возможностью вертикального перемещения упорный ролик, обращенный вверх и выполненный с возможностью воздействия на кромки трубной заготовки с ее внутренней стороны. Одна из роликовых балок установлена вертикально с возможностью воздействия на кромки трубной заготовки с ее наружной стороны. Технический результат: нанесение корневого шва при гарантированном выравнивании кромок трубной заготовки независимо от типоразмера. 4 ил.

Формула изобретения

Сборочно-сварочный стан для производства труб, содержащий средство подачи трубной заготовки с транспортным рольгангом с продольной осью, выполненным с возможностью прохода через сборочно-сварочную клеть с радиально расположенными прижимными роликовыми балками, выполненными с возможностью обжатия трубной заготовки, перемещаемой по транспортному рольгангу, продольно ориентированный направляющий нож и тележку с роликами, вращающимися по внутренней поверхности трубной заготовки при перемещении тележки через сборочно-сварочную клеть, при этом на опорных элементах сборочно-сварочной клети с возможностью перемещения по горизонтали, вертикали и вокруг ее продольной оси установлена гибридная лазерно-дуговая сварочная головка, а тележка жестко связана с опорными элементами сборочно-сварочной клети посредством вертикально ориентированного продольно направленного соединительного ножа, причем направляющий нож выполнен с возможностью позиционирования трубной заготовки раскрытием кромок в положении на 12 часов и установлен на опорных элементах сборочно-сварочной клети с возможностью вертикального перемещения и фиксации, причем на тележке установлен с возможностью вертикального перемещения упорный ролик, обращенный вверх и выполненный с возможностью воздействия на кромки трубной заготовки с ее внутренней стороны, а одна из роликовых балок установлена вертикально с возможностью воздействия на кромки трубной заготовки с ее наружной стороны.

Описание

[1]

Изобретение относится к производству труб большого диаметра, в частности к оборудованию для сварки труб с использованием технологий лазерной и гибридной лазерно-дуговой сварки.

[2]

В связи с использованием технологий лазерной и гибридной лазерно-дуговой сварки в трубном производстве возникает потребность в новом оборудовании, обеспечивающем высокие требования к качеству сварных швов.

[3]

Известно техническое решение, в котором описан стан для сборки и сварки прямошовных труб большого диаметра конечной длины, представляющий собой сварочную клеть со сменными оправками под различные типоразмеры трубных заготовок и оснащенная внутренней оправкой, которая жестко соединена с конструктивными элементами клети с помощью ножа, проходящего между раскрытыми кромками, еще не обжатой трубной заготовки, и оснащена роликами, которые вращаются по внутренней поверхности трубной заготовки при прохождении ее через клеть (ближайший аналог из описания к патенту RU №129853 на полезную модель).

[4]

В известном стане оправки выполнены сменными под различные типоразмеры труб.

[5]

Таким образом, при использовании данного технического решения возникает техническая проблема перевалки стана с одного типоразмера труб на другой, приводящая к затратам времени. Кроме того, это может повлечь потребность в дополнительных площадках для хранения оправок.

[6]

Другой технической проблемой является невозможность выравнивания кромок трубной заготовки при наложении, определяющей качество сварного соединения.

[7]

Следует также отметить, что известный стан не адаптирован для наложения сварного шва снаружи трубной заготовки с использованием лазерных технологий.

[8]

Техническая проблема заключается в создании сборочно-сварочного стана для производства труб, обеспечивающего наложение корневого сварного шва с достижением технического результата, заключающегося в возможности наложения сварного шва на трубы различных типоразмеров при сварке с наружной стороны при гарантированном выравнивании кромок трубной заготовки.

[9]

Предлагаемый стан включает средство подачи трубной заготовки с транспортным рольгангом, имеющим продольную ось и проходящим через сборочно-сварочную клеть с радиально расположенными прижимными роликовыми балками, предназначенными для обжатия трубной заготовки, перемещаемой по транспортному рольгангу, а также продольно ориентированный направляющий нож, тележку с роликами с обеспечением возможности вращения роликов по внутренней поверхности трубной заготовки при перемещении через сборочно-сварочную клеть, при этом тележка жестко связана с опорными элементами сборочно-сварочной клети через вертикально ориентированный и продольно направленный соединительный нож, направляющий нож предназначен для позиционирования трубной заготовки раскрытием кромок в положении на 12 часов и установлен на опорных элементах сборочно-сварочной клети с возможностью перемещения в вертикальном направлении и фиксации, на тележке установлен обращенный вверх прижимной ролик с возможностью перемещения в вертикальном направлении для воздействия на кромки трубной заготовки с внутренней стороны, при этом одна из роликовых балок установлена вертикально с возможностью воздействия на кромки трубной заготовки с наружной стороны, на опорных элементах сборочно-сварочной клети установлена гибридная лазерно-дуговая сварочная головка с возможностью ее перемещения по горизонтальной, вертикальной осям и вокруг продольной оси.

[10]

Решение технической задачи связано с наличием в составе сборочно-сварочной клети новых средств, выполненных в виде гибридной лазерно-дуговой сварочной головки с возможностью вертикального, горизонтального и углового перемещения.

[11]

Наличие транспортного рольганга, проходящего через сборочно-сварочную клеть, обеспечивает возможность обжатия трубной заготовки при ее непрерывном перемещении в заданном положении кромок на 12 часов.

[12]

Функция прижимного ролика, располагаемого внутри трубной заготовки, и вертикально расположенной роликовой балки, обеспечить технический результат - выравнивание кромок трубной заготовки относительно друг друга. Таким образом, заявляемое изобретение способно обеспечить выравнивание кромок трубной заготовки с верхней и нижней стороны, предваряющее наложение сварного шва.

[13]

Наличие прижима кромок снаружи роликовой балкой и внутри упорным роликом, и одновременно с этим роликовыми балками радиально по всему сечению трубной заготовки обеспечивает точность сборки стыка кромок и позволяет производить непрерывную сварку корневого шва.

[14]

Из вышесказанного следует, что предлагаемый стан обладает свойством универсальности, т.к. на нем возможно выполнять сварочный шов с наружи трубной заготовки различных типоразмеров благодаря возможности регулирования высоты прижимного ролика до упора во внутреннюю поверхность трубной заготовки.

[15]

Таким образом, предлагаемое изобретение содержит признаки, находящиеся и функциональной взаимосвязи в конструктивном единстве, обеспечивающие возможность использования сварочной головки, устанавливаемой снаружи трубной заготовки независимо от ее типоразмера.

[16]

Настоящее изобретение поясняется с помощью чертежей:

[17]

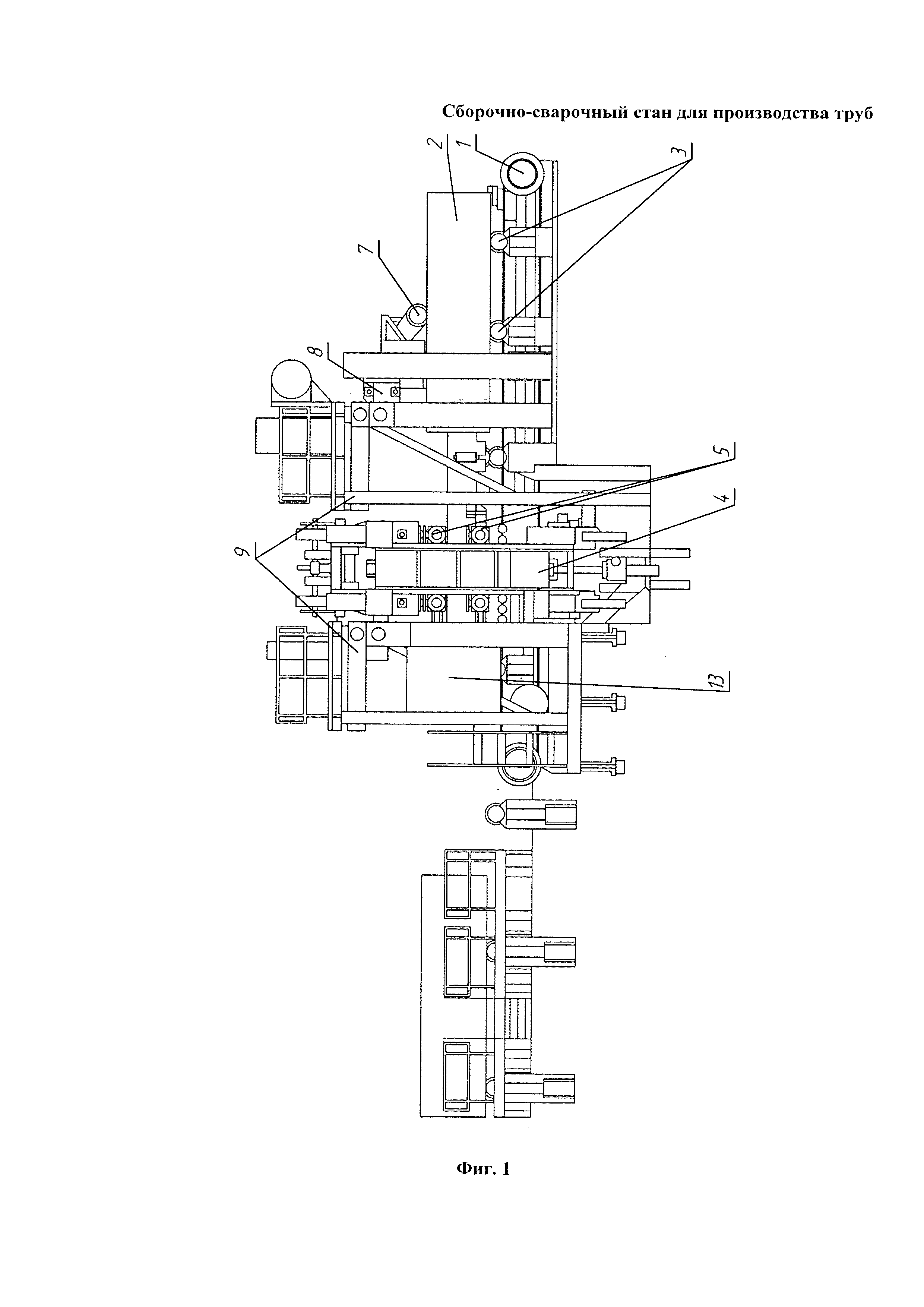
- фигура 1 - общий вид (вид сбоку);

[18]

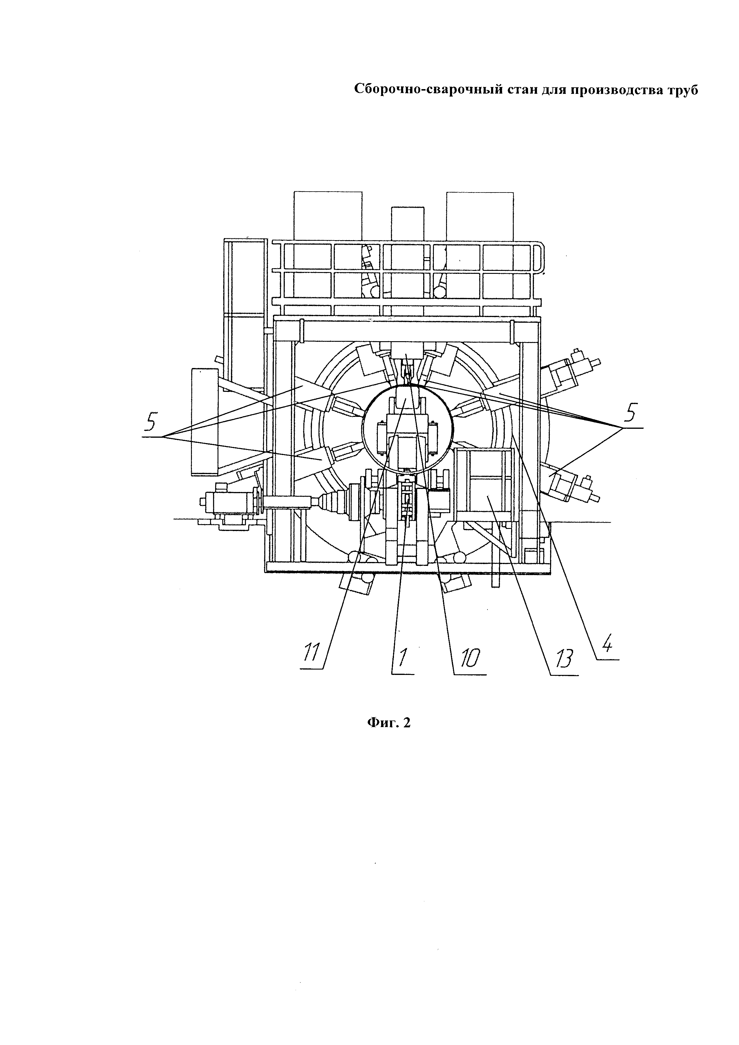
- фигура 2 - общий вид (вид слева);

[19]

- фигура 3 - общий вид сварочная тележка (вид сбоку);

[20]

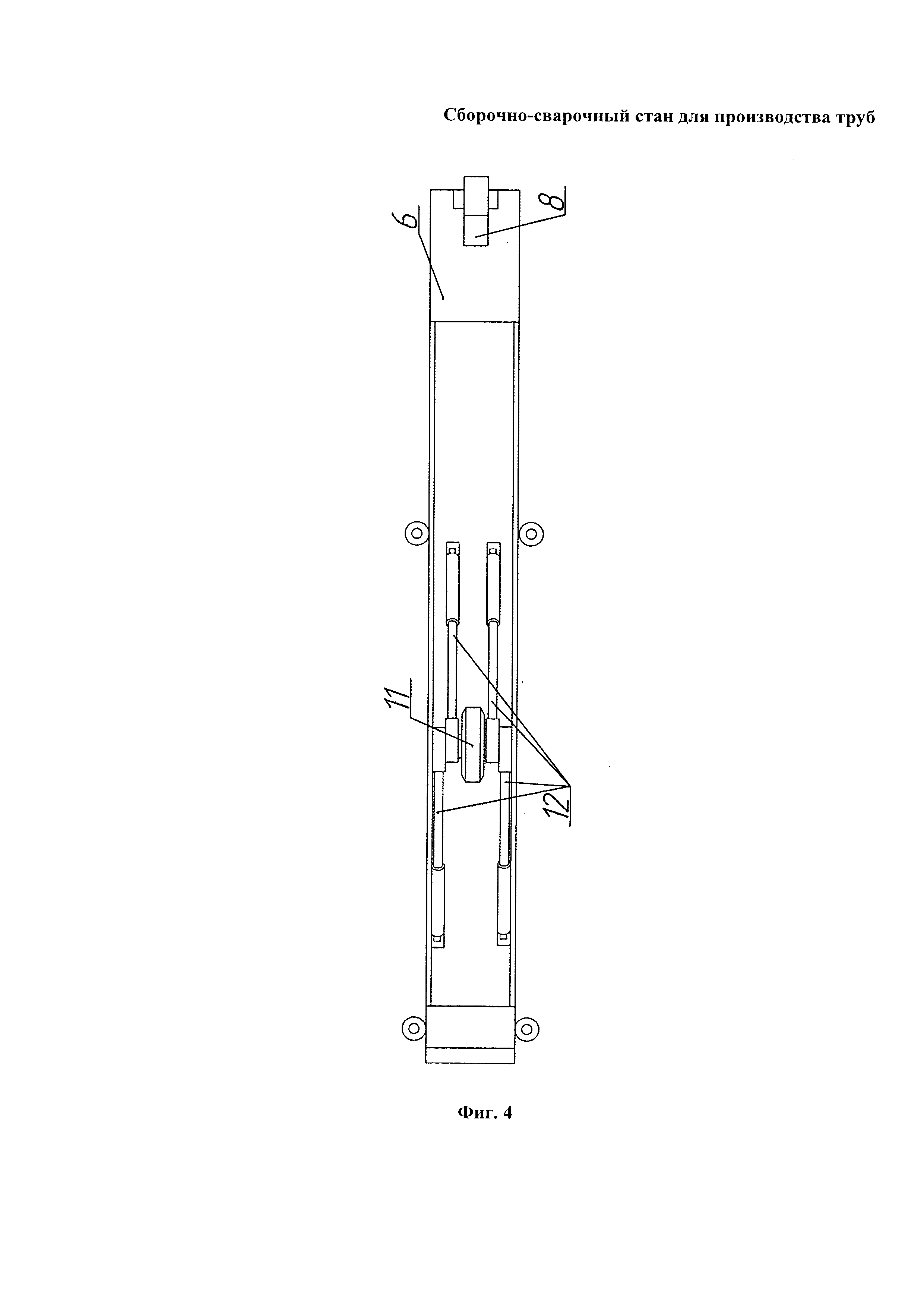
- фигура 4 - общий вид сварочная тележка (вид сверху).

[21]

Сборочно-сварочный стан представляет собой установленные средство 1 подачи трубной заготовки 2 с транспортным рольгангом 3, сборочно-сварочную клеть 4 с прижимными роликовыми балками 5, тележку 6, направляющие ножи 7, 8, технологические мостики 9 с размещенными на нем сварочными источниками питания и сварочными материалами (позицией не обозначены). На сборочно-сварочной клети 4 также установлена сварочная гибридая лазерно-дуговая головка 10 с системой корректоров, обеспечивающих вертикальное, горизонтальное и наклонное перемещение.

[22]

На тележке 6 установлен упорный ролик 11 и механизмы 12 для регулирования высоты прижимного ролика и сварочной головки. Такие механизмы могут быть выполнены в виде гидравлических цилиндров.

[23]

На сварочной тележке имеется стандартное оборудование для обнаружения разделки и для наведения сварочной головки на стык кромок трубной заготовки (на чертеже не показаны).

[24]

Рядом с клетью 4 размещен пост управления станом 13.

[25]

Перед подачей трубной заготовки для наложения корневого шва происходит настройка сборочно-сварочной клети 4 путем перемещения прижимных роликовых балок 5, поднятие/опускание упорного ролика 11 с помощью механизмов 12, поднятие/опускание сварочной головки 10 с системой корректоров и установка режимов сварки на посту управления 13. Затем сформованная трубная заготовка 2 поступает на стан, где позиционируется с помощью ножа 7 раскрытием кромок на «12 часов», и при необходимости увеличивает его для прохождения ножа 8. Трубная заготовка перемещается средством подачи труб 1 в зону сварки, при этом в полость трубной заготовки вводится тележка, заставляя ролики тележки 6 вращаться. При поступлении в рабочую зону трубная заготовка обжимается роликовыми балками 5. Вертикальная роликовая балка, связанная с гидравлическим механизмом осуществляют выравнивание кромок трубной заготовки друг относительно друга путем приложения усилия с наружной стороны, в то же время упорный ролик 11 выравнивает кромки с внутренней стороны. Остальные роликовые балки обжимают трубную заготовку до сведения кромок, затем трубная заготовка останавливается для наведения сварочной головки 10 на стык кромок.

[26]

Сварочная гибридная лазерно-дуговая головка, базируется на системе корректоров, выполненной на основе типовых сервоприводов.

[27]

С помощью системы корректоров сварочная головка устанавливается точно по центру разделки. Оператор на посту управления 13 проверяет и при необходимости корректирует режимы сварки. Таким образом, сварочная головка накладывает корневой шов с наружной стороны.

Как компенсировать расходы
на инновационную разработку
Похожие патенты