патент
№ RU 2648017
МПК G01M11/02

УСТРОЙСТВО ДЛЯ КОНТРОЛЯ ЛАЗЕРНОГО ДАЛЬНОМЕРА

Авторы:
Щеглов Сергей Иванович
Номер заявки
2016151692
Дата подачи заявки
28.12.2016
Опубликовано
21.03.2018
Страна
RU
Как управлять
интеллектуальной собственностью
Чертежи 
1
Реферат

Изобретение относится к оптическому приборостроению и может быть использовано в многоканальных устройствах, предназначенных для контроля прицельно-наблюдательных систем. Устройство для контроля лазерного дальномера, содержащее входную и выходную оптические системы, связанные между собой волоконно-оптической линией задержки, выполненной в виде оптического волокна, входной и выходной торцы которой расположены в фокальных плоскостях входной и выходной оптических систем соответственно, причем входная собирающая и выходная коллимирующая оптические системы образованы одной оптической системой, обращенной вогнутой поверхностью к торцу оптического волокна, оптический элемент выполнен с вогнутой отражающей рабочей поверхностью, в фокальной плоскости которого расположен первый торец оптического волокна, являющегося как входом, так и выходом волоконно-оптической линии задержки, причем второй торец оптического волокна связан с узлом отражателя оптического сигнала. Кроме того, на вогнутую рабочую поверхность оптического элемента может быть нанесено просветляющее и/или защитное покрытие, нерабочие поверхности оптического элемента могут быть выполнены матированными, а в свою очередь покрытие оптического элемента может быть выполнено с показателем поглощения слоя толщиной 1 мм от 0,04 до 2 для излучения с рабочей длиной волны контролируемого лазерного дальномера. Кроме того, узел отражателя оптического сигнала может быть выполнен в виде волоконно-оптического разветвителя, общая ветвь которого оптически связана со вторым торцом оптического волокна, образующего линию задержки, ответвления соединены оптическим аттенюатором, а оптический аттенюатор может быть выполнен регулируемым по коэффициенту ослабления излучения контролируемого лазерного дальномера. Технический результат - компактность устройства контроля лазерного дальномера и его нерасстраиваемость при температурных и вибрационных воздействиях. 5 з.п. ф-лы, 1 ил.

Формула изобретения

1. Устройство для контроля лазерного дальномера, содержащее входную и выходную оптические системы, связанные между собой волоконно-оптической линией задержки, выполненной в виде оптического волокна, входной и выходной торцы которой расположены в фокальных плоскостях входной и выходной оптических систем соответственно, причем входная собирающая и выходная коллимирующая оптические системы образованы оптической системой, обращенной вогнутой поверхностью к торцу оптического волокна, кроме того, входной и выходной торцы оптического волокна расположены на одной оптической оси в фокальных плоскостях входной собирающей и выходной коллимирующей оптических систем, отличающееся тем, что входная собирающая и выходная коллимирующая оптические системы выполнены в виде одного оптического элемента с вогнутой отражающей рабочей поверхностью, в фокальной плоскости которого расположен первый торец оптического волокна, являющегося как входом, так и выходом волоконно-оптической линии задержки, при этом у второго торца оптического волокна обеспечена возможность отражения оптического сигнала или второй торец связан с узлом отражателя оптического сигнала.

2. Устройство по п. 1, отличающееся тем, что на вогнутую рабочую отражающую поверхность оптического элемента нанесено просветляющее и/или защитное покрытие, а нерабочие поверхности оптического элемента выполнены матированными.

3. Устройство по п. 2, отличающееся тем, что покрытие рабочей поверхности оптического элемента выполнено обеспечивающим коэффициент отражения в пределах от 0,1% до 10%.

4. Устройство по п. 2, отличающееся тем, оптический элемент выполнен из материала с показателем поглощения слоя материала толщиной 1 мм в пределах от 0,04 до 2 для излучения с рабочей длиной волны контролируемого лазерного дальномера.

5. Устройство по п. 1, отличающееся тем, что отражатель оптического сигнала выполнен в виде волоконно-оптического разветвителя, общая ветвь которого оптически связана со вторым торцом оптического волокна, образующего линию задержки, а ответвления соединены оптическим аттенюатором.

6. Устройство по п. 5, отличающееся тем, что оптический аттенюатор выполнен регулируемым по коэффициенту ослабления излучения контролируемого лазерного дальномера.

Описание

[1]

Изобретение относится к оптическому приборостроению и может быть использовано в многоканальных устройствах, предназначенных для контроля прицельно-наблюдательных систем, содержащих лазерный дальномер.

[2]

Известно устройство для контроля лазерного дальномера, установленного в изделии с телевизионным каналом наблюдения, описанное в свидетельстве на полезную модель РФ №40680, МПК G01S 17/10, G02B 23/00, G01C 3/00, опубл. 20.09.2004 г. Устройство содержит волоконно-оптическую линию задержки с входным и выходным торцами, входную оптическую систему с зеркальным объективом, выполненным в виде сферического зеркала, и выходную оптическую систему с выходным зеркальным объективом, выполненным в виде сферического зеркала с центральным отверстием, и плоского зеркала. Во входную оптическую систему введена апертурная диафрагма, блок ослабления излучения, блок переменного отклонения излучения, входной зеркальный объектив, первая полевая диафрагма, рассеиватель излучения, первый осветитель, фотоприемник. В выходную оптическую систему введены вторая полевая диафрагма и второй осветитель, размещенный с возможностью освещения второй полевой диафрагмы, расположенные перед выходным зеркальным объективом, при этом выходной торец волоконно-оптической линии задержки расположен в фокальной плоскости выходного зеркального объектива. Данная оптическая система конструктивно сложна, недостаточно технологична, так как содержит сферическое зеркало с отверстием, и не может использоваться для контроля лазерного дальномера с концентричным расположением передающего и приемного каналов.

[3]

Ближайшим аналогом предлагаемого изобретения является устройство для контроля лазерного дальномера, описанное, в патенте РФ №2548379; МПК G01M 11/02; G01С 3/08, опубл. 20.04.2015 г., содержащее входную и выходную оптические системы, связанные между собой волоконно-оптической линией задержки, выполненной в виде единого или составного оптического волокна, входной и выходной торцы которого расположены в фокальных плоскостях входной и выходной оптических систем соответственно, причем входная собирающая и выходная коллимирующая оптические системы образованы оптическими поверхностями двух соосных менисков, обращенных вогнутостью к контролируемому дальномеру и имеющих зеркальные покрытия на выпуклых поверхностях, причем зеркальная поверхность одного из менисков выполнена кольцевой.

[4]

Общий недостаток вариантов конструкции, описанных в указанном патенте, состоит в том, что входная и выходная оптические системы образованы различными оптическими поверхностями, принадлежащими различным оптическим элементам. Обеспечить требуемую стабильность взаимного расположения и даже формы оптических поверхностей в подобной конструкции и в условиях реальных температурных и вибрационных воздействий крайне сложно. Несоблюдение связанных с этим жестких геометрических допусков приводит к непараллельности входного светового пучка от лазерного дальномера и выходного светового пучка, возвращаемого в лазерный дальномер устройством контроля лазерного дальномера. При этом энергия импульса, принимаемого фотоприемным устройством лазерного дальномера, может уменьшиться до уровня ниже порогового, и результат контроля может быть отрицательным, даже если лазерный дальномер исправен.

[5]

Задачей данного изобретения является создание компактного устройства для контроля лазерного дальномера, позволяющего добиться технического результата, заключающегося в устойчивости к вибрационным и температурным воздействиям.

[6]

Это достигается тем, что в устройстве для контроля лазерного дальномера, содержащем входную и выходную оптические системы, связанные между собой волоконно-оптической линией задержки, выполненной в виде оптического волокна, входной и выходной торцы которой расположены в фокальных плоскостях входной и выходной оптических систем соответственно, причем входная собирающая и выходная коллимирующая оптические системы образованы оптической системой, обращенной вогнутой поверхностью к торцу оптического волокна, кроме того входной и выходной торцы волоконно-оптической линии задержки расположены на одной оптической оси в фокальных плоскостях входной собирающей и выходной коллимирующей оптических систем соответственно, в отличие от известного, входная собирающая и выходная коллимирующая оптические системы выполнены в виде одного оптического элемента, с вогнутой отражающей рабочей поверхностью, в фокальной плоскости которого расположен первый торец оптического волокна, являющегося как входом, так и выходом волоконно-оптической линии задержки, при этом у второго торца оптического волокна обеспечена возможность отражения оптического сигнала или второй торец связан с узлом отражателя оптического сигнала.

[7]

Кроме того, на вогнутую рабочую поверхность оптического элемента может быть нанесено просветляющее и/или защитное покрытие, неработающие поверхности оптического элемента могут быть выполнены матированными, а в свою очередь, покрытие оптического элемента может быть выполнено с показателем поглощения слоя толщиной 1 мм от 0,04 до 2 для излучения с рабочей длиной волны контролируемого лазерного дальномера.

[8]

Кроме того, узел отражателя оптического сигнала может быть выполнен в виде волоконно-оптического разветвителя, общая ветвь которого оптически связана со вторым торцом оптического волокна, образующего линию задержки, ответвления соединены оптическим аттенюатором, а оптический аттенюатор может быть выполнен регулируемым по коэффициенту ослабления излучения контролируемого лазерного дальномера.

[9]

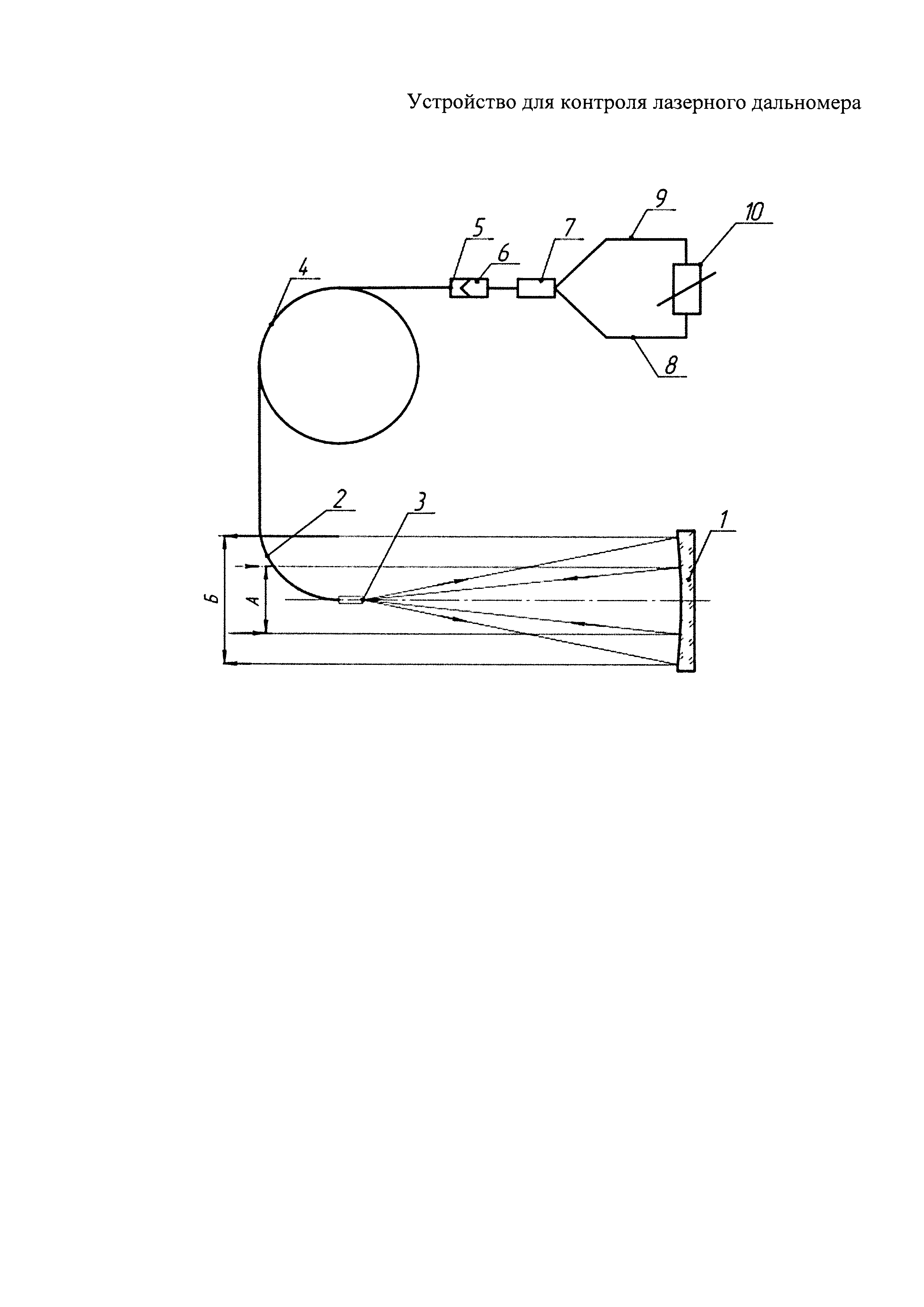
Сущность изобретения поясняется графически на фигуре. Устройство контроля лазерного дальномера состоит из оптического элемента 1 с вогнутой отражающей рабочей поверхностью, который выполнен из материала с большим коэффициентом поглощения излучения контролируемого лазерного дальномера, причем покрытие рабочей поверхности оптического элемента 1 обеспечивает требуемый коэффициент отражения в пределах от 0.1% до 10%. Оптический элемент 1 обращен вогнутостью к волоконно-оптической линии задержки, выполненной из оптического волокна 2. Входная собирающая и выходная коллимирующая оптические системы образованы одной оптической системой, а именно оптическим элементом 1, обращенным вогнутой поверхностью к первому торцу 3 оптического волокна 2, кроме того входной и выходной торцы оптического волокна 2 расположены на одной оптической оси в фокальной плоскости оптического элемента 1. Первый торец 3 оптического волокна 2 совмещен с фокальной плоскостью оптического элемента 1. Оптическое волокно 2, как правило, имеет значительную длину, например 1000 метров, поэтому оно уложено на каркас 4. Второй торец оптического волокна 5 обычно «оконцовывается» оптоволоконным соединителем 6, позволяющим удлинить оптическое волокно 2 или организовать его оптическую связь с другим оптоволоконным узлом или с контрольным устройством, позволяющим проверить отсутствие повреждений оптического волокна 2. Второй торец 5 оптического волокна 2 связан с узлом отражателя оптического сигнала, состоящего из соединителя 6, состыкованного с общей ветвью оптоволоконного разветвителя 7, позволяющего разделить энергию светового импульса, поступающего в оптическое волокно 2, и направить ее по двум направлениям 8 и 9 в оптоволоконный аттенюатор - поглотитель 10, коэффициент поглощения которого может регулироваться.

[10]

Устройство для контроля лазерного дальномера работает следующим образом. Световой импульс излучателя контролируемого лазерного дальномера, ограниченный световым диаметром А, направляют на рабочую вогнутую оптическую поверхность элемента 1. За счет малого коэффициента отражения оптической поверхности элемента 1 только небольшая часть энергии светового импульса отражается и фокусируется на первом торце 3 оптического волокна 2. Основная доля энергии входит в «тело» оптического элемента 1, где поглощается за счет большого коэффициента поглощения материала, из которого изготовлен оптический элемент 1, а также рассеивается его матированными нерабочими поверхностями. Таким образом, оптический элемент 1 обеспечивает как формирование волнового фронта, так и требуемое поглощение избыточной энергии импульса контролируемого дальномера, для чего обычно используются отдельные элементы в виде фильтров или рассеивателей излучения.

[11]

Если предварительная ориентация лазерного дальномера и устройства контроля лазерного дальномера была правильной, для чего используют, например, прицельно-наблюдательный канал дальномера, отраженное и ослабленное оптическим элементом 1 излучение лазерного дальномера фокусируется на торце 3 оптического волокна 2 и распространяется по нему по виткам, уложенным вокруг каркаса 4 ко второму торцу 5 оптического волокна 2, который обеспечивает возможность отражения оптического сигнала, или второй торец 5 связан с узлом отражателя оптического сигнала, выполненным в виде соединителя 6, входящего в разветвитель 7, и через ветви 8 и 9 разветвителя 7 встречными потоками проходит аттенюатор 10, где ослабляется до регулируемого уровня и, пройдя через ветви 8 и 9 объединяется разветвителем 7, распространяется в обратном направлении через соединитель 6 через второй торец 5 по оптическому волокну 2 до его первого торца 3, который, таким образом, является как входом, так и выходом оптической линии задержки с регулируемым поглощением, состоящей из перечисленных элементов 2, 3, 4, 5, 6, 7, 8, 9, 10. Задержка оптического сигнала, возвращенного из первого торца 3, по отношению к сигналу, вошедшему в него, составляет величину

[12]

t=2 Ln/c,

[13]

где: L - суммарная длина оптического волокна в линии задержки, включая волоконные выводы разветвителя;

[14]

n - показатель преломления сердечника оптического волокна;

[15]

с - скорость света.

[16]

Возвращенное из первого торца 3 излучение коллимируется оптическим элементом 1 и в пределах светового диаметра Б направляется в приемный канал лазерного дальномера, где в норме воспринимается как импульс, отраженный от реальной цели, удаленной на расстояние Д=ct/2.

[17]

Коэффициент 2 в выражении для t соответствует двойному, то есть прямому и обратному проходу сигнала через элементы линии задержки, хотя подбором характеристик поглощающих элементов системы можно обеспечить работу устройства с большей кратностью прохода, что может быть полезно, например, для дополнительной оценки мощности излучателя дальномера по количеству получаемых при этом различных, но кратных друг другу паспортизованных отсчетов дальности, указывающих на исправность контролируемого дальномера.

[18]

Важно отметить, что энергия светового импульса, направленного на первый торец 3 оптическим элементом 1 и возвращенного через первый торец 3 оптического волокна 2, распространяется, в общем случае, в пределах конусов с различным углом при вершине, чем определяется соотношение световых диаметров А и Б. Световой диаметр А определяется световым диаметром излучающего канала дальномера, и оптический элемент 1 в норме по диаметру не должен быть меньше. Но для работоспособности предлагаемого устройства необходимо также обеспечить соответствие диаметра Б и светового диаметра Дпр приемного канала дальномера, который обычно значительно превосходит диаметр А. Это выполняется при условии

[19]

Б=Дпр=2αf',

[20]

где α - числовая апертура примененного оптического волокна, a f' - фокусное расстояние оптического элемента 1.

[21]

В рассматриваемом случае излучение, разделенное разветвителем 7, вновь объединяется им после ослабления аттенюатором 10 и возвращается через линию задержки к фокальной плоскости оптического элемента 1, где расширяется в пределах апертурного угла, определяемого свойствами примененного оптического волокна 2 и равного, например, типичной величине 0,2. При этом увеличивается световой диаметр, в пределах которого энергия светового импульса возвращается на оптический элемент 1. Далее возвращенное излучение коллимируется оптической рабочей поверхностью элемента 1 и в пределах светового диаметра, расширенного до величины Б, направляется в контролируемый дальномер с задержкой, созданной элементами оптоволоконной системы. При нормальной работе контролируемого лазерного дальномера им должна индицироваться дальность, соответствующая задержке импульса, внесенной оптическими волоконными элементами устройства. При этом констатируется исправность контролируемого лазерного дальномера с учетом того, что настройкой аттенюатора 10 установлена определенная пороговая мощность возвращаемого сигнала, необходимая для того, чтобы исправный лазерный дальномер сработал и показал дальность, имитированную устройством контроля лазерного дальномера.

[22]

Существует реальная опасность лучевого повреждения первого торца 3 оптического волокна 2, поскольку практически плотность мощности излучения на нем вполне может оказаться выше повреждающего уровня, а нарушение нормальной работы и даже повреждение контролируемого лазерного дальномера может быть вызвано импульсом излучения, отраженного от конструктивных элементов устройства контроля лазерного дальномера. Конструктивными мерами для предупреждения этого могут быть:

[23]

- исключение обычно используемого в таких случаях зеркального покрытия оптического элемента 1 и замена его просветляющим и/или защитным покрытием;

[24]

- выполнение оптического элемента 1 из материала с большим показателем поглощения для излучения с длиной волны, равной рабочей длине волны контролируемого дальномера.

[25]

В результате этого необходимое соотношение между мощностью импульса контролируемого лазерного дальномера и задержанного импульса, возвращаемого в дальномер, например, семь-восемь десятичных порядков, практически может быть реализовано в описанной системе даже без применения дополнительных поглощающих светофильтров, создающих опасность мощной обратной засветки контролируемого дальномера. В нашем случае оптический элемент 1 работает как зеркало с нетипичным коэффициентом отражения, например, несколько десятых долей процента, направляя достаточную часть излучения в оптическое волокно и не создавая опасности его лучевого повреждения, а избыточное входное излучение эффективно поглощается в «теле» оптического элемента 1 за счет значительного показателя поглощения его материала и рассеяния излучения матированными нерабочими поверхностями оптического элемента 1. Аналогичным образом указанный оптический элемент 1 действует и при коллимировании излучения, возвращенного из оптического волокна, создающего необходимую задержку сигнала.

[26]

Очевидно, что, в отличие от вышеописанных аналогов, входная и выходная оптические системы, реализованные одним и тем же оптическим элементом, улучшают компактность всего устройства, а угловое рассогласование между направлением распространения входного светового потока, концентрируемого оптическим элементом на торце оптического волокна, и потока, вышедшего из того же торца и сколлимированного тем же элементом в сторону лазерного дальномера, в описанной компактной оптической системе практически исключено даже при воздействии вибрации и температурных изменений, что является важным техническим результатом предлагаемого решения.

Как компенсировать расходы
на инновационную разработку
Похожие патенты