патент
№ RU 2622820
МПК F41G3/26

СПОСОБ ИДЕНТИФИКАЦИИ ЛАЗЕРНЫХ ТОЧЕК ПРИЦЕЛИВАНИЯ

Авторы:
Якимов Артем Викторович Ляпин Владислав Русланович Добросовестный Сергей Виллевич
Все (4)
Номер заявки
2016132153
Дата подачи заявки
04.08.2016
Опубликовано
20.06.2017
Страна
RU
Как управлять
интеллектуальной собственностью
Чертежи 
3
Реферат

Изобретение относится к средствам, обеспечивающим обучение стрельбе из имитаторов стрелкового оружия и гранатометов, а именно к средствам имитации и идентификации точек прицеливания лазерных излучателей имитаторов. Способ характеризуется тем, что осуществляют калибровку для определения и записи срединных координат индикаторов в системе координат видеокамеры (1). Затем последовательно включают пары лазер (6) - световой индикатор (5) от первой до последней пары инициируемой последовательностью синхроимпульсов, поданных от генератора синхроимпульсов, и фиксируют видеокамерой (1) координаты пятна лазера (6) и соответствующего ему индикатора (5). Проводят анализ кадра видеокамеры (1) посредством использования имеющихся координат индикаторов (5), выявленных в процессе калибровки. При этом идентификацию лазерных точек прицеливания осуществляют без секторального разделения области стрельбы. Обеспечивается увеличение эффективности идентификации лазерных точек прицеливания. 3 ил.

Формула изобретения

Способ идентификации лазерных точек прицеливания, характеризующийся тем, что осуществляют калибровку для определения и записи срединных координат индикаторов в системе координат видеокамеры, последовательно включают пары лазер - световой индикатор инициируемой последовательностью синхроимпульсов, поданных от генератора синхроимпульсов, фиксируют видеокамерой координаты пятна лазера и соответствующего ему индикатора, проводят анализ кадра видеокамеры посредством использования имеющихся координат индикаторов, выявленных в процессе калибровки, при этом идентификацию лазерных точек прицеливания осуществляют без секторального разделения области стрельбы.

Описание

[1]

Область техники, к которой относится изобретение

[2]

Изобретение относится к средствам, обеспечивающим обучение стрельбе из имитаторов стрелкового оружия и гранатометов, а именно к средствам имитации и идентификации точек прицеливания лазерных излучателей имитаторов.

[3]

Уровень техники

[4]

Из уровня техники известна «Система захвата движения» (патент RU 121947 от 14.06.2012), которая предназначена для захвата движения интересующего технического средства с помощью инерциальных микромеханических (МЭМС) датчиков и технологии беспроводной сенсорной сети (на основе стандарта IEEE 802.15.4/ZigBee) и может быть рассмотрена для решения задачи идентификации точек прицеливания имитатора стрелкового оружия.

[5]

Система захвата движения включает одно мобильное измерительное устройство для определения и передачи данных с параметрами захватываемого движения, приемник сигналов, блок обработки, блок хранения и визуализации данных, модуль беспроводной сенсорной сети, инерциальный измерительный модуль. Инерциальный измерительный модуль состоит из трехосного датчика угловой скорости, трехосного датчика ускорения, трехосного датчика магнитного поля, датчика температуры и соединенного с ними каналами связи микроконтроллера, обрабатывающего поступающие с датчиков сигналы.

[6]

Особенностью данного способа захвата движения является обеспечение высокой точности измерений параметров движения (ориентация и положение) интересующего технического средства, а также возможность использования захвата движения вне специально оборудованного помещения.

[7]

Использование беспроводной сенсорной сети позволяет значительно увеличить число одновременно используемых беспроводных измерительных устройств в рамках одной сети. Таким образом, обеспечивается расширяемость и мобильность системы.

[8]

Недостатком указанного аналога при решении задачи идентификации точек прицеливания имитатора стрелкового оружия является сложность и высокая стоимость технической реализации по отношению к предлагаемому способу, связанные с ограничениями на габаритно-массовые характеристики набора датчиков, а также с особенностью эксплуатации при высоком уровне разночастотных ударных и вибрационных воздействий, изменения температуры и необходимостью проведения калибровки оборудования, входящего в состав системы захвата движения.

[9]

Раскрытие изобретения

[10]

Существующий метод решения проблемы идентификации лазерных точек прицеливания посредством разделения области стрельбы на сектора и присвоения каждому используемому имитатору определенного сектора для стрельбы имеет ряд существенных недостатков, вызванных трудностью идентификации имитатора и расчета оценки по итогам выполнения упражнения обучающимся при произведении стрельбы не в отведенный для него сектор.

[11]

В связи с вышеизложенным технической задачей предлагаемого способа является решение проблемы идентификации лазерных точек прицеливания имитаторов стрелкового оружия и гранатометов без секторального разделения области стрельбы.

[12]

Сущность предлагаемого способа идентификации лазерных точек прицеливания как технического решения заключается в решении задачи идентификации точек лазерного прицеливания и реализации данного способа для имитаторов оружия электронного стрелкового тренажера посредством использования специализированного программного обеспечения, реализующего алгоритм поиска точек лазерного прицеливания и аппаратного комплекса.

[13]

Технический результат заключается в увеличении эффективности идентификации лазерных точек прицеливания с целью определения соответствующего имитатора.

[14]

Признаки, используемые для характеристики способов

[15]

Способ идентификации лазерных точек прицеливания характеризуется определенной последовательностью действий, которая обеспечивает решение целевой задачи с применением технологии разнесения по времени момента включения лазера в соответствии с сигналом синхроимпульса для последующей регистрацией видеокамерой в каждом отдельном кадре пары, состоящей из лазера и соответствующего ему светового индикатора, с целью обеспечения идентификации точки прицеливания с конкретными имитаторами.

[16]

Аппаратный комплекс включает в себя:

[17]

1) видеокамеру с мгновенным затвором «global shutter», приводимым в действие по сигналу от внешнего источника. Сенсор видеокамеры имеет повышенную чувствительность в ближнем ИК диапазоне. На камере установлен фильтр, отсекающий световое излучение в диапазоне до 715 нм.

[18]

2) массив индикаторов, состоящий из диодов ближнего ИК диапазона.

[19]

3) лазерные излучатели мощностью 3-5 мВт с длиной волны 750-780 нм.

[20]

4) генератор электрических синхронизирующих импульсов на базе PIC 18F4520.

[21]

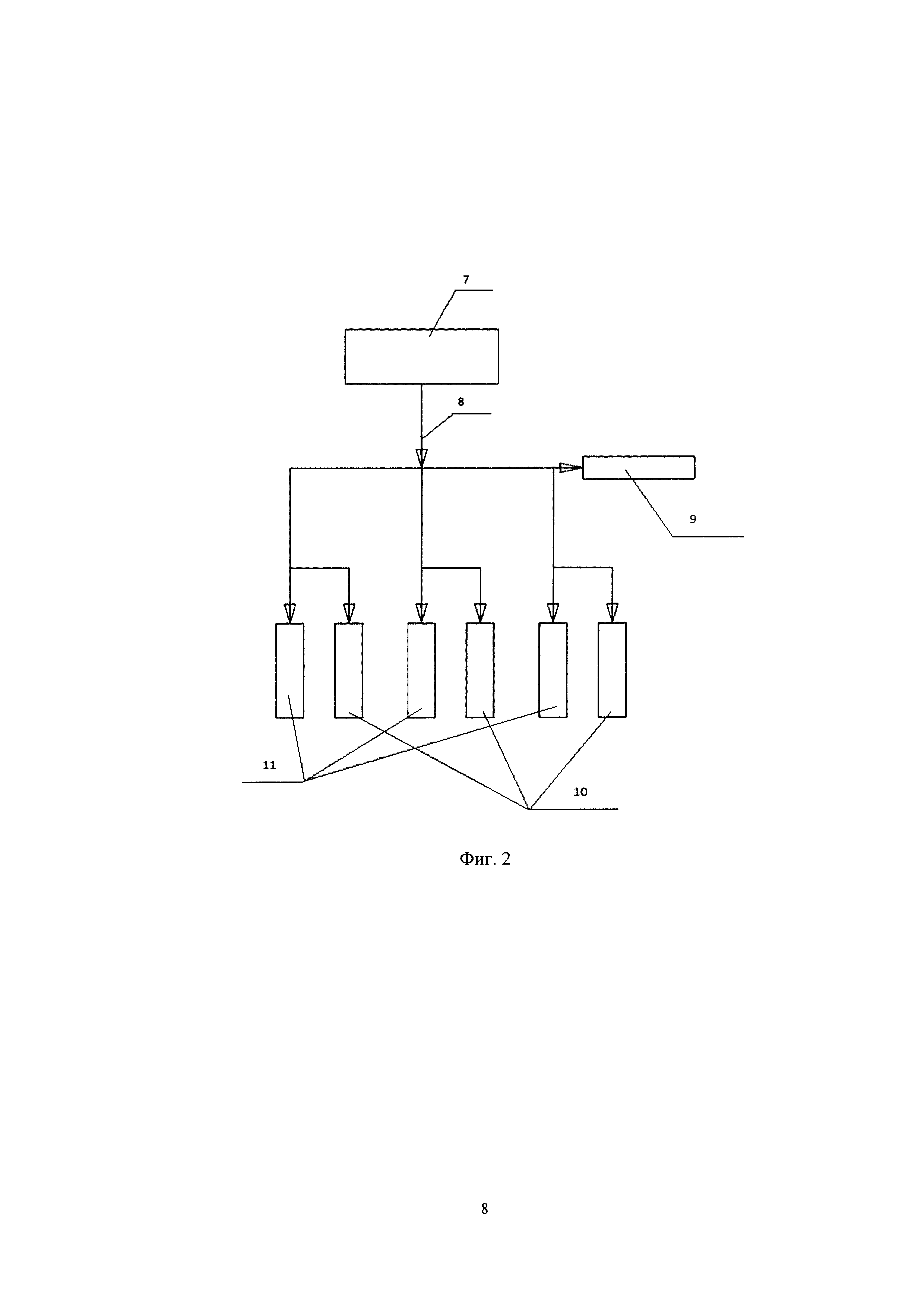
Краткое описание чертежей

[22]

Фиг. 1 - общая схема.

[23]

1 - видеокамера;

[24]

2 - область захвата видеокамеры;

[25]

3 - экран;

[26]

4 - проектор;

[27]

5 - индикаторы;

[28]

6 - лазеры.

[29]

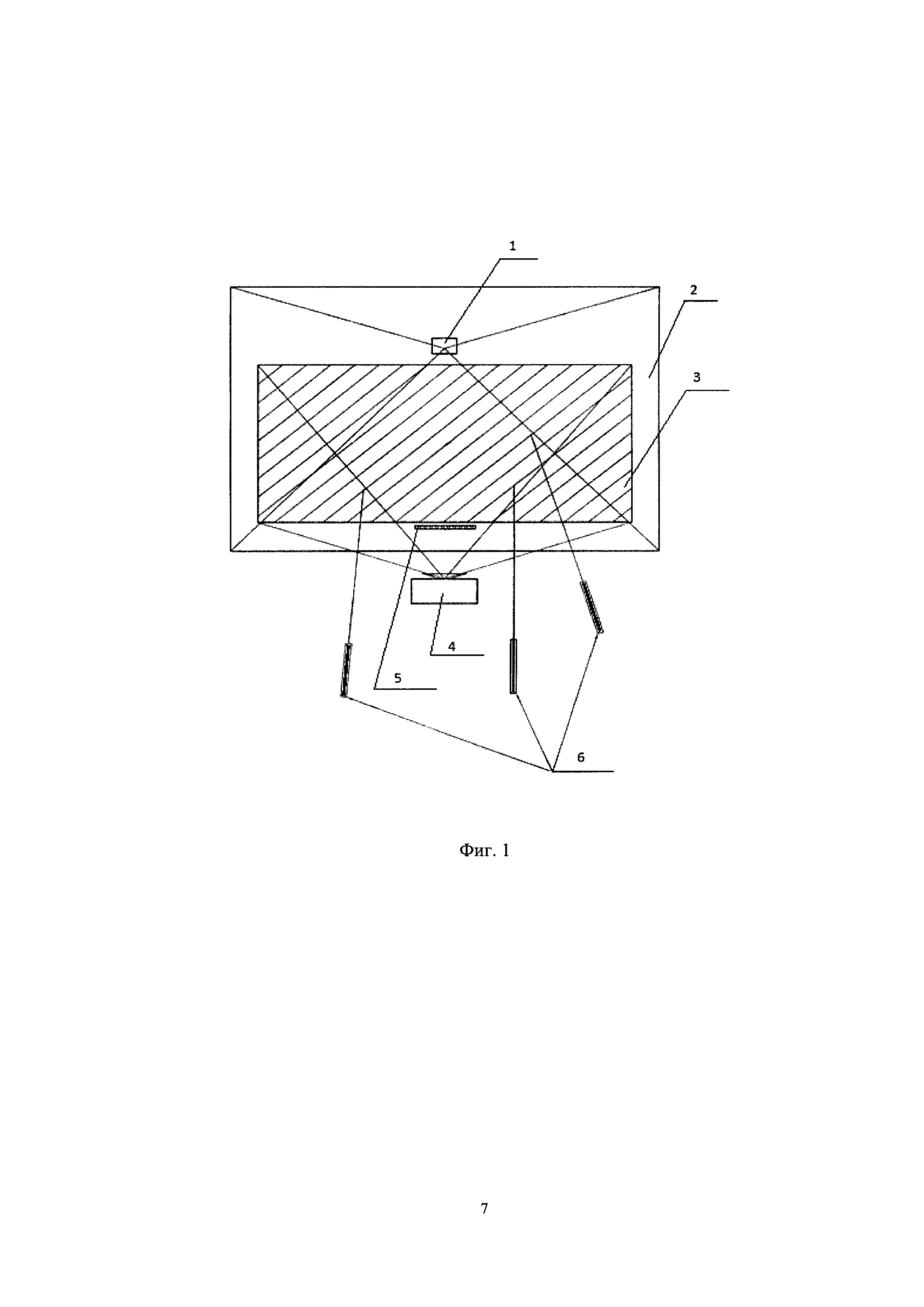
Фиг. 2 - работа генератора синхроимпульсов.

[30]

7 - генератор синхроимпульсов;

[31]

8 - синхроимпульс;

[32]

9 - видеокамера;

[33]

10 - индикаторы;

[34]

11 - лазеры.

[35]

Фиг. 3 - изображение, фиксируемое видеокамерой.

[36]

12 - область проецирования проектора;

[37]

13 - пятно лазера;

[38]

14 - индикаторы.

[39]

Осуществление изобретения

[40]

Реализация способа идентификации лазерных точек прицеливания состоит в выполнении определенной последовательности действий, а именно:

[41]

1. Калибровка

[42]

Перед началом использования лазеров необходима предварительная процедура калибровки для определения и записи срединных координат индикаторов в системе координат видеокамеры. Процесс проведения калибровки позволяет отобразить все индикаторы в одном отдельно взятом кадре видеокамеры посредством включения световых индикаторов и выключения лазеров.

[43]

2. Включение лазера

[44]

Последовательность синхроимпульсов, поданных от генератора синхроимпульсов, инициирует процедуру последовательного включения пары лазер - световой индикатор от первой до последней пары с последующим повторением цикла (Фиг. 2).

[45]

Синхроимпульсу №1 соответствует пара лазер №1 - световой индикатор №1, синхроимпульсу №2 соответствует пара лазер №2 - световой индикатор №2, и т.д.

[46]

3. Процедура фиксации видеокамерой точек лазера и индикатора

[47]

В процессе работы имитаторов оружия электронного стрелкового тренажера в каждом новом кадре видеокамеры фиксируются координаты пятна лазера и соответствующего ему индикатора (Фиг. 3), а также производится анализ кадра видеокамеры посредством использования имеющихся координат индикаторов, выявленных в процессе калибровки.

[48]

Анализ кадра видеокамеры заключается в проверке яркости пикселов кадра по координатам индикаторов. Если яркость превышает определенный предел, то считается, что индикатор горит. Координаты индикаторов связаны с соответствующими номерами лазеров имитаторов и, зная координаты горящего индикатора, устанавливается номер имитатора.

[49]

Таким образом, при частоте видеокамеры 200 кадров/сек каждая пара работает ориентировочно 5 мс, 10 пар по 5 мс дает 50 мс на обновление всех абонентов, соответственно 1000 мс / 50 мс дает частоту обновления всех абонентов равную 20 Гц.

Как компенсировать расходы
на инновационную разработку
Похожие патенты