патент
№ RU 2366181
МПК A21C5/00

УСТРОЙСТВО ДЛЯ ДОЗИРОВАНИЯ ТЕСТА ИЛИ НАЧИНКИ (ВАРИАНТЫ)

Авторы:
Соколов Николай Николаевич
Номер заявки
2006122459/13
Дата подачи заявки
20.06.2006
Опубликовано
10.09.2009
Страна
RU
Как управлять
интеллектуальной собственностью
Чертежи 
5
Реферат

Изобретение относится к оборудованию для обработки теста, в частности для дозирования мягкого и твердого теста, а также начинки. Устройство содержит загрузочный бункер для теста, делительный цилиндр, поршень, вал, отверстие для отсадки теста, механизм отрезания теста и привод для приведения в движение поршня и вала, при этом нижняя часть бункера выполнена в виде прямоугольного отверстия, бункер установлен на прямоугольном дополнительном основании, по центру которого установлен делительный цилиндр. На внешней поверхности основания выполнено, по крайней мере, одно отверстие, в котором установлена дополнительная гильза с поршнем. Делительный цилиндр из капролона выполнен с вырезами, попеременно то открытыми для подачи теста, то подающими тесто в отверстия для отсадки. Все части размещены в общем корпусе на колесах, в нем установлены блок управления, механизм отсадки теста, пневмоприводы. Над делительным цилиндром в основании возможна установка нагнетательного вала, приводимого пневмоприводом. В блок управления возможно включение контроллера, работающего по заданной программе, в которой предусмотрена функция мойки всего устройства. В механизм отсадки теста возможно включение траверс, шлифовальной стойки и привода. Изобретение позволяет достигнуть точности, а при необходимости и непрерывности дозировки. Устройство компактно, удобно в работе. Наличие блока управления обеспечивает автоматизацию процесса. Выбор привода обеспечивает работу с разными структурами теста и начинки. 3 н. и 14 з.п. ф-лы, 5 ил.

Формула изобретения

1. Устройство для дозирования теста или начинки, содержащее загрузочный бункер для теста, делительный цилиндр, поршень, вал, отверстие для отсадки теста, механизм отрезания теста и привод для приведения в движение поршня и вала, при этом нижняя часть бункера выполнена в виде прямоугольного отверстия, бункер установлен на прямоугольном дополнительном основании, по центру которого установлен делительный цилиндр; на внешней поверхности основания выполнено, по крайней мере, одно отверстие, в котором установлена дополнительная гильза с поршнем; делительный цилиндр выполнен с, по крайней мере, одним вырезом, стенки которого сформированы как сектора окружности, образующей цилиндр, при этом верхняя сторона выреза делительного цилиндра выбрана не превышающей длины стороны прямоугольного отверстия, длина сектора выбрана таким образом, чтобы вырез, по крайней мере, частично перекрывал прямоугольное отверстие и отверстие для гильзы, а объем выреза не превышал объема гильзы при полностью отведенном поршне; в качестве приводов делительного цилиндра и поршня выбраны пневмоприводы; все части размещены в общем корпусе на колесах, в нем установлены блок управления, механизм отсадки теста, пневмоприводы.

2. Устройство по п.1, отличающееся тем, что над делительным цилиндром в основании установлен нагнетательный вал, приводимый пневмоприводом.

3. Устройство по п.1, отличающееся тем, что в блок управления включен контроллер, работающий по заданной программе.

4. Устройство по п.3, отличающееся тем, что в программе предусмотрена функция мойки всего устройства.

5. Устройство по п.1, отличающееся тем, что делительный цилиндр выполнен из капролона.

6. Устройство по п.1, отличающееся тем, что в механизм отсадки теста включены траверс, шлифовальная стойка, привод.

7. Устройство для дозирования теста или начинки, содержащее загрузочный бункер для теста, делительный цилиндр, поршень, вал, отверстие для отсадки теста, механизм отрезания теста и привод для приведения в движение поршня и вала, при этом нижняя часть бункера выполнена в виде прямоугольника, бункер установлен на прямоугольном дополнительном основании, по центру которого установлен делительный цилиндр, на внешней поверхности основания выполнено, по крайней мере, одно отверстие, в котором установлена дополнительная гильза с поршнем, приводимым электроприводом; делительный цилиндр, приводимый пневмоцилиндром, выполнен с, по крайней мере, одним вырезом, стенки которого сформированы как сектора окружности, образующей цилиндр, при этом верхняя сторона выреза делительного цилиндра выбрана не превышающей длины стороны прямоугольного отверстия, длина сектора выбрана таким образом, чтобы вырез, по крайней мере, частично перекрывал прямоугольное отверстие и отверстие для гильзы, а объем выреза не превышал объема гильзы при полностью отведенном поршне, в делительном цилиндре с противоположной от первого выреза стороны выполнен дополнительный вырез, площадь которого выбрана не превышающей площади отверстия для отсадки теста или начинки; все части размещены в общем корпусе на колесах, в нем установлены блок управления, механизм отсадки теста, электропривод.

8. Устройство по п.7, отличающееся тем, что к электроприводу через винтовую передачу подсоединен поршень.

9. Устройство по п.7, отличающееся тем, что в блок управления включен контроллер, работающий по заданной программе.

10. Устройство по п.9, отличающееся тем, что в программе предусмотрена функция мойки всего устройства.

11. Устройство по п.7, отличающееся тем, что делительный цилиндр выполнен из капролона.

12. Устройство по п.7, отличающееся тем, что в механизм отсадки теста включены траверс, шлифовальная стойка, привод.

13. Устройство для дозирования теста или начинки, содержащее загрузочный бункер для теста, делительный цилиндр, поршень, вал, отверстие для отсадки теста, механизм отрезания теста и привод для приведения в движение поршня и вала, при этом нижняя часть бункера выполнена в виде прямоугольника, бункер установлен на прямоугольном дополнительном основании, по центру которого установлен делительный цилиндр, на внешней поверхности основания выполнено, по крайней мере, одно отверстие, в котором установлена дополнительная гильза с поршнем, приводимым электроприводом; делительный цилиндр, приводимый также электроприводом, выполнен с, по крайней мере, одним вырезом, стенки которого сформированы как сектора окружности, образующей цилиндр, при этом верхняя сторона выреза делительного цилиндра выбрана не превышающей длины стороны прямоугольного отверстия, длина сектора выбрана таким образом, чтобы вырез, по крайней мере, частично перекрывал прямоугольное отверстие и отверстие для гильзы, а объем выреза не превышал объема гильзы при полностью отведенном поршне, в делительном цилиндре с противоположной от первого выреза стороны выполнен дополнительный вырез, площадь которого выбрана не превышающей площади отверстия для отсадки теста или начинки; все части размещены в общем корпусе на колесах, в нем установлены блок управления, механизм отсадки теста, электропривод.

14. Устройство по п.13, отличающееся тем, что над делительным цилиндром в нижней части бункера установлен нагнетательный вал с ворошителем в виде насаженных на вал лопаточек, приводимый электроприводом через цепную передачу.

15. Устройство по п.13, отличающееся тем, что электропривод соединен с эксцентриком, снабженным двумя рычагами, один из которых передает движение на поршень, другой - на делительный цилиндр.

16. Устройство по п.13, отличающееся тем, что делительный цилиндр выполнен из капролона.

17. Устройство по п.13, отличающееся тем, что в механизм отсадки теста включены траверс, шлифовальная стойка, привод.

Описание

[1]

Изобретение относится к оборудованию для обработки теста, в частности для дозирования мягкого и твердого теста, а также начинки.

[2]

Известен дозатор начинки, который содержит вал, связанный с валом механизма отрезания посредством цепной передачи, а на валу дозатора начинки закреплены эксцентрик и кулачок, связанные с клапанно-поршневым механизмом дозатора начинки (патент РФ №2157628, A21C 9/06, А21С 11/00, опубл. 2000.10.20).

[3]

Недостатком этого дозатора является его ненадежность, сложность и недостаточная точность дозировки.

[4]

Известен тестоделитель, содержащий загрузочный бункер для теста, делительный цилиндр, поршень, нож и вакуумную систему, отличающийся тем, что делительный цилиндр с поршнем расположен вертикально внутри бункера, причем делительный цилиндр снабжен, по крайней мере, одним окном, а нож перемещается вдоль торца делительного цилиндра и внутри ножа имеются каналы для подачи вакуума в мерный объем, образуемый поршнем, делительным цилиндром и ножом (патент РФ №2237408, А21С 5/00, А21С 5/02, опубл. 2004.10.10).

[5]

Недостатком данного устройства является то, что он предназначен для больших тестовых заготовок, а в случае его использования для более мелких дозировок его точность мала.

[6]

В основу изобретения положена задача создания устройств для дозирования теста или начинки, в которых за счет использования делительного цилиндра с вырезами, попеременно то открытыми для подачи теста, то подающими тесто в отверстия для его отсадки с целью его дальнейшей обработки вследствие совмещения площади выреза и площади подачи теста сверху и снизу, а вследствие использования дополнительного выреза на делительном цилиндре достигается точность, а при необходимости и непрерывность дозировки, компактность, удобство в работе; наличие блока управления обеспечивает автоматизацию процесса. Выбор привода обеспечивает работу с разными структурами теста и начинки.

[7]

Достижение вышеуказанного технического результата обеспечивается тем, что в устройстве для дозирования теста или начинки, содержащем загрузочный бункер для теста, делительный цилиндр, поршень, вал, отверстие для отсадки теста, механизм отрезания теста и привод для приведения в движение поршня и вала, нижняя часть бункера выполнена в виде прямоугольного отверстия, бункер установлен на прямоугольном дополнительном основании, по центру которого установлен делительный цилиндр; на внешней поверхности основания выполнено по крайней мере одно отверстие, в котором установлена дополнительная гильза с поршнем; делительный цилиндр выполнен с по крайней мере одним вырезом, стенки которого сформированы как сектора окружности, образующей цилиндр, при этом верхняя сторона выреза делительного цилиндра выбрана не превышающей длины стороны прямоугольного отверстия, длина сектора выбрана таким образом, чтобы вырез по крайней мере частично перекрывал прямоугольное отверстие и отверстие для гильзы, а объем выреза не превышал объема гильзы при полностью отведенном поршне, в качестве приводов делительного цилиндра и поршня выбраны пневмоприводы; все части размещены в общем корпусе на колесах, в нем установлены блок управления, механизм отсадки теста, пневмоприводы.

[8]

Над делительным цилиндром в основании установлен нагнетательный вал, связанный с пневмоприводом.

[9]

Во втором варианте в устройстве для дозирования теста или начинки, содержащем загрузочный бункер для теста, делительный цилиндр, поршень, вал, отверстие для отсадки теста, механизм отрезания теста и привод для приведения в движение поршня и вала, нижняя часть бункера выполнена в виде прямоугольника, бункер установлен на прямоугольном дополнительном основании, по центру которого установлен делительный цилиндр, на внешней поверхности основания выполнена по крайней мере одна примыкающая к ней дополнительная гильза, в которой установлен поршень, приводимый электроприводом; делительный цилиндр, приводимый пневмоцилиндром, выполнен с по крайней мере одним вырезом, стенки которого сформированы как сектора окружности, образующей цилиндр, при этом верхняя сторона выреза делительного цилиндра выбрана не превышающей длины стороны прямоугольного отверстия, длина сектора выбрана таким образом, чтобы вырез по крайней мере частично перекрывал прямоугольное отверстие и отверстие для гильзы, а объем выреза не превышал объема гильзы при полностью отведенном поршне, в делительном цилиндре с противоположной от первого выреза стороны выполнен дополнительный вырез, площадь которого выбрана не превышающей площади отверстия для отсадки теста или начинки; все части размещены в общем корпусе на колесах, в нем установлены блок управления, механизм отсадки теста, электропривод.

[10]

К электроприводу через винтовую передачу (винт и гайку) подсоединен поршень.

[11]

В обоих вариантах в блок управления включен контроллер, работающий по заданной программе. В программе предусмотрена функция мойки всего устройства.

[12]

В третьем варианте изобретения устройство для дозирования теста или начинки, содержащее загрузочный бункер для теста, делительный цилиндр, поршень, вал, отверстие для отсадки теста, механизм отрезания теста и привод для приведения в движение поршня и вала выполнено таким образом, что нижняя часть бункера выполнена в виде прямоугольника, бункер установлен на прямоугольном дополнительном основании, по центру которого установлен делительный цилиндр, на внешней поверхности основания выполнено по крайней мере одно отверстие, в котором установлена дополнительная гильза с поршнем, приводимым электроприводом; делительный цилиндр, приводимый также электроприводом, выполнен с по крайней мере одним вырезом, стенки которого сформированы как сектора окружности, образующей цилиндр, при этом верхняя сторона выреза делительного цилиндра выбрана не превышающей длины стороны прямоугольного отверстия, длина сектора выбрана таким образом, чтобы вырез по крайней мере частично перекрывал прямоугольное отверстие и отверстие для гильзы, а объем выреза не превышал объема гильзы при полностью отведенном поршне, в делительном цилиндре с противоположной от первого выреза стороны выполнен дополнительный вырез, площадь которого выбрана не превышающей площади отверстия для отсадки теста или начинки; все части размещены в общем корпусе на колесах, в нем установлены блок управления, механизм отсадки теста, электропривод.

[13]

Над делительным цилиндром в нижней части бункера установлен нагнетательный вал с ворошителем в виде насаженных на вал лопаточек, приводимый электроприводом через цепную передачу.

[14]

Электропривод соединен с эксцентриком, снабженным двумя рычагами, один из которых передает движение на поршень, другой - на делительный цилиндр.

[15]

В вышеуказанных вариантах предлагаемого изобретения:

[16]

- делительный цилиндр выполнен из капролона;

[17]

- в механизм отсадки теста включены траверс, шлифовальная стойка, привод.

[18]

В первом варианте изобретения отличительные признаки, относящиеся к выполнению делительного цилиндра, выреза в нем, относительного размещения прямоугольного отверстия в нижней части бункера и отверстия для гильзы обеспечивают возможность точно регулировать вес отсаживаемого теста, чему также способствует выполнение ножа из капролона, что уменьшает прилипание теста; так как вырез выполнен с учетом его совмещения также и с отверстием для отсадки теста для дальнейшей его обработки, то это обеспечивает совмещение площади загрузки теста в бункер и его выгрузки на транспортер. Выбор в качестве привода пневмопривода обусловлен тем, что для работы пневмопривода характерны надежность, точность, относительная бесшумность и экономичность. Для выбранного вида теста (типа кексового) он также обеспечивает необходимую скорость отсадки теста.

[19]

Нагнетательный вал нужен для более твердых тест и начинок.

[20]

Второй вариант изобретения предназначен для дозирования мягких и липких начинок, и это обуславливает некоторое изменение конструкции.

[21]

Электропривод, приводящий в движение поршень, обеспечивает нужную скорость и точность дозирования мягких липких начинок, так как в этом случае пневмопривод не пригоден из-за того, что он не может удовлетворить этим требованиям. Приведение в движение вала делительного цилиндра с помощью пневмопривода, во-первых, обеспечивает автономность, а во-вторых, приводит к удешевлению устройства и его работы.

[22]

Выполнение дополнительного выреза с противоположной от первого выреза стороны во втором варианте обусловлено тем, что делительный цилиндр производит качательные движения, как бы образуя второй дозатор из этого выреза; это вновь обусловлено требованиями точной дозировки мягких липких начинок при достаточно большой скорости их отсадки.

[23]

Соединение электропривода и поршня через винтовую передачу обеспечивает надежность работы устройства.

[24]

Автоматизацию всего устройства и удобство обслуживания в вышеуказанных его вариантах обеспечивают включение в блок управления контроллера, работающего по заданной программе, и наличие в программе функции мойки всего устройства.

[25]

Третий вариант изобретения предназначен для непрерывного дозирования мягких и липких начинок, и вследствие этого в нем может быть применен нагнетательный вал с лопатками, установленный над делительным цилиндром, приводимый через эксцентрик с 2 тягами электроприводом. В данном случае существенную роль играет то, что в качестве привода всех движущихся частей выбран электропривод, так как это приводит, во-первых, к упрощению устройства, во-вторых, позволяет обойтись без контроллера и решить все проблемы управления с помощью механики.

[26]

В вышеуказанных вариантах изобретения полноту функций дозатора обеспечивает включение в механизм отсадки теста или начинки траверса, шлифовальной стойки, привода.

[27]

Изобретение поясняется фиг.1, на которой показано все устройство, фиг.2, которая поясняет принцип действия делительного цилиндра в первом варианте предлагаемого изобретения, фиг.3, которая поясняет принцип действия делительного цилиндра во втором варианте предлагаемого изобретения, фиг.4, на которой показан механизм приведения в движение делительного цилиндра с помощью пневмоцилиндра во втором варианте изобретения, и фиг.5, на которой показаны механизмы приведения в движение делительного цилиндра, поршней и нагнетательного вала с ворошителем в третьем варианте изобретения.

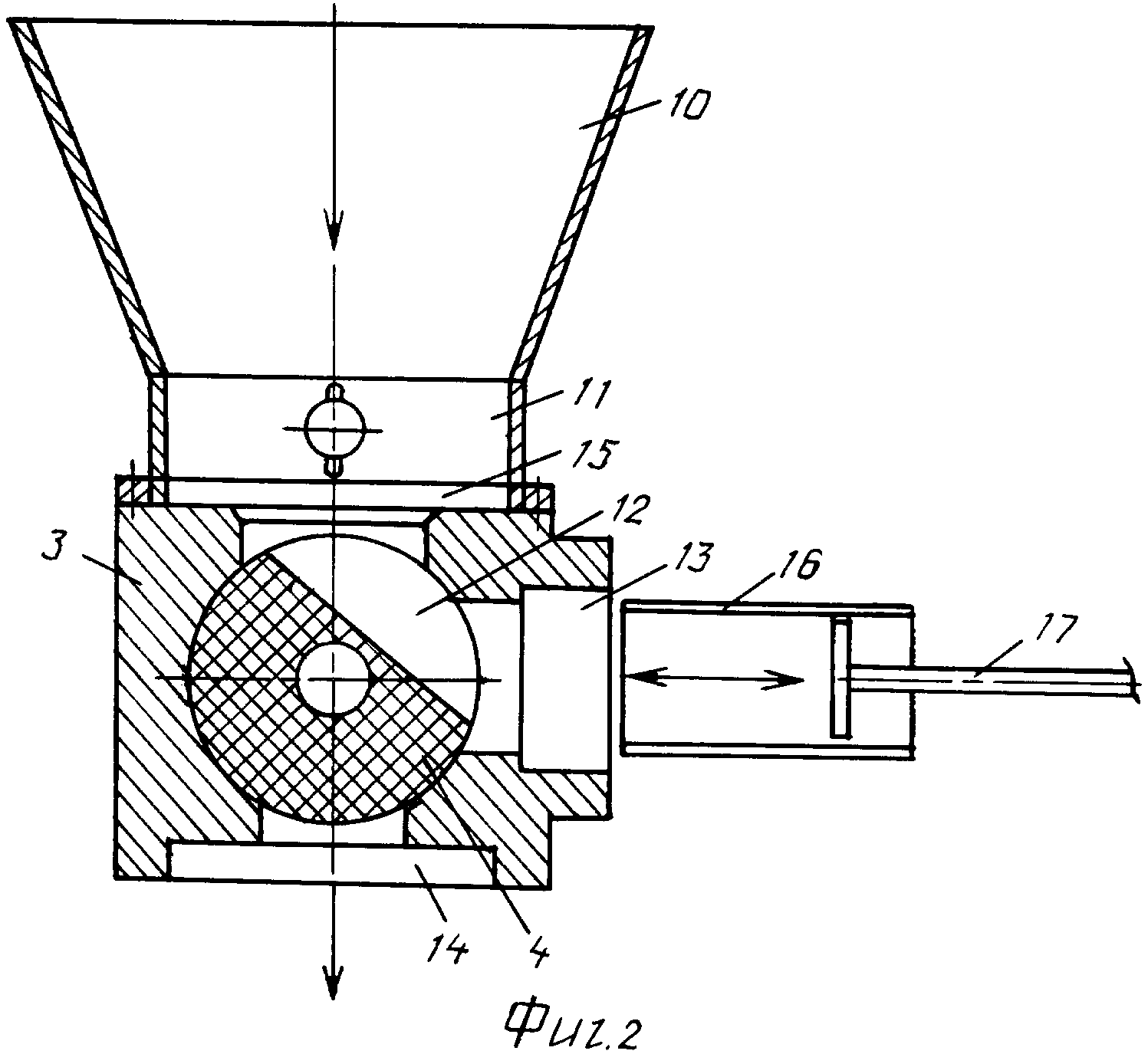
[28]

Устройство для дозирования теста или начинки, показанное на фиг.1, во всех вариантах предлагаемого изобретения содержит корпус 1 на колесах, на котором устанавливаются все механизмы, транспортер подачи листов 2, прямоугольное основание 3, в котором устанавливается специальный делительный цилиндр 4 из капролона, показанный на фиг.2 и 3, механизм отсадки теста, в который входят пневмоцилиндр (или другой привод) 6 с клапаном, траверс 7, шлифовальные стойки 8, два линейных подшипника для закрепления траверса (не показаны), соски со сменными насадками 9, бункер 10 с установленным в его нижней части нагнетательным валом 11, показанным на фиг.2, для нагнетания в момент всасывания. Нагнетательный вал 11 применяется при более крепких тестах. При мягких тестах им можно не пользоваться.

[29]

На боковых сторонах корпуса 1 находится блок управления 5. В блок управления 5 включены контроллер, работающий по заданной программе, и приводы (в первом варианте - пневмоприводы для приведения в движение поршня 17 и делительного цилиндра 4, во втором варианте - электропривод для приведение в движение поршня 17, в третьем варианте - электропривод, приводящий в движение поршень 17, делительный цилиндр 4, нагнетательный вал 11 с лопатками).

[30]

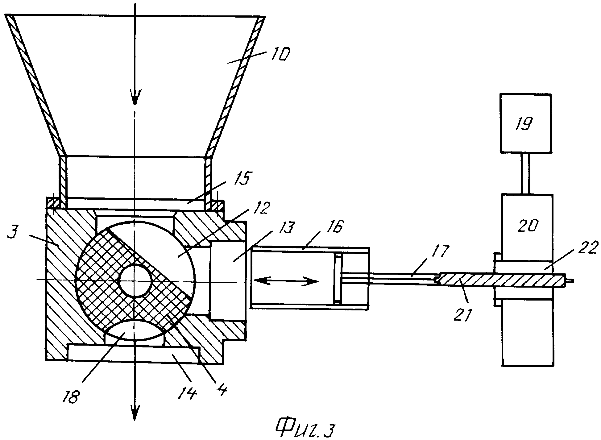
В первом варианте изобретения делительный цилиндр 4, показанный на фиг.2, содержит вырез 12, который открыт сверху для поступления в него теста или начинки из бункера 10 через отверстие 15. Его верхняя кромка параллельна при этом кромке прямоугольного отверстия 15. В стенке основания 3 выполнено отверстие 13, в котором закреплена гильза 16 с поршнем 17. В нижней части основания 3 выполнено отверстие 14 для отсадки теста или начинки.

[31]

Во втором варианте изобретения, показанном на фиг.3, в делительном цилиндре 4 выполнен дополнительный вырез 18, площадь которого выбрана не превышающей площади отверстия 14 для отсадки теста или начинки. Поршень 17 приводится в движение электродвигателем 19 с редуктором 20 через винт 21 и гайку 22. Пневмоцилиндр 23, как показано на фиг.4, через рычаг 24 и пластину 25 с отверстиями присоединен к делительному цилиндру 4. Отверстия в пластине 25 служат для регулировки положения делительного цилиндра 4 в основании 3, что нужно для регулировки количества теста или начинки, поступающего в вырез 12. Нагнетательный вал 11, предусмотренный в первом и третьем вариантах, в данном случае отсутствует, так как второй вариант предусмотрен только для слабого теста или начинки.

[32]

Третий вариант изобретения в отношении бункера 10, основания 3, делительного цилиндра 4 и поршней 17 выполнен так же, как второй вариант, показанный на фиг.3. Отличие состоит в том, что, как показано на фиг.5, поршень 17 приводится в движение электроприводом 26 через рычаг 28 от эксцентрика 29. Через второй рычаг 27, установленный на эксцентрике 29, приводится в движение делительный цилиндр 4. Через цепную передачу 30, установленную на валу электропривода 26, и ременную передачу 31 приводят в движение нагнетательный вал 11 с лопатками. При этом предусмотрено вращение вала 11 и в одну, и в другую сторону.

[33]

Устройство работает следующим образом.

[34]

Тесто или начинку закладывают в бункер 10. Далее через нагнетательный вал 11 (если он присутствует, как в первом и третьем вариантах) тесто или начинку подают в основание 3 через нижнее прямоугольное отверстие 15 бункера 10. При этом полость выреза 12 делительного цилиндра 4 открыта сверху, то есть верхняя часть площадки выреза 12 делительного цилиндра 4, приводимого в движение пневмоцилиндром, совмещена со стороной вышеупомянутого прямоугольного отверстия 15 таким образом, чтобы полость выреза 12 была открыта сверху, а нижняя часть выреза 12 делительного цилиндра 4 нижней точкой была совмещена с нижней точкой отверстия 13 для гильзы 16; одновременно поршень 17 в гильзе 16 с помощью пневмоцилиндра отводят на такое расстояние от отверстия 13 основания 3, чтобы обеспечить поступление в гильзу 16 нужной порции теста или начинки. Далее делительный цилиндр 4 поворачивается вниз по часовой стрелке таким образом, чтобы верхняя точка выреза 12 делительного цилиндра 4 была совмещена с верхней точкой гильзы 16, а нижняя точка была совмещена с отверстием 14, установленным в нижней части основания 3 бункера 10, для дальнейшей обработки теста или начинки. Поршень 17 с помощью пневмопривода вводят в гильзу 16, тесто или начинка подается в образованную вырезом 12 полость, далее производится поворот цилиндра 4 и далее тесто или начинку подают в отсадочное отверстие 14, где отрезается с помощью механизма отрезания, содержащего траверс 7, шлифовальную стойку 8, пневмоцилиндр 6 на лист механизма для подачи листов 2.

[35]

Отличие работы устройства (фиг.3 и 4), выполненного по второму варианту изобретения, состоит в том, что делительный цилиндр 4 в этом варианте совершает качательные движения. После закладки теста или начинки в бункер 10, засасывания теста или начинки в гильзу 16, делительный цилиндр 4 с помощью пневмопривода и подсоединенной к нему и делительному цилиндру 4 винта 21, поворачивают против часовой стрелки назад, дополнительный вырез 18 с противоположной стороны делительного цилиндра 4 совмещают с отверстием 13 гильзы 16, поворачивают делительный цилиндр 4 таким же образом, как было уже описано, по часовой стрелке, отсаживают нужную порцию в отсадочное отверстие 14, расположенное внизу основания 3 бункера 10. Вследствие применения электродвигателя 19 для приведения в движение поршня 17 обеспечивается быстрая и бесперебойная процедура отсадки теста или начинки.

[36]

В обоих вариантах устройств предусмотрена функция мойки. При окончании работы в бункер 10 заливают ведро теплой воды, а под соски 9 устанавливают поддон со шлангом. Оператор нажимает кнопку пуска и держит ее 5 секунд. Режим мойки включает в себя заливание воды, сливание воды в поддон, а затем через шланг в емкость.

[37]

В третьем варианте изобретения (фиг.5) устройство дополнено насадкой-ворошителем на валу; отличием этого варианта является то, что при включении электропривода одновременно приводятся в движение делительный цилиндр 4, нагнетательный вал 11 и поршень 17 в гильзе 16. Как и во втором варианте, делительный цилиндр 4 производит качательные движения по и против часовой стрелке. Отличие состоит в том, что к электроприводу 26 подсоединен эксцентрик 29 с рычагами 27 и 28, от рычага 28 движение передается на поршень 17, а от рычага 27 - на делительный цилиндр 4. На валу электропривода 26 установлена цепная передача 30, которая передает вращение на ременную передачу 31, которая, в свою очередь, передает вращение на нагнетательный вал 11 с ворошителем (лопатками). Отличие третьего варианта изобретения в том, что оно не требует применения контроллера, после включения электропривода работа устройства осуществляется за счет согласования работы его механических частей, что повышает его надежность.

[38]

Эти варианты устройств в совокупности обеспечивают потребности по дозированию теста или начинки для выпуска различных кондитерских изделий.

Как компенсировать расходы
на инновационную разработку
Похожие патенты