патент
№ RU 2445583
МПК G01F13/00

ДОЗАТОР ПОРОШКОВЫХ МАТЕРИАЛОВ

Авторы:
Носов Анатолий Галикович Бещеков Владимир Глебович Маркин Кирилл Николаевич
Все (8)
Номер заявки
2010152029/28
Дата подачи заявки
21.12.2010
Опубликовано
20.03.2012
Страна
RU
Как управлять
интеллектуальной собственностью
Чертежи 
1
Реферат

[30]

Изобретение относится к области порошковой металлургии, в частности к средствам для дозирования порошков из механических смесей композиционных металлокерамических и металлических материалов, и может быть использовано в комплекте с плазменными установками, предназначенными для плазменного напыления защитных покрытий на огневые стенки камер сгорания жидкостных ракетных двигателей. Изобретение направлено на повышение точности дозирования смесей подаваемых порошков и расширение диапазона регулирования их подачи за рабочий цикл, что обеспечивается за счет того, что дозатор содержит полый корпус с каналами для подачи сжатого газа и порошка, а также канал для отвода из полости корпуса дозированного порошка. В полости корпуса имеется выступ и дозирующий элемент, размещенный с возможностью вращения посредством привода, при этом дозирующий элемент выполнен в виде стакана, образующая которого охватывает выступ. На образующей дозирующего элемента по окружности выполнены зубья, каждый второй из которых смещен в радиальном направлении к оси вращения дозатора на одинаковое расстояние. Каждый зуб снабжен ребрами. На выступе корпуса с возможностью регулировочного поворота установлено кольцо, на боковой поверхности которого напротив выпускного и впускного каналов выполнены отверстия. Ребра на зубьях дозирующего элемента расположены под углом 4-8° к плоскости дна дозирующего элемента, причем ребра на соседних равноудаленных от оси вращения дозирующего элемента зубьях направлены навстречу друг другу. 1 з.п. ф-лы, 2 ил.

Формула изобретения

1. Дозатор порошковых материалов, содержащий полый корпус с каналами для подачи сжатого газа и порошка в полость корпуса, а также канал для отвода из полости корпуса дозированного порошка, в полости корпуса имеется выступ и размещен с возможностью вращения посредством привода дозирующий элемент, выполненный в виде стакана, образующая которого охватывает выступ, отличающийся тем, что на образующей дозирующего элемента по окружности выполнены зубья, каждый второй из которых смещен в радиальном направлении к оси вращения дозатора на одинаковое расстояние и каждый зуб снабжен ребрами, при этом на выступе корпуса с возможностью регулировочного поворота установлено кольцо, на боковой поверхности которого напротив выпускного и впускного каналов выполнены отверстия.

2. Дозатор порошковых материалов по п.1, отличающийся тем, что ребра на зубьях дозирующего элемента расположены под углом 4-8° к плоскости дна дозирующего элемента, причем ребра на соседних равноудаленных от оси вращения дозирующего элемента зубьях направлены навстречу друг другу.

Описание

[1]

Изобретение относится к области порошковой металлургии, в частности к устройствам для дозирования порошков из механических смесей композиционных металлокерамических и металлических материалов, и может быть использовано в комплекте с плазменными установками, предназначенными для плазменного напыления защитных покрытий на огневые стенки камер сгорания жидкостных ракетных двигателей.

[2]

Известен вибрационный дозатор, содержащий бункер, на крышке которого смонтирован вибратор, сообщающий вертикальную вибрацию установленной в бункере посредством амортизаторов трубке с калиброванными щелями и ребрами. Площадь сечения калиброванных щелей регулируется посредством подвижного штока, связанного с микровинтом. В верхней части бункера установлена загрузочная трубка, а в нижней - выгрузочная.

[3]

[А.с. СССР №342062, кл. G01F 13/00, 1970 г.]

[4]

В результате анализа выполнения известного дозатора необходимо отметить ограниченность его возможностей применительно к дозированию композиционных металлокерамических смесей порошков вследствие их расслоения при дозировании.

[5]

Известен питатель для дозирования порошка, содержащий полый герметичный корпус, на котором размещены накопитель для порошка, соединенный каналом с полостью корпуса, каналы для подачи сжатого газа в полость корпуса и отвода дозированного порошка из полости корпуса. Устройство оснащено дозирующим элементом, выполненным в виде стакана с радиальными отверстиями на его боковых стенках. Дозирующий элемент имеет ось, связанную с приводом вращения дозирующего элемента.

[6]

В процессе работы питателя дозируемый порошок из накопителя по каналу подается в полость корпуса, ссыпается на внутреннюю поверхность дозирующего элемента и, проходя через радиальные отверстия, заполняет полость корпуса. При вращении дозирующего элемента его свободные отверстия заполняются порошковым материалом и при повороте перемещаются в верхнее положение, где происходит их опрокидывание, в результате чего порошок попадает в выходной канал, захватывается потоком газа и через выходной канал подается на плазменную установку.

[7]

[А.с. СССР №1052273, кл. ВО5В 7/34, 1988 г.] - наиболее близкий аналог.

[8]

В результате анализа известного устройства необходимо отметить то, что оно, как и заявленное, предназначено для дозирования порошка и подачи его к плазменным установкам, как и заявленное, выполнено в виде герметичного корпуса, в котором размещен дозирующий элемент, при этом транспортировка дозированного порошка осуществляется в потоке газа. Однако известное устройство не обеспечивает регламентированную подачу порошка в широком диапазоне временного дозирования подаваемого порошка за рабочий цикл.

[9]

Технический результат настоящего изобретения заключается в повышении точности дозирования смесей подаваемых порошков и расширения диапазона регулирования их подачи за рабочий цикл путем регламентации во времени подачи разовых доз порошка.

[10]

Указанный технический результат обеспечивается за счет того, что в дозаторе порошковых материалов, содержащем полый корпус с каналами для подачи сжатого газа и порошка в полость корпуса, а также канал для отвода из полости корпуса дозированного порошка, в полости корпуса имеется выступ, и размещен с возможностью вращения посредством привода дозирующий элемент, выполненный в виде стакана, образующая которого охватывает выступ, новым является то, что на образующей дозирующего элемента по окружности выполнены зубья, каждый второй из которых смещен в радиальном направлении к оси вращения дозатора на одинаковое расстояние, и каждый зуб снабжен ребрами, при этом на выступе корпуса с возможностью регулировочного поворота установлено кольцо, на боковой поверхности которого напротив выпускного и впускного каналов выполнены отверстия, а ребра на зубьях дозирующего элемента расположены под углом 4-8° к плоскости дна дозирующего элемента, причем ребра на соседних равноудаленных от оси вращения дозирующего элемента зубьях направлены навстречу друг другу.

[11]

Сущность заявленного изобретения поясняется графическими материалами, на которых:

[12]

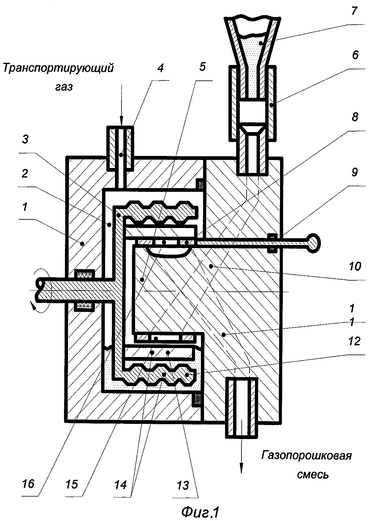
- на фиг.1 - дозатор порошковых материалов, осевой разрез;

[13]

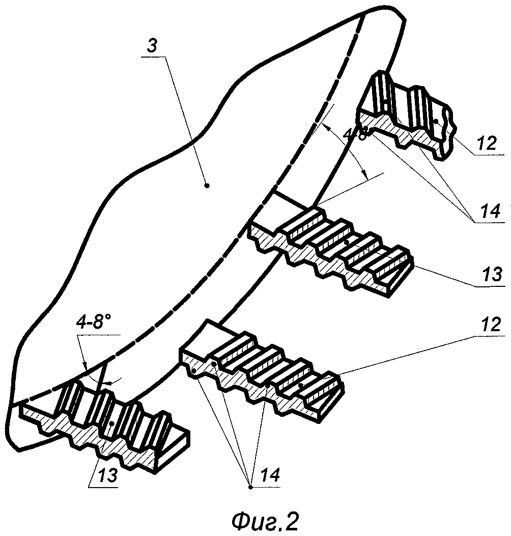
- на фиг.2 - фрагмент боковой поверхности дозирующего элемента.

[14]

Дозатор порошковых материалов содержит корпус 1 (фиг.1) с полостью 2, внутри которой с возможностью вращения размещен дозирующий элемент 3.

[15]

В корпусе 1 выполнен канал 4 для подвода в полость корпуса сжатого газа. В полости корпуса имеется выступ 5, размещенный в полости дозирующего элемента. С полостью 2 корпуса 1 посредством канала 6 связан накопитель 7 порошка, установленный на корпусе. На выступе 5 с возможностью поворота размещено кольцо 8. Поворот кольца 8 осуществляется через ось 9, установленную в корпусе 1 в радиусном пазу (не показан).

[16]

В выступе 5 корпуса 1 выполнены каналы 10 (впускной) и 11 (выпускной) соответственно для подвода порошков из накопителя и вывода дозированной газопорошковой смеси.

[17]

Дозирующий элемент 3 выполнен в виде стакана, с дном которого скреплена ось, кинематически связанная с приводом вращения дозирующего элемента, а на боковой поверхности по окружности выполнены зубья 12 и 13, причем каждый второй зуб (фиг.2) смещен в радиальном направлении к оси вращения дозатора на одинаковое расстояние.

[18]

Внутренняя и внешняя поверхности зубьев 12 и 13 дозирующего элемента 3 снабжены ребрами 14 (фиг.2), расположенными под углом 4-8° к плоскости дна дозирующего элемента 3, причем ребра на соседних равноудаленных от оси вращения зубьях направлены навстречу друг другу.

[19]

В боковой поверхности расположенного на выступе 5 кольца 8 напротив выходного отверстия впускного канала 10 выполнено отверстие 15, а напротив входного отверстия выпускного канала 11 - отверстие 16.

[20]

Дозатор порошковых материалов работает следующим образом.

[21]

Для обеспечения работы дозатора канал 4 подсоединяют к системе подачи сжатого газа, а выходной канал - к плазменному распылителю плазменной установки. Дозирующий элемент 3 соединяют с приводом его вращения. Наиболее предпочтительно, чтобы данный привод был выполнен регулируемым по частоте вращения.

[22]

Поворотом за ось 9 устанавливают кольцо 8 на выступе 5 в положение, при котором обеспечивается заданное проходное сечение отверстий впускного 10 и выпускного 11 каналов.

[23]

Дозируемая порошковая смесь из накопителя 7 по каналу 10 через отверстие 15 кольца 8 ссыпается в нижнюю часть полости 2 корпуса 1 и заполняет пространство между зубьями 12 и 13 дозирующего элемента 3. При вращении дозирующего элемента порошковый материал заполняет свободное пространство между зубьями, которые перемешают его наверх и ссыпают через отверстие 16 кольца 8 в выпускной канал 11. Порошок подхватывается газом, поступающим в корпусе питателя через канал 4, и по трубопроводу газопорошковая смесь подается в плазменный распылитель плазменной установки.

[24]

Расход порошка регулируют изменением скорости вращения дозирующего элемента 3 и поворотом кольца 8 относительно выступа 5. При дозировании расслаивающихся механических смесей зубья дозирующего элемента 12 и 13, снабженные ребрами 14, не только перемещают смесь наверх и ссыпают ее в выпускной канал 11, но и интенсивно перемешивают, восстанавливая ее до исходной однородности, что, в свою очередь, позволяет практически полностью воспроизводить в плазменной струе исходный фазовый состав смеси.

[25]

Оптимальный наклон ребер по отношению к дну дозирующего элемента, их взаимное расположение на зубьях, а также смещение части зубьев относительно оси вращения выбраны экспериментально из условия качества перемешивания и точности дозирования смесей типа ZrO2 - NiCr, ZrO2 - NiAl с различным гранулометрическим составом компонентов.

[26]

Разработанный дозатор был опробован при работе с порошками: Cu, NiAl, NiCr, ZrO2 и механическими смесями: ZrO2 - NiCr, ZrO2 - NiAl дисперсностью частиц от 10 до 100 мкм.

[27]

При точности дозирования ±1,5% удалось обеспечить плавную и технологичную регулировку расхода в зависимости от вида порошка вплоть до 2,7-7,5 г/мин. Питатель, описанный в наиболее близком аналоге, на тех же порошках без замены дозирующего элемента позволяет плавно уменьшить расход только до 35-82 г/мин; дальнейшее снижение расхода возможно только при условии установки дозирующего элемента с меньшим числом отверстий в боковых стенках.

[28]

В случае дозирования расслаивающейся порошковой смеси ZrO2 - NiCr с размерами частиц ZrO2 и NiCr соответственно 10÷40 мкм и 40÷100 мкм предложенный питатель обеспечивает соответствие фазового состава покрытий составу исходной механической смеси с точностью ±2÷3%, в известном же питателе аналогичная величина составляет ~15÷17%.

[29]

Таким образом, экспериментальные исследования заявленного дозатора в составе плазменной установки УПУ-8М с плазменным распылителем УПР-1 показали, что по сравнению с наиболее близким аналогом предложенное устройство обеспечивает технологичную регулировку расхода порошка в значительно более широком (~10 раз) диапазоне дозирования и обеспечивает более точное (~5-7 раз) дозирование.

Как компенсировать расходы
на инновационную разработку
Похожие патенты