патент
№ RU 2684926
МПК E21B43/20

СПОСОБ ОБРАБОТКИ ПРИЗАБОЙНОЙ ЗОНЫ СКВАЖИНЫ

Авторы:
Кадыров Данис Задитович
Номер заявки
2018123422
Дата подачи заявки
27.06.2018
Опубликовано
16.04.2019
Страна
RU
Как управлять
интеллектуальной собственностью
Чертежи 
1
Реферат

Изобретение относится к нефтяной промышленности и может быть использовано при кислотной обработке скважин. Технический результат - повышение эффективности обработки призабойной зоны скважины. Способ обработки призабойной зоны скважины включает спуск в интервал перфорации пласта колонны труб, закачку углеводородного растворителя и остановку скважины на технологическую выдержку. При этом колонну труб оснащают устройством для импульсной закачки жидкости, разрушаемым клапаном, перфорированным патрубком с втулкой внутри и пакером. Перфорированный патрубок устанавливают ниже нижнего интервала перфорации пласта. Углеводородный растворитель закачивают по колонне труб в непрерывном режиме при не посаженном пакере. Технологическую выдержку проводят в 4 цикла. При этом через каждые 20 минут поочередно в колонну труб и межколонное пространство скважины закачивают технологическую жидкость. Обратной промывкой вымывают углеводородный растворитель и продукты реакции. Устройства для импульсной закачки жидкости установливают напротив подошвы пласта. Производят посадку пакера. Герметизируют отверстия перфорированного патрубка перемещением втулки вниз. Колонну труб заполняют технологической жидкостью. Создают избыточное давление и срезают разрушаемый клапан. Закачивают и продавливают в импульсном режиме 10-15%-ный водный раствор соляной кислоты. Постепенно увеличивают расход закачки раствора. Выполняют технологическую выдержку. Продукты реакции извлекают свабированием. Водный раствор соляной кислоты закачивют в пенообразном состоянии. Для образовании пены используют устройство для импульсной закачки жидкости. Корпус указанного устройства выполняют в виде полого цилиндра с кольцевыми канавками на внутренней стенке. Каждая канавка в поперечном сечении имеет форму прямоугольной трапеции с коротким основанием на дне канавки и наклонной стенкой наверху. Внутри корпуса располагают полую ось, имеющую дно с отверстием. В отверстие дна полой оси запрессовают шнек. На полую ось с помощью двух подшипников устанавливают втулку. Втулку и полую ось выполняют с щелевыми прорезями, расположенными под углом к их образующей. Щелевые прорези втулки располагают в противоположном направлении к щелевым прорезям полой оси. На нижний конец внутренней стенки полого цилиндра закрепляют диск. Диск выполняют с отверстиями, удаленными от центра на одинаковые расстояния. При этом на верхней стенке диска между внутренней стенкой полого цилиндра и отверстиями диска располагают радиально направленные пластины. Напротив нижнего торца полой оси на стенку диска между отверстиями этого диска неподвижно закрепляют радиально направленные пластины в форме прямоугольной трапеции с наклонной боковой стороной наверху и коротким основанием в центральной части диска. 4 ил.

Формула изобретения

Способ обработки призабойной зоны скважины, включающий спуск в интервал перфорации пласта колонны труб, оснащенного устройством для импульсной закачки жидкости, разрушаемым клапаном, перфорированным патрубком с втулкой внутри и пакером, установку перфорированного патрубка ниже нижнего интервала перфорации пласта, закачку углеводородного растворителя по колонне труб в непрерывном режиме при не посаженном пакере, технологическую выдержку в 4 цикла, при которой через каждые 20 минут поочередно в колонну труб и межколонное пространство скважины закачивают технологическую жидкость, а после вымывают углеводородный растворитель и продукты реакции обратной промывкой, установку устройства для импульсной закачки жидкости напротив подошвы пласта, посадку пакера, герметизацию отверстий перфорированного патрубка перемещением втулки вниз, заполнение колонны труб технологической жидкостью и создание избыточного давления для срезания разрушаемого клапана, закачку и продавку в импульсном режиме 10-15%-ного водного раствора соляной кислоты с постепенным увеличением расхода закачки этого раствора соляной кислоты, выполнение технологической выдержки и извлечение продуктов реакции свабированием, отличающийся тем, что 10-15%-ный водный раствор соляной кислоты закачивается в пласт в пенообразном состоянии, при этом пена данного раствора соляной кислоты образуется в устройстве для импульсной закачки жидкости, выполненном из корпуса в виде полого цилиндра с кольцевыми канавками на внутренней стенке, причем каждая канавка в поперечном сечении имеет форму прямоугольной трапеции с коротким основанием на дне канавки и наклонной стенкой наверху, причем внутри корпуса имеется полая ось, имеющая дно с отверстием, в которое запрессован шнек, причем на полую ось с помощью двух подшипников установлена втулка, при этом втулка и полая ось выполнены с щелевыми прорезями, расположенными под углом к их образующей, причем щелевые прорези втулки расположены в противоположном направлении к щелевым прорезям полой оси, а на нижний конец внутренней стенки полого цилиндра корпуса неподвижно с помощью стопорных винтов, завернутых в резьбовые выборки, выполненные на полом цилиндре, закреплен диск, выполненный с отверстиями, удаленными от центра на одинаковые расстояния, при этом на верхней стенке диска между внутренней стенкой полого цилиндра и отверстиями диска имеются радиально направленные пластины, причем напротив нижнего торца полой оси на стенку диска между отверстиями этого диска неподвижно закреплены радиально направленные пластины в форме прямоугольной трапеции с наклонной боковой стороной наверху и коротким основанием в центральной части диска.

Описание

[1]

Изобретение относится к нефтяной промышленности и может быть использовано для кислотной обработки скважин.

[2]

Известен способ кислотной обработки пласта [1], включающий выделение в обрабатываемом пласте зон различной проницаемости, закачку порции раствора соляной кислоты в зону более высокой проницаемости, последующую продавку в эту же зону вязкой жидкости на основе нефти порцией раствора соляной кислоты с поверхностно-активным веществом - ПАВ, продавку раствора соляной кислоты с ПАВ скважинной жидкостью в циклическом режиме в зону менее высокой проницаемости и вынос отреагировавшей соляной кислоты из скважины на последнем цикле, при этом концентрацию раствора соляной кислоты на каждом этапе ее применения уменьшают. Недостатками данного способа являются низкая эффективность обработки пласта раствором соляной кислоты в сильнозакольматированной призабойной зоне скважины, так как не производится предварительная обработка призабойной зоны.

[3]

Наиболее близким к заявляемому является способ обработки призабойной зоны скважины [2], включающий спуск в интервал перфорации пласта колонны труб, оснащенного устройством для импульсной закачки жидкости, разрушаемым клапаном, перфорированным патрубком со втулкой внутри и пакером, устанавку перфорированного патрубока ниже нижнего интервала перфорации пласта, закачку углеводородного растворителя по колонне труб в непрерывном режиме при не посаженном пакере, технологическую выдержку в 4 цикла, при которой через каждые 20 минут поочередно в колонну труб и межколонное пространство скважины закачивают технологическую жидкость, а после вымывают углеводородный растворитель и продукты реакции обратной промывкой, установку устройства для импульсной закачки жидкости напротив подошвы пласта, посадку пакера, герметизацию отверстий перфорированного патрубка перемещением втулки вниз, заполнение колонны труб технологической жидкостью и создание избыточного давления для срезания разрушаемого клапана, закачку и продавку в импульсном режиме 10-15%-ного водного раствора соляной кислоты с постепенным увеличением расхода закачки этого раствора соляной кислоты, выполнение технологической выдержки и извлечение продуктов реакции свабированием.

[4]

В прототипе используемый для закачки 10-15%-ный водный раствор соляной кислоты представляет собой жидкость, которая плохо проникает в микротрещины пласта.

[5]

Задачей изобретения является повышение эффективности обработки призабойной зоны скважины путем закачки в пласт водного раствора соляной кислоты, преобразованного в пену с помощью устройства для импульсной закачки жидкости.

[6]

Поставленная задача решается тем, что в способе обработки призабойной зоны скважины, включающем спуск в интервал перфорации пласта колонны труб, оснащенного устройством для импульсной закачки жидкости, разрушаемым клапаном, перфорированным патрубком со втулкой внутри и пакером, устанавку перфорированного патрубока ниже нижнего интервала перфорации пласта, закачку углеводородного растворителя по колонне труб в непрерывном режиме при не посаженном пакере, технологическую выдержку в 4 цикла, при которой через каждые 20 минут поочередно в колонну труб и межколонное пространство скважины закачивают технологическую жидкость, а после вымывают углеводородный растворитель и продукты реакции обратной промывкой, установку устройства для импульсной закачки жидкости напротив подошвы пласта, посадку пакера, герметизацию отверстий перфорированного патрубка перемещением втулки вниз, заполнение колонны труб технологической жидкостью и создание избыточного давления для срезания разрушаемого клапана, закачку и продавку в импульсном режиме 10-15%-ного водного раствора соляной кислоты с постепенным увеличением расхода закачки этого раствора соляной кислоты, выполнение технологической выдержки и извлечение продуктов реакции свабированием, новым является то, что 10-15%-ный водный раствор соляной кислоты закачивается в пласт в пенообразном состоянии, при этом пена данного раствора соляной кислоты образуется в устройстве для импульсной закачки жидкости, выполненного из корпуса в виде полого цилиндра с кольцевыми канавками на внутренней стенке, причем каждая канавка в поперечном сечении имеет форму прямоугольной трапеции с коротким основанием на дне канавки и наклонной стенкой наверху, причем внутри корпуса имеется полая ось, имеющая дно с отверстием, в которое запрессован шнек, причем на полую ось с помощью двух подшипников установлена втулка, при этом втулка и полая ось выполнены с щелевыми прорезями, расположенными под углом к их образующей, причем щелевые прорези втулки расположены в противоположном направлении к щелевым прорезям полой оси, а на нижний конец внутренней стенки полого цилиндра корпуса неподвижно с помощью стопорных винтов, завернутых в резьбовые выборки выполненные на полом цилиндре, закреплен диск, выполненный с отверстиями, удаленными от центра на одинаковые расстояния, при этом на верхней стенке диска между внутренней стенкой полого цилиндра и отверстиями диска имеются радиально направленные пластины, причем напротив нижнего торца полой оси на стенку диска между отверстиями этого диска неподвижно закреплены радиально направленные пластины в форме прямоугольной трапеции с наклонной боковой стороной наверху и коротким основанием в центральной части диска.

[7]

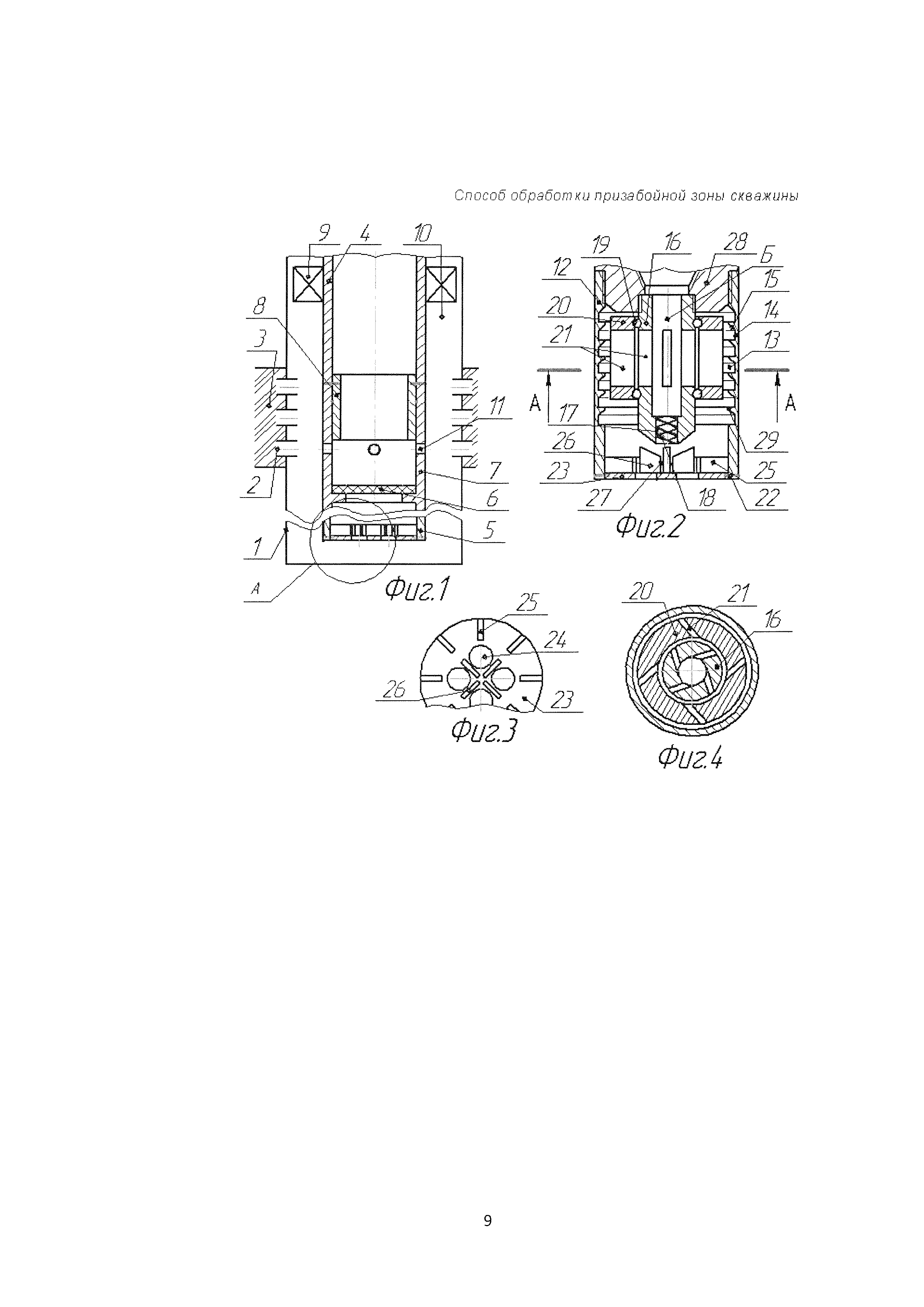
На фиг. 1 схематично изображен способ обработки пласта в скважине в процессе очистки и промывки призабойной зоны скважины; на фиг. 2 изображен вид А фиг. 1 на устройство для импульсной закачки жидкости; на фиг. 3 - вид сверху на диск с радиально направленными пластинами; на фиг. 4 - разрез А-А фиг. 2.

[8]

Способ обработки призабойной зоны скважины 1 включает спуск в интервал перфорации 2 пласта 3 колонны труб 4, оснащенного устройством 5 для импульсной закачки жидкости, разрушаемым клапаном 6, перфорированным патрубком 7 со втулкой 8 внутри и пакером 9. Также данный способ включает установку перфорированного патрубка 7 ниже нижнего интервала 2 перфорации пласта и закачку углеводородного растворителя по колонне труб 4 в непрерывном режиме при не посаженном пакере 9. Технологическую выдержку в 4 цикла, при которой через каждые 20 минут поочередно в колонну труб 4 и межколонное пространство 10 скважины 1 закачивают технологическую жидкость. В качестве растворителя может быть применен Нефрас-С 150/200 по ТУ 38.40125-82 или Нефрас-Ар 120/200 по ТУ 38.101809-80. В качестве технологической жидкости применяют пресную воду плотностью 1000 кг/м3 с добавлением 1% поверхностно-активного вещества типа МЛ-81Б. В качестве пакера 9 применяется пакер выпускаемый научно-производственной фирмой «Пакер» г. Октябрьский, Республика Башкортостан или пакер с механической осевой установкой соответствующего типоразмера марки ПРО-ЯДЖ-142. Разрушаемый клапан 6 может быть выполнен в виде металлической мембраны или из резинового листа. Затем вымывают углеводородный растворитель и продукты реакции обратной промывкой. После этого, поднятием колонны труб 4, устройство 5 для импульсной закачки жидкости размещают напротив подошвы пласта 3. Производят посадку пакера 9 и герметизируют отверстия 11 перфорированного патрубка 7 перемещением втулки 8 вниз. На втулку 8 взаимодействуют сбивным инструментом (на фигуре не показан), выполненным в виде двух насосно-компрессорных труб, которых спускают на геофизическом кабеле. Под действием сбивного инструмента разрушается срезной винт, удерживающий втулку 8 на колонне труб. В результате этого втулка 8 перемещается вниз, герметизирует отверстия 11 перфорированного патрубка 7 и фиксируется стопорным кольцом (не показано) перфорированного патрубка 7. Далее заполняют колонну труб 4 технологической жидкостью и созданием избыточного давления срезают разрушаемый клапан 6. Затем по колонне труб 4 в импульсном режиме производят закачку и продавку 10-15%-ного водного раствора соляной кислоты с постепенным увеличением расхода закачки этого раствора соляной кислоты. Выполняют технологическую выдержку для реагирования и производят извлечение продуктов реакции свабированием. 10-15%-ный водный раствор соляной кислоты закачивается в пласт 3 в пенообразном состоянии. При этом пена данного раствора соляной кислоты образуется в устройстве 5 для импульсной закачки жидкости. Это устройство 5 выполнено из корпуса в виде полого цилиндра 12 с кольцевыми канавками 13 на внутренней стенке. Каждая канавка 13 в поперечном сечении имеет форму прямоугольной трапеции с коротким основанием 14 на дне канавки и наклонной стенкой 15 наверху. Внутри корпуса расположена полая ось 16, имеющая дно с отверстием 17. В отверстие 17 дна полой оси запрессован шнек 18. На полую ось 16 с помощью двух подшипников 19 установлена втулка 20. Втулка 20 и полая ось 16 выполнены с щелевыми прорезями 21, расположенными под углом к их образующей. Щелевые прорези 21 втулки 20 расположены в противоположном направлении к щелевым прорезям полой оси 16. На нижний конец внутренней стенки полого цилиндра 12 корпуса неподвижно с помощью стопорных винтов 22, завернутых в резьбовые выборки выполненные на полом цилиндре, закреплен диск 23. Диск 23 выполнен с отверстиями 24, удаленными от центра на одинаковые расстояния. При этом на верхней стенке диска 23 между внутренней стенкой полого цилиндра 12 и отверстиями 24 диска имеются радиально направленные пластины 25. Напротив нижнего торца полой оси 16 на стенку диска 23 между отверстиями 24 этого диска неподвижно закреплены радиально направленные пластины 26 в форме прямоугольной трапеции с наклонной боковой стороной наверху и коротким основанием 27 в центральной части диска 23. При наклонном расположении верхней стенки пластины 26 поток раствора соляной кислоты, вытекая со шнека 18, полностью ударяется о боковые стенки этих пластин 26. Кислотная пена в устройстве 5 для импульсной закачки жидкости образуется следующим образом. 10-15%-ный водный раствор соляной кислоты под избыточным давлением через колонну насосно-компрессорных труб 4 и переводник 28 поступает в полость Б полой оси 16. Далее этот раствор соляной кислоты вытекает с щелевых прорезей 21 полой оси 16 и поступает в щелевые прорези 21 втулки 20. Поток раствора соляной кислоты, вытекая через щелевые прорези 21 втулки 20, вращает эту втулку по часовой стрелки (по фиг. 4). Вращаясь, втулка 20 перекрывает поток раствора, в итоге чего образуются отдельные порции раствора соляной кислоты, которые встречаются с острыми краями 29 выступов, образованных кольцевыми канавками 13 полого цилиндра 12, и делятся на более мелкие порции. Мелкие порции раствора соляной кислоты, раскручиваясь против часовой стрелки, с большой скоростью перемещаются в нижнею часть полого цилиндра 12 и ударяются о боковые стенки пластин 25 и о верхнею стенку диска 10. В результате этого мелкие порции раствора соляной кислоты превращаются в пену. Поток раствора соляной кислоты, перемещающийся вниз по отверстию 17 полой оси 16, раскручивается шнеком 18 и ударяется о боковые стенки пластин 26. В результате удара потока раствора соляной кислоты сразу в несколько пластин 26, этот раствор соляной кислоты превращаются в пену. Пены раствора соляной кислоты, образованные в результате его взаимодействия с пластинами 25 и пластинами 26, смешиваются между собою и выходят наружу с устройства 5 для импульсной закачки жидкости через отверстия 24 диска 23.

[9]

Применение предлагаемого способа позволяет повысить эффективность обработки призабойной зоны скважины путем закачки в пласт водного раствора соляной кислоты, преобразованного в пену. При этом кислотная пена образуется без компрессора и аэратора на забое скважины с помощью устройства для импульсной закачки жидкости. Кислотная пена медленнее растворяет карбонатный материал, что способствует более глубокому проникновению соляной кислоты в пласт. Этим увеличивается охват обрабатываемой зоны пласта, тем самым повышается эффективность обработки призабойной зоны скважины и увеличивается продуктивность скважины.

[10]

Перечень использованной информации: 1. Патент RU 2442888, МПК Е21В 43/27, Е21В 33/138, опубл. 20.02.2012

[11]

2. Патент RU 2512216, МПК Е21В 43/27, Е21В 43/22, опубл. 10.04.2014

Как компенсировать расходы
на инновационную разработку
Похожие патенты