Использование: для создания емкостного датчика давления. Сущность изобретения заключается в том, что высокочастотный тонкопленочный емкостной датчик давления состоит из четырех диэлектрических пленок, на поверхности первой диэлектрической пленки сформирован основной экран, на верхней поверхности второй диэлектрической пленки сформирован первый боковой экран, изолятором между основным экраном и объектом исследования является первая диэлектрическая пленка, на нижней поверхности четвертой диэлектрической пленки сформирована объединенная обкладка (мембрана), сквозь первую, вторую диэлектрические пленки и ответные обкладки проходят не менее пяти сквозных опорных отверстий для связи полости датчика под мембраной с атмосферным давлением; датчик закреплен на поверхности объекта исследования через первую диэлектрическую пленку с канавками для поддержания связи ячейки с атмосферой через опорные отверстия, при этом на поверхности второй диэлектрической пленки сформированы ответные обкладки из металлической фольги прямоугольной или круглой формы; диаметр ячейки перфорации выбирают равным 2а, где а - радиус ячейки перфорации, высоту l ячейки перфорации выбирают равной высоте общей толщины мембраны l, для сохранения линейной зависимости между выходным и входным параметрами прогиб мембраны выбирают намного меньше общей толщины l/2; после формирования мембраны датчика из диэлектрической пленки толщину металлизированного слоя t выбирают не более одного мкм, в противном случае, когда мембраной является металлическая пленка, его толщину t выбирают в диапазоне от 2 мкм до 40 мкм, при этом соответственно обеспечивая минимальный уровень измеряемого давления от 1 Па до 20 кПа; максимальный - от 200 Па до 1100 кПа, причем, если мембрана сформирована из полиимидной пленки, величина частоты ее собственных колебаний меньше величины частоты собственных колебаний пленки из никеля в 4,5 раза; причем полиимидная пленка, выбранная в качестве изоляции и для покрытия металлом в вакууме, должна быть толщиной не менее 10 мкм. Технический результат: обеспечение возможности расширения частотного диапазона тонкопленочных емкостных датчиков больше звуковой частоты (от 20 Гц до 20 кГц). 4 ил.
Высокочастотный тонкопленочный емкостной датчик давления, состоящий из четырех диэлектрических пленок, на поверхности первой диэлектрической пленки сформирован основной экран, на верхней поверхности второй диэлектрической пленки сформирован первый боковой экран, изолятором между основным экраном и объектом исследования является первая диэлектрическая пленка, на нижней поверхности четвертой диэлектрической пленки сформирована объединенная обкладка (мембрана), сквозь первую, вторую диэлектрические пленки и ответные обкладки проходят не менее пяти сквозных опорных отверстий для связи полости датчика под мембраной с атмосферным давлением; датчик закреплен на поверхности объекта исследования через первую диэлектрическую пленку с канавками для поддержания связи ячейки с атмосферой через опорные отверстия, отличающийся тем, что на поверхности второй диэлектрической пленки сформированы ответные обкладки из металлической фольги прямоугольной или круглой формы; диаметр ячейки перфорации выбирают равным 2а, где а - радиус ячейки перфорации, высоту l ячейки перфорации выбирают равной высоте общей толщины мембраны l1, для сохранения линейной зависимости между выходным и входным параметрами прогиб мембраны выбирают намного меньше общей толщины l/2; после формирования мембраны датчика из диэлектрической пленки толщину металлизированного слоя t выбирают не более одного мкм, в противном случае, когда мембраной является металлическая пленка, его толщину t выбирают в диапазоне от 2 мкм до 40 мкм, при этом соответственно обеспечивая минимальный уровень измеряемого давления от 1 Па до 20 кПа; максимальный - от 200 Па до 1100 кПа, причем, если мембрана сформирована из полиимидной пленки, величина частоты ее собственных колебаний меньше величины частоты собственных колебаний пленки из никеля в 4,5 раза; причем полиимидная пленка, выбранная в качестве изоляции и для покрытия металлом в вакууме, должна быть толщиной не менее 10 мкм.
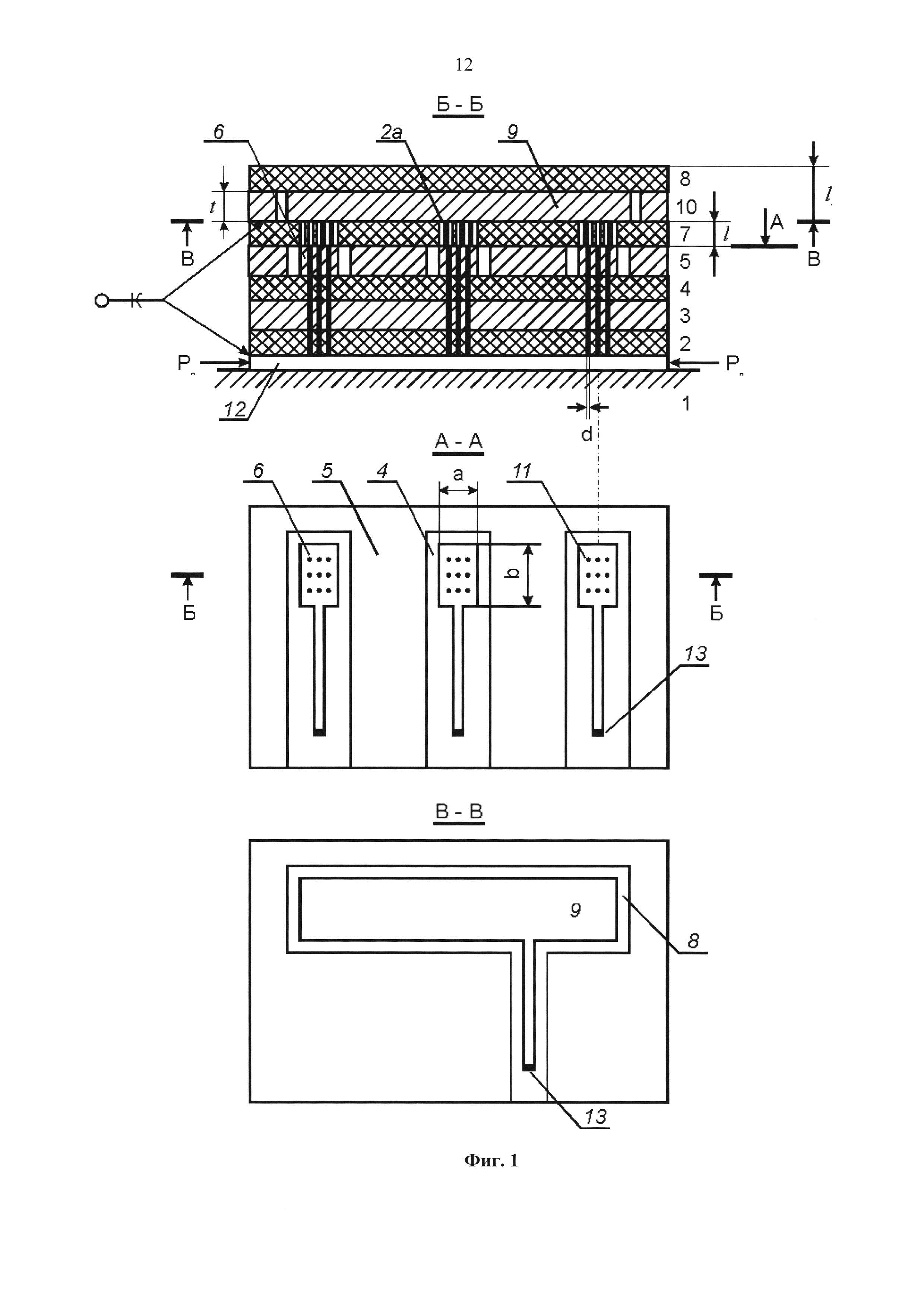
Изобретение относится к измерительной технике и может быть использовано в авиационной, космической технике, ЖКХ, акустике и в экспериментах для измерения быстропеременных давлении. Известен емкостной датчик давления, сборку которого осуществляют в вакууме с применением технологии изготовления тонких эпитаксиальных пленок в вакууме. Мембрана датчика имеет плоскую цилиндрическую форму. Приводятся рациональные размеры конструкции чувствительного элемента (ЧЭ) емкостного датчика, позволяющего измерять пульсации давления от 102 мкПа до 2⋅105 Па (15-200 дБ), статического давления от 0 до 5⋅105 Па и их сочетание, т.е. давление звука (статодинамическое давление) в этих интервалах. ЧЭ емкостного датчика позволяет измерить пульсации и статическое давление на поверхности объекта исследованный (ОИ) бездренажным и дренажным способами (патент РФ №2179308 G01L 9/08, 9/12. 2002 г. «Емкостной датчик давления» автор А.А. Казарян). Датчик имеет следующие недостатки. Сборка датчика проходит по сложному технологическому процессу, из-за чего повышается его стоимость. Датчик не позволяет измерить звуковое давление (пульсации давления) в диапазоне частот шире, чем от 20 Гц до 20 кГц. Наиболее близким к изобретению техническим решением является емкостной датчик давления, основанный на принципе зависимости параметров, определяющих его электрическую емкость. Емкостный датчик давления состоит из двухсторонней фольгированной диэлектрической пленки, являющейся основанием датчика. На верхней поверхности основания датчика сформированы обкладки конденсатора с выводами. Фольга на нижней поверхности основания является экраном датчика. Мембрана датчика жестко закреплена на поверхности второй диэлектрической пленки. На обе поверхности мембраны нанесены третья и четвертая диэлектрические пленки. Для защиты выводов установлен экран, покрытый шестой и седьмой диэлектрическими пленками. Экран выполнен из того же материала, что и мембрана. Вторая пленка выполнена перфорированной с газообразным диэлектриком внутри ячейки и пропитана клеем. Дополнительно введен вывод в виде провода диаметром 1-2 мкм, покрытого изоляцией. На основании датчика обкладки перфорированы и имеют не менее пяти отверстий для связи полости датчика под мембраной с атмосферным давлением. Такое решение в указанной конструкции обеспечивает измерение бездренажным методом звукового давления (пульсации давления), давления звука (статодинамическое давление), статического давления, взрывных, ветровых давлений волны и т.д. (патент РФ №2485464 G01L 9/12. 2013 г. автор А.А. Казарян). Недостатком датчика является отсутствие возможности измерения звукового давления в диапазоне частот шире, чем 20 Гц-20 кГц. Задачей настоящего изобретения является реализация метода бездренажного измерения полей звукового давления за счет расширения диапазона измерения рабочей частоты тонкопленочных емкостных датчиков, больше диапазона звуковой частоты (20 Гц до 20 кГц). При этом сохраняя линейность зависимости изменения выходного сигнала (перемещение мембраны) от входного задаваемого давления (нагрузки) и необходимого коэффициента преобразования (чувствительности) датчика. Технический результат достигается тем, что высокочастотный тонкопленочный емкостной датчик давления, состоящий из четырех диэлектрических пленок, на поверхности первой диэлектрической пленки сформирован основной экран, на верхней поверхности второй диэлектрической пленки сформирован первый боковой экран, изолятором между основным экраном и объектом исследования является первая диэлектрическая пленка, на нижней поверхности четвертой диэлектрической пленки сформирована объединенная обкладка (мембрана), сквозь первую, вторую диэлектрические пленки и ответные обкладки проходят не менее пяти сквозных опорных отверстий для связи полости датчика под мембраной с атмосферным давлением; датчик закреплен на поверхности объекта исследования через первую диэлектрическую пленку с канавками для поддержания связи ячейки с атмосферой через опорные отверстия, дополнительно, на поверхности второй диэлектрической пленки сформированы ответные обкладки из металлической фольги прямоугольной или круглой формы; диаметр ячейки перфорации выбирают равной 2 Расширение частотного диапазона емкостного датчика в авиационной акустике необходимо для измерения такого важного параметра как давление за скачком уплотнения, отраженным от замкнутого конца ударной трубы. Например, из обзоров открытой зарубежной литературы известно, что для измерения давления торможения газовой среды применяются пьезоэлектрические датчики, имеющих резонансную частоту ≥400 кГц и время нарастания сигнала 10-6 с. Расширение частотного диапазона емкостного датчика важно также для исследования двухфазных жидких сред. Например, в водной среде у воздушных пузырьков диаметром один мм характерные значения собственной частоты равно ω0/2π≈3 кГц; но при диаметре 0,1 мм собственная частота пузырька достигает ω0/2π≈30 кГц, где ω0 - угловая частота колебания пузырька. На фиг. 1 представлена конструкция датчика из нескольких ЧЭ и отдельные его узлы. На фиг. 2 показана зависимость изменение частоты f от толщины мембраны t. На фиг. 3 и фиг. 4 - зависимость изменение частоты f от диаметра 2 На фиг. 1 на поверхности ОИ 1 наклеен емкостной датчик давления, состоящий из четырех диэлектрических пленок 2, 4, 7 и 8, причем на верхнюю поверхность первой изоляционной диэлектрической пленки 2 нанесен основной экран 3; на второй диэлектрической пленке 4 сформирован первый боковой экран 5 и ответная обкладка 6. Третья диэлектрическая пленка 7 перфорирована. На четвертой диэлектрической пленке 8 сформирована объединенная обкладки (мембрана) 9 и второй боковой экрана 10 (фиг. 1 сеч. Б-Б). Третья диэлектрическая пленка 7 одновременно является изолятором между мембраной 9 и ответными обкладками 6 (фиг. 1 сеч. А-А, сеч. В-В). Сквозь диэлектрические пленки 2, 4 ответных обкладок 6 и основной экран 3 проходят опорные отверстия 11 с диаметром d. Канавка 12 проходит по нижней поверхности диэлектрической пленки 2 (фиг. 1 сеч. Б-Б). Для съема сигнала предусмотрены выводы с контактными площадками 13 (фиг. 1 сеч. А-А, сеч. В-В). На фиг. 2 показана зависимость изменения частоты ƒ собственных колебаний никелевой мембраны 9 от толщины t мембраны 9 при разных значениях радиусах Первую и вторую диэлектрические пленки 2, 4 и основной экран 3 изготавливают из полиимидной пленки толщиной от 5 мкм до 10 мкм, фольгированной медью или никелем толщиной 5 мкм. Такая конструкция хорошо защищена от влияния внешних электромагнитных помех. Параметры четвертой диэлектрической пленки 8 выбирают, исходя из частотных и амплитудных характеристик измеряемых пульсаций давления. Например, если необходимо измерять низкие уровни пульсаций давления от 50 дБ до 140 дБ с частотой больше 20 кГц, то выбирают полиимидную пленку толщиной от 10 мкм до 20 мкм с односторонней металлизацией никелем толщиной до t=1 мкм. При выборе толщины четвертой диэлектрической пленки меньше 10 мкм возникают технологические трудности - пленка скручивается, что затрудняет как металлизацию самой пленки, так и сборку пакета датчика. При конструировании тонкопленочных емкостных датчиков возникают трудности методологического характера. А именно, что является мембраной - четвертая диэлектрическая пленка 8 толщиной 10-20 мкм или объединенная обкладка (мембрана) 9 толщиной t до одного микрона из металла, например из никеля. Предлагается в расчетах емкостных пленочных датчиков делать допущение, что материал мембраны однороден и ее упругие свойства одинаковы во всех трех направлениях; металлизированный слой, толщиной до одного мкм, играющий роль обкладок конденсаторов, не влияет на упругость пленки. При этом в теоретической модели датчика рассмотрен однослойный случай. Если толщина фольги (металлизированной) существенно меньше толщины диэлектрической пленки, то при расчетах используется модуль упругости Е, коэффициент Пуассона μ и толщина диэлектрика, например, для полиимидной пленки E=3⋅109 Па, μ=0,22. При противоположном соотношении - эти же параметры фольги. Такой упрощенный подход позволяет описать основные реализации разработанных датчиков и получить хорошее совпадение расчетных и экспериментальных данных. На фиг. 2 - фиг. 4 показан зависимости частоты собственных колебаний от радиуса Четвертая диэлектрическая пленка 8 формируется путем нанесения на нижнюю поверхность металлической мембраны (пленки) 9 полиимидной пленки или полиамидокислотного лака по известной технологии. Толщина t металлической мембраны 9 может быть выбрана в диапазоне от 1,0 мкм до 40 мкм, (фиг. 2-фиг. 4), Высота ℓ ячейки перфорации не должна превышать общей толщины мембраны ℓ1. При этом обеспечивается линейность характеристики зависимости выходного сигнала датчика от входного, т.е. задаваемого давления. При этом прогиб мембраны y должно быть намного меньше общей толщины мембраны (в ℓ/2 раза). Толщину металлической пленки объединенной обкладки выбирают в зависимости от диапазона измеряемого давления. Например, в случае металлической пленки из никеля и при диаметре ячейки перфорации 2 Связующими между мембраной 9, ответными обкладками 6 и выводами 13 являются слои клея К, нанесенные на поверхности перфорированной пленки до осуществлении перфорации (фиг. 1 сеч. Б-Б). Размеры обкладки прямоугольной формы могут быть 4×6 мм или 6×9 мм; или диаметром 3-6 мм в случае круглой формы. При изготовлении на одной подложке может быть сформировано от одного ЧЭ до нескольких десятков, с выводами или без них. Использованные материалы известны в промышленности. Опорное отверстие под мембраной выбирают диаметром d=0,25-0,3 мм. Связь с атмосферным давлением Р0 обеспечивают канавкой 12 на первой диэлектрической пленке 2, шириной равной высоте в обкладок 6 наклеенных на поверхности ОИ 1 (фиг. 1 сеч. А-А, сеч. Б-Б). Основной экран 3 и вторую диэлектрическую пленку 4 скрепляют между собой клеем на эпоксидно-каучуковой основе. Датчик на поверхности ИО скрепляют клеем холодного отверждения любой марки. Опорные отверстия на ответной обкладке 6 расположены симметрично относительно центральной оси. Опорные отверстия проходят сквозь вторую, первую диэлектрические пленки 4, 2 и основной экран 3. Выравнивание статического давления за мембраной необходимо для достижения возможно точного измерения давления и для уменьшения значения нижней границы рабочего частотного диапазона. Наличие воздушного слоя, в зависимости от условий работы мембраны, позволяет внести в режим работы мембраны добавочное затухание или добавочную упругость. Наличие опорных отверстий при изменении звуковой частоты в широком диапазоне, влияние инерции воздуха, влияние внутреннего трения мембраны и т.д., одинаково и незначительно изменяют акустическое сопротивление емкостного датчика давления. Прогиб мембраны вовнутрь ячейки перфорации диаметром 2 Эти параметры могут быть подсчитаны по известным формулам: Для полиимидной пленки эти параметры равны: E=3⋅109 н/м2, μ=0,22; j=1,42 г/см3. При этом зависимость изменения наименьшей частоты собственных колебаний мембраны при заданных значениях разными радиусами Исходя из частотных и амплитудных характеристик измеряемых пульсаций давления, определяют тип исполнения датчика для одноштучного изготовления или в матричном варианте изготовления (на одной подложке несколько ЧЭ). Согласно фиг. 1 ЧЭ датчика сформирован из мембраны т.е. объединенной обкладки 9, второй диэлектрической пленки 4 металлизированной на верхней поверхности, ответной обкладки 6. Вокруг ЧЭ сформирован первый боковой экран 5. Ответная обкладка 6 (или обкладки - в случае матричного варианта изготовления) датчика сформирована на второй диэлектрической пленке 4. Металлизацию мембраны, ответной обкладки с выводами, экранов из диэлектрической пленки (например, из полиимида) формируют в вакуумной камере через маски. Из первой и второй диэлектрических пленок собирают пакет. Далее, согласно разметкам опорных отверстий 11, сквозь указанные диэлектрические пленки 2, 4 и ответные обкладки 6 высверливают опорные отверстия диаметром 0,25-0,3 мм. Затем собирают полный пакет емкостного датчика согласно фиг. 1 сеч. Б-Б. Сформированный пакет выдерживают между пуансоном и матрицей под давлением (3,0-3,5)⋅105 Па/см при циклическом воздействии температуры от 80-110°C продолжительностью 5-10 мин. Затем повышают температуру от 110°C до 170°C продолжительностью 30-40 мин. Собранный пакет охлаждают до температуры 50-60°C, разбирают, проверяют работоспособность каждого ЧЭ датчика давления, при необходимости составляют паспорт. Собранный готовый датчик на одной подложке с несколькими ЧЭ на поверхности ОИ 1 скрепляют клеем отверждения любого типа. Зона опорных отверстий 11 (фиг. 1 сеч. Д-Д) должна быть свободна от клея. Известно, что чувствительность датчика с малым воздушным зазором ℓ между мембраной и ответной обкладки не зависит от ℓ, если внешняя шунтирующая емкость пренебрежимо мала по сравнению с емкостью датчика. Также известно, что это приводит к аннулированию эффекта возрастания жесткости воздушной подушки, когда зазор уменьшается и наоборот. Опорные отверстия с ячейками перфорации под мембраной увеличивают чувствительность датчика в двадцать раз. Предложенная конструкция датчика позволяет реализовать метод бездренажного определения полей пульсаций давления авиационной акустики в диапазоне частот от 5 Гц до 100 кГц. Высокочастотные тонкопленочные датчики данной конструкции могут с успехом применяться при выполнении следующих задач: - проведение прочностных и аэродинамических исследований без нарушения целостности изделия; - совмещение и одновременное измерение распределения с весовыми, температурными и другими видами измерений. Для предоставления принципов работы предложенного емкостного датчика пренебрегаем амортизирующим действием воздушной прослойки и краевыми эффектами. Принцип работы датчика. При изменении давления на величину Р мембрана 9 прогибается вовнутрь ячеек перфорации 7, изменяется расстояние 2 Технико-экономический эффект предложенного изобретения достигается за счет увеличения частоты собственных колебаний мембраны. С целью подтверждения технико-экономического эффекта был изготовлен тонкопленочный емкостной датчик в одноштучном исполнении. Между мембраной из металлизированной полиимидной пленки и ответными обкладками из фольгированной медью полиимидной пленки была расположена перфорированная полиимидная пленка толщиной ~20 мкм с отверстиями ячеек перфорации диаметром 2 При измерении частотной характеристики емкостного датчика за полосой пропускания было зафиксировано, что верхняя граница рабочего диапазона частот намного превышает 50 кГц. Эксперимент был проведен на стенде ударной трубы УТ-4. В качестве эталонной аппаратуры была использована аппаратура с микрофоном модели 4136 фирмы «Брюль и Къер» (Дания). В работе [«Приемники пульсаций давления, используемых для аэродинамических исследований (по материалам иностранной печати)». Отделение Научно-технической Информации ЦАГИ №619 1983 г. стр. 19] описывается приемник, у которого удалось получить рабочий диапазон частот до 500 кГц за счет обеспечения очень малого зазора между обкладками (0,6-0,7 мкм). В этой работе представляет интерес также конденсаторный приемник (датчик) давления с шероховатой поверхностью неподвижной обкладки. Шероховатость имеет нерегулярный характер, причем мембрана натягивается не на некотором расстоянии от обкладки, а ложится прямо на неподвижную четвертую диэлектрическую пленку. Таким образом, упрощается конструкция датчика и уменьшается масса воздуха между обкладками конденсатора. В некотором приближении весь датчик можно рассматривать как совокупность независимых датчиков, образованных прогибами отдельных участков мембраны на микронеровностях неподвижной ответной обкладки, соединенных параллельно. Частотная характеристика емкостного датчика зависит от средних уровней давления, при которых он используется, что объясняется малой собственной массой мембраны, влиянием присоединительных масс воздуха и практической реализацией демпфирования резонансного пика, которое зависит от давления окружающей среды и ухудшается при отклонении от проектных условий. Как отечественные, так и зарубежные исследования показали, что емкостные датчики имеют очень широкие динамические диапазоны по измеряемым давлениям. Верхний предел измерения пульсации давлений обычно определяется допустимыми искажениями и может достигать 170 дБ и больше. Нижние уровни измеряемых давлений 45-50 дБ. Исследования показали, что при использовании малошумящей усилительной аппаратуры суммарный шум предварительного усилителя с датчиком составляет 3-5 мкВ. В области низких частот основную роль играют шумы предварительного усилителя заряда, а в области более высоких частот большую роль играют шумы от броуновского движения молекул воздуха около мембраны. В случае необходимости применения емкостного датчика на очень низких частотах от 0,01 Гц до 5,0 Гц опорные отверстия необходимо закрыть и использовать емкостной датчик с аппаратурой на несущей частоте. В отечественной и зарубежной измерительной технике обычно мембрану микрофонов формируют тонкой и сильно натянутой. В качестве материала мембраны используются никелевые пленки толщиной 5-20 мкм.
. Это обеспечивает линейность при условии, что умак≤0,5t [м], напряжение по окружности
и наибольшая частота собственных колебаний мембраны
, где Р - давление н/м2; E - модуль Юнга для никеля E=20,5⋅1010 н/м2, μ - коэффициент Пуассона μ=0,31; плотность j=8,8 кг/м2 и t - толщина мембраны [м].
и напряжению поляризации датчика U, т.е. на выходе датчика имеем напряжение
.