Использование: для измерения расхода жидкостей и газов. Сущность изобретения заключается в том, что вихреакустический преобразователь расхода содержит корпус с проточной частью 1, тело обтекания 2, пьезоизлучатель 3 и пьезоприемник 4 с первым и вторым дисковыми пьезоэлементами 5 и 6 соответственно, установленные на одной оси диаметрально противоположно за телом обтекания 2 так, что их излучающие поверхности параллельны между собой, генератор 7, первый 8 и второй 9 развязывающие трансформаторы с первой, второй и третьей обмотками каждый, усилитель 10, фильтр 11, фазовый детектор 12, микропроцессорный блок 13. Преобразователь расхода имеет два независимо работающих канала преобразования - канал преобразования расхода и канал преобразования температуры. Канал преобразования расхода включает пьезоизлучатель и пьезоприемник, генератор сигнала ультразвуковой частоты, первые и вторые обмотки развязывающих трансформаторов, фазовый детектор. Канал преобразования температуры включает пьезоизлучатель и пьезоприемник, третьи обмотки развязывающих трансформаторов, усилитель, фильтр. Независимость каналов обеспечивается работой на разных частотах: канала измерения расхода - на основной частоте толщинной моды, а канала измерения температуры - на основной частоте радиальной моды собственных колебаний пьезоэлемента. По измеренной температуре контролируемой среды вычисляется вязкость и плотность среды, массовый расход, вносятся поправки на изменение вязкости. Технический результат: повышение точности измерений, упрощение конструкции. 1 ил.
Вихреакустический преобразователь расхода, содержащий корпус с проточной частью, расположенное поперек потока тело обтекания, пьезоизлучатель и пьезоприемник с первым и вторым дисковыми пьезоэлементами, соответственно, установленные на одной оси диаметрально противоположно за телом обтекания так, что их излучающие поверхности параллельны между собой, генератор, фазовый детектор и микропроцессорный блок, отличающийся тем, что с целью повышения точности измерений и упрощения конструкции в него введены первый и второй развязывающие трансформаторы с первой, второй и третьей обмотками каждый, усилитель и фильтр, причем первый и второй пьезоэлементы подключены к первым обмоткам первого и второго трансформаторов, генератор подключен ко второй обмотке первого трансформатора и первому входу фазового детектора, вторая обмотка второго трансформатора подключена ко второму входу фазового детектора, вход усилителя подключен через полосовой фильтр к третьей обмотке первого трансформатора, а выход - к третьей обмотке второго трансформатора и к входу микропроцессорного блока, при этом частота сигнала генератора равна основной частоте толщинной моды, а средняя частота фильтра - основной частоте радиальной моды собственных колебаний пьезоэлементов.
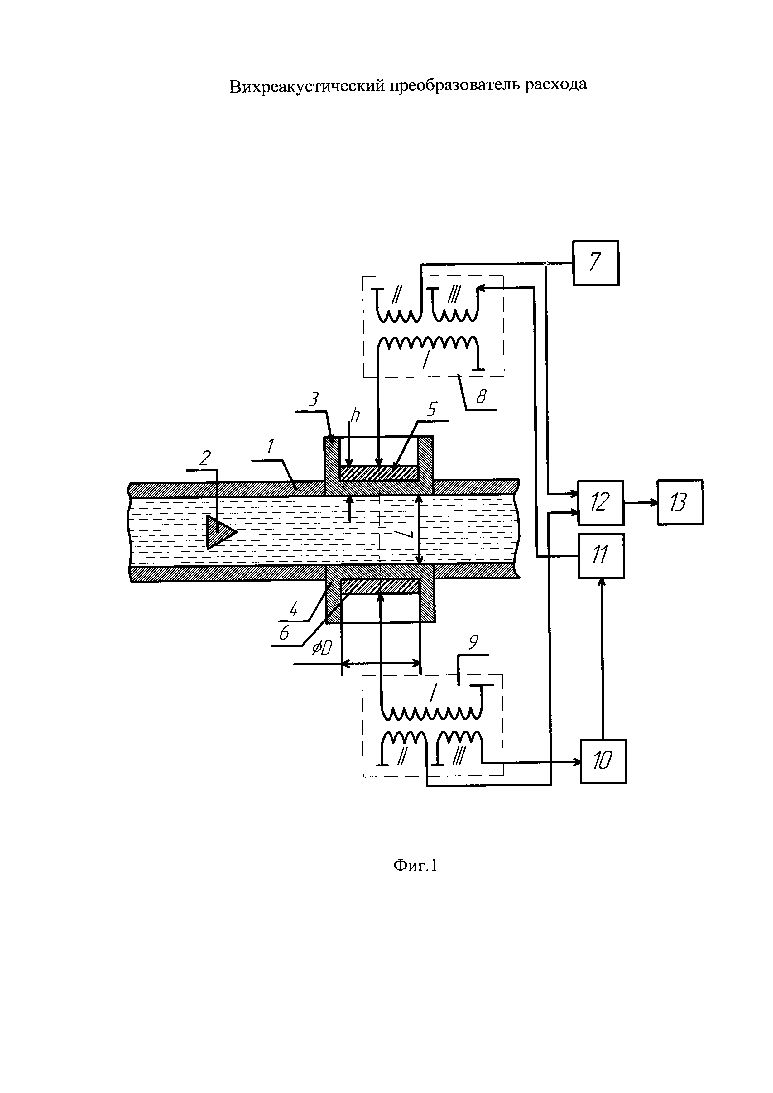
Изобретение относится к измерительной технике, а конкретно - к вихревым расходомерам, предназначенным для измерения расхода жидкостей и газов, и может быть использовано в различных отраслях народного хозяйства для целей контроля, регулирования или учета потоков веществ. Известны вихревые преобразователи расхода, принцип действия которых основан на детектировании и измерении частоты следования вихрей, образующихся за помещенным в поток текучей среды плохообтекаемым телом (Кремлевский П.П. Расходомеры и счетчики количества: Справочник. - Л.: Машиностроение. 1989, с. 361-375.1). Одним из главных преимуществ вихревых преобразователей расхода являются низкие эксплуатационные расходы. Известен вихреакустический преобразователь расхода, в котором для детектирования вихрей используется ультразвуковое зондирование вихревой дорожки (Преобразователи расхода вихреакустические Метран-300 ПР. Руководство по эксплуатации СПГК.407131.026 РЭ, версия 46, с. 22, 23). Он содержит корпус с проточной частью, расположенное поперек потока тело обтекания, пьезоизлучатель и пьезоприемник (в которых в качестве ультразвуковых преобразователей используются дисковые пьезоэлементы), установленные на одной оси диаметрально противоположно за телом обтекания так, что их излучающие поверхности параллельны между собой, генератор, фазовый детектор и микропроцессорный адаптивный фильтр с блоком формирования выходных сигналов (микропроцессорный блок). Для устранения зависимости показаний от вязкости контролируемой среды, которая приводит к появлению дополнительной погрешности при работе в широком диапазоне расходов и температур контролируемой среды, осуществляется измерение температуры среды и вводится поправка на изменение вязкости. Измерение температуры осуществляется с помощью термодатчика, размещенного в корпусе преобразователя расхода. Преобразователь расхода имеет широкий диапазон измерений, нечувствителен к вибрациям и механическим ударам. Недостатком описанного вихреакустического преобразователя расхода является появление дополнительной погрешности при большой разности температур контролируемой и окружающей сред из-за большой погрешности измерения температуры - за счет паразитного теплопритока от нагретого (охлажденного) корпуса к термодатчику. Кроме того, установка термодатчика сопряжена с усложнением конструкции преобразователя расхода, а также необходимостью проведения периодической поверки термодатчика, что увеличивает расходы на эксплуатацию. Ожидаемый технический эффект изобретения - повышение точности измерений температуры, упрощение конструкции и снижение расходов на эксплуатацию. Указанный эффект достигается тем, что в вихреакустический преобразователь расхода, содержащий корпус с проточной частью, расположенное поперек потока тело обтекания, пьезоизлучатель и пьезоприемник с первым и вторым дисковыми пьезоэлементами, соответственно, установленные на одной оси диаметрально противоположно за телом обтекания так, что их излучающие поверхности параллельны между собой, генератор, фазовый детектор и микропроцессорный блок, введены первый и второй развязывающие трансформаторы с первой, второй и третьей обмотками каждый, усилитель и фильтр, причем первый и второй пьезоэлементы подключены к первым обмоткам первого и второго трансформаторов, генератор подключен ко второй обмотке первого трансформатора и первому входу фазового детектора, вторая обмотка второго трансформатора подключена ко второму входу фазового детектора, вход усилителя подключен через полосовой фильтр к третьей обмотке первого трансформатора, а выход - к третьей обмотке второго трансформатора и к входу микропроцессорного блока, при этом частота сигнала генератора равна основной частоте толщинной моды, а средняя частота фильтра - основной частоте радиальной моды собственных колебаний пьезоэлементов. Сущность изобретения поясняется рисунком фиг. 1, на котором представлена функциональная схема предлагаемого вихреакустического преобразователя расхода. Вихреакустический преобразователь расхода содержит (фиг. 1) корпус с проточной частью 1, тело обтекания 2, пьезоизлучатель 3 и пьезоприемник 4 с установленными в них первым и вторым дисковыми пьезоэлементами 5 и 6, соответственно, генератор 7, первый 8 и второй 9 развязывающие трансформаторы с первой, второй и третьей обмотками каждый, усилитель 10, фильтр 11, фазовый детектор 12, микропроцессорный блок 13. Пьезоизлучатель 3 и пьезоприемник 4 расположены непосредственно за телом обтекания 2 на противоположных стенках трубопровода 1 так, что их совместная ось перпендикулярна оси трубопровода 1 и оси тела обтекания 2, а излучающие поверхности параллельны между собой. Преобразователь расхода имеет два независимо работающих канала преобразования - канал преобразования расхода и канал преобразования температуры. Канал преобразования расхода включает следующие элементы: первый и второй пьезоэлементы 5 и 6, генератор 7, первый 8 и второй 9 развязывающие трансформаторы с первой и второй обмотками каждый, фазовый детектор 12. Канал преобразования скорости звука включает следующие элементы: пьезоэлементы 5 и 6, первый 8 и второй 9 развязывающие трансформаторы с третьей обмоткой каждый, усилитель 10, фильтр 11. Канал преобразования расхода работает следующим образом. Электрический сигнал возбуждения поступает с генератора 7 через первую и вторую обмотки развязывающего трансформатора 8 на первый пьезоэлемент 5 пьезоизлучателя 3. Частота генератора 7 равна основной частоте толщинной моды колебаний пьезоэлемента 5, которая определяется его толщиной h. Пьезоэлемент 5 преобразует сигнал генератора в ультразвуковые колебания, распространяющиеся от пьезоизлучателя 3 к пьезоприемнику 4. Поступающие на пьезоприемник 4 ультразвуковые колебания преобразуются в электрический сигнал: работа на резонансной частоте обеспечивает максимальную величину этого сигнала. Сигнал приема (фаза которого сдвинута по отношению к фазе сигнала, поступающего с генератора 7 на пьезоизлучатель 3) с выхода второго пьезоэлемента 6 через первую и вторую обмотки развязывающего трансформатора 9, а сигнал генератора 7 - непосредственно - поступают на входы фазового детектора 12. Фазовый детектор 12 осуществляет преобразование переменной составляющей сдвига фаз в синусоидальный электрический сигнал, который поступает на вход микропроцессорного блока 13. Микропроцессорный блок 13 измеряет частоту этого сигнала и по нему вычисляет объемный расход (пропорциональный частоте). Канал преобразования температуры работает следующим образом. При наличии в пространстве между пьезоизлучателем 3 и пьезоприемником 4 контролируемой среды образуется замкнутый контур, в котором возникают автоколебания. Контур состоит из следующих последовательно соединенных элементов: трансформатор 8 с первой и третьей обмотками, первый пьезоэлемент 5, контролируемая среда, второй пьезоэлемент 6, трансформатор 9 с первой и третьей обмотками, усилитель 10, фильтр 11. Указанный контур возбуждается при условии, если в контролируемой среде, заполняющей пространство между пьезоизлучателем 3 и пьезоприемником 4, имеет место режим бегущей волны, которому соответствует условие (Серавин Г.Н. Измерение скорости звука в океане. Л.: Гидрометеоиздат. 1979, с. 20, 21.3): где FN - частота автоколебаний, L - расстояние между излучающими поверхностями пьезоизлучателя 3 и пьезоприемника 4 (равное, приблизительно, диаметру проточной части), N - целое число полуволн, укладывающихся на длине L, C - скорость звука в контролируемой среде. Величина частоты FN (и, соответственно, число N) задается с помощью фильтра 11, средняя частота которого, соответствующая максимуму амплитудно-частотной характеристики, должна равняться частоте FN при среднем значении скорости звука СCP в рабочем диапазоне температур контролируемой среды: В свою очередь, средняя частота FCP фильтра 11 устанавливается равной основной частоте радиальной моды колебаний пьезоэлемента. Работа на резонансной частоте обеспечивает максимальную величину сигнала, циркулирующего в контуре, т.е. оптимальный режим работы. Настройка контура на частоту радиального резонанса осуществляется путем соответствующего выбора параметров фильтра 11. Выход усилителя 10 подключен к микропроцессорному блоку 13. Независимое функционирование каналов измерения расхода и температуры обеспечивается полной гальванической развязкой, а также тем, что рабочие частоты каналов сильно различаются между собой. Рабочая частота канала измерения сдвига фаз, соответствующая резонансу пьезоэлемента по толщине, составляет величину порядка 1 МГц, в то время как частота радиального резонанса существенно ниже (поскольку диаметр дискового пьезоэлемента обычно в 8-10 раз больше толщины) и составляет 100-150 кГц. Микропроцессорный блок 13 измеряет частоту выходного сигнала фазового детектора 12, измеряет частоту выходного сигнала усилителя 10 (частоту автоколебаний в контуре канала преобразования скорости звука), вычисляет скорость звука C по формуле, вытекающей из (4): и вычисляет температуру t° в соответствии с формулой: где Микропроцессорный блок 13 по температуре вычисляет вязкость и плотность контролируемой среды, по объемному расходу и плотности рассчитывает величину массового расхода, вводит поправку на изменение вязкости и т.д. Из вышеизложенного следует, что по сравнению с устройством-прототипом заявляемое устройство обеспечивает: 1) повышение точности измерений температуры, поскольку скорость звука определяется только температурой среды, находящейся между пьезопреобразователями, и не зависит от температуры окружающего воздуха; 2) упрощение конструкции преобразователя расхода из-за отсутствия термодатчика - благодаря тому, что пьезоизлучатель и пьезоприемник используются и для детектирования вихрей и для измерения температуры контролируемой среды; 3) снижение затрат на приобретение и эксплуатацию преобразователя расхода, поскольку отпадает необходимость в отдельном термодатчике и, соответственно, в его поверке. Проведенные в АО «НПО ИТ» на расходомерном стенде УПСЖМ300, оборудованном системой нагрева воды, испытания вихреакустического преобразователя расхода с диаметром условного прохода 40 мм показали, что применение предлагаемого технического решения обеспечивает измерение расхода в диапазоне расходов от 1,5 до 40 м3/ч в диапазоне температур от 15 до 60°C с погрешностью не более ±0,2%.



- обратная функция к зависимости
скорости звука в контролируемой среде С от температуры
.