патент
№ RU 2702313
МПК F02K9/96

Стендовая установка для определения величины шарнирного момента регуляторов расхода газа

Авторы:
Лобанов Олег Александрович Домнин Кирилл Геннадьевич Тумановская Валентина Павловна
Все (4)
Номер заявки
2018146580
Дата подачи заявки
26.12.2018
Опубликовано
07.10.2019
Страна
RU
Как управлять
интеллектуальной собственностью
Чертежи 
2
Реферат

Изобретение относится к области машиностроения и направлено на совершенствование установок для стендовых испытаний регуляторов расхода газа. Предлагаемая стендовая установка для определения величины шарнирного момента регуляторов расхода газа содержит установленные в камеру сгорания заряд твердого топлива и воспламенитель, регулятор расхода с регулирующим элементом и привод, между которыми установлен датчик кинематических характеристик. Заряд твердого топлива выполнен в виде n отдельных шашек с различным содержанием металлических добавок. Число шашек с максимальным содержанием металлических добавок возрастает от 1 до n в каждой последующей камере. Камеры сгорания через отсечные клапаны соединены газоходами с перепускной камерой, которая связана с регулятором расхода. Блок управления имеет возможность последовательно включать камеры сгорания по мере увеличения в них количества шашек с максимальным содержанием металлических добавок. Изобретение позволяет повысить точность определения влияния величины шарнирного момента в регуляторах расхода газа, работающих на продуктах сгорания твердого топлива, имеющего металлические добавки. 1 з.п. ф-лы, 2 ил.

Формула изобретения

1. Стендовая установка для определения величины шарнирного момента регуляторов расхода газа, содержащая установленные в камере сгорания заряд твердого топлива и воспламенитель, регулятор расхода газа с регулирующим элементом и приводом, между которыми установлен датчик кинематических характеристик, блок управления, отличающаяся тем, что заряд твердого топлива выполнен в виде n отдельных шашек, идентичных по форме и химическому составу, но с минимальным и максимальным содержанием металлических добавок, помещенных в n камер сгорания, а число шашек в каждом заряде твердого топлива с максимальным содержанием металлических добавок возрастает от 1 до n в каждой последующей камере, причем камеры сгорания соединены газоходами через отсечные клапаны с перепускной камерой, связанной с регулятором расхода газа, а блок управления связан с каждой камерой сгорания с возможностью их последовательного включения по мере увеличения в них количества шашек с максимальным содержанием металлических добавок.

2. Стендовая установка для определения величины шарнирного момента регуляторов расхода газа по п. 1, отличающаяся тем, что регулятор расхода газа выполнен с регулирующими элементами, кратными двум.

Описание

[1]

Предлагаемое изобретение относится к области машиностроения и направлено на создание стендовой установки для испытаний регуляторов расхода газа. Одной из задач, возникающих при испытаниях регуляторов расхода, является определение величины так называемого шарнирного момента, т.е. момента, возникающего в кинематической цепи привод - регулирующий элемент, при работе регулятора. Как правило, источником рабочего тела при испытаниях регуляторов служат заряды твердого топлива, в том числе и заряды, содержащие металлические добавки, для повышения энергетических характеристик. В основном это мелкодисперсный порошок алюминия, который может составлять до 20% массы заряда (В.Е. Алемасов и др. «Теория ракетных двигателей», Москва, «Машиностроение», 1980 г., стр. 401). Металлизированные добавки осаждаются на деталях и узлах и влияют на величину шарнирного момента, т.к. препятствует движению регулирующих элементов.

[2]

Известен способ прочностных испытаний кинематической цепи привод - регулирующий элемент и регулятор расхода для его осуществления. В этом способе стендовая установка для его осуществления состоит из источника питания, соединенного с регулятором расхода, и привода, который, в свою очередь, через датчик силы соединен с регулирующим элементом (РФ патент №2397470, М. кл. G01M 15/04, 2008 г. ).

[3]

Недостаток этой установки заключается в том, что для проверки влияния на величину шарнирного момента различного процентного содержания металлических добавок в регуляторах расхода, работающих на продуктах сгорания твердого топлива, требуется проведение целого ряда испытаний. Для каждого испытания необходимо изготовление зарядов с различным процентным содержанием металлических добавок и применение нового регулятора расхода. Все это приводит к удорожанию и усложнению испытаний. Кроме того, на величину шарнирного момента влияют еще и конструктивные особенности регулятора, такие как точность изготовления деталей и узлов, входящих кинематическую цепь привод - регулирующий элемент, поэтому сложно сравнить результаты испытаний с разными регуляторами.

[4]

Задачей предполагаемого изобретения является повышение точности определения шарнирного момента в регуляторах расхода, упрощение и удешевление испытаний по определению влияния на величину шарнирного момента различного процентного содержания металлических добавок в зарядах твердого топлива.

[5]

Указанная задача решается тем, что в стендовой установке для определения величины шарнирного момента регуляторов расхода газа, содержащей установленные в камере сгорания заряд твердого топлива и воспламенитель, регулятор расхода газа с регулирующим элементом и приводом, между которыми установлен датчик кинематических характеристик, блок управления, заряд твердого топлива выполнен в виде n - числа отдельных шашек, идентичных по форме и химическому составу, но с минимальным и максимальным содержанием металлических добавок, помещенных в n - камер сгорания, а число шашек в каждом заряде твердого топлива с максимальным содержанием металлических добавок возрастает от 1 до n в каждой последующей камере, причем камеры сгорания соединены газоходами через отсечные клапана с перепускной камерой, связанной с регулятором расхода газа, а блок управления связан с каждой камерой сгорания с возможностью их последовательного включения по мере увеличения в них количества шашек с максимальным содержанием металлических добавок, при этом регулятор расхода газа выполнен с регулирующими элементами кратными двум.

[6]

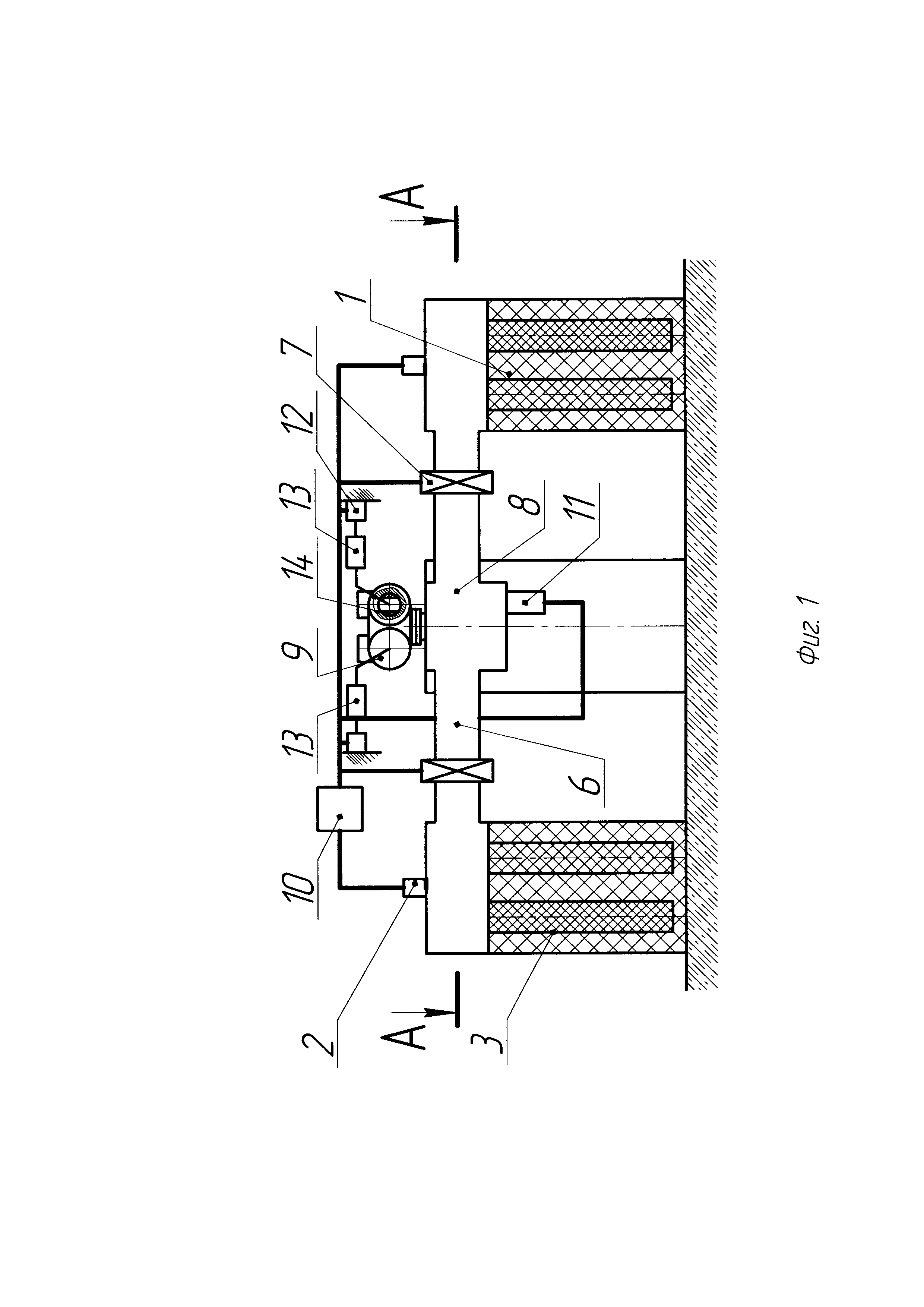
На фиг. 1 приведена конструкция стендовой установки для определения величины шарнирного момента регуляторов расхода (вид сбоку).

[7]

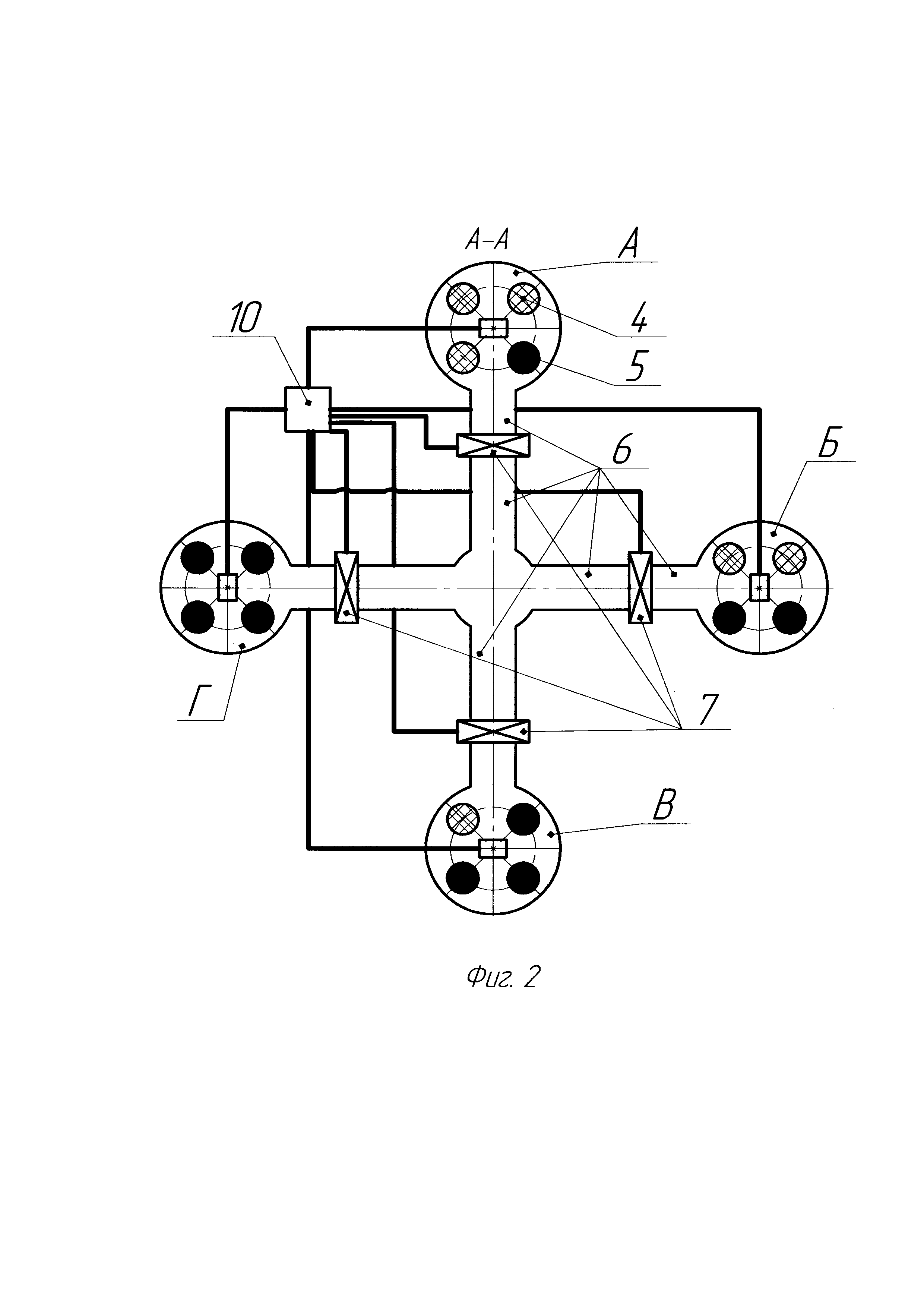
На фиг. 2 приведено сечение конструкции стендовой установки для определения величины шарнирного момента регуляторов расхода (вид сверху).

[8]

Стендовая установка для определения величины шарнирного момента регуляторов расхода (фиг. 1, 2) состоит из однотипных камер сгорания 1 с воспламенителями 2 и зарядами твердого топлива 3, выполненными в виде n - числа отдельных шашек 4 и 5, идентичными по форме и химическому составу, но с различным содержанием металлических добавок (минимальным и максимальным). Число камер сгорания 1 равно количеству n, установленных в них шашек 4 и 5. Так, например, при четырех камерах сгорания 1, в первой камере сгорания «А» заряд твердого топлива 3 выполнен из четырех шашек: трех шашек с 4 минимальным содержанием металлических добавок и одной шашки 5 с максимальным содержанием металлических добавок. В следующих камерах сгорания «Б», «В», «Г» количество шашек 4 с минимальным содержанием металлических добавок уменьшается, а количество шашек 5 с максимальным содержанием металлических добавок увеличивается. Камеры сгорания 1 соединены газоходами 6 через отсечные клапана 7 с перепускной камерой 8, связанной с регулятором расхода 9. Стендовая установка снабжена блоком управления 10, регулирующим порядок включения камер сгорания 1. В перепускной камере 8 установлен датчик давления 11. Регулятор расхода газа 9, снабжен приводом 12, который через датчик кинематических характеристик 13 соединен с регулирующим элементом 14 регулятора расхода газа 9. На представленных фигурах регулятор расхода газа 9, как вариант, выполнен с кратными двум регулирующими элементами 14.

[9]

Стендовая установка работает следующим образом. Первоначально блок управления 10 подает сигнал на отсечной клапан 7 и воспламенитель 2 камеры «А», в которой заряд выполнен из трех шашек 4 и одной шашки 5, при этом отсечные клапаны 7 камер «Б», «В», «Г» закрыты. В процессе работы камеры «А» регулирующие элементы 14 регулятора 9 перемещаются по заданной программе, а датчик 13 определяет шарнирный момент в кинематической цепи привод 12 - регулирующий элемент 14. По мере выгорания заряда в камере «А» при достижении в перепускной камере 8 давления порядка 1 атм., которое определяет датчик давления 11, подается сигнал на отсечной клапан 7 и воспламенитель 2 камеры «Б», в которой заряд выполнен из двух шашек 4 и двух шашек 5, и так далее.

[10]

Установка регулятора расхода газа 9 с кратными двум регулирующими элементами 14 позволяет при работе поддерживать постоянное давление за счет обеспечения постоянного расхода продуктов сгорания.

[11]

В установке используется регулятор расхода с кратными двум регулирующими элементами, причем программа функционирования регулятора составлена таким образом, что одна регулирующая пара находится в режиме ожидания (один канал регулятора закрыт). Это позволяет более точно определять величину шарнирного момента, за счет учета прогрева и не прогрева конструкции.

[12]

Наборная структура зарядов позволяет варьировать содержанием металлических добавок в каждом из зарядов, изменяя количественное соотношение в нем шашек, содержащих максимально и минимально металлические добавки, что позволяет сократить номенклатуру топливных составов до двух модификаций. Благодаря этому предложенное техническое решение сокращает производственные затраты на разработку, технологическое обеспечение, изготовление и отработку потребной номенклатуры зарядов.

[13]

Таким образом, как видно из вышеизложенного, стендовая установка позволяет упростить и удешевить проведение испытаний, а также повысить точность определения влияния величины шарнирного момента в регуляторах расхода газа, работающих на продуктах сгорания твердого топлива, в зависимости от различного содержания металлических добавок в них.

Как компенсировать расходы
на инновационную разработку
Похожие патенты