патент
№ RU 2630818
МПК F28D15/02

Термосифонный нагреватель с электродным подогревом электролита и интегрированным насосом

Авторы:
Болотин Евгений Михайлович Ковалев Петр Дмитриевич Захаров Сергей Витальевич
Все (4)
Номер заявки
2016146381
Дата подачи заявки
25.11.2016
Опубликовано
13.09.2017
Страна
RU
Как управлять
интеллектуальной собственностью
Чертежи 
1
Реферат

[21]

Изобретение относится к электротермическим устройствам электродного типа и предназначено для нагрева и перекачивания текучих сред. Термосифонный нагреватель с электродным подогревом электролита, содержащий герметичный корпус 1, снабженный нагнетательным и всасывающим патрубками 9, 10 с обратными клапанами 8, электроды 4 и клеммы для подвода электроэнергии. При этом термосифонный нагреватель снабжен поршнем 2, герметично разделяющим корпус на нижнюю часть 3 с раствором электролита 5 и верхнюю часть 6 с текучей средой 7, плоскопараллельными горизонтальными электродами 4, затопленными в растворе электролита 5, и теплообменником 11, выполненным в виде водяной рубашки, охватывающей нижнюю часть корпуса 1. Изобретение позволяет расширить функциональные возможности устройства для разогрева двигателей внутреннего сгорания с принудительной циркуляцией любого, в том числе неэлектропроводного теплоносителя, а также позволяет расширить функциональные возможности электрического нагревателя для систем отопления с одновременной функцией перекачивания нагреваемой среды. 1 ил.

Формула изобретения

Термосифонный нагреватель с электродным подогревом электролита и интегрированным насосом, содержащий герметичный корпус с нагнетательным и всасывающим патрубками с обратными клапанами, электроды и клеммы для подвода электроэнергии, отличающийся тем, что он снабжен поршнем, герметично разделяющим корпус на нижнюю часть с раствором электролита и верхнюю часть с текучей средой, электроды расположены один над другим параллельно друг другу, затоплены в растворе электролита, и теплообменником, выполненным в виде водяной рубашки, охватывающей нижнюю часть корпуса.

Описание

[1]

Предлагаемое изобретение решение относится к электротермическим устройствам электродного типа и предназначено для нагрева и перекачивания текучих сред.

[2]

Устройство может использоваться для предварительного разогрева двигателей внутреннего сгорания в холодный период времени и в качестве электрического котла в системах отопления с функцией перекачивания нагреваемой среды.

[3]

Известны электронагревательные устройства, которые используют для разогрева двигателей внутреннего сгорания, они принадлежат к двум группам: первая с твердым нагревательным элементом (нихромовая проволока) и вторая с жидким, в котором электропроводная жидкость разогревается переменным электрическим током. Транспортировка тепла от нагревателя к двигателю происходит за счет естественной циркуляции в контуре системы охлаждения [1-2]. Недостатком таких устройств является невозможность использования неэлектропроводных жидкостей.

[4]

Известно устройство [3] - жидкостный электронагреватель с принудительной циркуляцией, состоящий из корпуса, являющегося наружным электродом, внутреннего электрода и клемм для подвода электроэнергии.

[5]

Недостатком прототипа является то, что перекачиваемая жидкость должна быть обязательно электропроводящей.

[6]

Технической задачей изобретения является расширение функциональных возможностей устройства для разогрева двигателей внутреннего сгорания с принудительной циркуляцией любого, в том числе неэлектропроводного теплоносителя, а также электрического нагревателя для систем отопления с одновременной функцией перекачивания нагреваемой среды.

[7]

Поставленная техническая задача решается тем, что известный термосифонный нагреватель с электродным подогревом электролита, содержащий герметичный корпус, снабженный нагнетательным и всасывающим патрубками с обратными клапанами, электроды и клеммы для подвода электроэнергии, согласно изобретению, снабжен поршнем, герметично разделяющим корпус на нижнюю часть с раствором электролита и верхнюю часть с текучей средой, электроды расположены один над другим параллельно друг другу, затоплены в растворе электролита, и теплообменником, выполненным в виде водяной рубашки, охватывающей нижнюю часть корпуса.

[8]

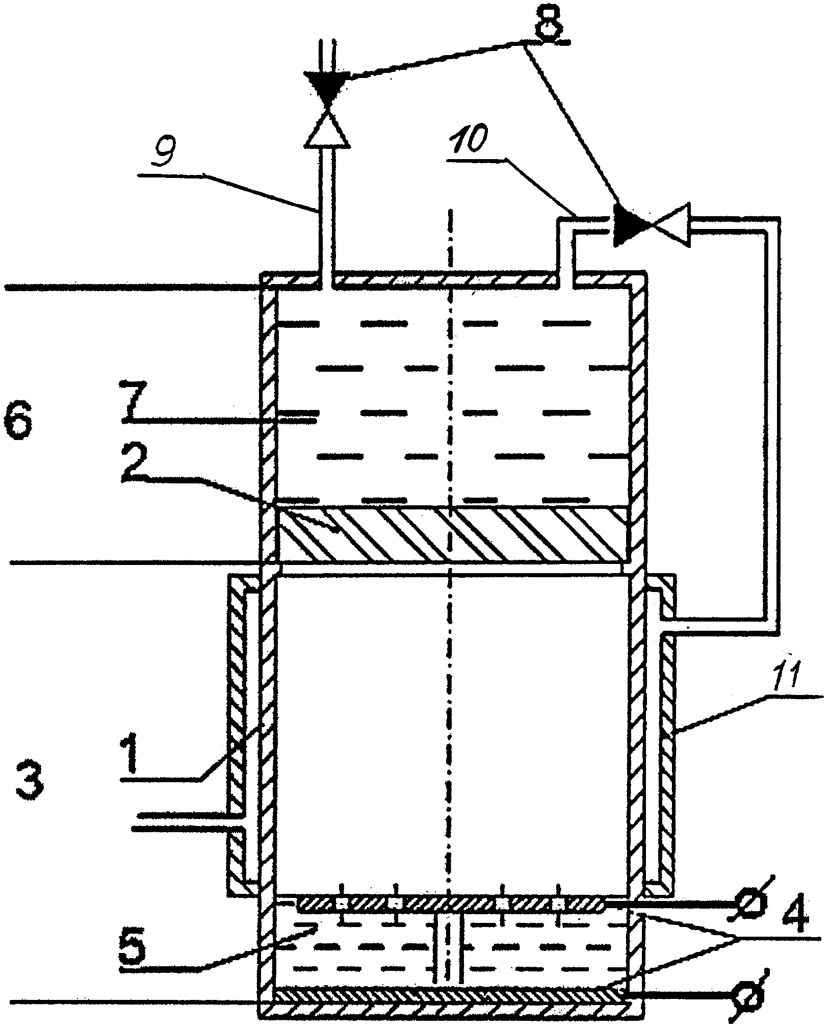
Предлагаемое устройство схематично представлено на чертеже.

[9]

На чертеже показан термосифонный нагреватель с электродным подогревом электролита и интегрированным насосом.

[10]

Термосифонный нагреватель с электродным подогревом электролита и интегрированным насосом содержит цилиндрический корпус 1, где находится поршень 2, который делит его на две части. Нижняя часть 3 корпуса 1 под поршнем содержит расположенные один над другим электроды 4, затопленные раствором электролита 5. Верхняя часть 6 над поршнем является камерой для перекачивания текучей среды 7 и снабжена обратными клапанами 8, расположенными в нагнетательном 9 и всасывающем 10 патрубках. На внешней поверхности нижней части корпуса 1 расположен теплообменник 11, выполненный в виде водяной рубашки, охватывающей нижнюю часть корпуса 1.

[11]

Работа устройства осуществляется следующим образом.

[12]

В течение первого периода работы устройства происходит электродный разогрев и вскипание электролита в зазоре между электродами 4 за счет пропускания через них переменного тока. Часть электролита превращается в пар, давление под поршнем 2 растет, поршень 2 поднимается и вытесняет текучую среду 7 из камеры 6. За счет испарения электролита 5 размыкается электрическая связь между электродами 4 и процесс нагрева электролита 5 временно прекращается.

[13]

В течение второго периода работы происходит конденсация пара электролита 5 на холодной внутренней стенке нижней части корпуса 1. Стенка охлаждается текучей средой 7, перекачиваемой в теплообменнике 11, которая при этом нагревается. Давление под поршнем 2 падает, поршень двигается вниз и подкачивает порцию нагретой в теплообменнике текучей среды в камеру 6. Образовавшийся конденсат стекает и заполняет зазор между электродами 4. Процесс нагрева и вскипания возобновляется.

[14]

Рассмотренные периоды работы обеспечивают возвратно-поступательное движение поршня 2, перекачивание текучей среды 7 и ее нагрев в теплообменнике 11.

[15]

Использование расположенных друг над другом параллельных электродов, один из которых периодически оказывается не погруженным в раствор электролита, в результате испарительно-конденсационного цикла обеспечивает нагрев и перекачивание текучей среды.

[16]

Термосифонный нагреватель с электродным подогревом электролита и интегрированным насосом с функциями нагревания и принудительной циркуляцией любого, в том числе неэлектропроводного теплоносителя позволит снизить стоимость эксплуатации, износ деталей различных устройств, повысить надежность их использования.

[17]

ЛИТЕРАТУРА

[18]

1. Г.В. Крамаренко и др. "Безгаражное хранение автомобилей при низких температурах". М., Транспорт, 1984 г., стр. 73-79.

[19]

2. Багаев А.А., Багаев А.И., Куликова Л.В. Электротехнология. Барнаул: типография «Азбука». 2006 г., с. 319.

[20]

3. Фурман М.Г. патент RU 2167331, 2001.

Как компенсировать расходы
на инновационную разработку
Похожие патенты