патент
№ RU 2651350
МПК A62B99/00

СПОСОБ ОПЕРАТИВНОЙ ДОСТАВКИ СРЕДСТВ СПАСЕНИЯ ТЕРПЯЩИМ БЕДСТВИЕ ЛЮДЯМ В УДАЛЕННЫХ РАЙОНАХ С НЕТОЧНО ИЗВЕСТНЫМИ КООРДИНАТАМИ И РАКЕТНЫЙ КОМПЛЕКС ОПЕРАТИВНОЙ ДОСТАВКИ СРЕДСТВ СПАСЕНИЯ

Авторы:
Харламов Игорь Васильевич Леонов Александр Георгиевич Матросов Андрей Викторович
Все (5)
Номер заявки
2016144530
Дата подачи заявки
14.11.2016
Опубликовано
19.04.2018
Страна
RU
Как управлять
интеллектуальной собственностью
Реферат

Изобретение относится к способам спасения людей с применением авиационных средств. Способ оперативной доставки средств спасения с использованием ракетного комплекса заключается в выборе из комплекта ракеты, оснащенной взаимозаменяемой головной частью (ГЧ). Осуществляют полет ракеты к объекту спасения, отделение ГЧ, запуск поршневого двигателя ГЧ, поиск объекта спасения, снижение ГЧ до минимально возможной высоты и зависание ее вблизи объекта спасения на заданном и расчетном расстоянии. Затем осуществляют безопасный сброс контейнеров со средствами спасения и увод ГЧ на безопасное расстояние. В ГЧ включены контейнеры, содержащие средства спасения, средства отделения и торможения головной части (ГЧ), система управления ГЧ, датчики обнаружения и аппаратура идентификации объекта спасения в области его возможного нахождения, поршневой двигатель для полета на малых высотах и система сброса контейнеров, средства связи. Обеспечивается максимально быстрая и точная доставка средств спасения. 2 н. и 15 з.п. ф-лы, 16 ил.

Формула изобретения

1. Способ оперативной доставки средств спасения терпящим бедствие людям в удаленных районах с неточно известными координатами с использованием ракетного комплекса, заключающийся в получении в командном пункте информации об объекте спасения и его примерных координатах, формировании полетного задания, содержащего точку прицеливания и параметры траектории ракеты, запуске и обеспечении полета ракеты в точку с заданными координатами, лежащую в области расположения объекта спасения, отличающийся тем, что из состава комплекта выбирают ракету, оснащенную взаимозаменяемой головной частью (ГЧ), в состав которой включены контейнеры, содержащие средства спасения, средства отделения и торможения головной части (ГЧ), система управления ГЧ, датчики обнаружения и аппаратура идентификации объекта спасения в области его возможного нахождения, поршневой двигатель для полета на малых высотах, система сброса контейнеров, средства связи, формируют полетное задание ракеты с учетом информации об объекте спасения, по достижении заданных параметров траектории в соответствии с полетным заданием осуществляют отделение ГЧ, включают тормозную систему, расположенную на основном корпусе ракеты, после чего с заданным временным интервалом включают тормозную систему ГЧ, обеспечивают стабилизированный горизонтальный полет и торможение ГЧ до заданной скорости, при достижении ГЧ заданных координат вблизи области расположения объекта спасения переводят ГЧ в вертикальное положение с использованием двигателей разворота ГЧ и тормозных щитков, стабилизируют ГЧ, отделяют тормозную систему ГЧ и сбрасывают носовой обтекатель ГЧ, обеспечивают раскрытие лопастей несущего винта на оси поршневого двигателя, осуществляют запуск поршневого двигателя несущего винта с использованием пиротехнических механизмов запуска, обеспечивают запуск электрогенератора, включают электропривод стабилизирующего винта, обеспечивают работу датчиков обнаружения объекта спасения, соединенных с аппаратурой идентификации объекта и системой управления ГЧ, осуществляют поиск объекта спасения, обеспечивают полет ГЧ к объекту спасения, снижение ГЧ до минимально возможной высоты, зависание ГЧ вблизи объекта спасения на заданном и расчетном расстоянии, безопасный сброс контейнеров со средствами спасения и увод ГЧ на безопасное расстояние.

2. Способ оперативной доставки средств спасения терпящим бедствие людям в удаленных районах с неточно известными координатами с использованием ракетного комплекса по п. 1, отличающийся тем, что при использовании контейнеров с размещенными в них надувными плотами перед приводнением контейнеров обеспечивают выброс надувных плотов из контейнеров с последующим автоматическим наддувом плотов.

3. Способ оперативной доставки средств спасения терпящим бедствие людям в удаленные районы с неточно известными координатами с использованием ракетного комплекса по п. 1, отличающийся тем, что обеспечивают отделение от ГЧ контейнеров со средствами спасения, обеспечивают полет ГЧ в режиме поиска объектов спасения, уточняют координаты объектов спасения.

4. Способ оперативной доставки средств спасения терпящим бедствие людям в удаленных районах с неточно известными координатами с использованием ракетного комплекса по п. 2, отличающийся тем, что обеспечивают корректировку движения надувных плотов к объекту спасения.

5. Способ оперативной доставки средств спасения терпящим бедствие людям в удаленных районах с неточно известными координатами с использованием ракетного комплекса по п. 3, отличающийся тем, что обеспечивают идентификацию места сброса контейнеров со средствами спасения путем включения патрона цветового дыма.

6. Способ оперативной доставки средств спасения терпящим бедствие людям в удаленных районах с неточно известными координатами с использованием ракетного комплекса по п. 3, отличающийся тем, что обеспечивают идентификацию места сброса полезной нагрузки путем включения сигнальных огней.

7. Способ оперативной доставки средств спасения терпящим бедствие людям в удаленных районах с неточно известными координатами с использованием ракетного комплекса по п. 1, отличающийся тем, что идентификацию объектов спасения и уточнение их координат производят по пассивным и/или активным опознавательным сигналам по заданному алгоритму идентификации объектов.

8. Способ оперативной доставки средств спасения терпящим бедствие людям в удаленных районах с неточно известными координатами с использованием ракетного комплекса по п. 2, отличающийся тем, что фиксируют попадание на борт надувного плота не менее одного человека, после чего направляют соответствующий сигнал на командный пункт, включают опознавательный передатчик сигналов бедствия, размещенный на плоту со спасенным человеком на борту.

9. Способ оперативной доставки средств спасения терпящим бедствие людям в удаленных районах с неточно известными координатами с использованием ракетного комплекса по п. 1, отличающийся тем, что обеспечивают отделение от ГЧ дополнительного автономного беспилотного летательного аппарата, оснащенного датчиками обнаружения объекта, системой управления, средствами навигации и связи, обеспечивают обнаружение объекта спасения.

10. Способ оперативной доставки средств спасения терпящим бедствие людям в удаленных районах с неточно известными координатами с использованием ракетного комплекса по п. 1, отличающийся тем, что в процессе полета ракеты обеспечивают работу передатчика формирования опознавательных сигналов, идентифицирующих ракету.

11. Ракетный комплекс оперативной доставки средств спасения терпящим бедствие людям в удаленных районах с неточно известными координатами, включающий командный пункт, средства приема, обработки информации и выдачи целеуказания, ракету, в которой размещены блоки бортовой аппаратуры и системы управления, отличающийся тем, что в комплект ракетного комплекса включена ракета, оснащенная взаимозаменяемой головной частью (ГЧ), в состав которой включены контейнеры, содержащие средства спасения, средства отделения и торможения ГЧ, система управления ГЧ, датчики обнаружения и аппаратура идентификации объекта спасения, поршневой двигатель для полета на малых высотах и система сброса контейнеров, средства связи, механические связи ГЧ с основным корпусом ракеты, при этом ГЧ оснащена сбрасываемым носовым обтекателем ГЧ, под которым размещена поршневая двигательная установка, на валу которой закреплен складывающийся несущий винт, пиротехнический механизм запуска поршневого двигателя и электропривод со стабилизирующим винтом, электрогенератор, соединенный с электроприводом стабилизирующего винта, при этом тормозная система ГЧ размещена на корпусе ГЧ и содержит раскрывающиеся тормозные щитки, ГЧ содержит двигатели разворота и систему стабилизации, на основном корпусе ракеты размещена тормозная система, при этом отделяемая ГЧ имеет массово-центровочные характеристики, идентичные штатной ракете.

12. Ракетный комплекс оперативной доставки средств спасения терпящим бедствие людям в удаленных районах с неточно известными координатами по п. 11, отличающийся тем, что контейнеры содержат надувные плоты с системой их автоматического наддува.

13. Ракетный комплекс оперативной доставки средств спасения терпящим бедствие людям в удаленных районах с неточно известными координатами по п. 12, отличающийся тем, что надувные плоты снабжены двигателями, системой управления, навигации и связи.

14. Ракетный комплекс оперативной доставки средств спасения терпящим бедствие людям в удаленных районах с неточно известными координатами по п. 11, отличающийся тем, что ГЧ снабжена системой опознавания объектов спасения по пассивным и/или активным опознавательным сигналам по заданному алгоритму идентификации объектов.

15. Ракетный комплекс оперативной доставки средств спасения терпящим бедствие людям в удаленных районах с неточно известными координатами по п. 12, отличающийся тем, что надувные плоты снабжены системой фиксации попадания на борт объекта спасения и опознавательным передатчиком сигналов бедствия.

16. Ракетный комплекс оперативной доставки средств спасения терпящим бедствие людям в удаленных районах с неточно известными координатами по п. 11, отличающийся тем, что ГЧ снабжена дополнительным автономным беспилотным летательным аппаратом, оснащенным датчиками обнаружения объекта, системой управления, средствами навигации и связи и механизмом его отделения от контейнера.

17. Ракетный комплекс оперативной доставки средств спасения терпящим бедствие людям в удаленных районах с неточно известными координатами по п. 11, отличающийся тем, что ракета содержит передатчик формирования опознавательных сигналов, идентифицирующих ракету.

Описание

[1]

Изобретение относится к области спасения терпящих бедствие людей и направлено, прежде всего, на осуществление спасательных операций в труднодоступных районах (отдаленных от спасательных служб), в критичных по времени ситуациях, в том числе, в удаленных районах земного шара с неточно известными координатами.

[2]

Предлагаемый способ направлен на обеспечение быстрой и точной доставки средств спасения в районы, где людям требуется немедленное оказание помощи, в том числе в районы с различными физическими и климатическими условиями (океан, тундра, пустыня, тайга, горы и т.п.), расположенные на расстоянии сотен и тысяч километров от жизненных центров. При этом координаты местонахождения людей могут быть известны с малой точностью или приближенно с точностью до района. Предлагаемое решение особенно эффективно в случаях, когда временной ресурс выживания людей существенно меньше времени подхода штатных (распространенных) транспортных средств (подлета самолета или подхода корабля).

[3]

Известна система помощи потерпевшим аварию (п. №2020986), содержащая средства передачи сигнала бедствия, космические станции приема и передачи сигнала, спасательные средства и наземные станции их управления. Спасательное средство выполнено в виде баллистической ракеты дальнего действия с возможностью оперативного переприцеливания, оснащенной управляемыми головными частями с возможностью их наведения на конечном участке полета на излучения средства передачи сигнала бедствия, снаряженные управляемыми парашютно-грузовыми системами и самодвижущимися плавсредствами, наводимыми на излучение сигнала бедствия.

[4]

Недостатками данного решения являются:

[5]

- высокая стоимость;

[6]

- специфичность транспортного средства (тяжелая баллистическая ракета) и связанные с ним сложности (политические, экономические, технические...) применения;

[7]

- доставка спасательных средств исключительно в удаленные районы;

[8]

- необходимость размещения баллистической ракеты и специалистов обслуживания комплекса спасения в безлюдных районах, что увеличивает дистанцию полета и времени доставки спасательных средств.

[9]

Есть и другие недостатки, связанные, например, с опасностью отделения средств спасения в зоне бедствия людей, возможным длительным временем между полученным сигналом о бедствии и реальным прибытием средств спасения в районы бедствия, обязательным наличием сигналов бедствия у спасаемых людей.

[10]

Известен способ спасения терпящих бедствие людей (п. №2059423), включающий прием искусственными спутниками Земли аварийного сигнала с места события, установление его географических координат станциями приема и обработки информации, передачу этих данных координационному центру и запуск по санкции центра поисково-спасательной службой летательного аппарата с полезным грузом, доставку и сброс летательным аппаратом груза с помощью парашюта на место события. В качестве летательного аппарата используют оснащенный бортовым радиоэлектронным оборудованием и парашютом беспилотный гиперзвуковой планер, запуск которого производят на ракете-носителе с предварительным вводом в систему управления ракетой полетного задания, причем по достижении ракетой в граничной точке активного участка траектории баллистических параметров, соответствующих полетному заданию, отделяют и переводят планер в режим гиперзвукового планирования, а после захвата радиолокационным оборудованием радиосигнала бедствия совершают торможение планера до звуковой скорости и высоты полета, обеспечивающих парашютирование полезного груза к месту события, и в момент времени осуществляют сброс груза, после чего с временной задержкой или по уровню уменьшения радиосигнала бедствия подают команду на выполнение планером маневра "горка", при этом, когда произойдет изменение направления вектора скорости планера на противоположное, производят задействование его парашюта. Данный планер может быть использован в качестве спасательного судна, которое направляют к месту события на радиосигнал бедствия.

[11]

Недостатками данного изобретения являются, практически, все перечисленные выше недостатки к предыдущему аналогу.

[12]

Следует учесть дополнительно, что в настоящее время создание гиперзвукового планера и обеспечение его полета является весьма сложной для реализации задачей.

[13]

Поэтому использование указанного изобретения (и вообще гиперзвукового планера) для спасательных операций практически будет невозможным в силу технических и финансовых ограничений.

[14]

Наиболее близким техническим решением, выбранным в качестве прототипа, является способ экстренной доставки средств спасения объектам спасения, попавшим в экстремальные условия и терпящим бедствие в удаленных безлюдных районах земного шара с неточно известными координатами, и аэробаллистическая система для его осуществления (п. №2076759).

[15]

В качестве средства доставки используют крылатый летательный аппарат, который размещают в головной части, присоединенной к баллистической ракете, которую запускают в направлении района бедствия и доставляют с ее помощью упомянутую головную часть в область пространства, расположенную в нижних слоях атмосферы на подходе к району бедствия на расстоянии, необходимом для ее торможения на высоте, безопасной для полета, и затем переводят ее на горизонтальную траекторию, после достижения дозвуковой скорости крылатый летательный аппарат отделяют от головной части, запускают его двигатель и направляют с дозвуковой скоростью на минимально безопасной для полета высоте в район бедствия для доразведки местоположения объектов спасения путем сравнения текущей и эталонной информации о протяженных аномалиях физических полей, создаваемых объектами спасения, или путем самонаведения на точечные излучения, создаваемые средствами подачи сигналов бедствия или самими объектами спасения.

[16]

Крылатый летательный аппарат снабжен средствами управления, двигательной установкой, блоками датчиков измерения текущих аномалий физических полей, блоком опознавания объектов спасения, а также блоком эталонной информации, блоком локализации местоположения объекта спасения и блоком принятия решения на отделение средств спасения, при этом выходы датчиков текущих аномалий и блока эталонной информации соединены с входом блока опознавания объектов спасения, а выход последнего через блок локализации местоположения объектов спасения и блок принятия решения соединен с устройством отделения средств спасения.

[17]

Недостатками данного способа являются также все перечисленные выше, в связи с необходимостью применения баллистической ракеты. К тому же данный способ не раскрывает в достаточной степени процесс торможения головной части и доставку спасательных средств непосредственно объекту спасения. Не прописана и процедура контроля доставки средств спасения, не определена процедура контроля спасения объекта. Перечисленные в совокупности недостатки изобретения не позволяют с достоверностью определить объект спасения, что при высокой дороговизне решения делает применение изобретения практически невыполнимым.

[18]

Целью предлагаемого решения является разработка такого способа средств спасения и устройства для его осуществления, который был бы лишен указанных недостатков, был не только технически применимым, но и независимым от политических разногласий.

[19]

Целью изобретения также является создание системы для оперативного оказания помощи объектам спасения (терпящим бедствие людям) в удаленных районах от жизненных центров, способной обеспечить максимально быструю и точную доставку средств спасения объектам спасения (терпящим бедствие людям) с момента принятия сигнала бедствия (или информации о факте и предполагаемых координатах места бедствия), при существенно более низких (в сравнении с аналогом) затратами и обеспечении безопасности объекта спасения при проведении спасательных операций.

[20]

Предлагаемое решение заключается в следующем.

[21]

В способе оперативной доставки средств спасения терпящим бедствие людям в удаленных районах с неточно известными координатами с использованием ракетного комплекса, заключающимся в получении на командном пункте информации об объекте спасения и его примерных координатах, формировании полетного задания, содержащего точку прицеливания и параметры траектории ракеты, запуске и обеспечении полета ракеты в точку с заданными координатами, лежащую в области расположения объекта спасения, введены следующие отличия.

[22]

Из состава комплекта выбирают ракету, оснащенную взаимозаменяемой головной частью (ГЧ), в состав которой включены контейнеры, содержащие средства спасения, средства отделения и торможения головной части (ГЧ), система управления ГЧ, датчики обнаружения и аппаратура идентификации объекта спасения в области его возможного нахождения, поршневой двигатель для полета на малых высотах, система сброса контейнеров, средства связи, формируют полетное задание ракеты с учетом информации об объекте спасения, по достижении заданных параметров траектории в соответствии с полетным заданием осуществляют отделение ГЧ, включают тормозную систему, расположенную на основном корпусе ракеты, после чего с заданным временным интервалом включают тормозную систему ГЧ, обеспечивают стабилизированный горизонтальный полет и торможение ГЧ до заданной скорости, при достижении ГЧ заданных координат вблизи области расположения объекта спасения переводят ГЧ в вертикальное положение с использованием двигателей разворота ГЧ и тормозных щитков, стабилизируют ГЧ, отделяют тормозную систему ГЧ и сбрасывают носовой обтекатель ГЧ, обеспечивают раскрытие лопастей несущего винта на оси поршневого двигателя, осуществляют запуск поршневого двигателя несущего винта с использованием пиротехнических механизмов запуска, обеспечивают запуск электрогенератора, включают электропривод стабилизирующего винта, обеспечивают работу датчиков обнаружения объекта спасения, соединенных с аппаратурой идентификации объекта и системой управления ГЧ, осуществляют поиск объекта спасения, обеспечивают полет ГЧ к объекту спасения, снижение ГЧ до минимально возможной (по заданному алгоритму) высоты, зависание ГЧ вблизи объекта спасения на заданном и расчетном (коррекция по новым исходным данным) расстоянии, безопасный сброс контейнеров со средствами спасения и увод ГЧ на безопасное расстояние.

[23]

Дополнительно в предлагаемом решении может быть введено следующее.

[24]

В способе оперативной доставки средств спасения терпящим бедствие людям в удаленных районах с неточно известными координатами с использованием ракетного комплекса:

[25]

- при использовании контейнеров с размещенными в них надувными плотами перед приводнением контейнеров обеспечивают выброс надувных плотов из контейнеров с последующим автоматическим наддувом плотов;

[26]

- обеспечивают отделение от ГЧ контейнеров со средствами спасения, обеспечивают полет ГЧ в режиме поиска объектов спасения, уточняют координаты объектов спасения;

[27]

- обеспечивают корректировку движения надувных плотов к объекту спасения;

[28]

- обеспечивают идентификацию места сброса контейнеров со средствами спасения путем включения патрона цветового дыма;

[29]

- обеспечивают идентификацию места сброса контейнеров со средствами спасения путем включения сигнальных огней;

[30]

- идентификацию объектов спасения и уточнение их координат производят по пассивным и/или активным опознавательным сигналам по заданному алгоритму идентификации объектов;

[31]

- фиксируют попадание на борт надувного плота не менее одного человека, после чего направляют соответствующий сигнал на командный пункт, включают опознавательный передатчик сигналов бедствия, размещенный на плоте со спасенным человеком на борту;

[32]

- обеспечивают отделение от ГЧ дополнительного автономного беспилотного летательного аппарата, оснащенного датчиками обнаружения объекта, системой управления, средствами навигации и связи, обеспечивают обнаружение объекта спасения;

[33]

- в процессе полета ракеты обеспечивают работу передатчика формирования опознавательных сигналов, идентифицирующих ракету.

[34]

Для осуществления предлагаемого способа оперативной доставки средств спасения терпящим бедствие людям в удаленных районах с неточно известными координатами с использованием ракетного комплекса предлагается ракетный комплекс оперативной доставки средств спасения терпящим бедствие людям в удаленных районах с неточно известными координатами, включающий командный пункт, средства приема, обработки информации и выдачи целеуказания, ракету, в которой размещены блоки бортовой аппаратуры и системы управления, в котором введены следующие отличия.

[35]

В комплект ракетного комплекса включена ракета, оснащенная взаимозаменяемой головной частью (ГЧ), в состав которой включены контейнеры, содержащие средства спасения, средства отделения и торможения ГЧ, система управления ГЧ, датчики обнаружения и аппаратура идентификации объекта спасения, поршневой двигатель для полета на малых высотах и система сброса контейнеров, средства связи, механические связи ГЧ с основным корпусом ракеты, при этом ГЧ оснащена сбрасываемым носовым обтекателем ГЧ, под которым размещена поршневая двигательная установка, на валу которой закреплен складывающийся несущий винт, пиротехнический механизм запуска поршневого двигателя и электропривод со стабилизирующим винтом, электрогенератор, соединенный с электроприводом стабилизирующего винта, при этом тормозная система ГЧ размещена на корпусе ГЧ и содержит раскрывающиеся тормозные щитки, ГЧ содержит двигатели разворота и систему стабилизации, на основном корпусе ракеты размещена тормозная система, при этом отделяемая ГЧ имеет массово-центровочные характеристики, идентичные штатной ракете.

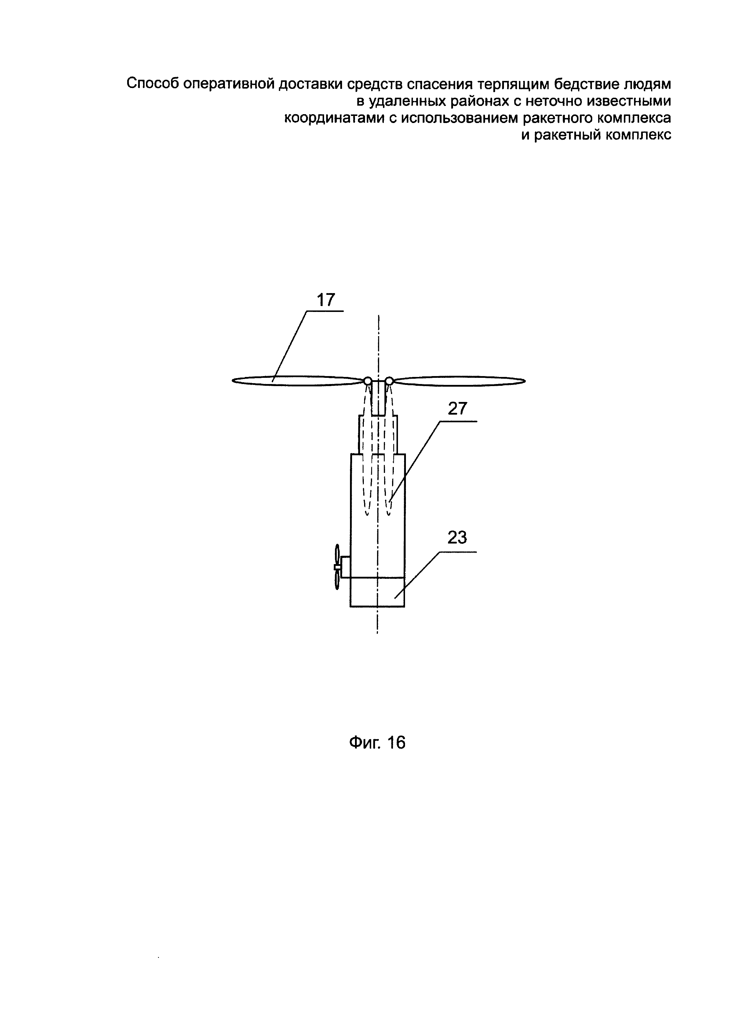
[36]

В ракетном комплексе оперативной доставки средств спасения терпящим бедствие людям в удаленных районах с неточно известными координатами может быть дополнительно использовано следующее.

[37]

В ракетном комплексе оперативной доставки средств спасения терпящим бедствие людям в удаленных районах с неточно известными координатами:

[38]

- контейнеры содержат надувные плоты с системой их автоматического наддува;

[39]

- надувные плоты снабжены двигателями, системой управления, навигации и связи;

[40]

- ГЧ снабжена системой опознавания объектов спасения по пассивным и/или активным опознавательным сигналам по заданному алгоритму идентификации объектов;

[41]

- надувные плоты снабжены системой фиксации попадания на борт объекта спасения и опознавательным передатчиком сигналов бедствия;

[42]

ГЧ снабжена дополнительным автономным беспилотным летательным аппаратом оснащенным датчиками обнаружения объекта, системой управления, средствами навигации и связи, и механизмом его отделения от контейнера;

[43]

- ракета содержит передатчик формирования опознавательных сигналов, идентифицирующих ракету.

[44]

Для лучшего раскрытия решения его применение будет изложено на примере крылатой ракеты (КР).

[45]

Основные стадии реализации предлагаемого решения представлены на графических материалах, где на фигурах 1-15 изображено следующее.

[46]

Фиг. 1 Прием сигнала бедствия, формирование целеуказания,

[47]

подготовка и выдача полетного задания (ПЗ).

[48]

Фиг. 2 Получение ПЗ и ввод ПЗ в КР, выдача команды на носитель КР с последующим стартом КР.

[49]

Фиг. 3 Выход на маршевый полет КР.

[50]

Фиг. 4 Выход КР в зону поиска объекта спасения.

[51]

Фиг. 5 Отделение головной части от маршевой ступени, открытие тормозных щитков маршевой ступени.

[52]

Фиг. 6 Увод маршевой ступени и прекращение ее полета вследствие торможения. Раскрытие тормозных щитков ГЧ. Торможение ГЧ.

[53]

Фиг. 7 Изменение траектории ГЧ из горизонтальной в вертикальную.

[54]

Фиг. 8 Раскрытие обтекателя ГЧ по образующей и освобождение беспилотного летательного аппарата (БЛА) с несущим винтом.

[55]

Фиг. 9 Раскрытие складываемых лопастей несущего винта, запуск маршевого двигателя БЛА с приводом электрогенератора и барражирование в режиме обнаружения объекта спасения.

[56]

Фиг. 10 Сброс контейнеров со средствами спасения при зависании БЛА над объектом.

[57]

Фиг. 11 Подтверждение получения спасательных средств объектом спасения. Наблюдение за объектом спасения и передача данных в командный пункт. Осуществление дальнейшей координации спасательной операции и поиска иных объектов.

[58]

Фиг. 12 Уход БЛА на безопасное расстояние от объекта спасения и

[59]

прекращение полета.

[60]

Фиг. 13 Общий вид КР.

[61]

Фиг. 14 Головная часть в сборе.

[62]

Фиг. 15 Головная часть в момент отделения обтекателя и двигателя ориентации.

[63]

Фиг. 16 Головная часть в виде БЛА.

[64]

На представленных чертежах позициями обозначены следующие элементы решения:

[65]

1 - командный пункт,

[66]

2 - носитель спасательной КР,

[67]

3 - спасательная КР,

[68]

4 - спасательная КР на маршевом участке полета,

[69]

5 - исследуемый участок зоны поиска,

[70]

6 - основной корпус спасательной КР,

[71]

7 - тормозные щитки основного корпуса спасательной КР,

[72]

8 - отделяемая головная часть (ГЧ),

[73]

9 - тормозные щитки ГЧ,

[74]

10 - сопло двигателя разворота ГЧ,

[75]

11 - сопло разгонного ракетного двигателя твердого топлива (РДТТ),

[76]

12 - сопло маршевого реактивного двигателя,

[77]

13 - управляющие поверхности,

[78]

14 – пирошнур,

[79]

15 - механизм поворота тормозных щитков,

[80]

16 - разделяющиеся по образующей и сбрасываемые части обтекателя головной части спасательной КР,

[81]

17 - несущий винт вертолетного вида, раскрывающийся в полете после сброса обтекателей головной части спасательной КР,

[82]

18 - поршневой двигатель внутреннего сгорания (ДВС) с пороховым пиростартером, топливным баком, системой управления, электрогенератором,

[83]

19 - стабилизирующий винт,

[84]

20 - средства связи,

[85]

21 - датчики обнаружения объекта спасения,

[86]

22 - объект спасения (терпящие бедствие люди),

[87]

23 - сбрасываемый контейнер со средствами спасения,

[88]

24 - надувной спасательный плот,

[89]

25 - ГЧ в виде БЛА,

[90]

26 - двигатель разворота ГЧ,

[91]

27 - сложенные несущие лопасти винта.

[92]

Предлагаемое решение реализуется следующим образом.

[93]

После получения в командном пункте (1) информации о факте бедствия, предполагаемых координатах и возможных обстоятельствах бедствия принимается решение об использовании ракетного комплекса для оказания помощи. Для этого запрашивается и анализируется, в том числе и дополнительная информация, типа: вид транспортного средства, потерпевшего катастрофу, количество людей, наличие связи с потерпевшими, возможности (невозможности) направить штатное транспортное средство (корабль, самолет, вертолет, автотранспорт…) и время его прибытия или оказать помощь традиционными средствами, а также иные необходимые сведения. Обязательным является учет климатических и погодных условий, тип местности (вода: море, озеро, океан; земля: лесной массив, горы, пустыня и др.).

[94]

Важным критерием для принятия решения об использовании спасательной ракеты является критичность временных условий. В случае, если потерпевшие бедствие люди оказались в ледяной воде, вообще в воде без достаточного наличия спасательных средств, подвергаются угрозе местной фауны, непогоде (шторм на море) или другим неблагоприятным факторам, то основание для использования спасательной ракеты будет достаточным.

[95]

После принятия решения об использовании ракетного комплекса для спасения потерпевших бедствие людей (объекта спасения) (22) для проведения спасательной операции выбирается конкретный носитель (2) спасательной КР (по принципу наименьшего расстояния и возможности пролететь спасательной КР (3) над территорией от носителя до места бедствия), формируется полетное задание для спасательной КР (3). Полетное задание формируется с учетом перечисленных выше условий и обстоятельств имеющего факт бедствия, а также сведений об объекте спасения (22). Так как координаты места бедствия предполагаются быть неточными, а место реального нахождения объекта спасения (22) может изменяться со временем, то в полетное задание будут введены координаты конечной цели полета спасательной КР (3) вблизи области нахождения объекта спасения, которые рассчитываются с учетом совершаемой траектории спасательной КР и выполняемого маневра отделения ГЧ.

[96]

В первую очередь предлагаемое решение планирует использовать не новый ракетный комплекс, разработанный специально для спасательных операций (это слишком дорого, нерационально, неэффективно), а задействовать штатные средства, находящиеся в эксплуатации в силовых ведомствах, в том числе, стоящих на дежурстве кораблей боевого охранения, самолетов, наземных береговых комплексов, метеорологических комплексов и иных средств, дооснащенных спасательными ракетами.

[97]

С учетом реального и повседневного рассредоточения постоянно действующей техники ее применение представляется рациональным и оправданным.

[98]

Спасательная КР (3) также не является принципиально новой по отношению к существующим образцам техники, а является штатной серийно выпускаемой ракетой, доработанной (переработанной) специально для целей проведения спасательных операций. Например, при минимальной доработке основного «корпуса» спасательной КР (6) (для простоты изложения в понятие «корпус» спасательной КР (в состав корпуса спасательной КР) включены вместе с оболочкой КР все компоненты КР, расположенные под соответствующей оболочкой КР, такие как маршевый двигатель, разгонный двигатель (до его отделения), органы управления КР, и другие компоненты) разрабатывается только взаимозаменяемая головная часть КР, выполняемая с идентичными массово-центровочными характеристиками штатной КР.

[99]

Спасательная КР (3) формируется установкой взаимозаменяемой ГЧ (8) на основной корпус КР (6). Сохранение высокой степени преемственности готовой спасательной КР позволяет ускорить получение нового научно-технического результата с минимизацией затрат.

[100]

При принятии решения об использовании спасательной КР уточняется ее наличие в составе ракетного комплекса, анализируются характеристики спасательной КР, комплектация спасательных средств и аппаратуры, после чего производится подготовка для ее применения.

[101]

Осуществляется старт спасательной КР (3), разгон до расчетной скорости, отделение разгонного двигателя (на фигурах показано сопло (11) разгонного ракетного двигателя твердого топлива (РДТТ)) и выход спасательной КР (3) на маршевый участок полета (4), обеспечиваемого маршевым реактивным двигателем (показано сопло (12) маршевого реактивного двигателя). При наличии технических средств на маршевом участке может проводиться (по участкам (5) в соответствии с траекторией полета) поиск объекта спасения, корректировка полета спасательной КР или уточнение координат спасательной КР.

[102]

Наведение спасательной КР (3) на цель может производиться с помощью аппаратуры спутниковой навигации с учетом данных инерциальной навигационной системы КР.

[103]

При достижении спасательной КР (3) заданных координат производится отделение головной части (8) спасательной КР (с разрывом механических связей), после чего раскрываются тормозные щитки (7) основного корпуса спасательной КР (6). В силу увеличенного аэродинамического сопротивления скорость корпуса спасательной КР резко снижается, вследствие чего обеспечивается увод корпуса спасательной КР с траектории полета и прекращение ее полета на безопасном расстоянии от объекта спасения (22).

[104]

Головная часть (8) продолжает полет заданное время, после чего раскрываются тормозные щитки (9) головной части (ГЧ) с помощью механизма поворота тормозных щитков (15). Скорость ГЧ существенно снижается.

[105]

При снижении скорости ГЧ до заданной величины посредством работы двигателя разворота (26) ГЧ (показано сопло (10) двигателя, конструктивно предполагаемое с изменяемым вектором тяги), ГЧ переводится из горизонтального положения в вертикальное, причем носовая часть (в данном примере) должна быть сориентирована вертикально вверх. Для разворота ГЧ могут быть задействованы тормозные щитки (9) ГЧ, которые в данном случае будут выполнять роль рулевых поверхностей. Ответственным и сложным участком в реализации способа является обеспечение стабилизации полета ГЧ в вертикальном положении. Для стабилизации ГЧ в вертикальном положении используются тормозные щитки (9) ГЧ.

[106]

После разворота и стабилизации ГЧ от нее отделяются части (створки) обтекателя ГЧ (16) с тормозными щитками (9) и двигатель разворота ГЧ (26). Для отделения обтекателя может быть применен пирошнур (14), расположенный по образующей обтекателя. Подрыв пирошнура (14) обеспечивает разделение обтекателя на отдельные компоненты (части, створки).

[107]

(Данный способ был неоднократно применен для сброса обтекателя в области средств ракетно-космической техники, является отработанным, поэтому может быть рекомендован).

[108]

После сброса компонентов обтекателя и тормозной системы (двигатель разворота ГЧ (26), тормозные щитки (9) основного корпуса спасательной КР) подается команда на раскрытие несущего винта вертолетного вида (17) и запуск поршневого двигателя внутреннего сгорания (18).

[109]

Раскрытие сложенных поверхностей производится механически, что многократно успешно реализовано в ракетно-космической техники при раскрытии рулевых поверхностей, антенн или солнечных батарей.

[110]

На фигурах (8, 9) схематично показан поршневой двигатель внутреннего сгорания (ДВС) с пороховым пиростартером, топливным баком, системой управления и электрогенератором. Использование химических элементов тока для запуска двигателя - технически решенная задача. С учетом длительного хранения спасательной КР и обеспечения гарантированного запуска ДВС использование, например, порохового пиростартера вполне оправдано.

[111]

Электрогенератор необходим для поддержания работоспособности бортовой аппаратуры и системы связи, а также для запуска электродвигателя (электропривода) стабилизирующего винта (19). ГЧ, таким образом, превращается в беспилотный (25) летательный аппарат (БЛА).

[112]

Включают бортовую систему БЛА, обеспечивают работу датчиков обнаружения объекта спасения (21), соединенных с аппаратурой идентификации объекта спасения и системой управления ГЧ, осуществляют поиск объекта спасения (22). Датчики показаны схематично.

[113]

Предполагается использование датчиков (21) на различных физических принципах. Важным условием достоверного обнаружения объекта спасения является выработка корректного алгоритма обработки данных, получаемых бортовой аппаратурой от датчиков.

[114]

Выбор датчиков определяется возможностью объекта спасения (22) обнаружить себя (выделить из окружающей среды) в конкретных обстоятельствах и техническими возможностями зафиксировать и корректно обработать полученные сигналы.

[115]

В качестве самообнаружения объектом спасения (22) может быть применен любой способ формирования отличительных признаков в окружающей среде. Например, мобильный телефон может быть использован как источник радиосигнала, зеркало - для изменения светового потока, свисток - для формирования звуковых волн и др. При адекватных погодных условиях все эти отличительные признаки могут быть зафиксированы и корректно обработаны.

[116]

Современный уровень развития техники позволяет фиксировать разницу температуры между окружающей средой и человеком, т.е. возможно применение (в том числе) в качестве датчиков измерения теплоты (температуры) инфракрасных координаторов на основе инфракрасной матрицы или иных датчиков тепла.

[117]

Измерение радио- и звуковых волн, а также пеленгация источника волн - также не является проблемой современности.

[118]

Определение цвета, нехарактерного для окружающей среды, - также решенная задача.

[119]

Наличие устойчивой связи (схематично средства связи показаны позицией (20)) между БЛА и командным пунктом (или носителем спасательной КР) может позволить использование видеокамеры, т.е. проводить наблюдение и обеспечивать управление спасательной операцией в режиме реального времени.

[120]

В случае обнаружения (с последующей идентификацией) объекта спасения (22), БЛА (25) направляется к нему. В зависимости от условий проведения спасательной операции (местности, погодных условий и др.) БЛА (25) снижается до заданной или расчетной (скорректированной по новым исходным данным) высоты, зависает от объекта спасения на заданном и расчетном (скорректированным по новым исходным данным) расстоянии и осуществляет таким образом безопасный сброс контейнеров со средствами спасения (23).

[121]

Сбрасываемые контейнеры со средствами спасения (23), расположенные в ГЧ (8) спасательной КР (3), могут содержать следующие средства спасения: надувные спасательные плоты (24), оснащенные автоматическим наддувом, двигателями, системой управления, навигации, связи, фиксацией попадания на борт объекта спасения (22), опознавательными передатчиками сигналов бедствия, а также иные средства жизнеобеспечения (медикаменты, еда, теплые вещи, палатки и т.д), комплектуемые заранее, исходя из предположений места применения спасательной КР (3).

[122]

Заданная высота и расстояние определяются алгоритмом полета по заранее известным исходным данным. Например, нахождение объекта спасения (22) на суше или в воде меняют алгоритм поиска и идентификации объекта, а также параметры высоты полета. Дальнейшее уточнение условий - наличие степной, лесной или горной местности, дает возможность уточнять исходные данные для формирования полетного задания БЛА (25). Погодные условия вносят дополнительные коррективы в параметры полета. Например, шторм на море или скорость ветра должны быть учтены не только для обеспечения полета БЛА (25), но и для безопасного сброса контейнера со средствами спасения (23).

[123]

После отделения контейнеров со средствами спасения (23) БЛА (25) уводится на безопасное для объекта спасения расстояние.

[124]

У предлагаемого решения возможны вариации, зависящие от исходных данных и меняющихся обстоятельств.

[125]

После сброса контейнеров со средствами спасения (23) БЛА (25) может (по заданному алгоритму) координировать проведение спасательной операции, т.е. следовать за объектом спасения, уточнять его меняющиеся координаты и сообщать о них в командный пункт, участникам спасательной операции или иным лицам (например, на море - всем находящимся поблизости судам).

[126]

В случае если БЛА (25) не удается обнаружить объект спасения (терпящих бедствие людей) в заданный интервал времени, то БЛА (25) производит отделение контейнеров со средствами спасения в наиболее вероятном месте нахождения объекта спасения (рассчитывается по исходным данным) и осуществляет поиск объекта спасения по заданному алгоритму (облет зоны нахождения объекта или полет по заданным траекториям). Это позволит сэкономить топливо БЛА (25) и увеличить его скорость полета (т.е. увеличить зону поиска и общее полетное время поиска при сокращении времени обнаружения объекта спасения).

[127]

Место отделения контейнеров может быть обозначено, например, патроном цветового дыма или сигнальными огнями (или иным образом), что может позволить их обнаружить объекту спасения и (при возможности) добраться до них самостоятельно.

[128]

В случае если спасательная операция проводится на воде, то в качестве средств спасения сбрасывается (в том числе) надувной спасательный плот (24) с автоматическим его наддувом.

[129]

При обнаружении объекта спасения (22) в облегченном режиме полета БЛА (25) уже после сброса спасательных плотов их движение может быть скорректировано и управляемо дистанционно. Для этого плоты могут комплектоваться электродвигателями хода и химическим источником электрического тока, а также средствами управления и навигации. Это технически решенная задача.

[130]

В случае попадания на борт плота объекта спасения (человека), факт попадания на борт может быть зафиксирован и передан от плота к БЛА.

[131]

Соответственно, БЛА автоматически направит сообщение о спасении человека в командный пункт или на носитель КР, или ретранслятор. На плоту при этом может быть включен передатчик опознавательных сигналов («SOS»), что должно быть предусмотрено комплектацией.

[132]

Включение передатчика опознавательных сигналов существенно сократит время поиска объекта спасения по прибытии к месту поиска штатных спасательных средств или иного транспорта (в т.ч. корабля).

[133]

Существенно важным является обеспечение безопасного полета КР к цели и избежание напряжений в международных отношениях. Для исключения военного или политического конфликта необходимо снабдить КР передатчиком опознавательных сигналов, идентифицирующих КР как спасательную.

[134]

Практическая реализация существенных признаков предлагаемого решения, отличающих его от известных изобретений, позволяет существенно сократить полный период времени от начала подачи сигнала бедствия в командный пункт до прибытия первой помощи на место происшествия за счет использования готовой инфраструктуры, в том числе наличие готовых наземных или корабельных пусковых установок.

[135]

Предлагаемое решение, основанное на максимально возможном использовании готовых элементов существующих ракетных комплексов, обеспечивает высокую степень его реализации с наименьшими затратами, а главное, позволяет повысить эффективность оказания необходимой помощи объектам спасения, оказавшимся в труднодоступных районах земного шара.

[136]

Использование готовой КР и приведенной в описании взаимозаменяемой головной части для создания спасательной ракеты позволяет при более низких затратах в конечном итоге обеспечить спасение терпящих бедствие людей и сократить количество жертв.

Как компенсировать расходы
на инновационную разработку
Похожие патенты