патент
№ RU 2685074
МПК G01N3/18

Установка для испытания механических свойств диэлектрических материалов при повышенной температуре

Авторы:
Смирнов Валерий Алексеевич Виноградов Алексей Владимирович Киселева Алла Юрьевна
Все (4)
Номер заявки
2018103157
Дата подачи заявки
29.01.2018
Опубликовано
16.04.2019
Страна
RU
Как управлять
интеллектуальной собственностью
Чертежи 
1
Реферат

Изобретение относится к области испытания материалов при повышенной температуре в условиях индукционного нагрева в протоке инертного газа. Представленная в заявке установка для испытания механических свойств материалов стандартная, имеет камеру, в которой установлен ВЧ-индуктор с цилиндром внутри него. Нагреваясь, этот цилиндр передает тепло объекту (образцу) из диэлектрика. В случае невозможности использования пирометра в данной конструкции, мы предлагаем контроль и регулирование температуры проводить с помощью термопары ТВР (А-1), подключенной к индукционному генератору через измеритель-регулятор ТРМ202 фирмы ОВЕН через интерфейс «токовая петля 4-20 мА». Для исключения индукционных наводок и получения достоверных значений температуры термопара должна подводится к рабочему образцу через витки индуктора под углом 90° к центральной оси. Технический результат – повышение информативности и достоверности получаемых данных. 1 ил.

Формула изобретения

Установка для испытания диэлектрических материалов, содержащая ВЧ-индуктор, промежуточные токопроводящие элементы, верхнюю и нижнюю тяги с захватами, а также контрольную и регистрирующую аппаратуру, отличающаяся тем, что между индуктором и рабочим образцом соосно относительно тяг размещен цилиндр из токопроводящего материала, закрепленный на подставке с термопарой внутри нее, установленной на днище герметичной камеры, при этом высота цилиндра и высота индуктора выбираются такими, чтобы обеспечить постоянную температуру на рабочей части образца в процессе его деформирования.

Описание

[1]

Изобретение относится к области испытания материалов при повышенной температуре.

[2]

Предлагаемая установка позволяет определять механические свойства диэлектрических материалов при температуре до 1600°С и скорости нагрева до 100°С в секунду.

[3]

Известно устройство для определения предела прочности при растяжении диэлектрического материала при индукционном нагреве.

[4]

Авторы в нем предлагают разместить прямо на рабочем образце металлические элементы, выполненные по профилю рабочей части образца и установить все это в центре высокочастотного (ВЧ) индуктора, где металлические элементы, нагреваясь, передают тепло на образец ( патент РФ 2538419).

[5]

К недостаткам этого устройства (способа нагрева) относится то, что необходимо иметь для каждого типа образцов (материалов) новые металлические элементы (накладки), которые должны плотно (одинаково «плотно») прилегать к образцу по всей его поверхности, на всей его рабочей длине, чтобы в соответствии с требованиями ГОСТ 14359-69 обеспечить одинаковую, стабильную температуру на всей расчетной длине образца.

[6]

Думается, что температура от такого нагрева будет распределяться по образцу неравномерно.

[7]

Мы предлагаем другое решение.

[8]

Задачей предлагаемого изобретения является создание установки для испытания механических свойств диэлектрических материалов при повышенных температурах, позволяющей обеспечить температуру до 1600°С и скорость нагрева до 100°С в секунду с использованием самого эффективного и быстрого способа нагрева - индукционного.

[9]

Поставленная задача решается следующим образом.

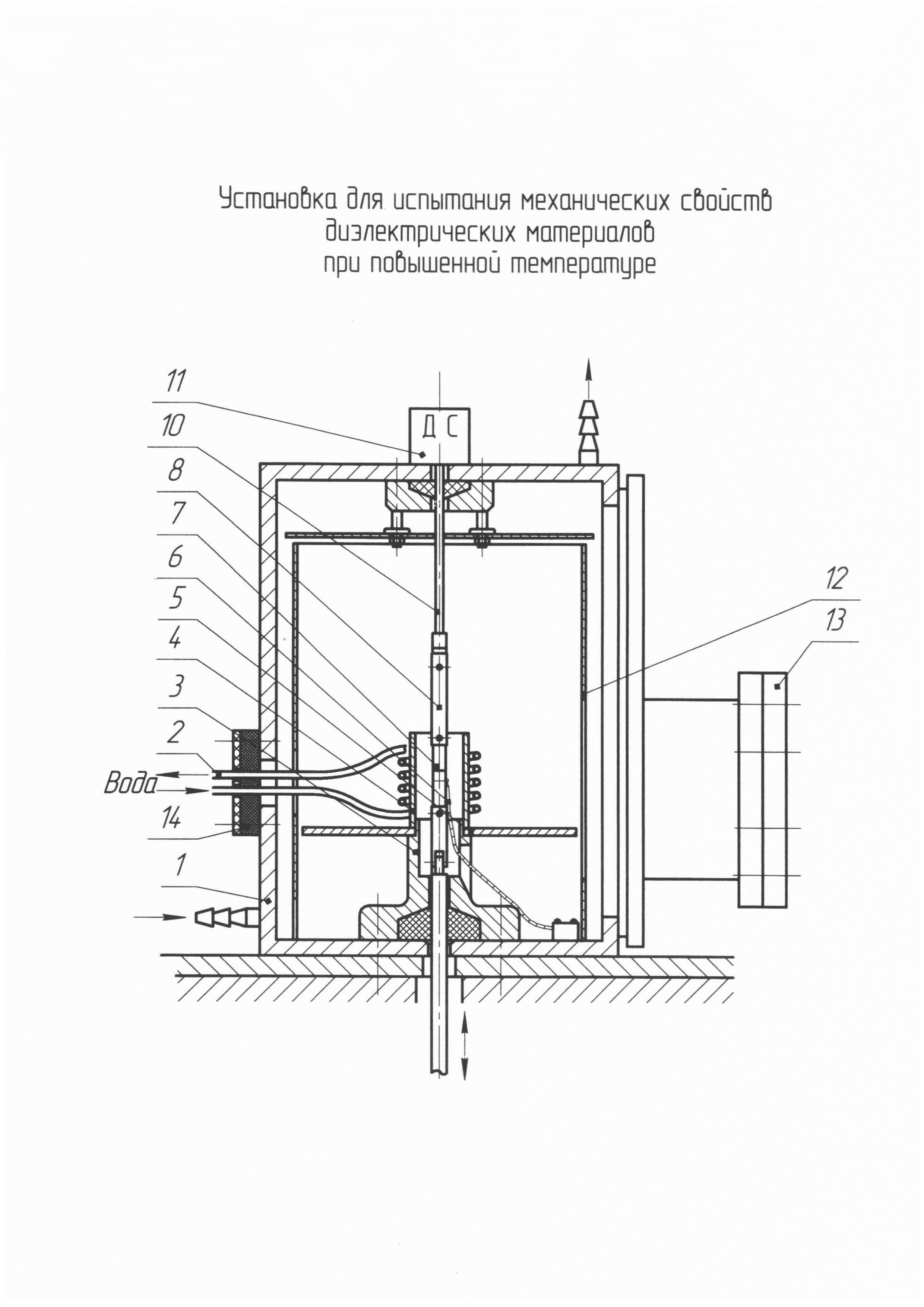
[10]

На установку (см. чертеж) для испытания механических свойств материалов установлена герметичная камера 1 и по центру ее на высоты размещен ВЧ индуктор 2, внутри которого на подставке 3 установлен цилиндр 4 из токопроводящего материала, между ними помещен экран 5 для защиты термопары 6 от ВЧ излучения.

[11]

Рабочий образец 7, удерживаемый верхним 8 и нижним 9 захватами, помещен в центре цилиндра 4.

[12]

Верхний захват 8 подсоединен к тяге 10 датчика силы 11, а нижний захват 9 к механизму перемещения (нагружение).

[13]

Камера 1 имеет теплозащитный экран 12 из стали 12Х18Н10Т толщиной 1 мм с передней съемной стенкой и смотровое окно 13.

[14]

Индуктор 2 закреплен в уплотнении 14 (10 мм вакуумная резина, поджатая 5 мм текстолитовой пластиной). Важно помнить - электрические потери в индукторе связаны с расстоянием между вводами - они должны быть минимальными.

[15]

Показанные на рисунке уплотнения тяг - это полости набитые кварцевой нитью типа КС-11 или К11С6-180.

[16]

В камере имеются два штуцера для входа и выхода инертного газа.

[17]

Работа на установке проводится следующим образом.

[18]

Открывается камера 1, из нее достаем верхний 8 и нижний 9 захваты и в них устанавливаем рабочий образец 7, на котором предварительно установлена (примотана) термопара 6. Собранную таким образом «гирляду» опускаем в цилиндр 4 и закрепляем (штифтуем) захватами на верхней 10 и нижней тягах. После чего, собранную силовую цепочку, подтягиваем вручную, чтобы убедиться в том, что рабочий образец 7 установлен в центре цилиндра 4, а это необходимо для равномерного прогрева образца.

[19]

Камеру закрываем, заполняем ее аргоном, включаем ВЧ аппаратуру.

[20]

На блоке инвертора выбираем необходимую программу испытания, устанавливаем на ней все необходимые параметры по температуре, по времени, по скорости нагрева и после сообщения на табло «программа принята», включаем «пуск». Работает механизм нагружения и вся регистрирующая и контрольная аппаратура. Образец испытан и через 10-15 минут его вынимаем из камеры.

[21]

Быстрый нагрев, ограниченный прогреваемый объем, водоохлаждаемый индуктор (через чиллер) и продув камеры аргоном - все это быстро охлаждает камеру и с ее открытием - процесс испытания окончен.

Как компенсировать расходы
на инновационную разработку
Похожие патенты