Изобретение относится к области вооружения и может быть использовано для компенсации отклонения вертолета относительно его центра масс при стрельбе. Устройство повышения кучности включает газоотвод с входным и выходным патрубками, установленный на хвостовой части вертолета и соединенный газодинамической связью с экранно-выхлопным устройством двигательной установки вертолета, клапаны с электроприводами, установленные на воздухозаборном устройстве экранно-выхлопного устройства, в выхлопном устройстве экранно-выхлопного устройства и в выходном патрубке газоотвода, и управляемые через электронный блок управления. Одна из поверхностей газоотвода образована поверхностью хвостовой части вертолета. Выходной патрубок газоотвода выполнен вращающимся для регулирования направления вектора реактивной тяги. Выходной патрубок газоотвода дополнительно содержит регулятор расхода для регулирования величины вектора реактивной тяги. Обеспечивается компенсация крутящего момента, действующего на вертолет относительно его центра масс под действием усилия отдачи стрелково-пушечного вооружения, повышение кучности стрельбы. 10 з.п. ф-лы, 9 ил., 3 табл.
1. Устройство повышения кучности при стрельбе из образцов стрелково-пушечного вооружения, установленных на вертолетах, включающее газоотвод с входным и выходным патрубками, установленный на хвостовой части вертолета и соединенный газодинамической связью с экранно-выхлопным устройством двигательной установки вертолета, клапаны с электроприводами, установленные на воздухозаборном устройстве экранно-выхлопного устройства, в выхлопном устройстве экранно-выхлопного устройства и в выходном патрубке газоотвода, и управляемые через электронный блок управления. 2. Устройство по п. 1, отличающееся тем, что газоотвод выполнен сужающимся. 3. Устройство по п. 1, отличающееся тем, что газоотвод выполнен расширяющимся. 4. Устройство по п. 1, отличающееся тем, что газоотвод выполнен с постоянной площадью поперечного сечения. 5. Устройство по п. 1, отличающееся тем, что газоотвод выполнен с переменной по длине газоотвода площадью поперечного сечения. 6. Устройство по п. 1, отличающееся тем, что поперечное сечение газоотвода имеет круглую форму. 7. Устройство по п. 1, отличающееся тем, что поперечное сечение газоотвода имеет овальную форму. 8. Устройство по п. 1, отличающееся тем, что поперечное сечение газоотвода имеет многоугольную форму. 9. Устройство по п. 1, отличающееся тем, что одна из поверхностей газоотвода образована поверхностью хвостовой части вертолета. 10. Устройство по п. 1, отличающееся тем, что выходной патрубок газоотвода выполнен вращающимся для регулирования направления вектора реактивной тяги. 11. Устройство по п. 1, отличающееся тем, что выходной патрубок газоотвода дополнительно содержит регулятор расхода для регулирования расхода продуктов сгорания в диапазоне от 0 до 100% его пропускной способности для регулирования величины вектора реактивной тяги.
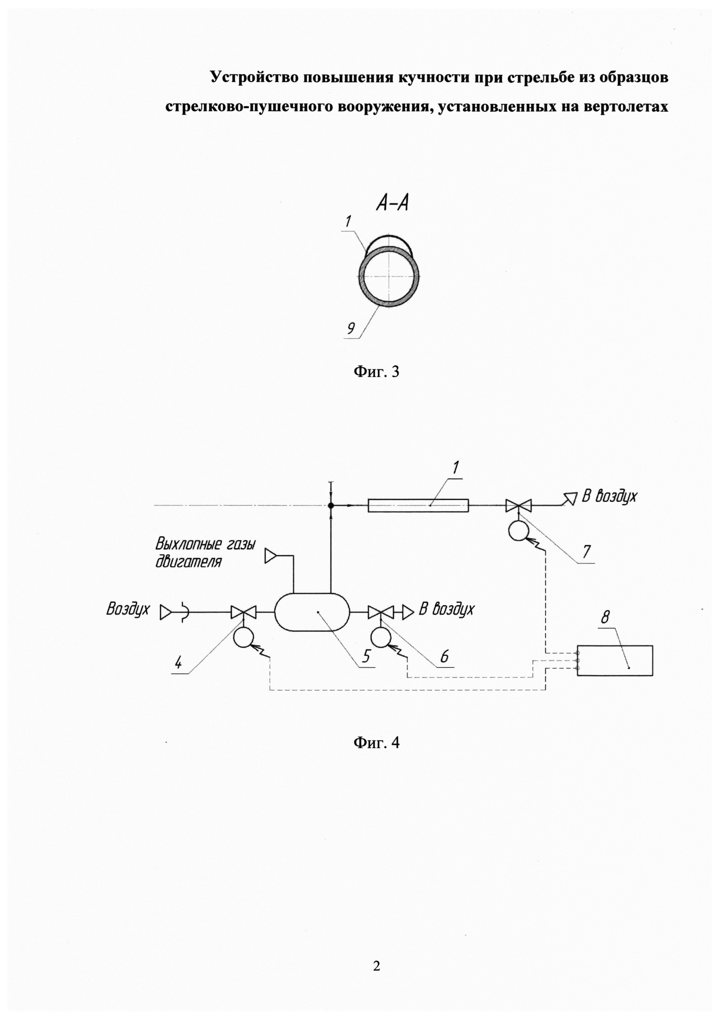
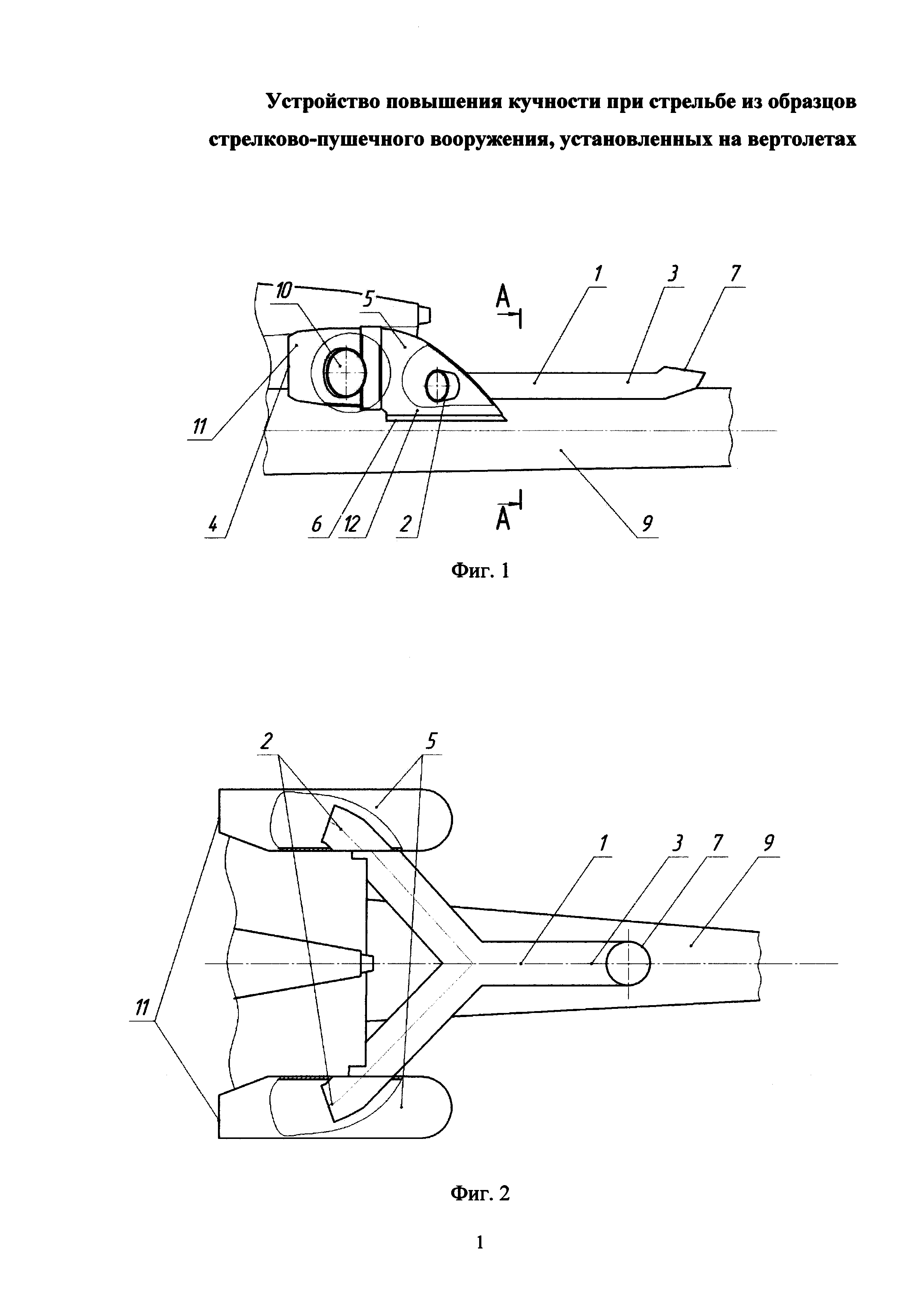
Изобретение относится к области вооружения и может быть использовано для компенсации отклонения вертолета относительно его центра масс при стрельбе. При стрельбе очередями из стрелково-пушечного вооружения, установленного на вертолете, прицельным является только первый выстрел в очереди. Последующие выстрелы характеризуются смещением ствола относительно начального положения вследствие вращения вертолета относительно центра масс под действием усилия отдачи, возникающего при стрельбе. Для уменьшения негативного влияния отдачи на кучность стрельбы из образцов стрелково-пушечного вооружения применяются устройства компенсации отдачи. Для компенсации отдачи при стрельбе из автоматического огнестрельного оружия известно приспособление в виде электрических компенсаторов, которые выполняются в виде электромагнитов, на входе питания которых установлены регуляторы подачи напряжения. Регулятор выполнен с возможностью подключения к источнику электрического питания. Техническое решение приспособления основано на принципе противохода движения (см. патент РФ №2367876, 05.03.2008, F41C 27/22). Техническое решение приспособления основано на принципе использования маховика с эксцентриситетом (см. патент РФ №2367877, 05.03.2008, F41C 27/22). Недостатки данных систем следующие: - высокое энергопотребление регулятора питания при высоком темпе стрельбы оружия, что накладывает ограничения на систему питания вертолета; - большая масса компенсаторов при использовании патронов с высоким импульсом, что негативно сказывается на летных характеристиках носителя. Известны надульные устройства в конструкциях авиационных пушек в виде дульного тормоза (см. патент РФ №2138000, 08.06.1999, F41A 21/36, патент РФ №2413154, 31.08.2009, F41A 21/36 и книгу Ю.П. Платонов «Термогазодинамика автоматического оружия» Москва, изд. «Машиностроение», 2009, стр. 228 - 240). Известны системы компенсации отдачи при стрельбе для использования в автоматических авиационных пушках на основе локализатора (см. патент РФ №2100737, 01.03.1999, F41A 21/36, F41F 1/00, B64D 7/06 и патент №2438087, 23.08.2010, F41A 21/36, F41A 13/06), которые содержат корпус с окнами и камерой, насаженный на ствол пушки, и соединенные с окнами газоотводные трубки, закрепленные на неподвижных частях пушки или на установке. После прохождения снарядом места расположения локализатора часть пороховых газов устремляется из канала ствола в камеру корпуса локализатора и через окна корпуса - в трубки, а из трубок газ вытекает в атмосферу. Техническое решение систем компенсации основано на использовании энергии пороховых газов для уменьшения отдачи при стрельбе. К недостаткам данных систем относятся негативное влияние на баллистику выстрела, низкая эффективность использования энергии пороховых газов, ограничения по величине уменьшения отдачи выстрела. Технической задачей настоящего изобретения является повышение кучности стрельбы из образцов стрелково-пушечного вооружения, установленных на вертолетах, по наземным и воздушным целям за счет использования продуктов сгорания топлива двигательных установок. Технический результат заключается в компенсации крутящего момента от усилия отдачи относительно его центра масс при стрельбе из образцов стрелково-пушечного вооружения. Таким образом, обеспечивается уменьшение отклонения точек попадания снарядов при стрельбе очередями из образцов стрелково-пушечного оружия, установленных на вертолетах, относительно точки прицеливания. Поставленная задача достигается тем, что устройство повышения кучности при стрельбе из образцов стрелково-пушечного вооружения, установленных на вертолетах (далее устройство) включает газоотвод с входным и выходным патрубками, установленный на хвостовой части вертолета и соединенный газодинамической связью с экранно-выхлопным устройством двигательной установки вертолета, клапаны с электроприводами, установленные на воздухозаборном устройстве экранно-выхлопного устройства, в выхлопном устройстве экранно-выхлопного устройства и в выходном патрубке газоотвода, и управляемые через электронный блок управления. Газоотвод может быть выполнен сужающимся или расширяющимся или с постоянной площадью поперечного сечения или с переменной по длине газоотвода площадью поперечного сечения. Поперечное сечение газоотвода может иметь круглую форму или овальную форму или многоугольную форму. Одна из поверхностей газоотвода образована поверхностью хвостовой части вертолета. Выходной патрубок газоотвода выполнен вращающимся для регулирования направления вектора реактивной тяги. Выходной патрубок газоотвода дополнительно содержит регулятор расхода для регулирования расхода продуктов сгорания в диапазоне от 0 до 100% его пропускной способности для регулирования величины вектора реактивной тяги. Компенсация крутящего момента от силы отдачи относительно центра масс вертолета при стрельбе из стрелково-пушечного вооружения осуществляется с использованием продуктов сгорания топлива двигательной установки вертолета, которые истекают в атмосферу из газодинамического тракта - газоотвода и создают крутящий момент, противоположный моменту от силы отдачи. Канал газоотвода, по которому перемещаются продукты сгорания топлива двигательной установки вертолета, может иметь различные геометрические характеристики, обеспечивающие, в том числе, увеличение скорости течения продуктов сгорания, а также различные по величине и направлению значения вектора тяги. Истечение продуктов сгорания из газодинамического тракта в окружающую среду приводит к возникновению реактивной тяги, действующей в течение заданного промежутка времени и обеспечивающей возникновение крутящего момента, действующего в направлении, противоположном направлению действия крутящего момента, возникающего под действием усилия отдачи. Сущность изобретения поясняется чертежами, на которых изображено: На фиг. 1 - общий вид устройства на вертолете; на фиг. 2 - вид сверху устройства; на фиг. 3 - сечение А-А на фиг. 1; на фиг. 4 - принципиальная схема устройства; на фиг. 5 - устройство, установленное на вертолете, с указанием направления и места воздействия силы отдачи Fотд, тяги устройства P, тяги несущего винта вертолета Fтяг; на фиг. 6 - график зависимости угла отклонения вертолета относительно центра масс от количества выстрелов в очереди под действием усилия отдачи; на фиг. 7а и 7b - рисунок мишени с результатом расчета отклонений точек попадания снарядов относительно точки прицеливания на дальности 500 м при длине очереди в 10 выстрелов соответственно без использования устройства и с использованием устройства; на фиг. 8а и 8b - рисунок мишени с результатом расчета отклонений точек попадания снарядов относительно точки прицеливания на дальности 1000 м при длине очереди в 10 выстрелов соответственно без использования устройства и с использованием устройства; на фиг. 9а и 9b - рисунок мишени с результатом расчета отклонений точек попадания снарядов относительно точки прицеливания на дальности 2000 м при длине очереди в 10 выстрелов соответственно без использования устройства и с использованием устройства. Устройство состоит из газоотвода 1 с входным патрубком 2 и выходным патрубком 3, клапана 4 с электроприводом экранно-выхлопного устройства 5, клапана 6 с электроприводом экранно-выхлопного устройства 5, клапана 7 с электроприводом газоотвода 1 и электронного блока управления 8. Газоотвод 1 установлен на хвостовой части 9 вертолета. Экранно-выхлопное устройство 5 соединено с выхлопным патрубком 10 двигательной установки вертолета. Клапан 4 с электроприводом установлен на воздухозаборном устройстве 11 экранно-выхлопного устройства 5, клапан 6 с электроприводом установлен на выхлопном устройстве 12 экранно-выхлопного устройства 5, клапан 7 с электроприводом установлен в выходном патрубке 3. Входной патрубок 2 расположен в полости экранно-выхлопного устройства 5 вертолета, а газоотвод 1 соединен с экранно-выхлопным устройством 5 с помощью неразъемного соединения. Электронный блок управления 8 взаимодействует с электроприводом клапана 4, электроприводом клапана 6 и электроприводом клапана 7, открывающими и закрывающими клапаны 4, 6, 7, установленные на воздухозаборном устройстве 11, в выхлопном устройстве 12 экранно-выхлопного устройства 5 и в выходном патрубке 3 газоотвода 1, соответственно. Устройство работает следующим образом. При работе двигательной установки вертолета через выхлопной патрубок 10 двигателя вертолета продукты сгорания поступают в полость экранно-выхлопного устройства 5. При отключенном устройстве клапан 7, установленный в выходном патрубке 3, находится в закрытом состоянии, а клапан 4, установленный на воздухозаборном устройстве 11, и клапан 6, установленный на выхлопном устройстве 12, находятся в открытом состоянии. Продукты сгорания смешиваются с атмосферным воздухом, поступающим через воздухозаборное устройство 11 с клапаном 4, и истекают через выхлопное устройство 12 с клапаном 6, не приводя к возникновению реактивной тяги. При включенном устройстве клапан 7, установленный в выходном патрубке 3, находится в открытом состоянии, а клапан 4, установленный на воздухозаборном устройстве 11, и клапан 6, установленный на выхлопном устройстве 12, находятся в закрытом состоянии. Включение устройства осуществляется в автоматическом режиме в момент времени, соответствующий началу стрельбы из стрелково-пушечного оружия. Продукты сгорания через входной патрубок 2 поступают в газоотвод 1. Истечение продуктов сгорания из газоотвода 1 происходит через выходной патрубок 3 с клапаном 7 и приводит к возникновению реактивной тяги, действующей во время стрельбы из образца стрелково-пушечного оружия и обеспечивающей возникновение крутящего момента, действующего в направлении, противоположном направлению действия крутящего момента, возникающего под действием усилия отдачи. Электронный блок управления 8 служит для передачи управляющего сигнала на электроприводы, позволяющего открыть или закрыть клапаны 4, 6, 7. Газоотвод 1 может быть выполнен сужающимся для создания требуемого значения тяги устройства. Газоотвод 1 может быть выполнен расширяющимся для создания требуемого значения тяги устройства. Газоотвод 1 может быть выполнен с постоянной площадью поперечного сечения для создания требуемого значения тяги устройства. Газоотвод 1 может быть выполнен с переменной по длине газоотвода 1 площадью поперечного сечения для создания требуемого значения тяги устройства. Газоотвод 1 может иметь поперечное сечение круглой формы, как наиболее технологичной. Газоотвод 1 может иметь поперечное сечение овальной формы для обеспечения заданных установочных и габаритных размеров. Газоотвод 1 может иметь поперечное сечение многоугольной формы для обеспечения заданных установочных и габаритных размеров. Одна из поверхностей газоотвода 1 может быть образована поверхностью хвостовой части вертолета для удобства крепления газоотвода 1 к хвостовой части вертолета. Создаваемый при работе устройства вектор тяги, возникающий при направленном истечении продуктов сгорания из выходного патрубка 3, может регулироваться по направлению и величине следующим образом. - регулирование направления вектора тяги устройства производится с помощью выходного патрубка 3, который выполнен вращающимся; - регулирование величины вектора тяги устройства производится с помощью регулятора расхода для регулирования расхода продуктов сгорания в диапазоне от 0 до 100% его пропускной способности в выходном 3 патрубке газоотвода 1. Проведен численный расчет работы устройства методом крупных частиц для системы уравнений (1). На основании известных характеристик вертолетного турбовального двигателя ТВ3-117 ВМ, представленных в книге А.Д. Богданова «Турбовальный двигатель ТВ3-117 ВМ. Конструкция и техническое обслуживание», начальное состояние продуктов сгорания соответствует состоянию продуктов сгорания сечения СТ-СТ, представленное на рис. 1.3, стр. 18. На отверстии выходного патрубка 3 параметры газа соответствуют параметрам атмосферы (при нормальных условиях: Т=21°C). где F - площадь поперечного сечения газоотвода 1 (F=F(x)). Для вычисления тяги (P) продуктов сгорания, истекающих из отверстия выходного патрубка 3, использована формула (2): где G - секундный массовый расход продуктов сгорания из выхлопного патрубка 10 двигательной установки; W F P Используя исходные данные, определена максимальная тяга P, обеспечиваемая устройством. В результате расчета получены значения параметров продуктов сгорания двигательной установки, которые представлены в таблице 1. T - температура; V P - реактивная тяга устройства в области отверстия выходного патрубка 3; D Действие устройства было рассмотрено на примере компенсации отдачи от очереди выстрелов из авиационной пушки 2А42. Характеристики используемого снаряда для пушки приведены в таблице 2. mсн - масса снаряда; mп - масса пороха; Vсн - скорость снаряда. Расчет импульса отдачи (Iотд) проведен по формуле (3): где N - количество выстрелов в очереди; I1 - первая составляющая импульса силы отдачи, обусловленная вылетом снаряда; I2 - вторая составляющая импульса силы отдачи, обусловленная истечением пороховых газов (Платонов Ю.П. Термодинамика автоматического оружия - М.: Машиностроение, 2009. - 356 с.: ил., стр. 73). где mсн - масса снаряда; Vсн - скорость снаряда. где mпг - масса истекающих пороховых газов; Vп - скорость истечения пороховых газов. Считаем, что истечение пороховых газов происходит с постоянной скоростью, скорость совпадает со скоростью снаряда. В таблице 3 приведены результаты расчетов импульсов отдачи Iотд для очереди выстрелов из 10, 15, 20, 25 снарядов. Проведен расчет смещения ствола относительно начального положения вследствие вращения вертолета относительно центра масс под действием усилия отдачи интегрированием дифференциального уравнения движения вертолета (6). Вектор усилия отдачи Fотд и компенсации - тяги устройства Р представлены на фиг. 5. Вертолет имеет только вращательную степень свободы относительно центра масс. где J - момент инерции относительно центра масс вертолета; ϕ - угол отклонения вертолета t - время; Mпрот_ крутящий момент от тяги устройства (P=5866,632 H) относительно центра масс; Мвыст - крутящий момент от усилия отдачи Fотд относительно центра масс вертолета. В начальный момент времени (t=0) угол отклонения (ϕ) и угловая скорость вращения Результаты интегрирования дифференциального уравнения (6) приведены на фиг.6, на которой представлены графики зависимости угла отклонения вертолета, вследствие вращения относительно центра масс под действием усилия отдачи, от количества выстрелов с применением устройства и без его применения. На основе полученных данных вычислены отклонения точек попадания снаряда относительно точки прицеливания на дальности 500, 1000 и 2000 м. В качестве допущения при расчетах точек попадания снарядов считаем движение снаряда на траектории прямолинейным. Отклонения точек попадания снарядов относительно точки прицеливания (dy) рассчитываем по формуле (7). где n - номер выстрела. Результаты расчета отклонений точек попадания снарядов относительно точки прицеливания при стрельбе из пушки 2А42 по целям на дальностях 500 м, 1000 м и 2000 м графически представлены на фиг. 7а, 7b, 8а, 8b, 9а и 9b. Результаты представленных расчетов свидетельствуют, что использование предлагаемого устройства обеспечивает: - компенсацию крутящего момента, действующего на вертолет относительно его центра масс и возникающего под действием усилия отдачи при стрельбе из образцов стрелково-пушечного вооружения; - уменьшение отклонения точек попадания снарядов при стрельбе очередями из образцов стрелково-пушечного оружия, установленных на вертолетах, относительно точки прицеливания.
,
,
- источниковые члены;







вертолета равны нулю. При проведении расчетов будем полагать, что скорость движения вертолета (Vверт=Vгор=0) равна нулю, т.е. вертолет покоится.
- расстояние до цели;