патент
№ RU 2679459
МПК E21B31/18

Пневматический ловитель насосных штанг

Авторы:
Гаврилов Сергей Александрович
Номер заявки
2017147145
Дата подачи заявки
29.12.2017
Опубликовано
11.02.2019
Страна
RU
Как управлять
интеллектуальной собственностью
Чертежи 
1
Реферат

Изобретение относится к нефтедобывающей промышленности и может быть использовано при ловильных работах в скважине. Устройство включает встроенный баллон высокого давления со сжатым воздухом, используемый как источник энергии и включающий индикатор давления. Корпус выполнен с центрирующим упором и с возможностью сообщения в баллоном посредством отверстия, перекрываемого подпружиненным золотником, установленным с возможностью взаимодействия с цангой При спуске ловителя в скважину верхний оборванный конец извлекаемой насосной штанги направляющей воронкой ловителя отодвигается от стенки эксплуатационной колонны, центрируется выступом корпуса ловителя и, проходя через отверстие цанги, толкает золотник и приоткрывает отверстие. Сжатый воздух из баллона выходит через приоткрывшееся отверстие в полость перед поршнем и воздействует на поршень. Поршень, двигаясь, толкает цангу. Цанга в ходе движения упирается на выступ корпуса ловителя, и скользя по нему, сжимает извлекаемую насосную штангу. Баллон ловителя имеет ниппель для подкачки сжатого воздуха, сигнализатор давления. Повышается надежность ловильных работ. 2 ил.

Формула изобретения

Пневматический ловитель для насосных штанг, содержащий корпус с направляющей воронкой в нижней его части, цангу, выполненную с возможностью зажима извлекаемой штанги, отличающийся тем, что он снабжен встроенным баллоном высокого давления для сжатого воздуха или газа, используемого как источник энергии и включающим индикатор давления, корпус выполнен с центрирующим упором и с возможностью сообщения с баллоном посредством отверстия, перекрываемого подпружиненным золотником, установленным с возможностью взаимодействия с цангой, соединенной с поршнем.

Описание

[1]

Изобретение относится к нефтедобывающей промышленности, а именно к подземному ремонту скважин. Целью изобретения является повышение надежности захвата ловильным инструментом оборванных или отвернутых насосных штанг в ходе ремонта аварийной скважины.

[2]

Известны различные виды ловителей насосных штанг, некоторые из них описаны в [1].

[3]

Недостатком данных ловителей является ненадежность захвата, имеется высокая вероятность срыва уже захваченной колонны штанг.

[4]

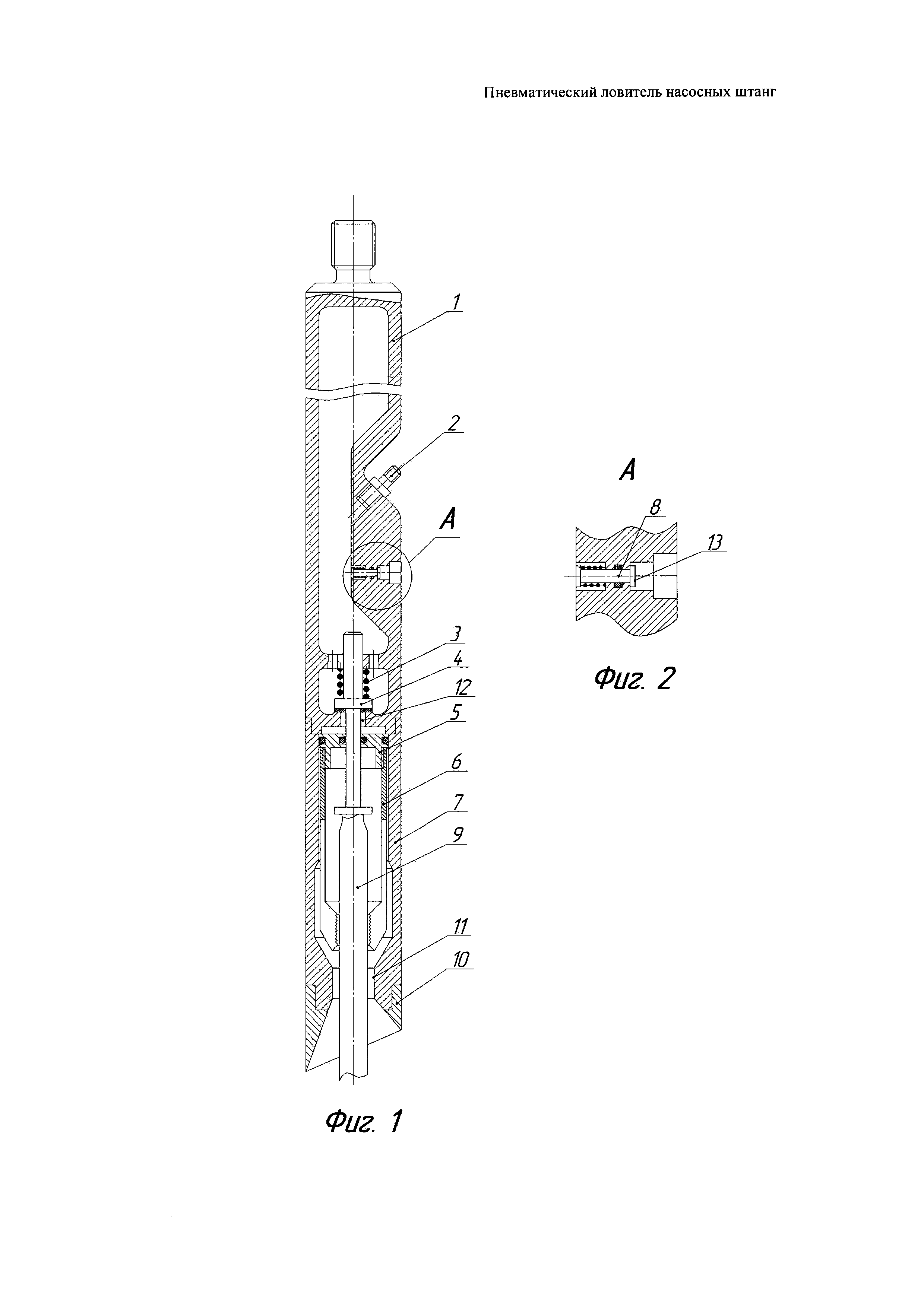
Конструкция предлагаемого ловителя поясняется чертежами:

[5]

Фиг. 1 - чертеж общего вида

[6]

Фиг. 2 - вид на сигнализатор давления.

[7]

Ловитель состоит из баллона 1 со сжатым воздухом, ниппеля 2 для подкачки воздуха, пружины 3, золотника 4 для спуска воздуха, поршня 5, цанги 6, корпуса 7 и индикатора 8 наличия воздуха высокого давления в баллоне 1.

[8]

Ловитель в скважину спускается на подвеске из насосно-компрессорных труб или насосных штанг, или на канатной подвеске.

[9]

При спуске ловителя верхний оборванной конец насосной штанги 9 или верхняя отвернутая насосная штанга с помощью направляющей воронки 10 отодвигается от стенки колонны НКТ или эксплуатационной колонны, центрируется на выступе 11 по центру корпуса ловителя, проходит через отверстие цанги 6 и торцом толкает золотник 4, отверстие 12 открывается и сжатый воздух из баллона, выходя в полость перед поршнем 5, воздействует на поршень. Поршень, двигаясь, толкает цангу 6. Цанга упирается на выступ 11 и скользя по выступу сжимает штангу 9.

[10]

Наличие высокого давления в баллоне 1 контролируется сигнализатором 8. Если торец 13 сигнализатора утоплен, значит в баллоне низкое давление.

[11]

Ловитель комплектуется сменными элементами под все типоразмеры штанг.

[12]

Предлагаемое решение позволит надежно проводить работы по подъему колонны штанг со оборванной или открученной насосной штангой.

[13]

1. Оборудование, инструменты и приспособления для подземного и капитального ремонта скважин. Каталог - справочник. НПП «Нефте-химмаш». Казань. А/я 156. 1996 г.

Как компенсировать расходы
на инновационную разработку
Похожие патенты