патент
№ RU 2602776
МПК F16B39/34

СТОПОРЯЩЕЕСЯ РЕЗЬБОВОЕ СОЕДИНЕНИЕ

Авторы:
Стрельник Анна Георгиевна Вавилов Юрий Григорьевич Лебедков Юрий Александрович
Все (5)
Номер заявки
2015118277/12
Дата подачи заявки
15.05.2015
Опубликовано
20.11.2016
Страна
RU
Как управлять
интеллектуальной собственностью
Чертежи 
3
Реферат

Изобретение относится к крепежным изделиям и может быть использовано в механизмах, испытывающих вибрационные, ударные нагрузки и тепловое воздействие. Изобретение преимущественно предназначено для использования в энергетических машинах и установках автомобильной, авиационной, машиностроительной, железнодорожной и других отраслях промышленности. Стопорящееся резьбовое соединение включает болт (шпильку) с резьбовым стержнем, гайку, контактирующую по торцу с шайбой из деформируемого материала. Гайка выполнена с кольцевой канавкой, в которую установлены направляющие по внутреннему и внешнему периметрам канавки. Направляющие снабжены упорами. Направляющие равны по высоте глубине канавки и выполнены с возможностью перемещения. Торцы направляющих выступают за торец гайки. Шайба размещена в канавке и выполнена из хрупкого твердого материала. Технический эффект: повышение надежности стопорения резьбового соединения при воздействии нагрузок вибрационного и ударного характера, в том числе в условиях термического воздействия, за счет увеличения площади контакта в резьбовом соединении между гайкой и деталью. 3 ил.

Формула изобретения

Стопорящееся резьбовое соединение, включающее болт (шпильку) с резьбовым стержнем, гайку, контактирующую по торцу с шайбой из деформируемого материала, отличающееся тем, что гайка выполнена с кольцевой канавкой, в которую установлены направляющие по внутреннему и внешнему периметрам канавки, причем направляющие, снабженные упорами, равны по высоте глубине канавки и выполнены с возможностью перемещения, при этом торцы направляющих выступают за торец гайки, а шайба размещена в канавке и выполнена из хрупкого твердого материала.

Описание

[1]

Изобретение относится к крепежным изделиям и может быть использовано в механизмах, испытывающих вибрационные, ударные нагрузки и тепловое воздействие. Изобретение преимущественно предназначено для использования в энергетических машинах и установках автомобильной, авиационной, машиностроительной, железнодорожной и других отраслях промышленности.

[2]

Известно стопорящееся крепежное соединение, включающее болт (шпильку) с гайкой и шайбой Гровера, см. книгу Орлова П.И. Основы конструирования: Справочно-методическое пособие. В 2-х кн. Кн. 2. - М.: Машиностроение, 1988. С. 145-146, рис. 315.

[3]

Недостатком крепежного соединения с шайбой Гровера является ограниченность использования при знакопеременных нагрузках вибрационного ударного действия.

[4]

Это объясняется тем, что после завинчивания и затяжки гайки шайба Гровера обеспечивает только локальное стопорение гайки и детали.

[5]

Известна самоконтрящаяся гайка с отверстиями и вставленными в них пластмассовыми штифтами. При завинчивании гайки происходит нарезка резьбы в пластмассовых штифтах, материалом которых заполняется резьбовое соединение, см. RU Патент 2347119, МПК F16B 39/34, F16B 39/06, 2009.

[6]

Недостатком самоконтрящейся гайки является ненадежность стопорения резьбового соединения от самопроизвольного отвинчивания гайки, что ограничивает ее использование при воздействии нагрузок вибрационного и ударного характера, в том числе в условиях термического воздействия.

[7]

Указанный недостаток обусловлен тем, что пластмасса, из которых изготовлены штифты, теряет свои свойства при воздействии тепла, света, химических веществ и т.п.

[8]

Наиболее близким по технической сущности является стопорящееся резьбовое соединение, включающее болт (шпильку) с резьбовым стержнем, гайку, контактирующую по торцу с шайбой из деформируемого материала, в качестве которого используют пластмассу (найлон, капрон, акрилон). При затяжке гайки шайба деформируется, материал шайбы заполняет витки резьбы, см. Книга Орлова П.И. Основы конструирования: Справочно-методическое пособие в 2-х кн., Кн. 2. - М.: Машиностроение, 1988. С. 148, рис. 338.

[9]

Недостатком данного объекта является ненадежность стопорения резьбового соединения от самопроизвольного отвинчивания гайки, что ограничивает ее использование в энергетических машинах и установках автомобильной, авиационной, машиностроительной, железнодорожной отраслях промышленности.

[10]

Под действием тепла, выделяемого энергетическими машинами и установками, в пластических массах наблюдаются деструктивные реакции, при которых полимер радикально меняет свои свойства: изменяется молекулярная масса, строение и химические свойства.

[11]

Наложение вибрационных воздействий на резьбовое соединение приводит к возникновению момента сил раскручивания превышающего момент сил трения в месте резьбового соединения.

[12]

Технической задачей изобретения является повышение надежности стопорения резьбового соединения при воздействии нагрузок вибрационного и ударного характера, в том числе в условиях термического воздействия.

[13]

Техническая задача решается тем, что стопорящееся резьбовое соединение, включающее болт (шпильку) с резьбовым стержнем, гайку, контактирующую по торцу с шайбой из деформируемого материала, согласно изобретению гайка выполнена с кольцевой канавкой, в которую установлены направляющие по внутреннему и внешнему периметрам канавки, причем направляющие, снабженные упорами, равны по высоте глубине канавки и выполнены с возможностью перемещения, при этом торцы направляющих выступают за торец гайки, а шайба размещена в канавке и выполнена из хрупкого твердого материала.

[14]

Решение технической задачи позволяет повысить надежность стопорения резьбового соединения при воздействии нагрузок вибрационного и ударного характера, в том числе в условиях термического воздействия, за счет увеличения площади контакта в резьбовом соединении между гайкой и деталью.

[15]

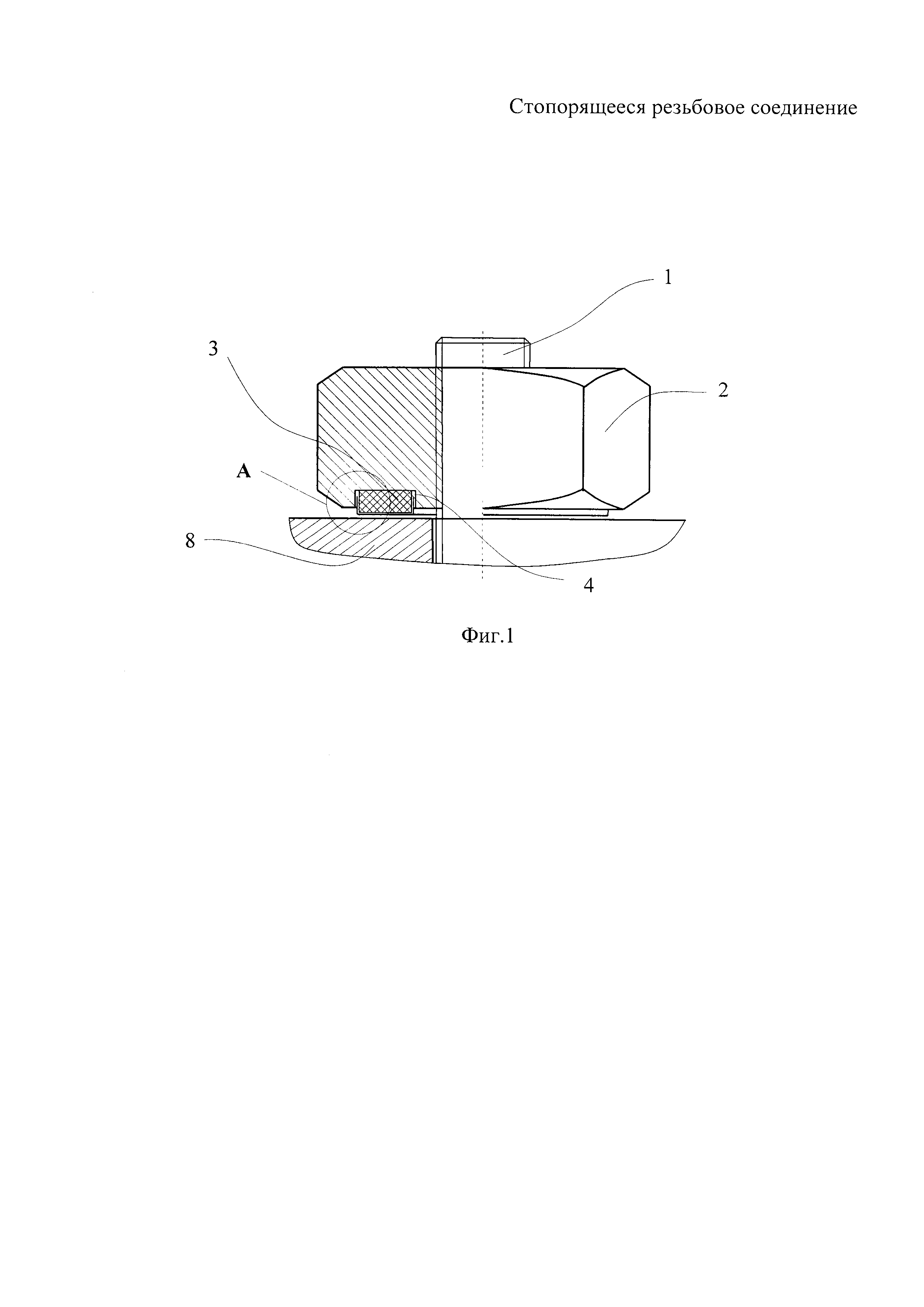
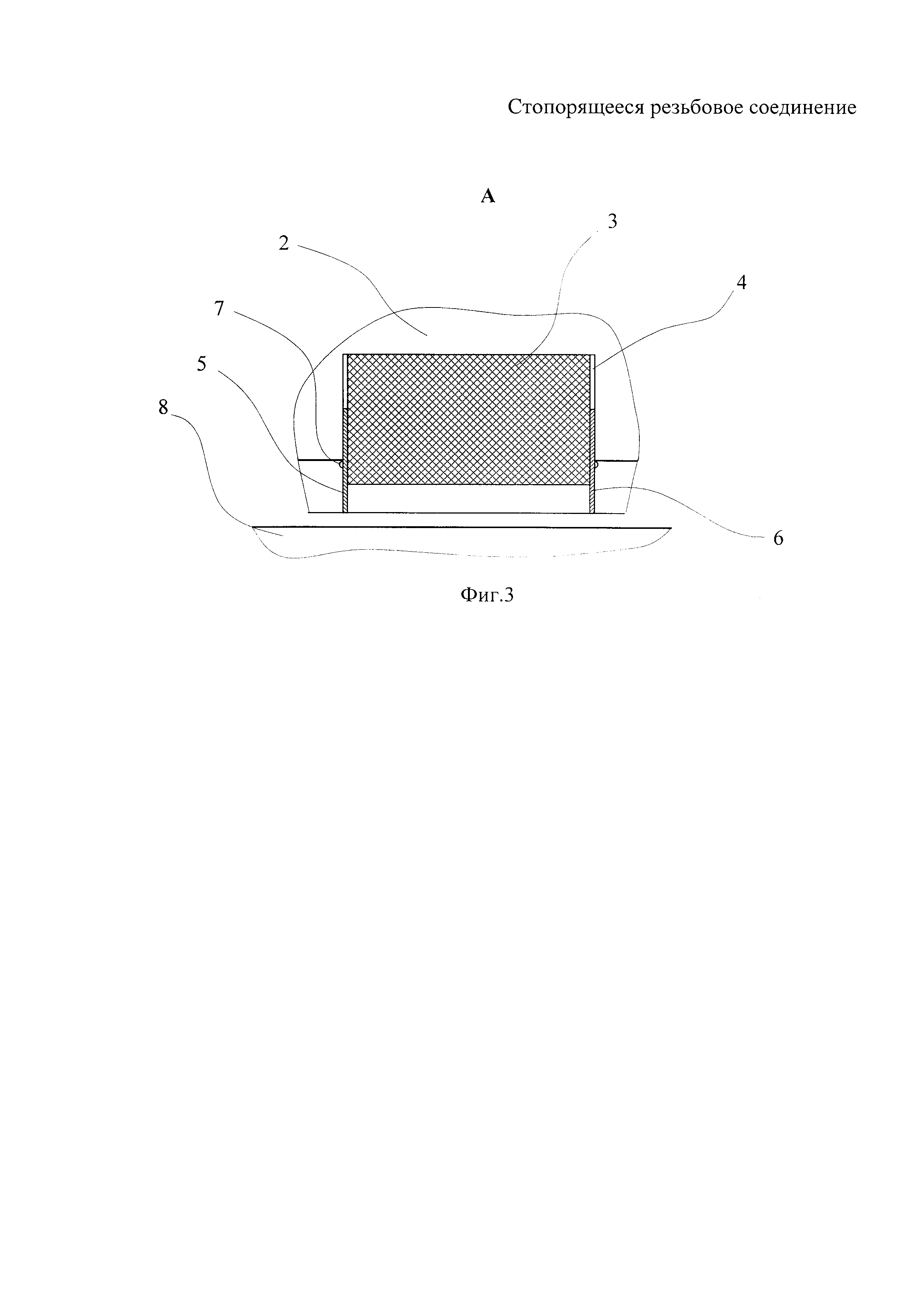
Сущность изобретения поясняется чертежами. На фиг. 1 представлен общий вид резьбового соединения; на фиг. 2 - резьбовое соединение в собранном виде, на фиг. 3 - вид А на фиг. 1.

[16]

Стопорящееся резьбовое соединение включает болт (шпильку) с резьбовым стержнем 1, гайку 2, которая контактирует по торцу с шайбой 3, выполненной из деформируемого материала. Гайка 2 имеет кольцевую канавку 4, в которую установлены направляющие по внутреннему 5 и внешнему 6 периметрам канавки 4, причем направляющие снабжены упорами 7. Направляющие 5, 6 равны по высоте глубине канавки 4 и выполнены с возможностью перемещения. Торцы направляющих 5 и 6 выступают за торец гайки 2. Шайба из деформируемого материала 3 размещена в канавке 4 и выполнена из хрупкого твердого материала.

[17]

Резьбовой стержень болта (шпильки) введен в отверстие детали 8.

[18]

Шайба может быть изготовлена из стекла, керамики, кварцевого песка и т.п.

[19]

Стопорящееся резьбовое соединение работает следующим образом.

[20]

Резьбовой конец болта (шпильки) 1 пропускают через отверстие детали 8, затем шайбу и гайку 2 навинчивают на резьбовой конец болта (шпильки) 1 до упора направляющих 5, 6 в поверхность детали 8, создав при этом изолированный объем. Преодолевая сопротивление упоров 7, направляющие 5, 6 задвигаются в глубину канавки 4, сокращая изолированный объем. После того как шайба 3 войдет в контакт с поверхностью детали 8, под действием сжимающей осевой силы происходит разрушение шайбы 3 на отдельные частицы. За счет уменьшения изолированного объема частицы разрушенной шайбы 3 сжимаются, а при вращении гайки 2 совершают круговое перемещение, оставляя на поверхности дна кольцевой канавки 4 и детали 8 микроскопические борозды. Поверхность резьбового соединения насыщается частицами стекла или керамики, или кварцевого песка, обеспечивая надежное стопорение резьбового соединения. Сжатие частиц разрушенной шайбы 3 будет происходить до тех пор, пока торец гайки 2 не сомкнется с поверхностью детали 8. Гайку 2 можно использовать многократно.

[21]

Таким образом, совокупность признаков заявляемого объекта позволяет повысить надежность стопорения резьбового соединения и при воздействии значительных нагрузок вибрационного и ударного характера, в том числе в условиях термического воздействия, за счет увеличения площади контакта в резьбовом соединении между гайкой и деталью.

Как компенсировать расходы
на инновационную разработку
Похожие патенты