патент
№ RU 2650000
МПК E21B33/04

ТРУБНАЯ ГОЛОВКА

Авторы:
Саитов Азат Атласович
Номер заявки
2016152386
Дата подачи заявки
28.12.2016
Опубликовано
06.04.2018
Страна
RU
Как управлять
интеллектуальной собственностью
Чертежи 
5
Реферат

Изобретение относится к горному делу, в частности к устьевому оборудованию для эксплуатации скважин. Трубная головка включает корпус со ступенчатым осевым каналом, боковыми исследовательским каналом и линией сбора, трубодержатель, установленный в осевом канале корпуса, для подвески лифтовой колонны, крышку, втулку с радиальными каналами, узел поворота. Трубодержатель и втулка установлены в корпусе так, что линия сбора корпуса при определенном повороте втулки выполнена с возможностью сообщения через радиальные каналы втулки с продольным каналом трубодержателя. Исследовательский канал корпуса выполнен с возможностью сообщения со скважинным пространством снаружи трубодержателя. Снизу трубодержателя выполнены выступы или пазы, взаимодействующие с соответствующими внутренними пазами или выступами корпуса для исключения поворота. Втулка установлена в продольный канал трубодержателя с возможностью поворота при помощи узла поворота, расположенного сверху втулки и выше крышки. Исследовательский канал и линия сбора размещены на одном уровне перпендикулярно оси корпуса под углом по его периметру, позволяющим обеспечить сообщение с каналами трубодержателя так, чтобы при повороте втулки каналы последовательно и поочередно или вместе открывались и герметично закрывались для сообщения с продольным каналом втулки. Благодаря использованию предлагаемого устройства снижаются материальные затраты за счет упрощения изготовления трубной головки, расширяются эксплуатационные возможности за счет применения в составе как УСШН, так и УВШН, повышается ее надежность за счет упрощения конструкции, сокращения количества соединений, работающих под давлением, при одновременном снижении металлоемкости и габаритных размеров. 5 ил.

Формула изобретения

Трубная головка, включающая корпус со ступенчатым осевым каналом, боковыми исследовательским каналом и линией сбора, трубодержатель, установленный в осевом канале корпуса, для подвески лифтовой колонны, крышку, втулку с радиальными каналами, узел поворота, причем трубодержатель и втулка установлены в корпусе так, что линия сбора корпуса при определенном повороте втулки выполнена с возможностью сообщения через радиальные каналы втулки с продольным каналом трубодержателя, а исследовательский канал корпуса выполнен с возможностью сообщения со скважинным пространством снаружи трубодержателя, причем снизу трубодержателя выполнены выступы или пазы, взаимодействующие с соответствующими внутренними пазами или выступами корпуса для исключения поворота, отличающаяся тем, что втулка установлена в продольный канал трубодержателя с возможностью поворота при помощи узла поворота, расположенного сверху втулки и выше крышки, а исследовательский канал и линия сбора размещены на одном уровне перпендикулярно оси корпуса под углом по его периметру, позволяющим обеспечить сообщение с каналами трубодержателя так, чтобы при повороте втулки каналы последовательно и поочередно или вместе открывались и герметично закрывались для сообщения с продольным каналом втулки.

Описание

[1]

Изобретение относится к горному делу, в частности к устьевому оборудованию для эксплуатации скважин.

[2]

Известна арматура устьевая под установку ШГН АШК 50×14 по ТУ 3665-009-49652808-2004 (Каталог продукции «Оборудование для нефтегазовой отрасли» ООО «Завод НГО «ТЕХНОВЕК»), содержащая корпус с двумя боковыми отводами, оснащенными запорными клапанами, переводник конусный для подвески колонны труб, устьевого сальника и перепускного клапана, установленного в переводнике.

[3]

Недостатками известного устройства являются размещение боковых отводов корпуса на разных уровнях по высоте, что при регламентированном расположении нижнего (обычно технологического) отвода относительно уровня земли ведет к более высокому расположению основного отвода, соответственно, трубопровода линии сбора, а также небольшое (существенно меньше, чем условный проход арматуры) сечение седла перепускного клапана, недостаточное при проведении технологических операций, в частности промывки скважинного оборудования в замкнутом цикле.

[4]

Известна арматура устья скважины (а. с. СССР №1352039, МПК Е21В 33/03, опубл. 15.11.1987, бюл. №42), содержащая корпус, имеющий выкидные линии, расположенные в одной горизонтальной плоскости с боковыми каналами, один из которых связан с затрубным пространством, установленные на корпусе запорные элементы и подвеску с уплотнением и центральным каналом, при этом с целью повышения надежности арматуры при проведении ремонтных работ с одновременным облегчением монтажно-демонтажных работ уплотнение подвески установлено в плоскости, наклонной к оси центрального канала, при этом боковой канал, связанный с затрубным пространством, выполнен под уплотнением, а другой боковой канал соединен с центральным каналом и размещен выше уплотнения.

[5]

Недостатком известного устройства является необходимость его оснащения запорными устройствами, из-за чего увеличиваются габариты и масса, а также снижается надежность его работы.

[6]

Известна арматура устья скважины (патент РФ №2159842, МПК Е21В 33/03, Е21В 49/08, Е21В 47/00, опубл. 27.11.2000, бюл. №33), содержащая корпус с каналом сообщения с полостью насосно-компрессорных труб и каналом сообщения с межтрубным пространством, конусную муфту для подвески труб, тарельчатый клапан-отсекатель, устьевой сальник для уплотнения полированного штока глубинного штангового насоса, при этом в канале сообщения с полостью насосно-компрессорных труб установлены запорный вентиль и пробоотборник для отбора пробы на анализ по всему сечению потока, в канале сообщения с межтрубным пространством установлен запорный вентиль, кроме того, корпус снабжен дополнительным каналом сообщения полости насосно-компрессорных труб с межтрубным пространством и запорным вентилем с клапаном, установленными в этом канале.

[7]

Известна трубная головка (патент РФ №2170328, МПК Е21В 33/03, опубл. 10.07.2001, бюл. №19), включающая цилиндрический корпус с верхним и нижним присоединительными фланцами, со ступенчатым осевым и радиальным каналами, с двумя верхними и двумя нижними боковыми отводами, имеющими присоединительные фланцы для установки коренных задвижек, установленный в осевом канале корпуса трубодержатель для подвески лифтовой колонны, узел крепления трубодержателя в осевом канале корпуса, размещенный в осевом канале корпуса над трубодержателем шаровой запорный орган со сквозным и глухим центральными осевыми каналами, оси которых взаимно перпендикулярны, а также с верхним и нижним седлами, узел управления шаровым запорным органом в виде установленного в радиальном канале корпуса поворотного вала, ось которого перпендикулярна осям сквозного и глухого центральных осевых каналов в шаровом запорном органе и проходит через точку их пересечения, размещенный на корпусе переходный фланец со ступенчатым осевым каналом, а также установленную в нем и в осевом канале корпуса фигурную втулку, при этом шаровой запорный орган выполнен с дополнительным глухим центральным осевым каналом, а корпус - с дополнительным верхним боковым отводом, оси которых соосны с осью поворотного вала, причем фигурная втулка жестко связана с корпусом, а верхнее седло размещено внутри фигурной втулки.

[8]

Недостатками известных устройств являются наличие в каждом из них минимум трех запорных устройств, что приводит к увеличению габаритов, особенно радиальных, и массы, к снижению надежности работы устройств, а также сложность изготовления и ремонта корпуса.

[9]

Известна трубная головка (а. с. СССР №1514904, МПК Е21В 33/03, опубл. 15.10.1989, бюл. №38), включающая цилиндрический корпус с размещенными концентрично в нем трубодержателем и узлом его фиксации в виде стопорных болтов, установленный в трубодержателе запорный механизм в виде стакана с запорным узлом и привод для управления запорным механизмом, при этом с целью повышения надежности работы трубной головки, сокращения продолжительности и повышения безопасности монтажных работ на устье при демонтированном противовыбросовом оборудовании она снабжена втулкой, размещенной концентрично в трубодержателе и выполненной в верхней части с кольцевыми наружным выступом и расточкой на ее внутренней поверхности, причем втулка своей нижней частью жестко связана с трубодержателем, а стакан имеет кольцевой внутренний выступ в нижней части для размещения на нем наружного выступа втулки, при этом стакан установлен с возможностью поворота вокруг втулки. Однако известное устройство имеет следующие недостатки:

[10]

- во-первых, отводы фонтанной арматуры, полученной на основе известного устройства, для направления потока скважинной среды расположены выше запорного узла, что увеличивает высоту и металлоемкость фонтанной арматуры;

[11]

- во-вторых, устройство не предназначено для оборудования устья скважин, эксплуатируемых установками скважинного штангового насоса (УСШН), штангового винтового насоса (УШВН) и др., из-за расположения внутри запорного узла колонны штанг;

[12]

- в-третьих, необходимость изготовления канала в корпусе для привода запорного механизма и его уплотнения, работающего под рабочим давлением;

[13]

- в-четвертых, применение известного устройства не исключает необходимости оснащения фонтанной арматуры запорными устройствами.

[14]

Наиболее близкой по технической сущности является трубная головка (патент РФ №2117749, МПК Е21В 33/03, опубл. 20.08.1998, бюл. №23), включающая цилиндрический корпус с присоединительными фланцами, со ступенчатым осевым и радиальными каналами, а также с боковыми отводами, размещенными ниже последних, установленный в осевом канале корпуса трубодержатель для подвески лифтовой колонны, размещенный в трубодержателе шаровой запорный орган со сквозным осевым каналом и седла, узел управления шаровым запорным органом в виде поворотного вала, ось которого перпендикулярна к оси его сквозного осевого канала, и герметизирующей крышки, втулку с двумя радиальными каналами, один из которых служит для размещения поворотного вала, и узел крепления трубодержателя в корпусе в виде стопорных болтов, установленных в радиальных каналах корпуса и имеющих возможность взаимодействия с трубодержателем, причем она снабжена установленными в нижней части корпуса фиксирующими элементами в виде пальцев, боковые отводы корпуса размещены на разных уровнях по его высоте, а втулка - концентрично снаружи трубодержателя, при этом шаровой запорный орган выполнен с глухим осевым каналом, перпендикулярным сквозному осевому каналу в нем и оси поворотного вала, трубодержатель - с наружным кольцевым выступом, с осевым пазом и фигурными проточками на своей наружной поверхности и двумя радиальными каналами, один из которых служит для размещения поворотного вала, корпус - с радиальным каналом для размещения поворотного вала, причем трубодержатель и втулка установлены в корпусе так, что их радиальные каналы для размещения поворотного вала соосны, а ось верхнего бокового отвода корпуса совпадает с осями других радиальных каналов втулки и трубодержателя, при этом они расположены в одной плоскости с осями сквозного и глухого каналов шарового запорного органа, а нижний боковой отвод корпуса совпадает с осевым пазом трубодержателя, причем пальцы установлены с возможностью взаимодействия с его фигурными проточками, при этом втулка размещена так, что своим нижним торцом она взаимодействует со ступенчатым осевым каналом корпуса, а верхним - с наружным кольцевым выступом трубодержателя.

[15]

Недостатками известного решения являются:

[16]

- во-первых, размещение боковых отводов корпуса на разных уровнях по высоте, что при регламентированном расположении нижнего (обычно технологического) отвода относительно уровня земли ведет к более высокому расположению основного отвода, соответственно, трубопровода линии сбора;

[17]

- во-вторых, устройство не предназначено для оборудования устья скважин, эксплуатируемых УСШН, УШВН и др., из-за расположения внутри запорного органа колонны штанг;

[18]

- в-третьих, трудность стыковки поворотного вала с запорным органом из-за необходимости одновременного соосного расположения паза запорного органа, радиальных каналов корпуса, втулки и рубодержателя;

[19]

- в-четвертых, необходимость изготовления канала в корпусе для поворотного вала и его уплотнения, работающего под рабочим давлением;

[20]

- в-пятых, необходимость изготовления шарового запорного органа на специальных станках или с использованием приспособлений, что сказывается на стоимости трубной головки.

[21]

Техническими задачами изобретения являются снижение материальных затрат за счет упрощения изготовления трубной головки, расширение эксплуатационных возможностей, повышение ее надежности за счет упрощения конструкции, сокращения количества соединений, работающих под давлением, при одновременном снижении металлоемкости и габаритных размеров.

[22]

Поставленные технические задачи решаются трубной головкой, включающей корпус со ступенчатым осевым каналом, боковыми исследовательским каналом и линией сбора, трубодержатель, установленный в осевом канале корпуса, для подвески лифтовой колонны, крышку, втулку с радиальными каналами, узел поворота, причем трубодержатель и втулка установлены в корпусе так, что линия сбора корпуса при определенном повороте втулки выполнена с возможностью сообщения через радиальные каналы втулки с продольным каналом трубодержателя, а исследовательский канал корпуса выполнен с возможностью сообщения со скважинным пространством снаружи трубодержателя, причем снизу трубодержателя выполнены выступы или пазы, взаимодействующие с соответствующими внутренними пазами или выступами корпуса для исключения поворота.

[23]

Новым является то, что втулка установлена в продольный канал трубодержателя с возможностью поворота при помощи узла поворота, расположенного сверху втулки и выше крышки, а исследовательский канал и линия сбора размещены на одном уровне перпендикулярно оси корпуса под углом по его периметру, позволяющим обеспечить сообщение с каналами трубодержателя так, чтобы при повороте втулки каналы последовательно и поочередно или вместе открывались и герметично закрывались для сообщения с продольным каналом втулки.

[24]

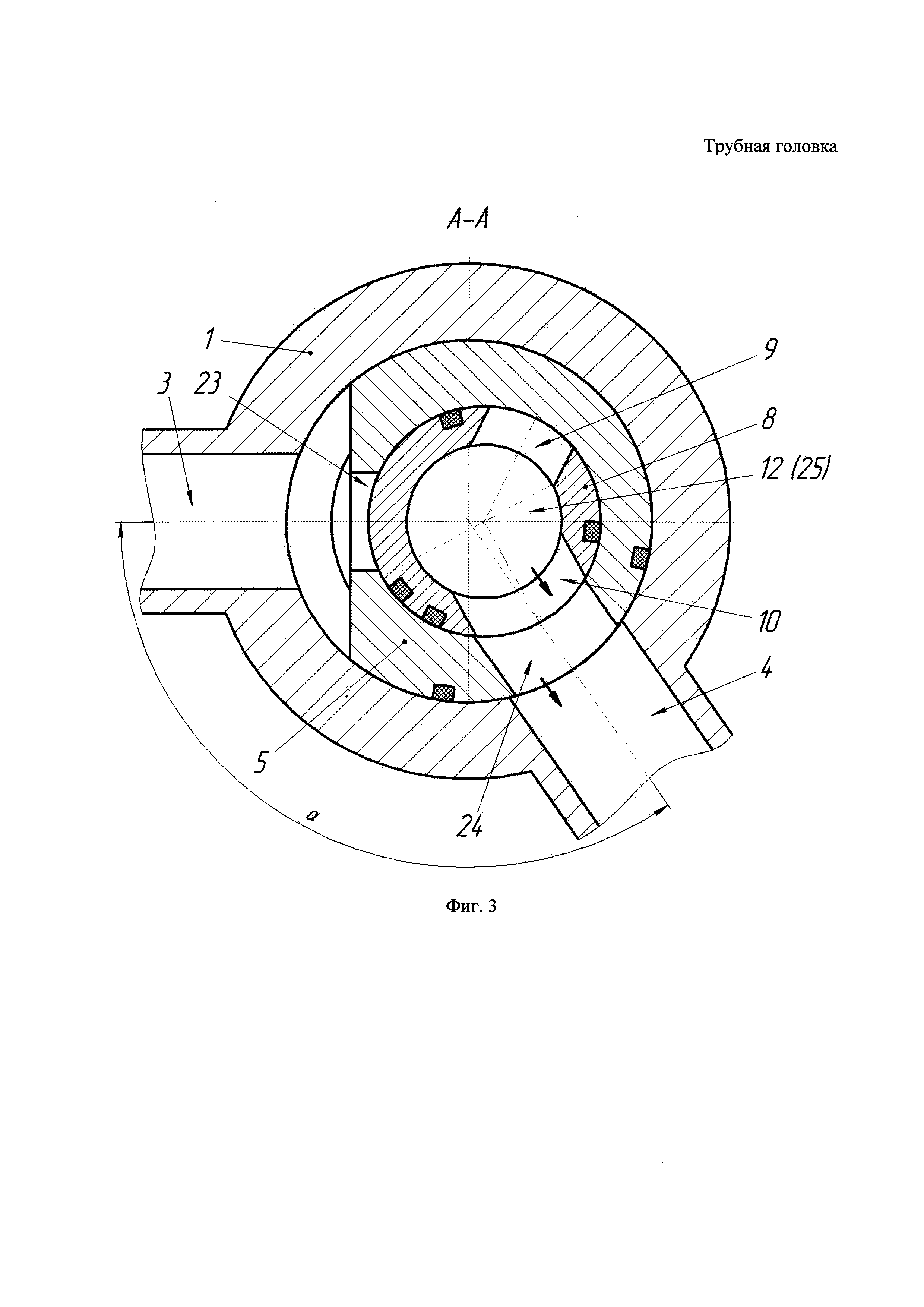
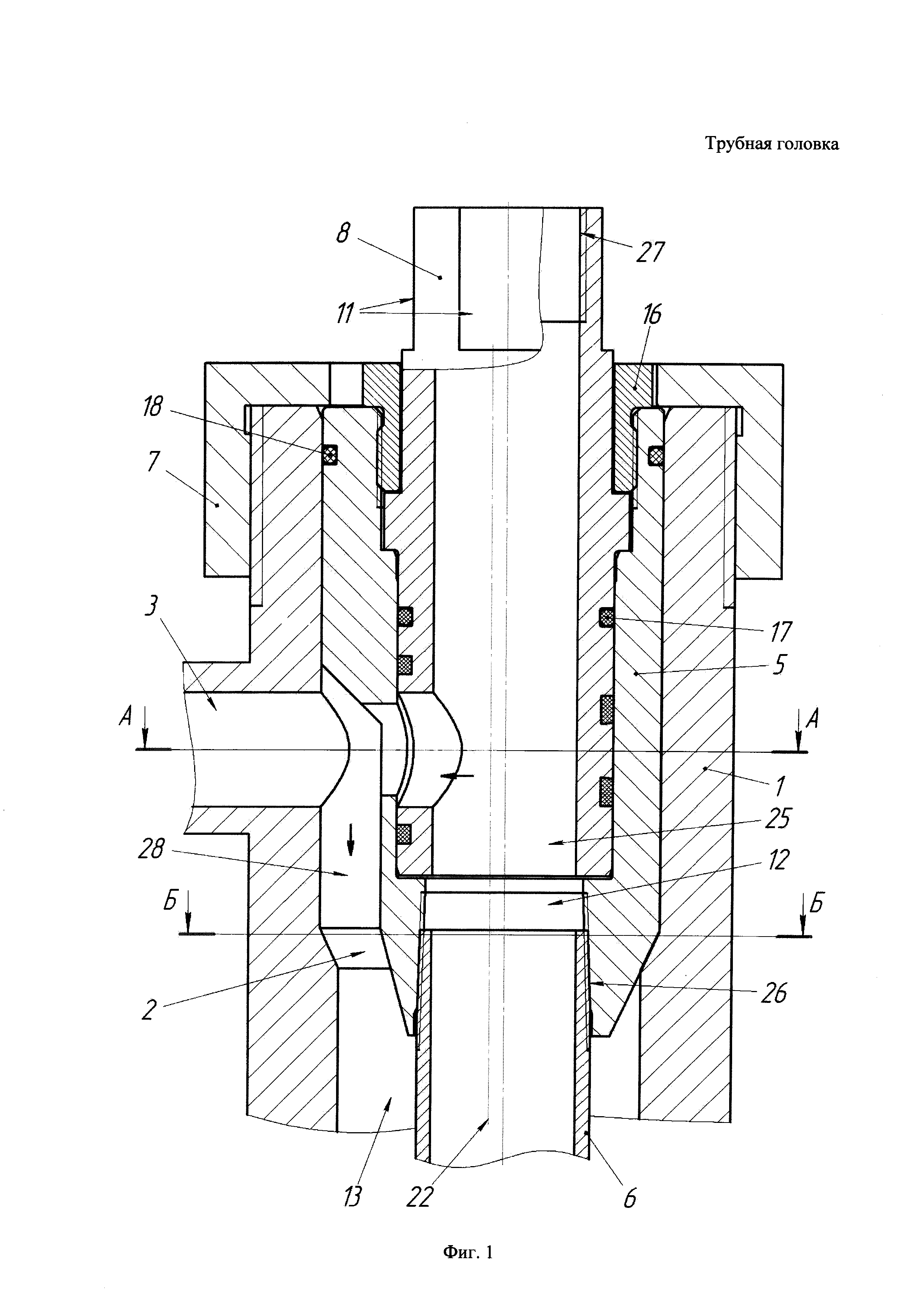
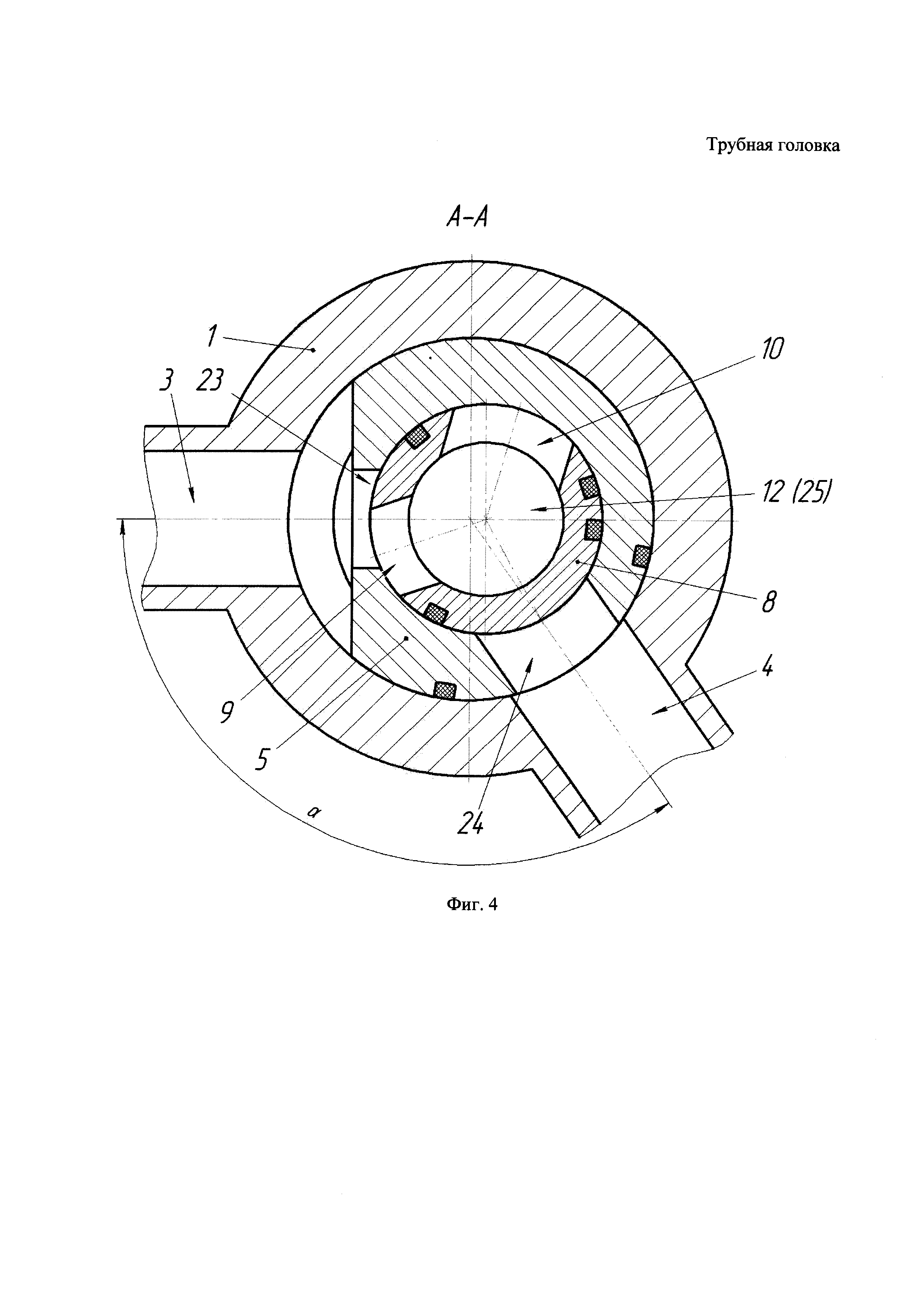
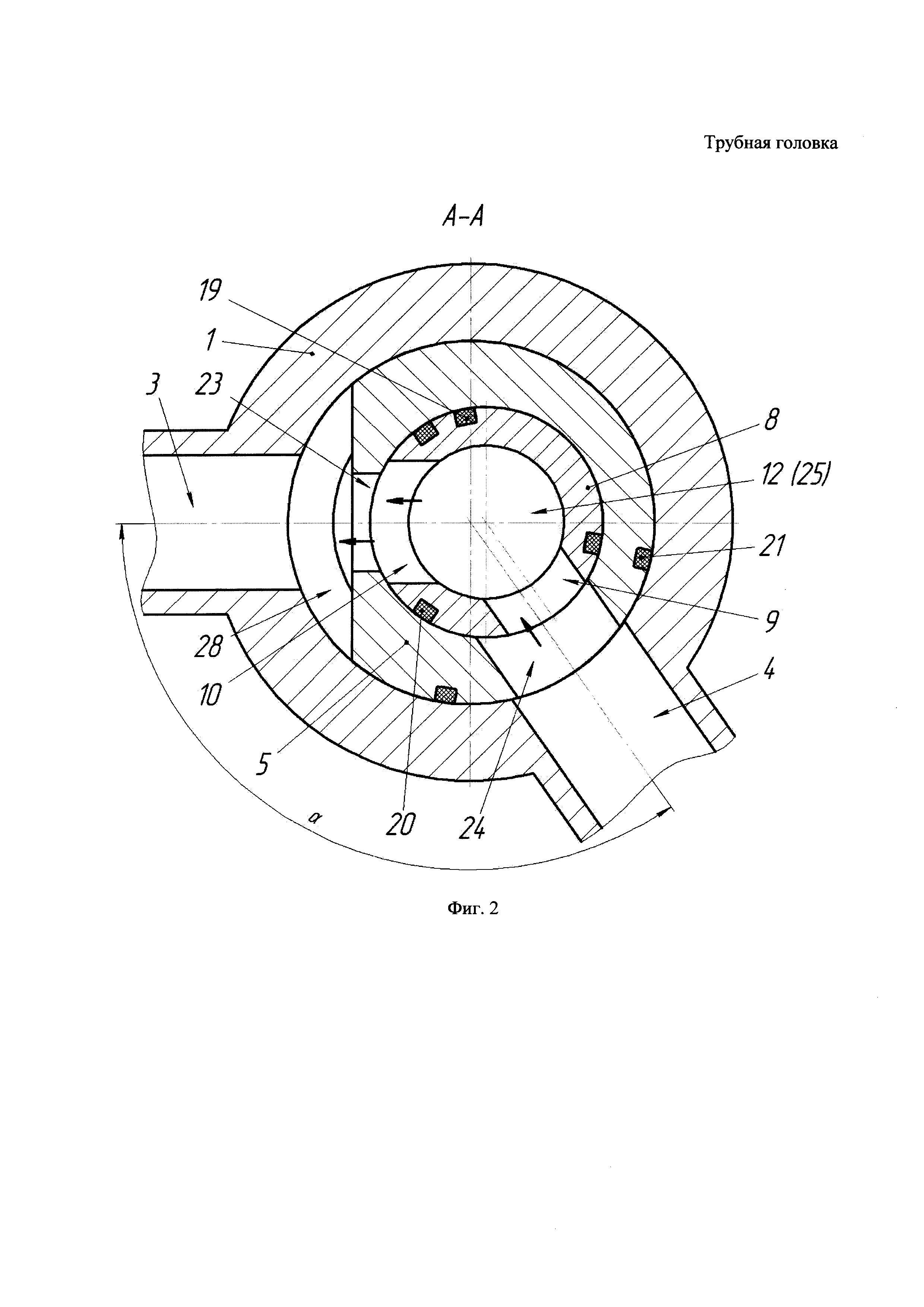
На фиг. 1 схематично изображена трубная головка (вид спереди); на фиг. 2 - разрез А-А по фиг. 1 при выполнении сброса давления в трубной головке; на фиг. 3 - разрез А-А по фиг. 1 в рабочем положении трубной головки; на фиг. 4 - разрез А-А по фиг. 1 при перекрытии в трубной головке линии сбора; на фиг. 5 - разрез Б-Б по фиг. 1.

[25]

Трубная головка включает корпус 1 (фиг. 1) со ступенчатым осевым каналом 2, боковыми исследовательским каналом 3 и линией сбора 4 (фиг. 2-4), трубодержатель 5 (фиг. 1), установленный в осевом канале 2 корпуса 1, для подвески лифтовой колонны 6, крышку 7, втулку 8 с радиальными каналами 9 (фиг. 2-4) и 10, узел поворота, который может быть выполнен, как показано на фиг. 1, в виде лысок 11 на втулке 8 под стандартные гаечные ключи, или отверстия на втулке 8 с рукояткой или другого поворотного устройства (на фигурах не показаны). Трубодержатель 5 и втулка 8 установлены в корпусе 1 герметично так, что линия сбора 4 (фиг. 2-4) корпуса 1 при определенном повороте втулки 8 выполнена с возможностью сообщения через радиальные каналы 9 и 10 втулки 8 с продольным каналом 12 (фиг. 1) трубодержателя 5, а исследовательский канал 3 корпуса 1 выполнен с возможностью сообщения со скважинным пространством 13 снаружи трубодержателя 5. Снизу трубодержателя 5 (фиг. 5) выполнены выступы или пазы 14, взаимодействующие с соответствующими внутренними пазами или выступами 15 корпуса 1 для исключения поворота. Крышка 7 (фиг. 1) может присоединяться к корпусу 1 либо по резьбе, как показано на фиг. 1, либо с помощью фланцевого соединения (на фигурах не показано), либо любого другого соединения, позволяющего зафиксировать трубодержатель 5 от выхода его из корпуса 1.

[26]

Втулка 8 установлена герметично в продольный канал 12 трубодержателя 5 с возможностью поворота при помощи узла поворота 11, расположенного сверху втулки 8 и выше крышки 7. Продольный канал 12 трубодержателя 5 может быть сделан ступенчатым, как на фиг. 1, для размещения втулки 8 или бесступенчатым. При необходимости втулка 8 фиксируется относительно трубодержателя 5 от осевого перемещения, например, гайкой 16, запорным кольцом или другим фиксатором (на фигурах не показаны).

[27]

Герметизация втулки 8 в трубодержателе 5 и трубодержателя 5 в корпусе 1 может быть осуществлена, например, как показано на фиг. 1, уплотнительными кольцами 17, 18 и 19 (фиг. 2), 20 и 21, или за счет обеспечения минимальных зазоров в сопряжениях герметизируемых деталей и нагнетания в сопряжения герметизирующей смазки, или другим способом (на фигурах не показаны).

[28]

Исследовательский канал 3 (фиг. 2-4) и линия сбора 4 размещены на одном уровне перпендикулярно оси 22 (фиг. 1) корпуса 1 под углом α (фиг. 2-4) по его периметру, позволяющим обеспечить сообщение с каналами 23 и 24 трубодержателя 5 так, чтобы при повороте втулки 8 каналы 23 и 24 последовательно и поочередно или вместе открывались и герметично закрывались для сообщения с продольным каналом 25 втулки 8. Угол α, зависящий от диаметров втулки 8 и трубодержателя 5, размеров каналов 23, 24 трубодержателя 5 и 9, 10 втулки 8, типа и размеров уплотнения втулки 8, например колец 19 и 20, определяется конструктивно.

[29]

Работа устройства осуществляется следующим образом.

[30]

На эксплуатационную колонну скважины или колонную головку (на фигурах не показаны) устанавливается корпус 1 (фиг. 1) трубной головки, например, с помощью резьбового или фланцевого, или другого соединения. Соответственно на корпусе 1 должна быть выполнена резьба ниппеля в случае присоединения к муфте эксплуатационной колонны, или ответный фланец при присоединении к колонному фланцу, или другая ответная часть соединения.

[31]

После спуска колонны труб 6 со скважинным оборудованием (на фигурах не показано) на необходимую глубину на верхнюю часть колонны 6 с помощью резьбы 26 присоединяется трубодержатель 5 вместе с втулкой 8, зафиксированной на трубодержателе 5, например, с помощью гайки 16. Колонна 6 подвешивается на трубодержателе 5 в верхнем кольцевом расширении ступенчатого осевого канала 2 корпуса 1, при этом должны быть совмещены пазы 14 (фиг. 5) трубодержателя 5 с выступами 15 корпуса 1 с целью ориентирования канала 23 (фиг. 2-4) трубодержателя 5 в сторону исследовательского канала 3.

[32]

Сборка трубодержателя 5 (фиг. 1) с втулкой 8, фиксируемой на трубодержателе 5 гайкой 16, с уплотнительными кольцами 17 и 18 и 19-21 (фиг. 2) при их использовании, осуществляется на заводе-изготовителе с проведением гидравлических испытаний собранного узла, что исключает необходимость сборки в процессе монтажа на скважине.

[33]

При необходимости в колонну труб 6 (фиг. 1) спускается другое скважинное оборудование, например колонна штанг с штанговым насосом или винтовым насосом или другое оборудование (на фигурах не показаны).

[34]

К верхней части трубной головки, например к резьбе 27, присоединяется устьевой сальник при эксплуатации УСШН, или привод УШВН, или другое оборудование (на фигурах не показаны).

[35]

Поскольку исследовательский канал 3 в рабочем положении втулки 8 постоянно сообщен с затрубным пространством 13, предполагается оснащение предлагаемого устройства на выходе из канала 3 запорным устройством, например угловым вентилем, краном или другим (на фигурах не показано). Линия сбора 4 присоединяется к трубопроводу системы сбора продукции (на фигурах не показан).

[36]

После включения установки для добычи скважинной среды, например УСШН, добываемая скважинная среда (сплошные стрелки (фиг. 3) из колонны труб 6 (фиг. 1) через продольный канал 12 трубодержателя 5, продольный канал 25 и канал 10 (фиг. 3) втулки 8, канал 24 трубодержателя 5 и линию сбора 4 корпуса 1 поступает в наземный трубопровод системы сбора продукции (на фигурах не показан). Канал 24 трубодержателя 5, канал 10 втулки 8 и линия сбора 4 корпуса 1 сообщены - это рабочее положение втулки 8.

[37]

При проведении технологических операций, например при необходимости сброса давления в трубной головке, промывках скважины и других операциях, втулка 8 (фиг. 1) поворотом с помощью узла поворота 11 переводится в положение, как показано на фиг. 2, при котором сообщаются линия сбора 4 и скважинное пространство 13 (фиг. 1) через канал 24 (фиг. 2) трубодержателя 5, каналы 9, 25, 10 втулки 8, канал 23 трубодержателя 5 и канал 28, что позволяет сбросить давление (сплошные стрелки) внутри трубной головки в скважинное пространство 13 (фиг. 1) или создать циркуляцию при промывках.

[38]

Для герметичного перекрытия линии сбора 4 (фиг. 4) втулка 8 поворотом с помощью узла поворота 11 (фиг. 1) переводится в положение, при котором скважинная продукция не поступает в линию сбора 4 (фиг. 4) или продукция, находящаяся в трубопроводе системы сбора продукции (на фигурах не показан), соответственно и в линии сбора 4, не поступает в продольный канал 25 втулки 8 и далее в скважину.

[39]

Предложенное техническое решение позволяет обойтись одним запорным устройством вместо трех, как на типовой арматуре для УСШН в ПАО «Татнефть» АУ 140×50, за счет применения поворотной втулки 8, выполняющей функции двух запорных устройств. При этом исключаются два отвода, соответственно необходимость изготовления отверстий и деталей для обвязки отводов (патрубков, быстроразъемных соединений, угловых отводов и др.) и фланцевого соединения, более рационально используется металл в конструкции деталей, что позволяет существенно снизить металлоемкость арматуры (до 65%) по сравнению с АУ 140×50.

[40]

Все детали трубной головки цилиндрической формы, что позволяет их изготавливать точением с минимальным объемом фрезерных работ.

[41]

Перечисленное позволяет снизить стоимость арматуры в итоге примерно на 30%.

[42]

Расположение боковых отводов корпуса на одном уровне по высоте позволяет снизить высоту расположения устьевого сальника на устье скважины по сравнению с аналогом АШК 50×14 ориентировочно на 170 мм, соответственно на эту величину уменьшается высота арматуры, что наряду с облегчением обслуживания устьевой арматуры приводит к существенному сокращению затрат на монтаж привода УСШН за счет уменьшения высоты отсыпки под плиту привода.

[43]

В предлагаемом устройстве возможно конструктивно добиться равенства поперечных сечений технологических каналов 3, 23 (фиг. 2-4) и 28, позволяющих с минимальными гидравлическими потерями проводить промывку скважинного оборудования в замкнутом цикле, что практически невозможно осуществить в аналоге АШК 50×14, за счет этого расширяются эксплуатационные возможности.

[44]

Исключение отверстий и соединений в трубной головке, работающих под давлением, сокращает вероятность отказов устьевой арматуры в целом, поэтому повысится надежность ее работы.

[45]

Благодаря использованию предлагаемого устройства снижаются материальные затраты за счет упрощения изготовления трубной головки, расширяются эксплуатационные возможности за счет применения в составе как УСШН, так и УВШН, повышается ее надежность за счет упрощения конструкции, сокращения количества соединений, работающих под давлением, при одновременном снижении металлоемкости и габаритных размеров.

Как компенсировать расходы
на инновационную разработку
Похожие патенты