патент
№ RU 2620763
МПК G02B6/46
Номер заявки
2016129874
Дата подачи заявки
21.07.2016
Опубликовано
29.05.2017
Страна
RU
Как управлять
интеллектуальной собственностью
Чертежи 
1
Реферат

Изобретение относится к устройствам волоконно-оптической связи и может быть использовано, в частности, в устройствах компенсации вариаций временной задержки информационных сигналов, переданных на конец многокилометровой волоконно-оптической линии. Заявленная оптическая управляемая линия задержки выполнена в виде намотанного на катушку световода из оптического волокна, изменением температуры которого осуществляется регулирование времени распространения в нем оптического сигнала, катушка при этом размещена внутри герметичной тепловой трубы с рабочей жидкостью. Световод одновременно является фитилем тепловой трубы. Для управления температурой катушки оптического волокна используется электронная система терморегулирования с нагревательными элементами в виде плат Пельтье. Технический результат – увеличение быстродействия волоконно-оптической управляемой линии задержки. 7 з.п. ф-лы, 1 ил.

Формула изобретения

1. Оптическая управляемая линия задержки выполнена в виде намотанного на катушку световода из оптического волокна, изменением температуры которого осуществляется регулирование времени распространения в нем оптического сигнала, отличающаяся тем, что катушка размещена внутри герметичной тепловой трубы с рабочей жидкостью, на которой установлены платы Пельтье.

2. Оптическая управляемая линия задержки по п. 1, отличающаяся тем, что платы Пельтье установлены на торцах тепловой трубы.

3. Оптическая управляемая линия задержки по п. 1, отличающаяся тем, что световод одновременно является фитилем тепловой трубы, так как многослойно намотанное на катушку оптическое волокно и промежутки между его витками создают пористую капиллярную структуру.

4. Оптическая управляемая линия задержки по п. 1, отличающаяся тем, что для подачи и вывода оптического излучения из тепловой трубы используются вакуумно-плотные оптические вводы.

5. Оптическая управляемая линия задержки по п. 1, отличающаяся тем, что для контроля температуры на тепловой трубе устанавливаются датчики температуры.

6. Оптическая управляемая линия задержки по п. 5, отличающаяся тем, что датчики температуры размещены на торцах трубы.

7. Оптическая управляемая линия задержки по п. 1, отличающаяся тем, что для управления температурой катушки оптического волокна используется электронная система терморегулирования с нагревательными элементами в виде плат Пельтье.

8. Оптическая управляемая линия задержки по п. 1, отличающаяся тем, что в качестве рабочей жидкости используется вода.

Описание

[1]

Изобретение относится к устройствам волоконно-оптической связи и может быть использовано, в частности, в устройствах компенсации вариаций временной задержки информационных сигналов, переданных на конец многокилометровой волоконно-оптической линии.

[2]

Известны устройства оптических линий задержки [А. Козанне и др. Оптика и связь. Оптическая передача и обработка информации. М.: Мир, 1984 с. 434-436], в которых оптическая линия задержки представляет собой оптический световод в виде отрезка оптического волокна, временная задержка которого определяется длиной указанного отрезка, причем входной и выходной торцы волокна являются соответственно оптическим входом и выходом линии, передающей информационный сигнал.

[3]

Недостатком такой простой по реализации, полностью оптической линии задержки является невозможность регулировки (подстройки) времени задержки при использовании ее в составе системы передачи информационных сигналов, так как время распространения сигнала в линии задержки определяется длиной отрезка использованного в ней волокна.

[4]

Известны устройства оптических линий задержки, для обеспечения изменения задержки сигнала в которых оптическими переключателями последовательно соединяют между собой отдельные световоды из отрезков оптического волокна все возрастающей длины. Примером может быть Цифровая управляемая волоконная линия задержки (Digitally controlled optical fiber delay line, пат. US 7283708 B2 от 30.12.2003).

[5]

Недостатком такой линии задержки, получаемой из набора последовательно соединяемых отрезков волокна, является то, что невозможна плавная (недискретная) регулировка времени задержки. Кроме того, оптические переключатели вносят дополнительное затухание передаваемого несущего информацию оптического сигнала.

[6]

Известно устройство оптической линии задержки, содержащее устройство растяжения волокна (патент США №7382962 В1 от 06.09.2007 - Fiber stretcher apparatus), которое обеспечивает механическое изменение длины петли оптического волокна путем ее растяжения пьзокерамическим актуатором, что приводит к изменению задержки распространяющегося в образующем петлю отрезке волокна, оптического сигнала. При подаче управляющего электрического сигнала на пьезокерамический актуатор задержка оптического сигнала, распространяющегося в образующем петлю отрезке волокна, изменяется.

[7]

Недостатком такой управляемой оптической линии задержки является малый диапазон регулирования задержки оптического сигнала. Для увеличения диапазона регулирования предложенная конструкция устройства обеспечивает растяжение не одной, а порядка ста петель волокна, которые размещаются на общем подвижном каркасе, размеры которого изменяются пьзокерамическим актуатором. Но и в этом случае диапазон регулирования задержек не превышает 20 пс. Кроме того, недостатком управляемой оптической линии задержки является то, что механическое растяжение волокна приводит к дополнительным шумоподобным возмущениям амплитуды оптического сигнала, получаемого на выходе такой линии задержки.

[8]

Известны устройства оптических линий задержки (пат. RU 2008707) содержащие планарный световод и оптически связанные с ним элементы ввода и вывода излучения, в световод введена группа оптически связанных посредством световода отражающих элементов, обеспечивающих создание замкнутого контура для распространения света, в контур введен также один отклоняющий свет элемент, вход управления которого в момент подачи управляющего сигнала обеспечивает вывод излучения после нескольких циклов его распространения по контуру. Для компенсации расходимости луча и увеличения времени задержки один из отражающих элементов должен иметь фокусирующие свойства.

[9]

Недостатком такой оптической линии задержки является то, что она реализуется не на основе световода из оптического волокна. Для ее создания требуется сверхточная технология, используемая при создании микроэлектронных устройств. Кроме того, диапазон регулирования задержек в такой линии будет малым - не более нескольких десятков пикосекунд.

[10]

Известно универсальное физическое свойство тел - при изменении температуры они изменяют свои линейные размеры. Длина оптического волокна также изменяется при нагревании. Это свойство волокна в оптике характеризуется коэффициентом температурной задержки распространения сигнала в волокне, который для стандартного оптического волокна SMF-28 примерно равен 40 пс/км⋅°С. Изменением температуры металлического каркаса, на который намотан световод в виде катушки оптического волокна, можно осуществлять управление временем задержки распространяющегося в волокне информационного сигнала и на такой основе создать управляемую оптическую линию задержки.

[11]

Но недостатком такой линии задержки с нагреваемым каркасом катушки волокна будет ее очень низкое быстродействие, из-за медленного распространения тепла к волоконному световоду, многослойно намотанному на нагреваемый каркас, так как рыхлая структура из слоев оптического волокна является по существу теплоизолятором.

[12]

Также известны устройства и принцип действия тепловых труб. (Ивановский М.Н., Сорокин В.П., Ягодкин И.В. Физические основы тепловых труб. - М.: Атомиздат, 1978; http://www.trizminsk.org/e/21102100.htm). Быстрая передача тепловой энергии внутри объема тепловой трубы осуществляется парами рабочей жидкости, находящейся вблизи точки фазового перехода из жидкого состояния в газообразное.

[13]

Если герметичную, предварительно откачанную, емкость из хорошо проводящего тепло металла заполнить небольшим количеством воды, то при нагревании одной части такого резервуара он будет быстро заполняться паром. Отметим, что для такой рабочей жидкости, как вода, фазовый переход наступает при комнатной температуре 25°С и давлении ~ 30 мм рт.ст. Распространяющиеся в емкости пары будут конденсироваться на более холодных частях резервуара, отдавая им тепло, превращаться в воду, которая будет стекать под действием гравитации или по капиллярным каналам к месту ее концентрации на дне резервуара. В тепловой трубе для концентрации рабочей жидкости используется так называемый фитиль тепловой трубы. Он выполняется из волокнистого или пористого материала, который смачивается рабочей жидкостью, а потому имеет капиллярные свойства.

[14]

Достигаемым техническим результатом, при использовании заявленного устройства, является увеличение быстродействия волоконно-оптической управляемой линии задержки за счет эффективного управления изменением температуры световода при передаче ему энергии в тепловой трубе.

[15]

Данный технический результат достигается за счет того, что оптическая управляемая линия задержки выполнена в виде намотанного на катушку световода из оптического волокна, изменением температуры которого осуществляется регулирование времени распространения в нем оптического сигнала, катушка размещена внутри герметичной тепловой трубы с рабочей жидкостью, на которой установлены платы Пельтье.

[16]

При этом световод одновременно является фитилем тепловой трубы, так как многослойно намотанное на катушку оптическое волокно и промежутки между его витками создают пористую капиллярную структуру. В качестве рабочей жидкости может использоваться вода.

[17]

Также для подачи и вывода оптического излучения из тепловой трубы используются вакуумно-плотные оптические вводы.

[18]

Для контроля температуры на тепловой трубе устанавливаются датчики температуры.

[19]

Для управления температурой катушки оптического волокна используется электронная система терморегулирования с нагревательными элементами в виде плат Пельтье.

[20]

Особенностью и преимуществом указанного устройства является то, что для эффективного переноса тепла используется принцип работы тепловой трубы, что обеспечивает быстрое управление изменением температуры всей длины световода и, соответственно, быстрое изменение времени задержки

[21]

Изобретение поясняется чертежом.

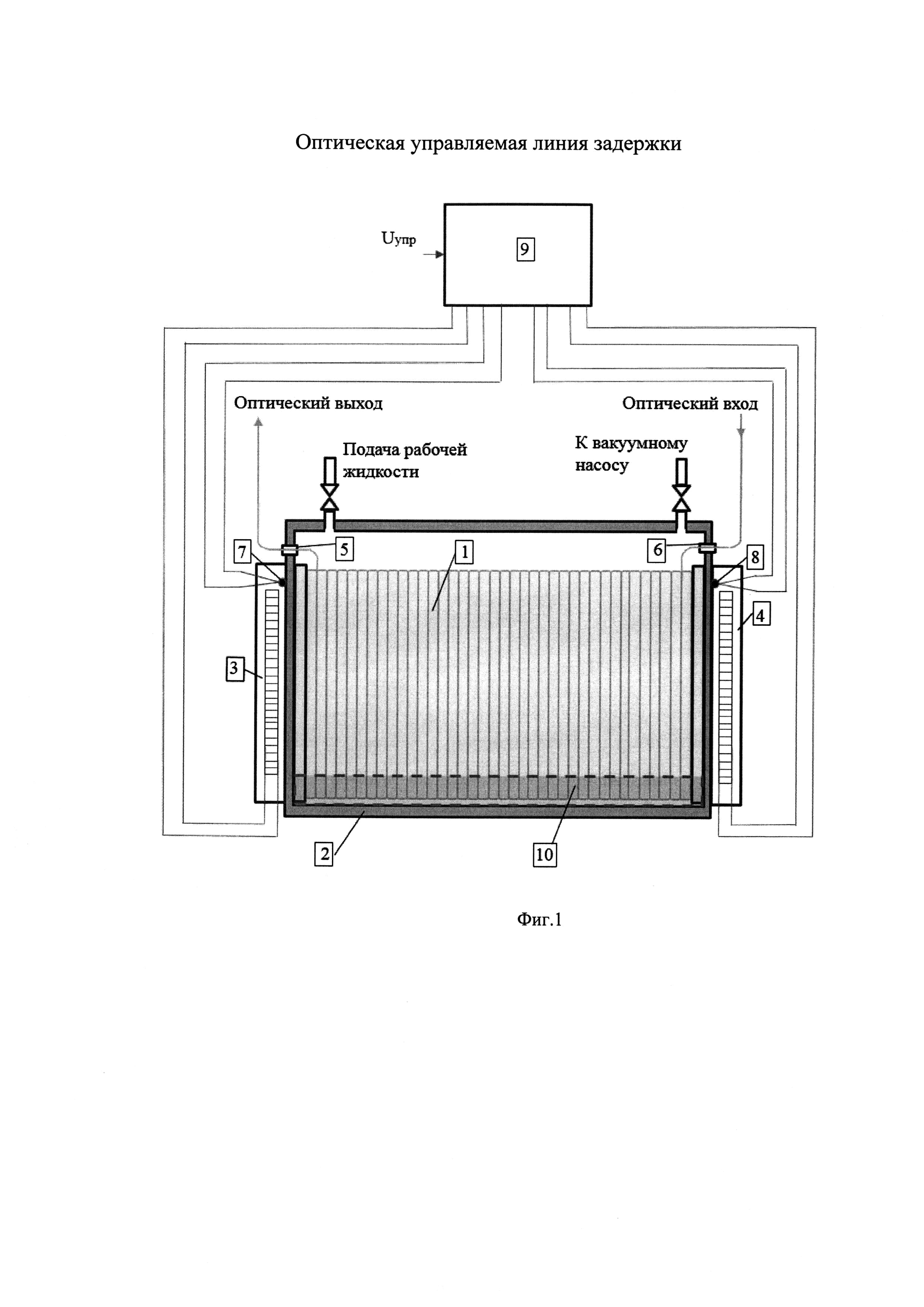
[22]

На фиг. 1 представлена общая схема устройства оптически управляемой линии задержки.

[23]

Линия задержки содержит световод 1 из оптического волокна, намотанный в виде катушки на каркас (на чертеже не оцифрована). Катушка помещена внутри тепловой трубы 2, на торцах которой размещены нагревательные элементы - две платы Пельтье 3 и 4. Ввод и вывод оптического излучения в тепловую трубу к катушке осуществляется через вакуумно-плотные оптические вводы 5 и 6, размещенные в тепловой трубе. Контроль температуры осуществляется с помощью двух датчиков температуры 7 и 8, установленных на торцах тепловой трубы. Управление температурой катушки оптического волокна осуществляется электронной системой терморегулирования 9. Подача рабочей жидкости 10 производится через вентиль (на чертеже не оцифрован) в тепловой трубе.

[24]

Устройство в соответствии с фиг. 1 работает следующим образом.

[25]

Принцип работы оптической управляемой линии задержки основан на изменении температуры волоконного световода, что приводит к изменению показателя преломления и геометрической длины световода. Подавая электрический управляющий сигнал на систему терморегулирования, можно обеспечить изменение температуры световода и, следовательно, изменение времени задержки оптического сигнала, распространяющегося по волоконному световоду и поступающего на выход линии задержки.

[26]

Для получения большого диапазона регулирования времени задержки световод должен быть выполнен из длинного оптического волокна, многослойно намотанного на катушку.

[27]

Но такой световод представляет собой рыхлую структуру, которая обладает большим тепловым сопротивлением и затрудняет теплоперенос от нагревательных элементов непосредственно ко всем виткам волоконного световода. Это приводит к снижению быстродействия линии задержки.

[28]

Эффективный перенос тепла к световоду в настоящей конструкции и повышение быстродействия оптической управляемой линии задержки обеспечивается за счет размещения катушки волокна внутри герметичной металлической трубы, в которой обеспечивается режим работы тепловой трубы. Для этого она после вакуумной откачки заполняется парами рабочей жидкости, используемой в тепловой трубе.

[29]

В известных тепловых трубах теплоперенос осуществляется парами рабочей жидкости. При конденсации или испарении рабочая жидкость отдает или поглощает скрытую теплоту парообразования. В представляемой конструкции многослойно намотанный волоконный световод создает пористую капиллярную структуру, выполняя роль фитиля тепловой трубы.

Как компенсировать расходы
на инновационную разработку
Похожие патенты