Изобретение относится к области электро- и радиоизмерительной техники, а также к приборам пролетного типа, в частности к лампам бегущей волны. Сущность заявленного технического решения заключается в том, что способ определения измеренного сопротивления поглотителя Rвключает следующие этапы: устанавливают измерительные электроды так, чтобы выполнялось соотношение: 1-p/b=1,0; 2-p/b=0,5; 3-p/b=0,25; 4-p/b=0,1; 5-p/b=0,05; 6-p/b=0,025; 7-p/b=0,01, где p - ширина поглощающей пленки, b- расстояние между центрами контактов измерительных электродов, при этом измеряют поверхностное сопротивление Rи определяют сопротивление поглотителя Rпо формуле:где N - номера прямых линий, выраженных зависимостью отношения поверхностного сопротивления поглотителя к его измеренному сопротивлению от натурального логарифма отношения удвоенного расстояния между центрами измерительных электродов к диаметру контактного пятна измерительного электрода с поглощающей пленкой, реализующей поглотитель.Техническим результатом настоящего изобретения является возможность определения измеренного сопротивления, для получения заданного (исходя из условий получения требуемых выходных характеристик приборов, где применяется этот поглотитель) поверхностного сопротивления. 1 ил.
Способ определения измеренного сопротивления поглотителя Rm, заключающийся в том, что устанавливают измерительные электроды так, чтобы выполнялось соотношение: 1-p/b1=1,0; 2-p/b1=0,5; 3-p/b1=0,25; 4-p/b1=0,1; 5-p/b1=0,05; 6-p/b1=0,025; 7-p/b1=0,01, где p - ширина поглощающей пленки, b1 - расстояние между центрами контактов измерительных электродов, при этом измеряют поверхностное сопротивление R□ и определяют сопротивление поглотителя Rm по формуле: где N - номера прямых линий, выраженных зависимостью отношения поверхностного сопротивления поглотителя к его измеренному сопротивлению от натурального логарифма отношения удвоенного расстояния между центрами измерительных электродов к диаметру контактного пятна измерительного электрода с поглощающей пленкой, реализующей поглотитель.
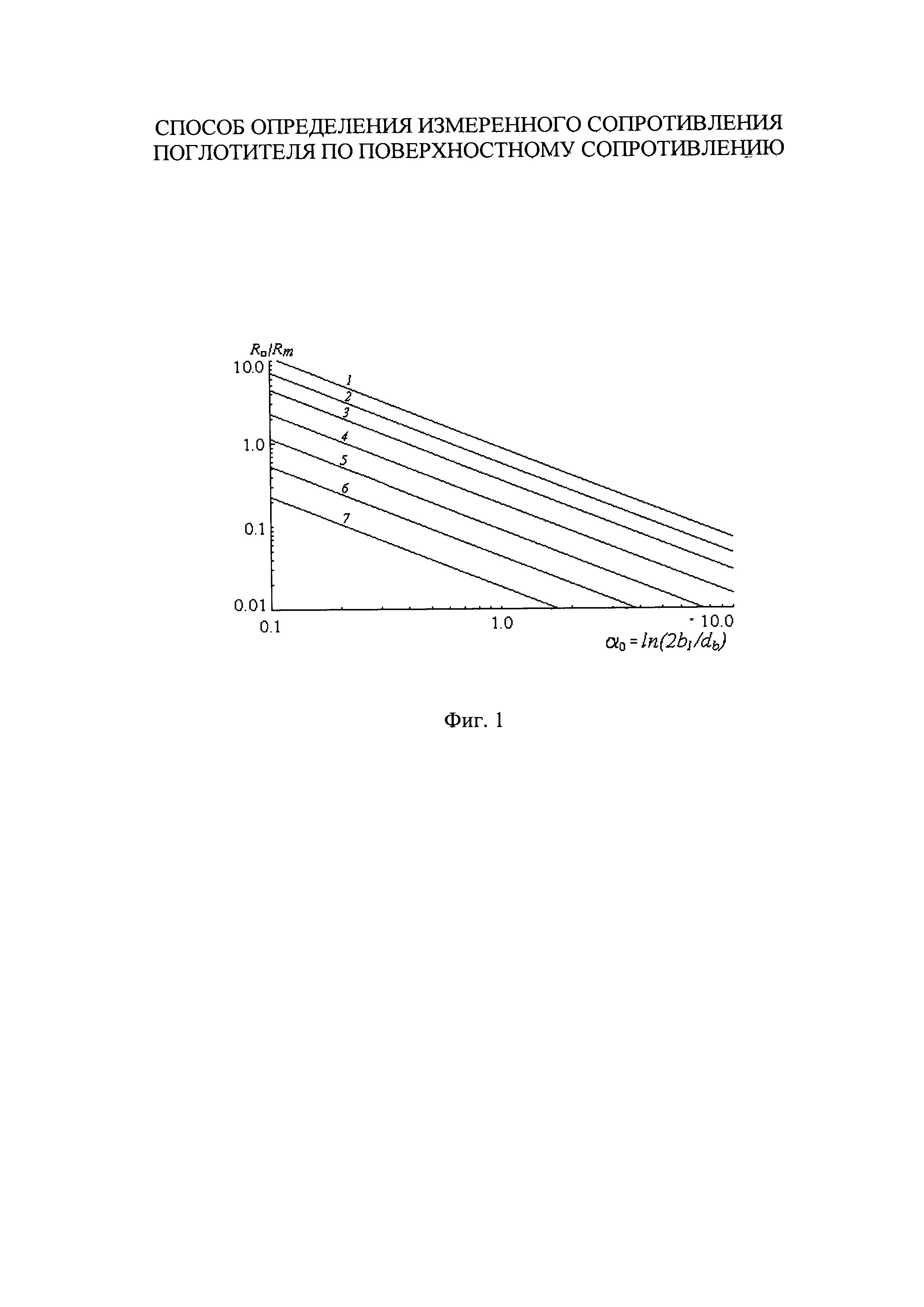
Изобретение относится к области электро- и радиоизмерительной техники, а также к приборам пролетного типа, в частности к лампам бегущей волны. Известны технические решения [Луговой В.А. Определение поверхностного сопротивления пленочных поглотителей СВЧ энергии // Обмен опытом в электронной промышленности. 1969. Год издания третий. №5. С. 85-89], [Ильина Е.М., Поздняков Л.В. Программа расчета поверхностного сопротивления пленочных поглотителей СВЧ-энергии по измеренному сопротивлению // Материалы междунар. науч.-техн. конф. «Актуальные проблемы электронного приборостроения (АПЭП-2004)», 15-16 сент. 2004. Саратов: Изд-во Сарат. ун-та, 2004. С. 5-12], в которых представлен способ определения поверхностного сопротивления поглотителя по измеренному сопротивлению. В работе [Луговой В.А. Определение поверхностного сопротивления пленочных поглотителей СВЧ энергии // Обмен опытом в электронной промышленности. 1969. Год издания третий. №5. С. 85-89] в знаменателе формулы для коэффициента, определяющего отношение поверхностного сопротивления к измеренному, вместо разности косинусов стоит их сумма, а первое слагаемое аргумента арксинуса имеет знак «минус» вместо знака «плюс». В работе [Ильина Е.М., Поздняков Л.В. Программа расчета поверхностного сопротивления пленочных поглотителей СВЧ-энергии по измеренному сопротивлению // Материалы междунар. науч. - техн. конф. «Актуальные проблемы электронного приборостроения (АПЭП-2004)», 15-16 сент. 2004. Саратов: Изд-во Сарат. ун-та, 2004. С. 5-12] эти знаки исправлены на верные. Однако в ряде случаев целесообразно выработать новое техническое решение, обратное вышеупомянутому, а именно - разработать способ определения измеренного сопротивления поглотителя по известному поверхностному сопротивлению. При этом должны быть приняты во внимание такие параметры поглотителя, как ширина поглощающей пленки, величина омического сопротивления ее на постоянном токе и расстояние между центрами контактов измерительных электродов с пленкой. Техническим результатом настоящего изобретения является возможность определения измеренного сопротивления, которое реализуется на практике для получения заданного (исходя из условий обеспечения требуемых выходных характеристик приборов, где применяется этот поглотитель) поверхностного сопротивления. Данный результат достигается тем, что зависимость отношения поверхностного сопротивления к измеренному сопротивлению от натурального логарифма отношения удвоенного расстояния между центрами измерительных электродов к диаметру контактного пятна измерительного электрода с поглощающей пленкой, реализующей поглотитель, выражается набором параллельных прямых линий, проходящих под углом к осям декартовой системы координат, построенной в логарифмическом масштабе. При этом параллельные прямые линии соответствуют разным значениям отношения ширины поглощающей пленки к расстоянию между центрами контактов измерительных электродов с ней. А измеренное сопротивление поглотителя Rm определяется через поверхностное сопротивление Rm= где N - номера прямых линий по п. 1, 2, соответствующие следующим значениям ширины поглощающей пленки р, отнесенной к расстоянию между центрами контактов измерительных электродов b1: 1-р/b1=1,0; 2-р/b1=0,5; 3-р/b1=0,25; 4-p/b1=0,1; 5-р/b1=0,05; 6-р/b1=0,025; 7-р/b1=0,01. Промежуточным значениям величины р/b1 между вышеуказанными будут соответствовать промежуточные значения Rm, вычисленные в логарифмическом масштабе. Способ поясняется чертежом, где на фиг. 1 представлена зависимость отношения поверхностного сопротивления поглотителя к его измеренному сопротивлению от натурального логарифма отношения удвоенного расстояния между центрами измерительных электродов к диаметру контактного пятна измерительного электрода с поглощающей пленкой. Номера кривых соответствуют вышеперечисленным значениям отношения ширины р поглощающей пленки к расстоянию b1 между центрами контактов измерительных электродов с ней. Видно, что с увеличением этого отношения кривые сближаются между собой. И для значений p/b1>1 можно, по-видимому, воспользоваться кривой номер 1. Источники информации 1. Ильина Е.М., Поздняков Л.В. Программа расчета поверхностного сопротивления пленочных поглотителей СВЧ-энергии по измеренному сопротивлению // Материалы междунар. науч.-техн. конф. «Актуальные проблемы электронного приборостроения (АПЭП-2004)», 15-16 сент. 2004. Саратов: Изд-во Сарат. ун-та, 2004. С. 5-12. 2. Луговой В.А. Определение поверхностного сопротивления пленочных поглотителей СВЧ энергии // Обмен опытом в электронной промышленности. 1969. Год издания третий. №5. С. 85-89.
по формуле
[-17,5512+11,514N+1,2772 N2]-1,