патент
№ RU 2680164
МПК G01N3/32

Стенд для проведения испытаний металла в зоне контактного взаимодействия колеса с рельсом и способ проведения испытаний

Авторы:
Кочетков Евгений Владимирович
Номер заявки
2018110403
Дата подачи заявки
23.03.2018
Опубликовано
18.02.2019
Страна
RU
Как управлять
интеллектуальной собственностью
Чертежи 
2
Реферат

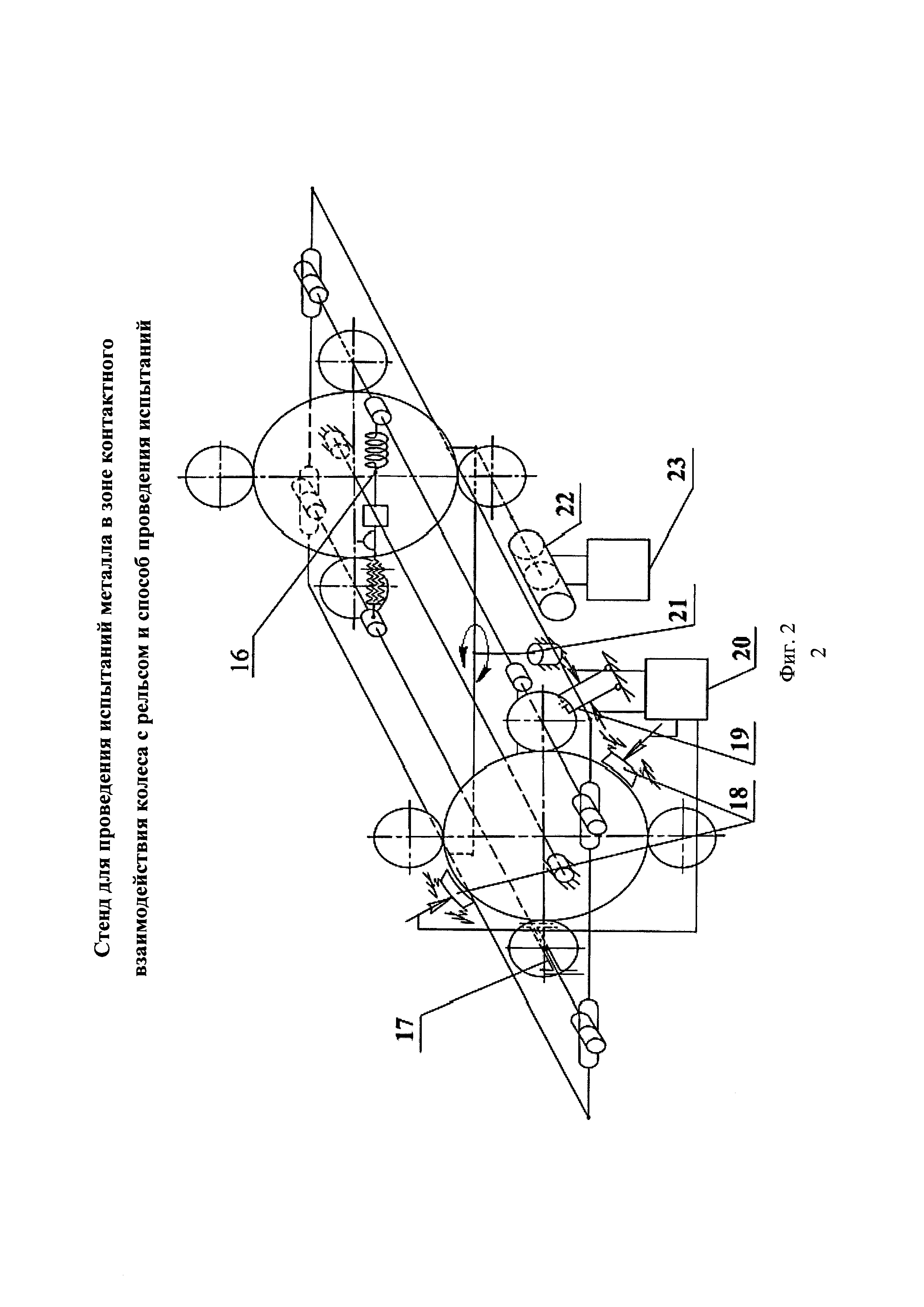
Изобретения относятся к области исследования прочностных свойств твердых материалов путем приложения к ним повторяющихся механических усилий, в частности к исследованию прочности металла в зоне контактного взаимодействия колеса с рельсом. Стенд содержит устройство для установки и крепления в нем через буксовые подшипники испытываемой колесной пары, механизм, приводящий колесную пару во вращение, раму с установленным на ней катком, форма поперечного сечения профильных колес которого в зоне контакта с колесами колесной пары выполнена в форме рельса. На раме, состоящей из одной или нескольких плоских рам, жестко закрепленных относительно испытываемой колесной пары, установлено четное количество катков, у которых форма поперечного сечения профильных колес в зоне контакта с колесами испытываемой колесной пары выполнена в форме рельса. Катки в раме стенда установлены посредством подшипников, наружные корпуса которых крепятся через скользуны, обеспечивающие возможность перемещения катков в направлении, перпендикулярном оси испытываемой колесной пары. Заданная величина контактного давления на колеса со стороны катков создается силовыми устройствами, которые включают в себя пружину, механизм натяжения пружины, устройство для фиксации механизма натяжения пружины в заданном положении, устройство для замера величины натяжения пружины, разъемную рамку, позволяющую обвести указанное силовое устройство вокруг оси испытываемой колесной пары, и два подшипниковых узла, посредством которых сила натяжения пружины передается на оси вращающихся катков. Меняя положение профильных колес на оси катков, можно задавать положение и ширину зоны, на которой будут проводиться испытания металла в зоне контактного взаимодействия колеса с рельсом, а также величину проскальзывания этой зоны относительно поверхности колеса. Способ проведения испытаний, использующий описанный стенд, заключается в испытании металла в зоне контактного взаимодействия колес испытываемой колесной пары и профильных колес катков, которые имитируют собою поверхность катания рельсов. Технический результат заключается в сокращении сроков стендовых испытаний зоны контактного взаимодействия колеса с рельсом, снижении общей массы стенда, упрощение процесса управления работой стенда. 3 н. и 10 з.п. ф-лы, 2 ил.

Формула изобретения

1. Стенд для испытания зоны контактного взаимодействия колеса с рельсом, содержащий устройство для установки и крепления в нем через буксовые подшипники испытываемой колесной пары, механизм, приводящий колесную пару во вращение, раму с установленным на ней катком, форма поперечного сечения профильных колес которого в зоне контакта с колесами колесной пары выполнена в форме рельса, отличающийся тем, что на раме, состоящей из одной или нескольких плоских рам, жестко закрепленных относительно испытываемой колесной пары, установлено четное количество катков, профильные колеса которых закреплены на оси каждого из катков с возможностью перемещения вдоль осей катков, причем оси каждой пары катков расположены в одной плоскости с осью испытываемой колесной пары по обе стороны от нее, катки установлены в раме посредством подшипников, наружные корпуса которых крепятся в раме через скользуны, обеспечивающие возможность перемещения катков в направлении, перпендикулярном оси испытываемой колесной пары, заданная величина контактного давления на колеса со стороны катков создается двумя одинаковыми силовыми устройствами, расположенными на равном расстоянии от плоскости симметрии испытываемой колесной пары, перпендикулярной к ее оси, причем каждое из этих силовых устройств включает в себя пружину, механизм натяжения пружины, устройство для фиксации механизма натяжения пружины в заданном положении, устройство для замера величины натяжения пружины, разъемную рамку, позволяющую обвести указанное силовое устройство вокруг оси испытываемой колесной пары, и два подшипниковых узла, посредством которых сила натяжения пружины передается на оси вращающихся катков.

2. Стенд по п. 1, отличающийся тем, что хотя бы одно из профильных колес катка может быть посажено на его ось через подшипник для исключения возможности проскальзывания профильных колес катка относительно колес испытываемой колесной пары.

3. Стенд по п. 1, отличающийся тем, что к колесам испытываемой колесной пары могут быть подведены колодочные тормоза, с целью имитации их воздействия на контактную поверхность колеса при эксплуатации.

4. Стенд по п. 1, отличающийся тем, что к одному или нескольким каткам могут быть подведены дисковые тормоза с целью имитации дополнительного проскальзывания колес испытываемой колесной пары относительно рельсов при торможении состава или при пробуксовке обмоторенной колесной пары.

5. Стенд по п. 1, отличающийся тем, что крепление испытываемой колесной пары и рамы, в которой установлены катки, может осуществляться с возможностью их взаимного поворота вокруг вертикальной оси симметрии, перпендикулярной по отношению к оси колесной пары, а управление этим поворотом может осуществляться посредством дополнительно установленного в стенде гидравлического цилиндра с контролируемым положением штока, приводимого в движение по заданной программе гидронасосной станцией с блоком управления.

6. Способ проведения испытаний металла в зоне контактного взаимодействия колеса с рельсом на стенде по п. 1, заключающийся в испытании металла в зоне контактного взаимодействия колес испытываемой колесной пары и профильных колес катков, которые имитируют собою поверхность катания рельсов, отличающийся тем, что заданную величину контактного взаимодействия колес испытываемой колесной пары с профильными колесами катков создают путем натяжения пружин, входящих в состав силовых устройств, расположенных между катками на равном расстоянии от плоскости симметрии испытываемой колесной пары, перпендикулярной к ее оси, при этом контроль натяжения пружин осуществляют посредством устройства, для замера величины натяжения пружины, а при достижении заданной величины натяжения производят фиксацию механизма натяжения пружин, причем диаметры обоих профильных колес каждого из катков и диаметры обоих колес испытываемой колесной пары выполняют одинаковыми, а профильные колеса жестко закрепляют на оси каждого из катков на равных расстояниях от торцов ободов колес испытываемой колесной пары, за счет чего окружности, по которым происходит контакт колес колесной пары с профильными колесами катков, имеют одинаковые диаметры, что позволит проводить их испытание в условиях минимального проскальзывания, причем за один оборот испытываемой колесной пары в каждом секторе колеса производится число циклов нагружений поверхности его катания, равное количеству катков, установленных в стенде.

7. Способ проведения испытаний по п. 6 на стенде по п. 1, отличающийся тем, что профильные колеса, жестко закрепленные на оси каждого из катков, устанавливают на неравных расстояниях от торцов ободов колес испытываемой колесной пары, за счет чего окружности, по которым происходит контакт колес колесной пары с профильными колесами катков, имеют разные диаметры, что позволит проводить их испытание в условиях заданного проскальзывания, причем величину этого проскальзывания определяют как разность длин окружностей колес испытываемой колесной пары, которыми они катятся по профильным колесам катка.

8. Способ испытания зоны контактного взаимодействия колеса с рельсом по п. 6 на стенде по п. 2, отличающийся тем, что профильные колеса катка устанавливают на оси катка на любом выбранном расстоянии от торцов ободов колес испытываемой колесной пары, что позволит проводить испытание разных зон поверхностей катания колес испытываемой колесной пары в условиях отсутствия их проскальзывания, при этом диаметры обоих профильных колес катка и обоих колес испытываемой колесной пары могут быть неодинаковыми.

9. Способ испытания зоны контактного взаимодействия колеса с рельсом по пп. 6-8 на стенде по пп. 1 или 2, отличающийся тем, что профильные колеса на всех катках стенда располагают на одинаковых заданных расстояниях от торцов ободов каждого из колес испытываемой колесной пары, в результате чего испытания проводят в узких зонах поверхностей катания при максимальной частоте нагружения этих зон, причем испытания проводят как в условиях отсутствия проскальзывания колес колесной пары относительно профильных колес катков, так и в условиях их заданного проскальзывания.

10. Способ испытания зоны контактного взаимодействия колеса с рельсом по пп. 6-8 на стенде по пп. 1 или 2, отличающийся тем, что профильные колеса на разных катках стенда располагают на неодинаковых расстояниях от торцов ободов каждого из колес испытываемой колесной пары, эти расстояния охватывают всю поверхность контактного взаимодействия колеса с рельсом, причем испытания проводят как в условиях отсутствия проскальзывания колес колесной пары относительно профильных колес катков, так и в условиях их заданного проскальзывания, а число циклов нагружения каждой из зон поверхности катания колеса подбирают соответствующим реальному числу циклов нагружения этих зон во время эксплуатации.

11. Способ испытания зоны контактного взаимодействия колеса с рельсом по пп. 6-10 на стенде по пп. 1-3, отличающийся тем, что в процессе проведения испытаний периодически осуществляют колодочное торможение испытываемой колесной пары с целью учета влияния на результаты испытаний происходящего при этом дополнительного снятия упрочненного слоя металла с контактной поверхности колес.

12. Способ испытания зоны контактного взаимодействия колеса с рельсом по пп. 6-10 на стенде по пп. 1, 3, 4, отличающийся тем, что в процессе проведения испытаний периодически осуществляют дисковое торможение одного или нескольких катков с целью учета влияния на результаты испытаний происходящего при этом дополнительного снятия упрочненного слоя металла с контактной поверхности профильных колес катка и колес испытываемой колесной пары.

13. Способ испытания зоны контактного взаимодействия колеса с рельсом по пп. 6-9, 11, 12 на стенде по пп. 1-5, отличающийся тем, что для имитации влияния на прочность и износостойкость металла в зоне контактного взаимодействия колеса с рельсом поворотов испытываемой колесной пары относительно рельсов периодически производят повороты испытываемой колесной пары по отношению к раме, в которой установлены катки, причем повороты осуществляют по заданной программе посредством гидравлического цилиндра с контролируемым положением штока, приводимым в движение гидронасосной станцией с блоком управления.

Описание

[1]

Изобретение относится к области исследования прочностных свойств твердых материалов путем приложения к ним повторяющихся механических усилий, в частности к исследованию прочности металла в зоне контактного взаимодействия колеса с рельсом.

[2]

Известны катковые стенды [1, 2, 3], позволяющие проводить исследование прочности и износостойкости металла в зоне контактного взаимодействия колеса с рельсом и способ проведения испытания зоны контактного взаимодействия колеса с рельсом на этих стендах. В Катковых стендах колеса исследуемой колесной пары (далее по тексту ИКП) перекатываются по двум профильным колесам, изготовленным из рельсовой стали. Поперечные сечения этих колес в зоне контакта выполнены в форме профиля поперечного сечения рельса. В стендах различной конструкции два профильных колеса могут быть связаны между собой общей осью, образуя единый каток [1, 2], или могут быть расположены на двух отдельных осях [3]. Вращение от электродвигателя может передаваться на каток [1, 2] или на испытываемую колесную пару [3]. Заданная вертикальная нагрузка между профильными колесами и колесами ИКП создается гидравлическими цилиндрами. С целью имитации различных величин давления колес ИКП на рельсы и различных видов смещений, которые возникают при движении колесной пары по рельсовому пути, в указанных стендах предусмотрена возможность управляемого давления колес ИКП на профильные колеса и управляемого перемещения ИКП относительно профильных колес. Управление происходит за счет использования нескольких силовых гидравлических цилиндров.

[3]

Одним из недостатков указанных стендов и способа проведения испытания зоны контактного взаимодействия колеса с рельсом на этих стендах является низкая частота нагружения зоны контактного взаимодействия колеса с рельсом: одно нагружение зоны контакта колеса ИКП в каждом из его секторов происходит за один оборот колесной пары. Это приводит к увеличению сроков испытания. Другим недостатком указанных стендов и способа проведения испытаний на них является то, что для обеспечения заданных сил, действующих между колесом и рельсом, приходится нагружать практически всю рамную конструкцию стенда. Так в стендах [1, 2] замыкание действующих в них сил происходит через силовые элементы, связывающие между собой опоры гидравлических цилиндров, создающих эти силы, с опорами катка, на котором установлены профильные колеса, а в стенде [3] - через опоры гидравлических цилиндров и буксовые подшипники ИКП. Указанные элементы находятся на значительном расстоянии друг от друга, поэтому испытательные стенды получаются громоздкими и тяжелыми. В процессе проведения испытаний на стендах [1, 2, 3] гидроцилиндрами создается вся гамма нагрузок, действующих на ИКП в процессе ее эксплуатации. Разработка программы управления работой гидроцилиндров для создания таких нагрузок и реализация этой программы представляет собой отдельную трудную задачу, что также можно отнести к недостаткам указанных стендов.

[4]

Техническим результатом предлагаемого изобретения является возможность проведения стендовых испытаний зоны контактного взаимодействия колеса с рельсом в более сжатые сроки, возможность имитации разной степени взаимного проскальзывания колеса и рельса, снижение общей массы стенда за счет более рационального распределения в нем силовых потоков, упрощение процесса управления работой стенда.

[5]

Технический результат достигается тем, что в стенде для испытания зоны контактного взаимодействия колеса с рельсом, содержащем устройство для установки и крепления в нем через буксовые подшипники испытываемой колесной пары, механизм, приводящий колесную пару во вращение, раму с установленным на ней катком, форма поперечного сечения профильных колес которого в зоне контакта с колесами колесной пары выполнена в форме рельса, на раме, состоящей из одной или нескольких плоских рам, жестко закрепленных относительно испытываемой колесной пары, установлено четное количество катков, профильные колеса которых закреплены на оси каждого из катков с возможностью перемещения вдоль осей катков, причем оси каждой пары катков расположены в одной плоскости с осью испытываемой колесной пары по обе стороны от нее, катки установлены в раме посредством подшипников, наружные корпуса которых крепятся в раме через скользуны, обеспечивающие возможность перемещения катков в направлении, перпендикулярном оси испытываемой колесной пары, заданная величина контактного давления на колеса со стороны катков создается двумя одинаковыми силовыми устройствами, расположенными на равном расстоянии от плоскости симметрии испытываемой колесной пары, перпендикулярной к ее оси, причем каждое из этих силовых устройств включает в себя пружину, механизм натяжения пружины, устройство для фиксации механизма натяжения пружины в заданном положении, устройство для замера величины натяжения пружины, разъемную рамку, позволяющую обвести указанное силовое устройство вокруг оси испытываемой колесной пары, и два подшипниковых узла, посредством которых сила натяжения пружины передается на оси вращающихся катков.

[6]

Также технический результат достигается тем, что:

[7]

- в стенде хотя бы одно из профильных колес катка может быть посажено на его ось через подшипник для исключения возможности проскальзывания профильных колес катка относительно колес испытываемой колесной пары.

[8]

- в стенде к колесам испытываемой колесной пары могут быть подведены колодочные тормоза для имитации их воздействия на контактную поверхность колеса при эксплуатации.

[9]

- в стенде к одному или нескольким каткам могут быть подведены дисковые тормоза для имитации дополнительного проскальзывания колес испытываемой колесной пары относительно рельсов при торможении состава или при пробуксовке обмоторенной колесной пары.

[10]

- в стенде крепление испытываемой колесной пары и рамы, в которой установлены катки, может осуществляться с возможностью их взаимного поворота вокруг вертикальной оси симметрии перпендикулярной по отношению к оси колесной пары, а управление этим поворотом может осуществляться посредством дополнительно установленного в стенде гидравлического цилиндра с контролируемым положением штока, приводимого в движение по заданной программе гидронасосной станцией с блоком управления.

[11]

Также технический результат достигается тем, что в способе проведения испытаний металла в зоне контактного взаимодействия колеса с рельсом, заключающемся в испытании металла в зоне контактного взаимодействия колес испытываемой колесной пары и профильных колес катков, которые имитируют собою поверхность катания рельсов, заданную величину контактного взаимодействия колес испытываемой колесной пары с профильными колесами катков создают путем натяжения пружин, входящих в состав силовых устройств, расположенных между катками на равном расстоянии от плоскости симметрии испытываемой колесной пары, перпендикулярной к ее оси, при этом контроль натяжения пружин осуществляют посредством устройства для замера величины натяжения пружины, а при достижении заданной величины натяжения производят фиксацию механизма натяжения пружин, причем диаметры обоих профильных колес каждого из катков и диаметры обоих колес испытываемой колесной пары выполняют одинаковыми, а профильные колеса жестко закрепляют на оси каждого из катков на равных расстояниях от торцов ободов колес испытываемой колесной пары, за счет чего окружности, по которым происходит контакт колес колесной пары с профильными колесами катков, имеют одинаковые диаметры, что позволит проводить их испытание в условиях минимального проскальзывания, причем за один оборот испытываемой колесной пары в каждом секторе колеса производится число циклов нагружений поверхности его катания равное количеству катков, установленных в стенде. Также технический результат достигается тем, что:

[12]

- в способе проведения испытаний профильные колеса, жестко закрепленные на оси каждого из катков, устанавливают на неравных расстояниях от торцов ободов колес испытываемой колесной пары, за счет чего окружности, по которым происходит контакт колес колесной пары с профильными колесами катков имеют разные диаметры, что позволит проводить их испытание в условиях заданного проскальзывания, причем величину этого проскальзывания определяют как разность длин окружностей колес испытываемой колесной пары, которыми они катятся по профильным колесам катка;

[13]

- в способе проведения испытаний в случае когда, хотя бы одно из профильных колес посажено на ось катка через подшипник, профильные колеса устанавливают на оси катка на любом выбранном расстоянии от торцов ободов колес испытываемой колесной пары, что позволит проводить испытание разных зон поверхностей катания колес испытываемой колесной пары в условиях отсутствия их проскальзывания, при этом диаметры обоих профильных колес катка и обоих колес испытываемой колесной пары могут быть неодинаковыми;

[14]

- в способе проведения испытаний профильные колеса на всех катках стенда располагают на одинаковых заданных расстояниях от торцов ободов каждого из колес испытываемой колесной пары, в результате чего испытания проводят в узких зонах поверхностей катания при максимальной частоте нагружения этих зон, причем испытания проводят как в условиях отсутствиях проскальзывания колес колесной пары относительно профильных колес катков, так и в условиях их заданного проскальзывания;

[15]

- в способе проведения испытаний профильные колеса на разных катках стенда располагают на неодинаковых расстояниях от торцов ободов каждого из колес испытываемой колесной пары, эти расстояния охватывают всю поверхность контактного взаимодействия колеса с рельсом, причем испытания проводят как в условиях отсутствиях проскальзывания колес колесной пары относительно профильных колес катков, так и в условиях их заданного проскальзывания, а число циклов нагружения каждой из зон поверхности катания колеса подбирают соответствующим реальному числу циклов нагружения этих зон во время эксплуатации;

[16]

- в способе проведения испытаний периодически осуществляют колодочное торможение испытываемой колесной пары с целью учета влияния на результаты испытаний происходящего при этом дополнительного снятия упрочненного слоя металла с контактной поверхности колес;

[17]

- в способе проведения испытаний периодически осуществляют дисковое торможение одного или нескольких катков с целью учета влияния на результаты испытаний происходящего при этом дополнительного снятия упрочненного слоя металла с контактной поверхности профильных колес катка и колес испытываемой колесной пары;

[18]

- в способе проведения испытаний для имитации влияния на прочность и износостойкость металла в зоне контактного взаимодействия колеса с рельсом поворотов испытываемой колесной пары относительно рельсов периодически производят повороты испытываемой колесной пары по отношению к раме, в которой установлены катки, причем повороты осуществляют по заданной программе посредством гидравлического цилиндра с контретируемым положением штока, приводимым в движение гидронасосной станцией с блоком управления.

[19]

На фиг. 1 представлена общая схема предлагаемого стенда с четырьмя профильными колесами.

[20]

На фиг. 2 представлена общая схема предлагаемого стенда с восьмью профильными колесами.

[21]

Стенд для испытания металла в зоне контактного взаимодействия колеса с рельсом содержит устройство (на фиг. не показано), посредством которого ИКП 1 через установленные на ней буксовые подшипники 2 крепится в стенде, механизм приводящий ИКП 1 во вращение (на фиг. не показан), раму 3 с закрепленными в ней катками 4, форма поперечного сечения профильных колес 5 которых, в зоне их контакта с колесами 6 ИКП 1 выполнена в форме рельса.

[22]

Рама 3 жестко закреплена относительно ИКП 1, на раме 3 установлено четное количество катков 4, профильные колеса 5 которых закреплены на оси катков с возможностью перемещения вдоль этой оси, причем оси каждой пары катков расположены в одной плоскости с осью испытываемой колесной пары по обе стороны от нее. Катки 4 установлены в раме 3 посредством подшипников 7, наружные корпуса которых крепятся в раме 3 через скользуны 8, обеспечивающие возможность перемещения катков 4 в направлении, перпендикулярном оси ИКП 1.

[23]

Заданная величина контактного давления на колеса 6 ИКП 1 со стороны катков 4, создается двумя одинаковыми силовыми устройствами 9, расположенными на равном расстоянии от плоскости симметрии ИКП 1, перпендикулярной к ее оси. Каждое из силовых устройств 9 включает в себя пружину 10, механизм натяжения 11 пружины 10, устройство 12 для фиксации механизма 11 натяжения пружины 10 в заданном положении, устройство 13 для замера величины натяжения пружины 10, разъемную рамку 14, которая позволяет обвести силовое устройство 9 вокруг оси ИКП 1, и два подшипниковых узла 15, посредством которых сила натяжения пружины 10 передается на оси вращающихся катков 4. Хотя бы одно из профильных колес 5 катков 4 может быть посажено на ось через подшипник 17 (фиг. 2). Все перечисленные элементы силовых устройств 9 соединены между собой шарнирами 16 (фиг. 1, 2).

[24]

К колесам испытываемой колесной пары 1 могут быть подведены колодочные тормоза 18, а к одному или нескольким каткам - дисковые тормоза 19 с пневматической системой управления 20 (фиг. 2).

[25]

Крепление ИКП 1 и рамы 3, в которой установлены катки 4, может осуществляться с возможностью их относительного поворота вокруг вертикальной оси симметрии 21 колесной пары, перпендикулярной по отношению к оси колесной пары, а управление этим поворотом может осуществляться посредством дополнительно установленного в стенде гидравлического цилиндра 22 с контролируемым положением штока, приводимого в движение по заданной программе гидронасосной станцией 23 с блоком управления.

[26]

При проведении испытаний следует обратить внимание на различное поведение металла в зоне контактного взаимодействия колеса с рельсом в случаях разных величин их взаимного проскальзывания. Во время эксплуатации проскальзывание происходит за счет того, что при движении железнодорожного состава в кривых оба колеса, будучи жестко посажены на единую ось, вращаются с одинаковой угловой скоростью, но движутся по рельсам разной длины. Кроме того, проскальзывание происходит за счет нецилиндрической формы поверхности катания колес, в результате чего при вилянии тележки контакт правого и левого колеса с рельсом происходит на разных радиусах. Помимо этого проскальзывание может происходить при торможении состава и при пробуксовке колесных пар локомотивов и моторвагонного подвижного состава во время трогания. При малых величинах проскальзывания и больших величинах контактных напряжений происходит упрочнение зоны контакта колеса с рельсом. С увеличением числа циклов нагружения в зоне контакта возможно развитие усталостных явлений вплоть до образования трещин и выкрашивания металла [1]. При больших величинах проскальзывания происходит интенсивный износ поверхностей катания колеса и рельса. Поверхностный слой с образовавшейся на нем зоной упрочнения стачивается, в результате чего развитие усталостных повреждений в зоне контакта колеса с рельсом может задерживаться и, в целом, носит другой характер. Удаление поверхностного слоя поверхности катания колеса может также происходить при колодочном торможении железнодорожного состава. Все эти факторы должны быть учтены при проведении стендовых испытаний зоны контактного взаимодействия колеса с рельсом.

[27]

Подготовка к проведению испытаний и работа стенда во время испытаний осуществляется следующим образом.

[28]

ИКП 1 через буксовые подшипники 2 устанавливают в стенд. В раме 3 стенда через скользуны 8 устанавливают катки 4 с заранее посаженными на их оси профильными колесами 5, подшипниками 7 и подшипниковыми узлами 15.

[29]

Профильные колеса 5 катков 4 при настройке режима испытаний имеют возможность перемещаться вдоль осей катков 4. Перемещая профильные колеса 5 вдоль оси катков 4, можно менять радиусы окружностей, по которым колеса 6 ИКП 1 катятся по профильным колесам 5 катков 4. При этом профильные колеса 5 не проворачиваются относительно оси катков 4, чему, например, может препятствовать выполненное между ними шпоночное или шлицевое соединение. После установки профильных колес 5 в нужном положении на осях катков 4 профильные колеса 5 фиксируются от перемещений в продольном направлении.

[30]

Одно из профильных колес 5 может быть также посажено на ось катка 4 через подшипник 17 (фиг. 2) и аналогичным образом быть зафиксированным от перемещения в продольном направлении.

[31]

После этого к корпусам подшипниковых узлов 15, расположенным на двух противоположно установленных катках 4, подсоединяют силовые устройства 9. Используя в двух силовых устройствах 9 механизмы натяжения 11, которые могут представлять собой, например, винт с гайкой, растягивают пружины 10, за счет чего устанавливают заданную величину силы, с которой профильные колеса 5 воздействуют на поверхность катания колес ИКП 1. Разъемная рамка 14 силового устройства 9 при этом должна быть поставлена в такое положение, чтобы не касаться оси ИКП 1. Сама разъемная рамка 14 может представлять собой замкнутую конструкцию, отдельные звенья которой после их установки вокруг оси ИКП 1 скрепляют между собой. Разъемная рамка 14 может быть заменена полукольцом, которое располагают вокруг оси ИКП 1. Величину силы, создаваемой механизмом 11 натяжения пружины 10, контролируют устройством 13 для замера величины этой силы. Устройство 13 может, например, представлять собой однородный по форме сечения стержень, с установленными на нем тензорезисторами. После установки заданной величины силы механизмы 11 натяжения пружины 10 стопорятся в заданном положении посредством устройства 12 для фиксации механизма 11 натяжения пружины 10.

[32]

При проведении испытаний зоны контактного взаимодействия колеса с рельсом с учетом частичного снятия верхнего слоя этой зоны во время колодочного торможения состава, рассматриваемый стенд дополнительно оборудуют колодочным тормозом 18, посредством которого, воздействуя на колеса 3, тормозят вращение ИКП 1. Чтобы при торможении не перегрузить детали привода колесной пары во вращение и не вывести из строя двигатель, торможение можно осуществлять на выбеге ИКП 1 после отключения двигателя. Высокая масса железнодорожного состава в этом случае может быть компенсирована многократным повторением процесса торможения. Для компенсации высокой массы железнодорожного состава может также быть использован разъемный маховик, дополнительно устанавливаемый на ось ИКП 1 (на фиг. 1, 2 не показан).

[33]

Для имитации проскальзывания колеса с рельсом во время торможения состава или во время пробуксовки колес обмоторенных колесных пар, рассматриваемый стенд может быть дополнительно оборудован дисковым тормозом 19, посредством которого тормозят вращение одного или нескольких катков 4. При проведении испытаний этот вид торможения может быть выполнен на выбеге ИКП 1 после отключения двигателя или при включенном двигателе, приводящем ИКП 1 во вращение, в случае его достаточной мощности.

[34]

При проведении испытаний колесных пар тягового подвижного состава в качестве механизма, который приводит ИКП 1 во вращение, может быть использован их собственный двигатель. При проведении испытаний необмоторенных колеснных пар они могут приводиться во вращение электродвигателем, передающим вращение на колесную пару. Чтобы не перегружать двигатель и передаточный механизм в момент пуска стенда, удобно применить электродвигатель с регулируемой частотой вращения.

[35]

Рама 3 может состоять из одной (фиг. 1) или нескольких плоских рам жестко связанных между собой (фиг. 2), которые повернуты в пространстве друг относительно друга. В качестве примера на фиг. 2 изображены восемь профильных колес 5, которые могут быть установлены на четырех катках 4 в раму 3 пространственной формы. Силовые устройства 9, входящие в состав каждой из плоских рам, расположены на равном расстоянии от плоскости симметрии, перпендикулярной оси ИКП 1, но чтобы не пересекаться друг с другом в пространстве, для отдельных плоских рам указанное расстояние должно быть неодинаковым. За счет расположения в стенде большего числа катков в течение одного оборота ИКП 1 в каждом секторе колеса производится многократное нагружение поверхности его катания. Это ведет к снижению сроков испытания, что выгодно отличает предлагаемый стенд от стендов-аналогов [1, 2].

[36]

За счет выпуклой формы профильных колес 5 для получения той же величины контактных напряжений, что и при контакте колес 6 ИКП 1 с прямым рельсом, между колесами 6 ИКП 1 и профильными колесами 5 катков 4 при проведении испытаний необходимо создавать меньшую величину вертикальной силы. Требуемая величина вертикальной силы тем меньше, чем меньше диаметр профильных колес 5. Помимо этого, малый диаметр профильных колес 5 позволяет объединить в единой силовой раме 3 большее количество катков 4, что способствует сокращению сроков испытаний. С другой стороны, уменьшение диаметра профильных колес 5 приводит к нарушению истинных условий контактного взаимодействия колеса с рельсом. Кроме того, при малом диаметре профильных колес 5 увеличивается частота их вращения. Вследствие этого ухудшаются условия работы подшипников 7 и подшипниковых узлов 15, увеличивается износ поверхностей катания профильных колес 5, что требует более частого восстановления их рабочей поверхности. При выборе количества и диаметра профильных колес 5 должны быть учтены все перечисленные факторы.

[37]

В стенде может быть предусмотрена возможность поворота рамы 3 с катками 4 относительно ИКП 1. Поворот выполняется вокруг вертикальной оси симметрии 21 ИКП 1. В этом случае имитируется смещение колеса относительно рельса в процессе движения рассматриваемой единицы железнодорожного подвижного состава и движение колеса под некоторым углом к рельсу, вплоть до воссоздания явления ударного воздействия гребня колеса на рельс. Управление этим поворотом может производиться, например, посредством гидравлического цилиндра 22 с контролируемым положением штока, приводимого в движение по заданной программе гидронасосной станцией 23 с блоком управления. Относительный поворот рамы 3 и ИКП 1 может также выполняться за счет поворота ИКП 1 вокруг закрепленной рамы 3.

[38]

Основные силовые потоки в стенде проходят через силовые устройства 9, катки 4 с расположенными на них профильными колесами 5 и замыкаются на колесах ИКП 1. Таким образом, количество нагруженных элементов в стенде невелико, и в отличие от стендов-аналогов [1, 2] рама 3 существенной силовой нагрузки не несет, поэтому может представлять собой облегченную металлоконструкцию. В заявляемом стенде, по сравнению со стендами-аналогами [1, 2], сокращается количество процессов, требующих внешнего управления, что облегчит проведение испытаний.

[39]

Положение, в котором при подготовке стенда к работе профильные колеса 5 закрепляют вдоль длины осей катков 4, зависит от цели испытаний.

[40]

При проведении испытаний зоны контактного взаимодействия колеса с рельсом, когда в условиях минимального проскальзывания колес ИКП 1 относительно профильных колес 5 катков 4 на обоих колесах ИКП 1 должна быть испытана одна и та же зона минимальной ширины, расположенная на одинаковом расстоянии от торцов ободов этих колес, профильные колеса 5 неподвижно (без применения подшпников 17) закрепляют на оси каждого из катков 4 и устанавливают в указанной зоне поверхностей катания колес ИКП 1. Отсутствие проскальзывания в зоне контакта колес в этом случае достигается за счет того, что диаметры окружностей ИКП 1, по которым происходит контакт колес колесной пары с профильными колесами каждого из катков, имеют одинаковые диаметры. Однако для достижения поставленной задачи необходимо, чтобы в зоне контакта и диаметры профильных колес 5 на каждом из катков 4 были тоже одинаковыми между собой.

[41]

При проведении испытаний зоны контактного взаимодействия колеса с рельсом в условиях полного отсутствия проскальзывания колес ИКП 1 относительно профильных колес 5 катков 4, хотя бы одно из профильных колес устанавливают на ось катка через подшипник 17 (фиг. 2). В этом случае на каждом из колес ИКП 1 могут быть испытаны разные зоны, которые могут быть расположены на разных расстояниях от торцов ободов этих колес и иметь неодинаковые диаметры. При этом и диаметры профильных колес 5 на каждом из катков 4 в зоне их контакта не обязательно должны быть строго одинаковыми.

[42]

При проведении испытаний зоны контактного взаимодействия колеса с рельсом в условиях заданного проскальзывания колес ИКП 1 относительно профильных колес 5 катков 4, профильные колеса 5 одинакового диаметра устанавливают без подшипников на оси катков 4 на неодинаковом расстоянии от плоскости симметрии, перпендикулярной оси испытываемой колесной пары. При этом места установки профильных колес 5 выбирают так, чтобы длины окружностей, по которым происходит контакт колес ИКП 1 с профильными колесами катков, отличались друг от друга на величину требуемого проскальзывания.

[43]

При проведении испытаний зоны контактного взаимодействия колеса с рельсом в узких зонах поверхностей катания колес ИКП 1, расположенных на заданных расстояниях от торцов их ободов в условиях максимальной частоты нагружения этих зон несколькими катками, на всех катках 4 профильные колеса 5 устанавливают строго одинаково по отношению к торцам ободов колес ИКП 1. Такие испытания могут быть выполнены по рассмотренным выше методикам как в условиях отсутствиях проскальзывания колес колесной пары относительно профильных колес катков, так и в условиях их заданного проскальзывания.

[44]

При проведении испытаний зоны контактного взаимодействия колеса с рельсом в условиях, наиболее приближенных к эксплуатационным с учетом реального распределения нагружений по всей ширине зоны поверхности катания колес ИКП 1, которое возникает при эксплуатации исследуемой единицы железнодорожного подвижного состава, используют несколько катков 4, профильные колеса 5 которых располагают и при необходимости периодически меняют на осях катков 4 так, чтобы на поверхности катания колес ИКП 1 частота нагружения каждой из конкретных зон, расположенных на заданных расстояниях от торцов обода, соответствовала реальной частоте их нагружения. Такие испытания могут быть выполнены по рассмотренным выше методикам как в условиях отсутствия проскальзывания колес ИКП 1 относительно профильных колес 5 катков 4, так и в условиях их заданного проскальзывания.

[45]

Таким образом, предлагаемый стенд при его меньшей массе позволит в сжатые сроки проводить испытание зоны контактного взаимодействия колеса с рельсом с учетом степени их взаимного проскальзывания, реального распределения частоты нагружений по всей ширине этой зоны, с учетом нагрузки на ось, частоты и интенсивности колодочного и дискового торможения. При проведении испытаний могут быть решены различные прикладные задачи, например, выполнено исследование влияния на сопротивление усталости и износостойкость в зоне контакта колеса и рельса различных конструктивных и технологических факторов изготовления колеса и рельса, выполнен выбор наиболее благоприятного сочетания их материалов и способов упрочнения, дана оценка работоспособности поверхностей контакта колеса и рельса в зависимости от форм их поперечных сечений и стадий износа, на которых производится восстановление этих форм, может быть осуществлен выбор оптимального состава смазочных материалов, наносимых гребнесмазывателями и оптимальных режимов их нанесения.

[46]

Список использованных источников

[47]

1. «Стенд для исследования системы колесо-рельс», Железные дороги мира, 2005 г. №4, с. 41-46.

[48]

2. Патент RU 2436061 «Стенд испытаний колесных пар и их элементов», МПК G01M 17/10, опубл. 10.12.2011 г.

[49]

3. Патент RU 2484444 «Катковый стенд» МПК G01M 17/08, опубл. 10.06.2013 г.

Как компенсировать расходы
на инновационную разработку
Похожие патенты