патент
№ RU 2655277
МПК E21B17/10

ЦЕНТРАТОР ШТАНГОВЫЙ

Авторы:
Шамсутдинов Илгизяр Гаптнурович Валовский Константин Владимирович Саитов Азат Атласович
Все (4)
Номер заявки
2017127630
Дата подачи заявки
01.08.2017
Опубликовано
25.05.2018
Страна
RU
Как управлять
интеллектуальной собственностью
Чертежи 
1
Реферат

Изобретение относится к нефтедобывающей промышленности и может быть использовано для эксплуатации добывающих скважин, оборудованных установками штанговых насосов, в том числе винтовых для центрирования штанг и защиты труб. Технический результат – расширение области применения за счет возможности использования в скважинах с наклонно направленными, искривленными и горизонтальными участками и повышение надежности работы. Центратор штанговый включает неподвижную относительно штанги наплавленную по ее наружной поверхности бандажную втулку с концевыми наружными упорами и подвижный элемент в виде центратора с конусными фасками по концам. Наружный диаметр бандажной втулки выполнен не меньше диаметра муфты штанги, а на ее наружной поверхности равномерно выполнены проходные продольные или спиральные проточки. Центратор изготовлен в виде полого цилиндра с продольными проходными каналами, располагаемыми равномерно по диаметру. Центратор устанавливается на бандажную втулку с возможностью вращения и ограниченного продольного перемещения между упорами, при этом минимум один из упоров выполнен съемным. 2 ил.

Формула изобретения

Центратор штанговый, включающий неподвижную относительно штанги наплавленную по ее наружной поверхности бандажную втулку с концевыми наружными упорами, подвижный элемент в виде центратора с конусными фасками по концам, выполненный с возможностью вращения и ограниченного продольного перемещения между упорами, причем наружный диаметр бандажной втулки выполнен меньшего диаметра, чем концевые упоры, отличающийся тем, что наружный диаметр бандажной втулки выполнен не менее диаметра муфты штанги, причем как минимум один из его упоров выполнен съемным, а центратор изготовлен в виде полого цилиндра с продольными проходными каналами, располагаемыми равномерно по диаметру, при этом на наружной поверхности бандажной втулки равномерно выполнены проходные продольные или спиральные проточки.

Описание

[1]

Изобретение относится к нефтедобывающей промышленности и может быть использовано для эксплуатации добывающих скважин, оборудованных установками штанговых насосов, в том числе винтовых для центрирования штанг и защиты труб.

[2]

Известен центратор для насосных штанг (патент RU №2060350, Е21В 17/10, опубл. 20.05.1996 в бюл. №14), включающий сформированный на штанге корпус с конусными поверхностями на торцах, выполненный из полимерного материала, при этом он снабжен металлическими ребрами со скошенными концами, расположенными внутри корпуса с выходом на его боковую и конусные поверхности, причем металлические ребра неразъемно связаны с корпусом.

[3]

Недостатком данной конструкции является то, что центратор устанавливается на тело штанги неподвижно без возможности вращения вокруг оси штанги, что приводит к интенсивному износу взаимодействующих друг с другом участков центраторов и труб при использовании в компоновках штанговых винтовых насосов, а в стеклопластиковой колонне труб применение данной конструкции в компоновках штанговых винтовых насосов становится невозможным.

[4]

Наиболее близким по технической сущности и достигаемому результату является штанговый центратор-крутыш (патент RU №119802, Е21В 43/14, опубл. 27.08.2012 в бюл. №24), включающий неподвижную относительно штанги наплавленную по ее наружной поверхности бандажную ступенчатую втулку, подвижный элемент в виде центратора, имеющего в поперечном сечении форму шестиконечной звезды со срезанными вершинами, с возможностью вращения вокруг оси штанги и свободного продольного перемещения по поверхности бандажной втулки в пределах, ограниченных верхним и нижним упорами бандажной втулки, при этом бандажная втулка, запрессованная на поверхности штанги, выполнена ступенчатой с меньшим диаметром в центральной части и большими диаметрами, одинаковыми в верхней и нижней частях, образуя при переходе под углом 90° от меньшего диаметра к большим упоры, ограничивающие продольные перемещения подвижного центратора, при этом его вращательное движение происходит по поверхности полиамидной бандажной втулки, имеющей меньший в сравнении с упорами диаметр.

[5]

Недостатком данной конструкции является то, что подвижный элемент - центратор-крутыш - устанавливается непосредственно на бандажную втулку с небольшим зазором, образуя между телом штанги, внутренней поверхностью подвижного элемента центратора-крутыша и нижним упором ограниченное пространство - застойную зону (стакан). В процессе эксплуатации в этой зоне накапливаются твердые частицы из добываемой жидкости, которые заклинивают подвижный элемент, лишая его свободы вращения и перемещения. В результате центратор из подвижного превращается в неподвижный, его работоспособность теряется - он начинает вращаться относительно колонны труб вместе с колонной штанг. Это приводит к интенсивному износу центрирующей поверхности центратора и увеличению радиального зазора между ней и внутренней поверхностью колонны труб, из-за чего увеличивается нагрузка на колонну труб от изгиба колонны штанг, особенно на искривленных и наклонно направленных участках скважины, тем самым повышается риск повреждения поверхности колонны труб. Увеличение зазора также приведет к снижению значения полезного крутящего момента и/или продольной нагрузки, необходимых для обеспечения нормальной работы насосной установки, так как часть крутящего момента затрачивается на преодоление возникших дополнительных нагрузок, что приведет к увеличению энергопотребления при подъеме продукции скважины или к потере работоспособности насосной установки.

[6]

Недостатком является также использование в качестве центрирующей поверхности формы шестиконечной звезды со срезанными вершинами, что приводит к уменьшению площади поверхности износа и увеличению по сравнению с цилиндрической поверхностью давления в зоне контакта с поверхностью труб, при этом повышается интенсивность износа этой поверхности при спускоподъемных работах, особенно при прохождении центраторами через стыки колонны труб, что может привести к разрушению центраторов еще до начала эксплуатации. При этом наличие в конструкции центратора-крутыша сквозного наклонного выреза, который ослабляет его поперечное сечение и уменьшает площадь поверхности контакта с бандажной втулкой, приводит к повышенному износу и, как следствие, увеличению зазора между внутренней поверхностью центратора-крутыша и бандажной втулкой и уменьшению площади поперечного сечения центратора-крутыша в процессе эксплуатации, снижает его надежность, так как в процессе эксплуатации в наклонно направленных и искривленных скважинах ослабленное поперечное сечение приводит к разрушению центратора-крутыша, при этом части разрушенного центратора-крутыша могут попасть в зазор между колонной штанг и колонной труб и создать аварийную ситуацию - отказ установки винтового насоса.

[7]

Недостатком являются упоры, выполненные со сплошным поперечным сечением, которые частично перекрывают канал для прохождения добываемой жидкости, тем самым уменьшая его поперечное сечение, что в свею очередь приводит к созданию дополнительного гидравлического сопротивления, значение которого существенно повышает нагрузку на привод установки, особенно при добыче скважинной жидкости повышенной вязкости, и энергопотребление при подъеме ее на дневную поверхность.

[8]

Техническими задачами изобретения являются расширение области применения центратора за счет возможности его использования в скважинах с добываемой жидкостью с повышенным содержанием механических частей и повышенной вязкости и повышение надежности работы центратора за счет использования бандажной втулки с проходными продольными или спиральными проточками, а также подвижного элемента-центратора, изготовленного в виде полого цилиндра с продольными проходными каналами, располагаемыми равномерно по диаметру.

[9]

Технические задачи решаются центратором штанговым, включающим неподвижную относительно штанги наплавленную по ее наружной поверхности бандажную втулку с концевыми наружными упорами, подвижный элемент в виде центратора с конусными фасками по концам, выполненный с возможностью вращения и ограниченного продольного перемещения между упорами, как минимум один из них выполнен съемным, при этом наружный диаметр бандажной втулки выполнен меньшего диаметра, чем концевые упоры.

[10]

Новым является то, что наружный диаметр бандажной втулки выполнен не менее диаметра муфты штанги, причем как минимум один из его упоров выполнен съемным, центратор изготовлен в виде полого цилиндра с продольными проходными каналами, располагаемыми равномерно по диаметру, на наружной поверхности бандажной втулки выполнены проходные продольные или спиральные проточки.

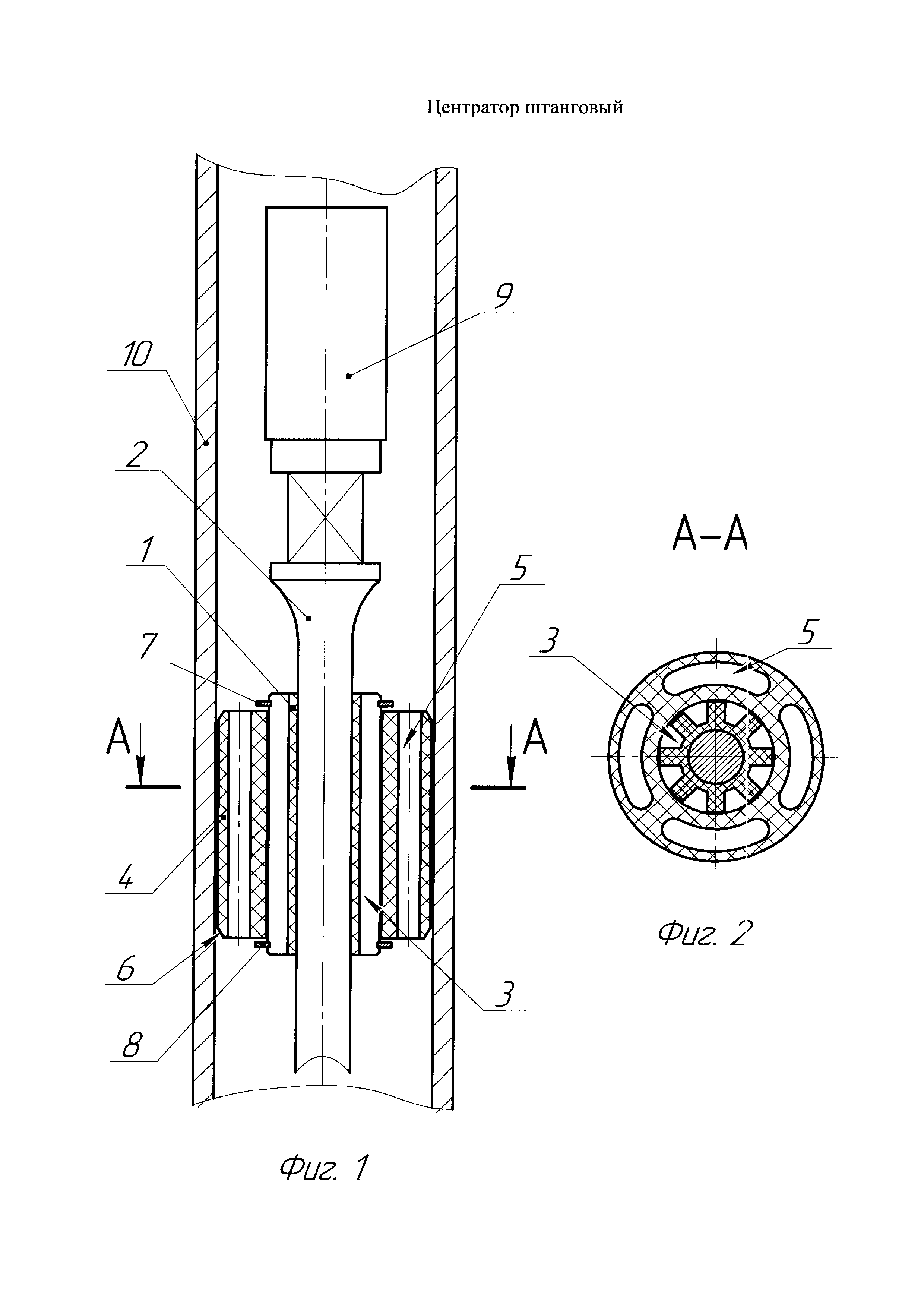
[11]

На фиг. 1 схематично изображен общий вид центратора, а на фиг. 2 - его поперечное сечение А-А.

[12]

Бандажная втулка 1 (фиг. 1) устанавливается на тело штанги 2 любым известным способом, например наплавлением, наклеиванием, запрессовкой и т.д. На наружной поверхности бандажной втулки 1 равномерно выполнены проходные продольные 3 (фиг. 2) или спиральные проточки (не показаны). Угол подъема спиральных проточек (не показаны) подбирается в зависимости от частоты вращения колонны штанг 2 (фиг. 1). Центратор 4 в форме полого цилиндра с продольными проходными каналами 5 (фиг. 2), расположенными равномерно по диаметру, имеющий на торцах конусные фаски 6 (фиг. 1), устанавливается на бандажную втулку 1 с возможностью как вращения вокруг его наружной поверхности, так и одновременного свободного осевого перемещения по этой же поверхности в пределах, ограниченных расстоянием между упорами 7 и 8. Как минимум один из упоров 7 и/или 8 выполнен съемным для обеспечения возможности установки центратора 4.

[13]

Сборка штангового центратора выполняется в условиях цеха ремонта штанг, при использовании передвижных установок по наплавлению возможна сборка и в промысловых условиях непосредственно перед спуском в скважину (не показана) на месте эксплуатации. Сборка центратора производится в следующей последовательности. На наружную поверхность бандажной втулки 1, заранее установленной на тело штанги 2, надевается центратор 4 продеванием по телу штанги 2 через муфту 9, а выполнение наружного диаметра бандажной втулки 2 л внутреннего диаметра центратора 4 не менее диаметра муфты 9 обеспечивает беспроблемное осуществление этой операции, и фиксируется упорами 7 и 8 с возможностью как вращения вокруг его наружной поверхности, так и одновременного свободного осевого перемещения по этой же поверхности в пределах, ограниченных расстоянием между упорами 7 и 8, при этом выбор, какой из упоров, 7 и/или 8, выполнить съемным, зависит от местоположения бандажной втулки 1 на теле штанги 2.

[14]

Штанговый центратор работает следующим образом.

[15]

Центратор устанавливают внутри колонны труб 10, при этом происходит центрирование штанговой колонны в пределах радиального зазора наружной поверхности центратора 4 и внутренней поверхности колонны труб. Центратор 4 всегда неподвижен относительно внутренней поверхности колонны труб, так как бандажная втулка 1 вращается относительно центратора 4, исключая тем самым действие изгибающих моментов, возникающих при вращательном движении колонны штанг 2 в наклонно направленном и искривленном участках скважины. Проходные проточки 3 (фиг. 2) исключают образование застойной зоны с возможным накоплением в ней твердых частицы из добываемой жидкости, так как твердые частицы, попадающие в зазор между внутренней поверхностью центратора 4 (фиг. 1) и наружной поверхностью бандажной втулки 1, не оказывают абразивного воздействия на тело штанги 2 и выносятся потоком добываемой жидкости, предотвращая заклинивание центратора 4. Исполнение наружной поверхности центратора 4 в виде цельного цилиндра обеспечивает исключение вырезов, предназначенных для монтажа его на бандажную втулку 1, что повышает его прочность и надежность за счет увеличения площади поверхности контакта с бандажной втулкой 1 и уменьшения давления в зоне контакта с ним, обеспечивает тем самым снижение износа. Продольные проходные каналы 5, расположенные равномерно по диаметру, обеспечивают проход добываемой жидкости, исключая при этом возникновение дополнительного гидравлического сопротивления в местах установки центратора на штанге 2. При этом наличие конусных фасок 6 на торцах центратора 4 обеспечивает применение центратора на скважинах, оборудованных установками штанговых насосов с возвратно-поступательным движением колонны штанг 2.

[16]

Использование предлагаемого штангового центратора позволит расширить область применения центратора за счет возможности его использования в скважинах с наклонно направленными, искривленными и горизонтальными участками с добываемой жидкостью с повышенным содержанием механических частей и повышенной вязкости и повысить надежность работы центратора за счет использования бандажной втулки с проходными продольными или спиральными проточками, а также подвижного элемента-центратора, изготовленного в виде полого цилиндра с продольными проходными каналами, располагаемыми равномерно по диаметру.

Как компенсировать расходы
на инновационную разработку
Похожие патенты