патент
№ RU 2567677
МПК F41F3/042

УНИВЕРСАЛЬНАЯ КАССЕТА ПРЕИМУЩЕСТВЕННО ДЛЯ ТРАНСПОРТНО-ПУСКОВЫХ КОНТЕЙНЕРОВ

Авторы:
Королёв Андрей Валерьевич Громов Андрей Викторович Кузьмин Денис Андреевич
Все (13)
Номер заявки
2014112939/11
Дата подачи заявки
03.04.2014
Опубликовано
10.11.2015
Страна
RU
Как управлять
интеллектуальной собственностью
Чертежи 
9
Реферат

Изобретение относится к ракетной технике, в частности к кассетам для транспортно-пусковых контейнеров (ТПК). Универсальная кассета выполнена в форме коробчатого каркаса, содержащего поперечные балки и две взаимно параллельные продольные стенки. Поперечные балки расположены в нижней части каркаса. По меньшей мере две взаимно параллельные продольные стенки расположены под прямым углом к поперечным балкам. Каркас выполнен с возможностью размещения по меньшей мере двух ТПК. Кассета содержит средства для удержания и фиксации ТПК, опорную балку, установленную на торце кассеты, по меньшей мере один электроразъем электрической связи системы управления пуском с ТПК и средства для штабелирования, включающие нижние и верхние опорные элементы. Нижние опорные элементы выполнены с возможностью образования разъемного соединения с ответными опорными элементами пусковой установки и/или верхними опорными элементами других кассет. Техническим результатом изобретения является расширение эксплуатационных возможностей и повышение уровня унификации. 6 з.п. ф-лы, 10 ил.

Формула изобретения

1. Универсальная кассета преимущественно для транспортно-пусковых контейнеров, выполненная в форме коробчатого каркаса, включающего поперечные балки, расположенные в его нижней части, и по меньшей мере две взаимно параллельные продольные стенки, которые расположены под прямым углом к поперечным балкам, выполненного с возможностью размещения по меньшей мере двух транспортно-пусковых контейнеров, причем кассета содержит средства для удержания и фиксации транспортно-пусковых контейнеров, опорную балку, которая установлена на торце кассеты, по меньшей мере один электроразъем электрической связи системы управления пуском с транспортно-пусковыми контейнерами и средства для штабелирования, включающие нижние и верхние опорные элементы, причем нижние опорные элементы выполнены с возможностью образования разъемного соединения с ответными опорными элементами пусковой установки и/или верхними опорными элементами других кассет.

2. Кассета по п. 1, отличающаяся тем, что верхние и нижние опорные элементы снабжены элементами зацепления, причем элементы зацепления нижних опорных элементов выполнены с возможностью взаимодействия с ответными элементами зацепления пусковой установки и/или верхних опорных элементов других кассет, при этом элементы зацепления нижних и верхних опорных элементов выполнены с обеспечением функции позиционирующих элементов при загрузке кассеты на пусковую установку.

3. Кассета по п. 1, отличающаяся тем, что средства для удержания и фиксации транспортно-пусковых контейнеров включают закрепленные на поперечных балках шпоночные направляющие, взаимодействующие с соответствующими бугелями транспортно-пусковых контейнеров при загрузке последних в кассету и при штатном положении транспортно-пусковых контейнеров, и установленные на упомянутой опорной балке захватные устройства для фиксации транспортно-пусковых контейнеров от продольных перемещений относительно кассеты, взаимодействующие с ответными опорными элементами транспортно-пусковых контейнеров при штатном положении транспортно-пусковых контейнеров.

4. Кассета по п. 1, отличающаяся тем, что содержит приводы продольного перемещения транспортно-пусковых контейнеров, которые смонтированы на поперечной балке со стороны торца кассеты, противоположного опорной балке, и снабжены каждый элементом зацепления, выполненным с возможностью взаимодействия с соответствующим ответным элементом зацепления транспортно-пускового контейнера при загрузке последнего в кассету.

5. Кассета по п. 4, отличающаяся тем, что в качестве привода продольного перемещения транспортно-пускового контейнера она содержит винтовой механизм.

6. Кассета по п. 1, отличающаяся тем, что выполнена с возможностью установки на ней транспортно-пусковых контейнеров и/или блоков транспортно-пусковых контейнеров, присоединительные элементы которых имитируют присоединительные элементы упомянутых одиночных транспортно-пусковых контейнеров.

7. Кассета по п. 1, отличающаяся тем, что снабжена грузозахватными устройствами.

Описание

[1]

Изобретение относится к вооружению, в частности к мобильным пусковым системам для запуска зенитных управляемых ракет ПВО, и может быть использовано при создании многоместных пусковых установок (ПУ), например, вертикального пуска при использовании блоков (модулей, пакетов, кассет) транспортно-пусковых контейнеров (ТПК).

[2]

Известны кассеты, представляющие собой взаимозаменяемые устройства, которые обеспечивают хранение и транспортирование ТПК. В частности, известны кассеты, сформированные из транспортно-пусковых контейнеров, скрепленных между собой с помощью универсальных или специальных средств. Также известны кассеты, представляющие собой стандартное по форме устройство, в которое вмещаются транспортно-пусковые контейнеры.

[3]

Известна кассета, используемая в многоместной ПУ вертикального пуска по патенту JP 5079795 (A) (F41А 23/42, 23/56, 9/87, F41F 3/042, 1993). ПУ содержит транспортное средство (трейлер), в задней части которого с возможностью поворота в вертикальной плоскости смонтирована качающаяся часть, на которой размещаются три кассеты с ТПК. Каждая кассета сформирована из двух ТПК, установленных один на другом. Таким образом, на ПУ может быть установлено шесть ТПК.

[4]

Однако кассета, сформированная из скрепленных между собой ТПК, не предполагает возможности ее перезарядки, что сужает эксплуатационные возможности.

[5]

Известна кассета, используемая в самоходной ПУ для транспортирования и пуска ракет из ТПК при помощи пороховых аккумуляторов давления (RU 93519 U1, F41F 3/04, 2010). Самоходная ПУ содержит колесное шасси, в задней части которого с возможностью поворота в вертикальной плоскости смонтирована качающаяся часть, на которой размещается кассета (пакет из четырех ТПК) с тяжелыми зенитными управляемыми ракетами (ЗУР).

[6]

Однако известная кассета предполагает раздельную поочередную установку ТПК на качающуюся часть, что существенно увеличивает период перезарядки ПУ. Кроме того, кассета имеет небольшой боезапас ракет, что ограничивает возможности зенитной ракетной системы при отражении массированных ударов средств воздушного нападения.

[7]

Известна кассета для ТПК, обеспечивающих возможность вертикального запуска зенитных ракет с помощью катапультного устройства, приведенная в описании пускового модуля зенитного ракетного комплекса по патенту 109842 U1 (F41F 3/042, 2011). Пусковая установка смонтирована внутри стандартного грузового контейнера, разделенного на аппаратный и ракетный отсеки. В известном пусковом модуле используются ТПК по патенту RU 2210050 C1 (F41F 3/04, 2002), которые сгруппированы в виде кассет, по три контейнера в одной кассете (по существу эти ТПК, разъемно соединенные между собой, и образуют кассету). Предварительно, в цеховых условиях, зенитные ракеты помещают в ТПК. ТПК с ракетами группируют по три в одну кассету. Кассеты в вертикальном положении закрепляют в каркасе, габариты которого позволяют установить две кассеты. Таким образом, один каркас может нести до шести ракет, установленных в три ряда. Каркас с ТПК погружают на транспортную машину и доставляют на позицию, где производят снаряжение пускового модуля. Кассеты с ТПК снимают по очереди краном-манипулятором с транспортной машины, опускают в каркас в ракетном отсеке пускового модуля и фиксируют известным способом. Таким образом, за две погрузочные операции пусковой модуль снаряжается шестью ракетами.

[8]

Однако известная кассета (по существу представляющая собой пакет ТПК) не предполагает возможность ее перезарядки (т.е. замены одного или нескольких ТПК) на стартовой позиции, что сужает эксплуатационные возможности.

[9]

Наиболее близкой по совокупности существенных признаков с заявляемым изобретением является многоместная сменная кассета, используемая в пусковой установке по патенту KR 20100056819 (A) (F41А 23/26, 9/87. 2010). Известная кассета содержит каркас (несущую конструкцию), который выполнен с возможностью размещения в нем, например, шести ТПК, которые располагаются в два яруса (ряда) по три ТПК в каждом. При этом ПУ предполагает установку на пусковом столе качающейся части двух кассет, располагающихся на одном уровне.

[10]

Однако известная кассета рассчитана на использование конкретного типоразмера ТПК, т.е. не является универсальной. Кроме того, кассета не предполагает возможности ее перезарядки без снятия с ПУ.

[11]

Задачей, решаемой изобретением, является создание универсальной кассеты, для транспортирования, хранения, предстартовой подготовки и пуска достаточно большого количества типов зенитных управляемых ракет.

[12]

Указанная задача решается тем, что предложена универсальная кассета преимущественно для ТПК, выполненная в форме коробчатого каркаса, включающего поперечные балки, расположенные в его нижней части, и по меньшей мере две взаимно параллельные продольные стенки, которые расположены под прямым углом к поперечным балкам, выполненного с возможностью размещения по меньшей мере двух ТПК. Кассета содержит средства для удержания и фиксации ТПК, опорную балку, которая установлена на торце кассеты, по меньшей мере один электроразъем электрической связи системы управления пуском с ТПК и средства для штабелирования, включающие нижние и верхние опорные элементы. Нижние опорные элементы выполнены с возможностью образования разъемного соединения с ответными опорными элементами пусковой установки и/или верхними опорными элементами других кассет.

[13]

Вместе с этим верхние и нижние опорные элементы снабжены элементами зацепления. Элементы зацепления нижних опорных элементов выполнены с возможностью взаимодействия с ответными элементами зацепления пусковой установки и/или верхних опорных элементов других кассет. Элементы зацепления нижних и верхних опорных элементов выполнены с обеспечением функции позиционирующих элементов при загрузке кассеты на пусковую установку.

[14]

Кроме того, средства для удержания и фиксации ТПК включают закрепленные на поперечных балках шпоночные направляющие, взаимодействующие с соответствующими бугелями ТПК при загрузке последних в кассету и при штатном положении ТПК, и установленные на упомянутой опорной балке захватные устройства для фиксации транспортно-пусковых контейнеров от продольных перемещений относительно кассеты, взаимодействующие с ответными опорными элементами ТПК при штатном положении ТПК.

[15]

В варианте выполнения кассета содержит приводы продольного перемещения ТПК, которые смонтированы на поперечной балке со стороны торца кассеты, противоположного опорной балке, и снабжены каждый элементом зацепления, выполненным с возможностью взаимодействия с соответствующим ответным элементом зацепления транспортно-пускового контейнера при загрузке последнего в кассету.

[16]

В последнем приведенном варианте выполнения кассета в качестве привода продольного перемещения транспортно-пускового контейнера содержит винтовой механизм.

[17]

Вместе с этим кассета выполнена с возможностью установки на ней ТПК и/или блоков ТПК, присоединительные элементы которых имитируют присоединительные элементы упомянутых одиночных ТПК.

[18]

Кроме того, кассета снабжена грузозахватными устройствами.

[19]

Технический результат использования изобретения состоит в том, что оно обеспечивает возможность создания универсальной кассеты для транспортирования, хранения, предстартовой подготовки и пуска достаточно большого количества ЗУР, а также обеспечивает приспособляемость кассеты к различным типам ЗУР, расширяет эксплуатационные возможности и позволяет повысить уровень унификации.

[20]

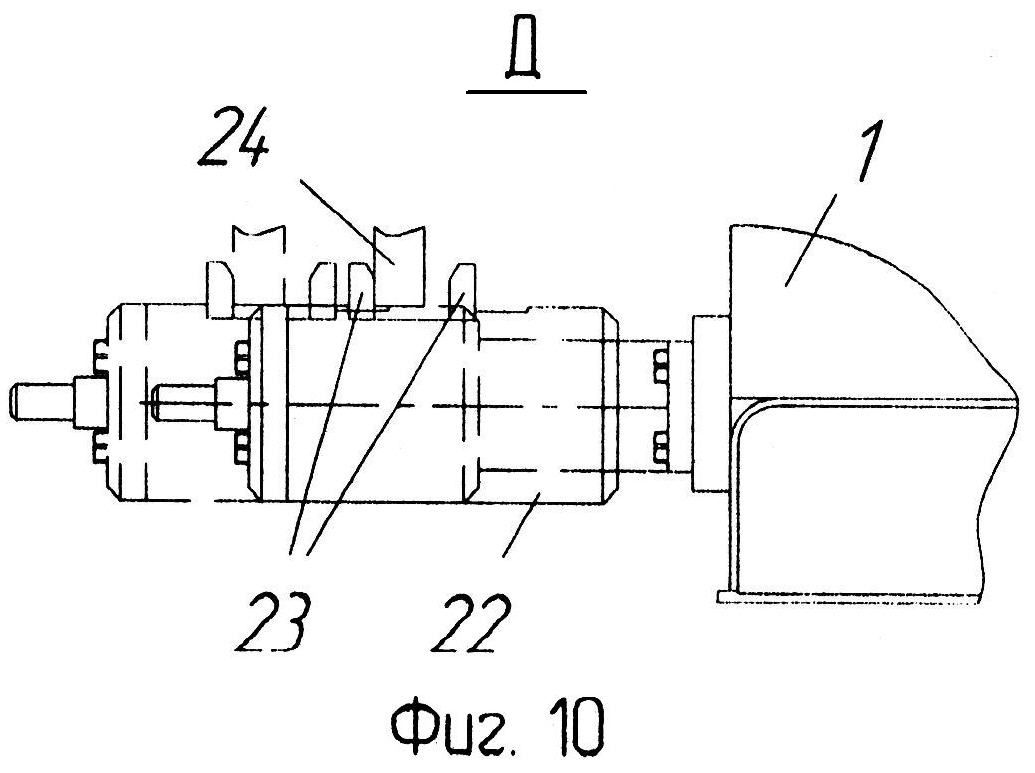
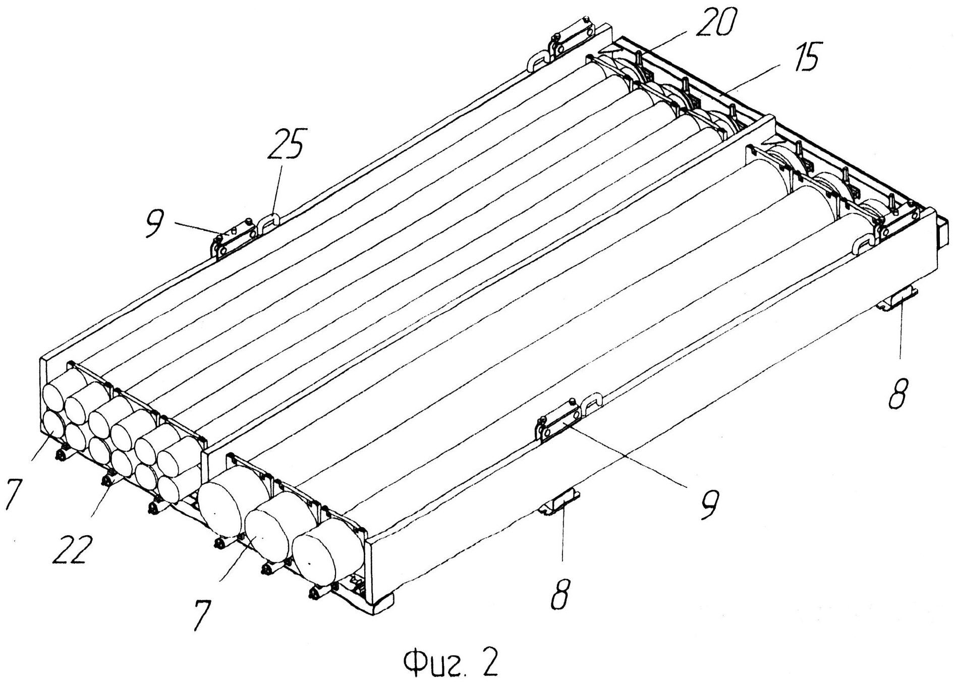
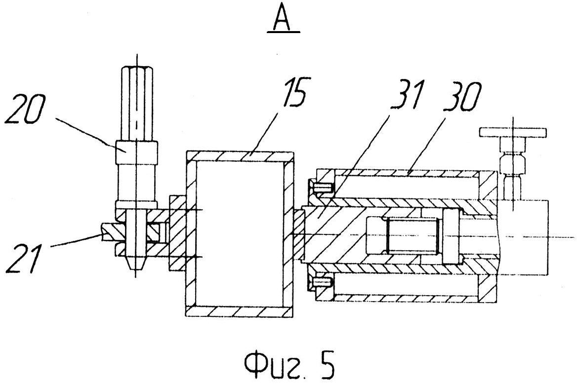
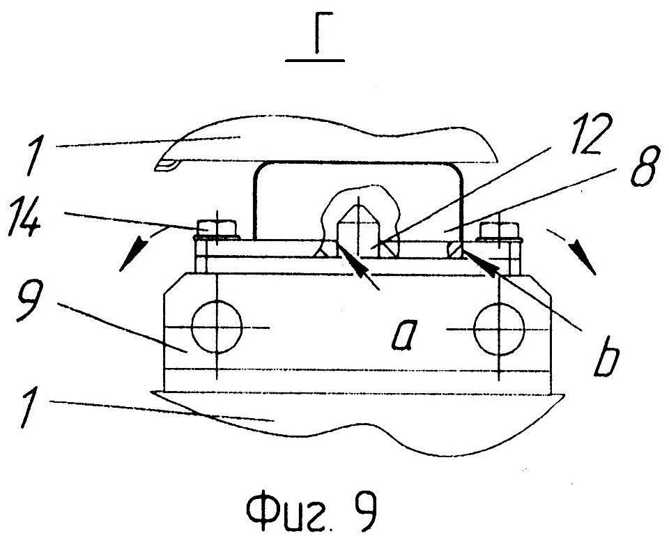
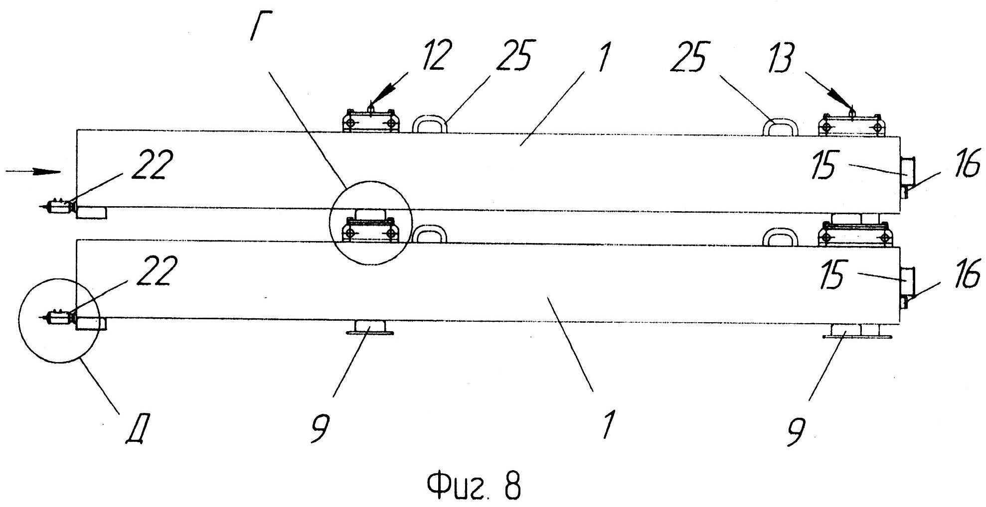
На фиг. 1 схематично показана универсальная кассета для транспортно-пусковых контейнеров, общий вид; на фиг. 2 - то же, в снаряженном состоянии; на фиг. 3 - универсальные кассеты, установленные на пусковой установке, походное положение, общий вид; на фиг. 4 - то же, рабочее положение пусковой установки, общий вид; на фиг. 5 - захватное устройство для фиксации ТПК от продольных перемещений относительно кассеты и подводной упор, смонтированный на качающейся части ПУ, элемент А на фиг. 3; на фиг. 6 - устройство узла соединения кассеты с опорной рамой качающейся части ПУ, элемент Б на фиг. 3; на фиг. 7 - ТПК, установленный в направляющих кассеты, вид по В на фиг. 3; на фиг. 8 - пакет из двух универсальных кассет, общий вид сбоку; на фиг. 9 - устройство узла соединения универсальных кассет, элемент Г на фиг. 8; на фиг. 10 - привод продольного перемещения ТПК относительно кассеты, элемент Д на фиг. 8.

[21]

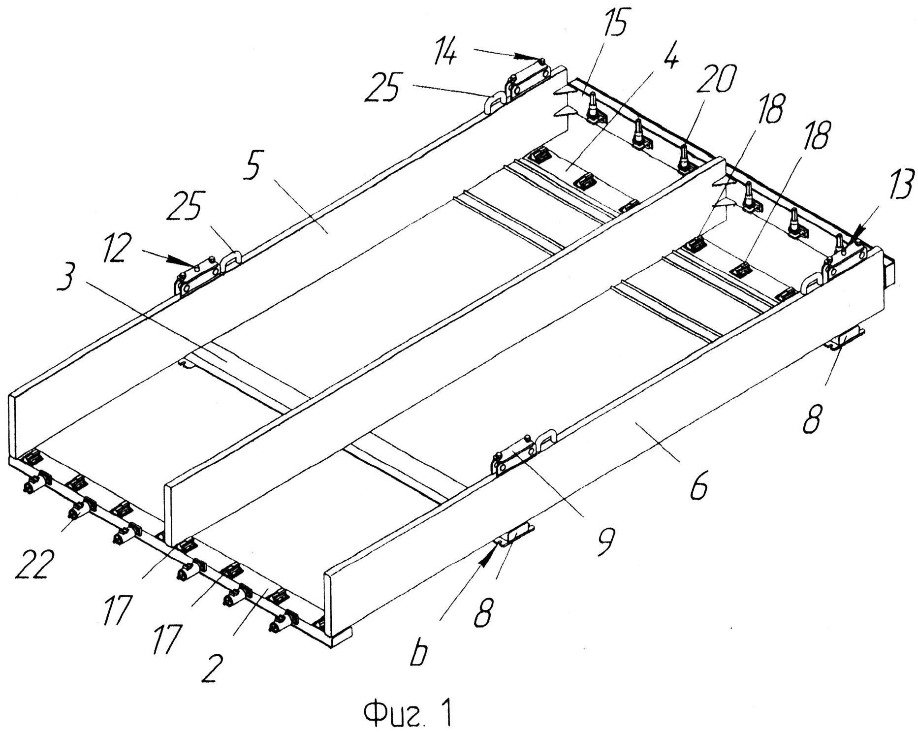
В варианте осуществления изобретения универсальная кассета 1 выполнена в форме коробчатого каркаса, включающего поперечные балки 2-4 и взаимно параллельные стенки 5 и 6, которые расположены под прямым углом к упомянутым поперечным балкам, выполненного с возможностью размещения транспортно-пусковых контейнеров 7, предполагающих осуществление пуска ракет, например, при помощи пороховых аккумуляторов давления или парогазогенераторов. Кассета содержит средства для удержания и фиксации ТПК и средства для штабелирования, включающие нижние и верхние опорные элементы 8 и 9. Нижние опорные элементы 8 выполнены с возможностью образования разъемного соединения с ответными опорными элементами 10 мобильной пусковой установки 11 и/или с ответными верхними опорными элементами 9 других кассет. Верхние и нижние опорные элементы 8 и 9 снабжены элементами зацепления. Элементы зацепления нижних опорных элементов 8 выполнены с возможностью взаимодействия с ответными элементами зацепления ПУ и/или верхних опорных элементов 9 других кассет. В варианте осуществления изобретения элементы зацепления верхних опорных элементов 9 выполнены в виде штырей-ловителей 12 и 13 с конической заходной частью, а ответные им элементы зацепления выполнены в виде отверстий «а». При этом верхние опорные элементы 9 кассеты имитируют опорные элементы 10 пусковой установки (пускового стола). По существу штыри-ловители 12 и 13 и ответные им отверстия «а» выполняют функцию центрирующих направляющих элементов при штабелировании кассет (например, при загрузке кассет на ПУ).

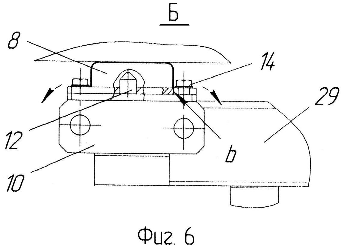
[22]

В варианте осуществления изобретения крепление кассеты на пусковой установке (пусковом столе) или на нижерасположенной кассете осуществляется с помощью откидных болтов 14, шарнирно установленных на опорных элементах 10 (9) и входящих в пазы «b» ответных опорных элементов 8.

[23]

На торце кассеты установлена опорная балка 15. С наружной стороны на опорной балке 15 смонтированы электроразъемы 16 электрической связи системы управления пуском с ТПК.

[24]

Средства для удержания и фиксации ТПК 7 включают закрепленные на поперечных балках 2 и 4 передние 17 и задние 18 шпоночные продольные направляющие, взаимодействующие с соответствующими бугелями (ползунами) 19 ТПК 7, при загрузке последних в кассету и при штатном положении ТПК, а также установленные на опорной балке 15 захватные устройства 20 для фиксации ТПК от продольных перемещений относительно кассеты, взаимодействующие с ответными опорными элементами 21 ТПК при штатном положении ТПК. В варианте осуществления изобретения захватное устройство 20 выполнено в виде, например, штыревого фиксатора с винтовым механизмом. Для бугелей 19 ТПК на направляющих 17 и 18 кассеты предусмотрены приемные узлы (на чертеже не показано). Направляющие 17 и 18 обеспечивают фиксацию ТПК в поперечном направлении.

[25]

Кассета содержит приводы 22 продольного перемещения ТПК относительно кассеты. В варианте выполнения кассеты в качестве приводов 22 она содержит, например, винтовые механизмы. Приводы 22 смонтированы в нижней части кассеты со стороны торца, противоположного опорной балке 15, и снабжены каждый элементом 23 зацепления, выполненным с возможностью взаимодействия с ответным элементом 24 зацепления транспортно-пускового контейнера 7 при загрузке ТПК в кассету. В варианте осуществления изобретения элемент 23 выполнен, например, в виде вилки, а элемент 24 - в виде крюка.

[26]

В варианте выполнения кассета выполнена с возможностью установки на ней ТПК и/или блоков ТПК, присоединительные элементы которых имитируют присоединительные элементы одиночных ТПК. Таким образом, кассете обеспечивается приспособляемость к различным типам зенитных управляемых ракет, что расширяет эксплуатационные возможности кассеты и повышает ее унификацию. Для обращения с кассетой предусмотрены грузозахватные устройства 25.

[27]

В варианте осуществления изобретения универсальная кассета используется в мобильной ПУ, предназначенной для транспортирования и пуска зенитных ракет из ТПК при помощи пороховых аккумуляторов давления или парогазогенераторов. Мобильная ПУ включает неподвижно закрепленную на колесном транспортном средстве 26 платформу 27, на которой с возможностью поворота в вертикальной плоскости смонтирована качающаяся часть 28 с опорными элементами 10 для закрепления сменных универсальных кассет. Качающаяся часть содержит опорные рамы 29 и 30 и выполнена с возможностью опирания на концевую часть «с» платформы 27 с помощью опорной рамы 30 в рабочем положении мобильной ПУ. Опорная рама 30 снабжена подводными упорами 31, которые смонтированы с возможностью взаимодействия с опорной балкой 15 кассеты. В варианте исполнения мобильная ПУ содержит средства 32 и 33 для фиксации взаимного положения качающейся части 28 и платформы 27 в транспортировочном и рабочем положениях и выполнена с возможностью размещения на качающейся части, например, двух универсальных кассет.

[28]

Использование универсальной кассеты осуществляется следующим образом.

[29]

Снаряжение кассет производят на технической позиции или арсенале. ТПК с помощью грузоподъемного средства вывешивают над соответствующими направляющими кассеты, обеспечивая предварительную ориентацию ТПК в горизонтальной плоскости. Ползуны (бугеля) 19 ТПК устанавливают в приемные узлы направляющих 17 и 18. Крюк 24 ТПК занимает место между зубьями вилки 23 привода 22 продольного перемещения ТПК. Вилку 23 привода 22 вводят в зацепление с крюком 24 ТПК. Затем с помощью привода 22 транспортно-пусковой контейнер перемещают (досылают) до упора опорного элемента 21 в опорную балку 15 кассеты. ТПК занимает штатное положение на направляющих 17 и 18, которые обеспечивают фиксацию ТПК в поперечном направлении. После ТПК фиксируют в штатном положении с помощью винтового механизма захватного устройства 20. При этом штырь захватного устройства входит в соответствующее отверстие опорного элемента 21 транспортно-пускового контейнера, обеспечивая фиксацию ТПК в продольном направлении. Крюк 24 ТПК освобождают от вилки 23 привода 22. Затем ТПК подключают к соответствующему электроразъему 16. Далее последовательно загружают остальные ТПК. В таком виде кассета с ТПК может транспортироваться любыми видами транспорта, а также находиться на пусковых установках, не требуя обслуживания. Освобождение кассет от ТПК осуществляется в обратном порядке.

[30]

К месту развертывания мобильной ПУ снаряженную сменную универсальную кассету транспортируют с помощью транспортно-заряжающей машины (ТЗМ), оборудованной манипулятором. Заряжание мобильной ПУ производят следующим образом. К грузозахватным устройствам 25 кассеты, установленной на ТЗМ, подсоединяют грузовую траверсу, установленную на манипуляторе (на чертеже не показано). Затем с помощью манипулятора приподнимают сменную кассету на заданную высоту и переносят ее на ПУ (по существу - на опорную раму 29 качающейся части), где с помощью штырей-ловителей 12 и 13, установленных на пусковом столе ПУ, сменную кассету устанавливают на четыре опорных элемента 10 опорной рамы 29 качающейся части 28 ПУ и закрепляют с помощью восьми откидных болтов 14, входящих в пазы «b» ответных нижних опорных элементов 9 кассеты. Благодаря закрепленным на опорных элементах 10 ПУ штырям-ловителям 12 и 13, взаимодействующим с ответными элементами, выполненными на нижних опорных элементах 9 кассеты, обеспечивается быстрая самоустановка сменной универсальной кассеты в заданное положение относительно опорной рамы 29 качающейся части ПУ. После на качающуюся часть 28 сверху установленной сменной универсальной кассеты аналогичным образом устанавливают еще одну сменную универсальную кассету, которую с помощью соответствующих нижних опорных элементов 9 и откидных болтов 14 закрепляют на верхних опорных элементах 8 установленной кассеты (закрепленной непосредственно на качающейся части ПУ). После установки сменных универсальных кассет в штатное положение упоры 31, смонтированные на опорной раме 30, подводят к соответствующим опорным балкам 15 сменных кассет. Благодаря этому обеспечивается гарантированное прилегание опорных балок 15 к опорной раме 30 качающейся части, что позволяет обеспечить равномерную передачу нагрузок при пуске ракет из ТПК. После этого ТПК через электроразъемы 16 подключают к системе управления пуском.

[31]

Снятие сменных универсальных кассет с качающейся части ПУ осуществляется в обратном порядке. Особенности конструктивного исполнения универсальной кассеты обеспечивают, при необходимости, возможность перезагрузки кассеты непосредственно на стартовой позиции.

[32]

При пуске реализуется способ выброса ракеты из ТПК, например, с помощью катапультного устройства, для работы которого используются газы, образующиеся при работе порохового аккумулятора давления. Нагрузки «вниз», вызванные работой порохового аккумулятора давления, передаются от опорного элемента 21 ТПК напрямую на опорную балку 15 кассеты, а затем через подводные упоры 31 - на опорную раму 30 качающейся части 28. Далее нагрузка передается на концевую часть (консоль) «с» платформы 27 и через задние гидравлические домкраты транспортного средства на грунт. Нагрузки «вверх», вызванные отдачей катапультного устройства, передаются от опорного элемента 21 ТПК на штырь захватного устройства 20, установленного на опорной балке 15 кассеты, затем - через штыри-ловители 12 и 13, установленные на опорных элементах 10, на опорную раму 30 качающейся части 28 и через элементы (на чертеже не показано) средств 33 фиксации взаимного положения качающейся части 28 и платформы 27 на концевую часть «с» платформы 27.

[33]

Предлагаемое устройство обеспечивает приспособляемость кассеты к различным типам ТПК (по существу к различным типам ЗУР) с возможностью многоярусного (многоуровнего) штабелирования кассет на ПУ, что позволяет существенно увеличить боезапас и расширяет возможности зенитной ПУ при отражении массированных ударов средств воздушного нападения. Благодаря тому, что ТПК помещаются во взаимозаменяемые быстросъемные многоместные кассеты, позволяющие осуществлять достаточно быструю перезарядку механизированным способом (при помощи манипулятора ТЗМ), существенно упрощается обращение с ПУ. Кроме того, особенности конструктивного исполнения кассеты обеспечивают, при необходимости, возможность перезагрузки кассеты непосредственно на стартовой позиции.

[34]

Таким образом, благодаря особенности исполнения кассеты для транспортно-пусковых контейнеров изобретение обеспечивает возможность создания универсальной кассеты для транспортирования, хранения, предстартовой подготовки и пуска достаточно большого количества ЗУР, а также обеспечивает приспособляемость кассеты к различным типам ЗУР, расширяет эксплуатационные возможности и позволяет повысить уровень унификации.

Как компенсировать расходы
на инновационную разработку
Похожие патенты