Присадка комплексного действия, предназначенная для улучшения процессов транспортировки нефти и нефтепродуктов, содержит полимер, азотсодержащее соединение и поверхносто-активное вещество, характеризующаяся тем, что дополнительно содержит наноразмерный оксид алюминия с размером частиц 40 нм, в качестве полимера используют низкомолекулярный полиэтилен, в качестве азотсодержащего вещества – гидразин, а в качестве поверхносто-активного вещества – неионогенное поверхносто-активное вещество Реапон-4В при следующем соотношении компонентов, мас.%: Технический результат заключается в том, что присадка обладает как вязкостным, так и противотурбулентным действием и проявляет высокую механическую устойчивость к различным механическим деструкциям. 4 пр., 5 ил., 3 табл.низкомолекулярный полиэтилен 60-65 гидразин 20-25 указанный оксид алюминия 5-10 Реапон-4В 5-10
Присадка комплексного действия, предназначенная для улучшения процессов транспортировки нефти и нефтепродуктов, содержит полимер, азотсодержащее соединение и поверхностно-активное вещество, отличающаяся тем, что дополнительно содержит наноразмерный оксид алюминия с размером частиц 40 нм, в качестве полимера используют низкомолекулярный полиэтилен, в качестве азотсодержащего вещества - гидразин, а в качестве поверхностно-активного вещества - неионогенное поверхностно-активное вещество Реапон-4В при следующем соотношении компонентов, мас.%:низкомолекулярный полиэтилен 60-65 гидразин 20-25 указанный оксид алюминия 5-10 Реапон-4В 5-10
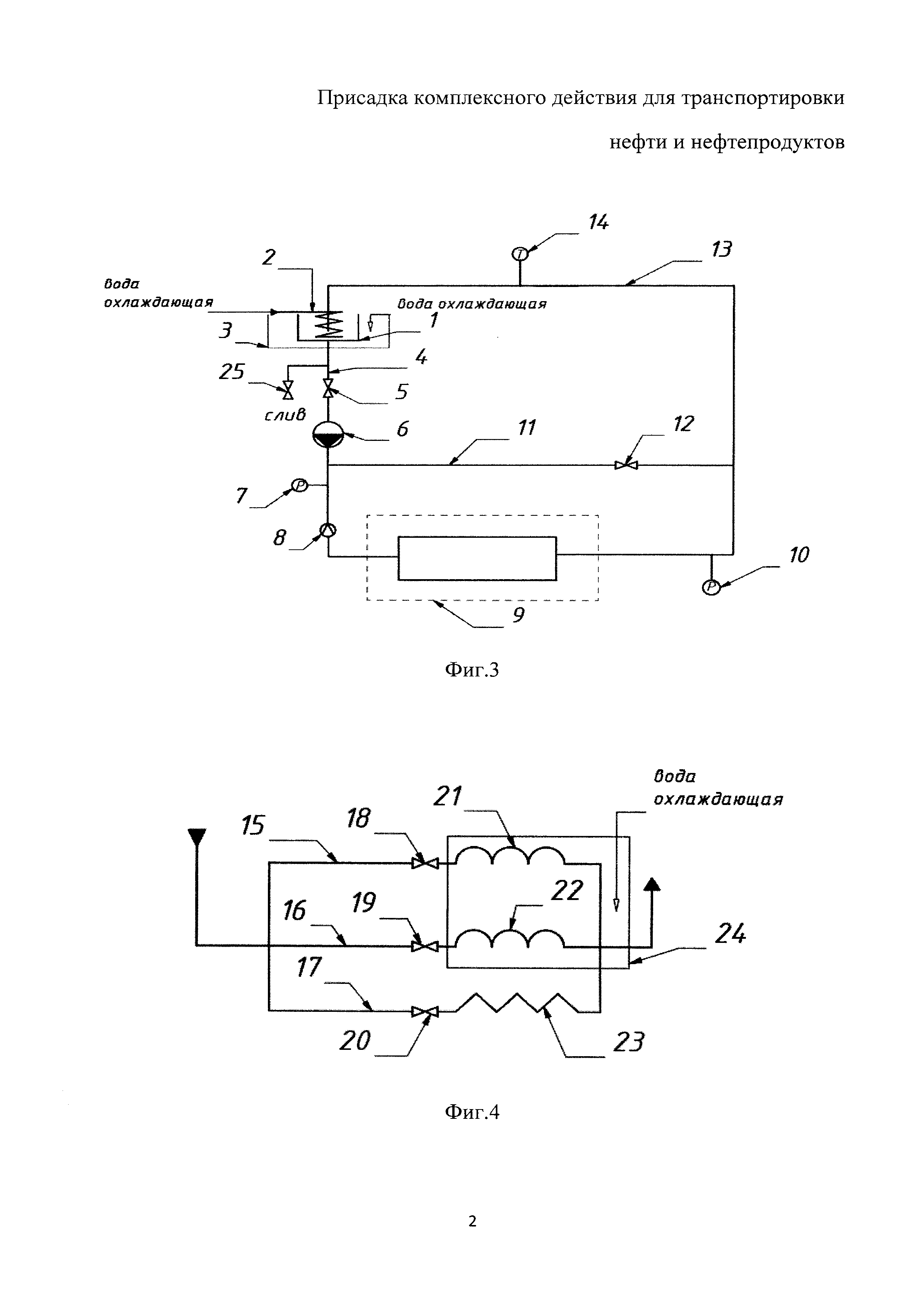
Изобретение относится к нефтяной промышленности, а именно к присадкам для транспортировки нефти и нефтепродуктов по промысловым трубопроводам, и может быть использовано для снижения гидродинамического сопротивления и регулирования реологических свойств вязких нефтей и нефтяных эмульсий. В нефтяной промышленности существует большое разнообразие добавок, основу которых составляет полимерный компонент. Наибольшее распространение среди них получили вязкостные и противотурбулентные присадки, которые нацелены либо на снижение вязкости, либо - на снижение гидравлического сопротивления. Эти присадки позволяют существенно снизить затраты на перекачку жидкостей по трубопроводу и нагрузку на перекачивающее оборудование. Однако они не способны решать обе эти задачи совместно. Поэтому актуальным направлением разработки такого рода присадок, снижающих эксплуатационные затраты на транспортировку нефти и нефтяных эмульсий, является формирование композиций, обладающих как вязкостным, так и противотурбулентным действиями. Известны полимерные присадки противотурбулентного действия на основе полисахарида (US №2007205392, С09K 5/10, 2007), полиакриламида (WO 2412395, МПК C10L 1/2383, 2008), полиолефинов (US №61722151, MПК C08L 33/26, 2001). Однако они не способны оказывать существенного влияния на изменение реологических свойств нефти и нефтяных эмульсий. Известны композиции, снижающие вязкость (например, патенты RU 1271375, RU 2285034, RU 1271375, RU 2453584, RU 2242503). Известные присадки нацелены на изменение реологических свойств нефтей и нефтепродуктов, однако они не обладают противотурбулентным действием по отношению к нефтям и нефтяным эмульсиям при их транспортировке трубопроводным транспортом. Кроме того, эти присадки теряют свою эффективность в условиях турбулентного режима течения жидкости. Полимерные присадки, обладающие как противотурбулентными, так и вязкостными свойствами, в источниках информации не были выявлены. В качестве прототипа выбрана композиционная депрессорная присадка, используемая для парафинистых и высокопарафинистых нефтей, включающая в свой состав сополимер этилена с винилацетатом, сукцинимид мочевины, триэтаноламин, неонол, сульфонат натрия (патент RU 2453584, МПК C10L 1/182, опубл. 20.06.2012). Однако данная присадка не способна снижать гидравлическое сопротивление прокачиваемой жидкости в трубопроводной системе. Задачей настоящего изобретения является создание присадки комплексного действия, предназначенной для снижения гидродинамического сопротивления и для регулирования реологических свойств вязких нефтей и нефтяных эмульсий при транспортировке трубопроводным транспортом. Поставленная задача решается тем, что присадка комплексного действия, для транспортировки нефти и нефтепродуктов, содержащая полимер, азотсодержащее соединение и поверхностно-активное вещество, согласно изобретению, дополнительно содержит наноразмерный оксид алюминия с размерами частиц 40 нм, а в качестве полимера содержит низкомолекулярный полиэтилен, в качестве азотсодержащего вещества - гидразин, в качестве поверхностно-активного вещества - неионогенное поверхностно-активное вещество Реапон-4В при следующем соотношении компонентов, мас.%: Техническим результатом изобретения является присадка комплексного действия, которая снижает вязкость и гидродинамическое сопротивление нефти и вязких нефтепродуктов при транспортировке трубопроводным транспортом, обладающая высокой устойчивостью к механодеструкциям. Изобретение поясняется чертежами и графиками, приведенными на фиг. 1-5. На фиг. 1 представлена микрофотография композиции, содержащей низкомолекулярный полиэтилен, гидразин и Реапон-4 В. На фиг. 2 приведена микрофотография предлагаемой присадки. На фиг. 3 приведена принципиальная схема установки для стендовых испытаний расходных характеристик гидравлических сопротивлений. На фиг. 4 - схема рабочего блока установки для стендовых испытаний расходных характеристик гидравлических сопротивлений. На фиг. 5 представлен график зависимости изменения расхода перекачиваемой среды от числа циркуляционных циклов в системе при температуре перекачки 23-25°С и турбулентном режиме течения, где кривая 1 - дизельное топливо (ДТ), кривая 2 - ДТ+присадка M-FLOWTREAT, кривая 3 - ДТ+предлагаемая присадка. Сущность изобретения заключается в следующем. В присадках противотурбулентного действия, как правило, используются высокомолекулярные полимеры, а в вязкостных - низкомолекулярные. В предлагаемой присадке используют низкомолекулярный полиэтилен (НМПЭ), благодаря которому присадка обладает вязкостными свойствами, и наноразмерный оксид алюминия. Роль оксида алюминия по данным физико-химических исследований, заключается в образовании линейных структур за счет ассоциативных связей между частицами оксида алюминия и молекулами НМПЭ. В результате образуются структуры с более длинными цепочками, за счет чего присадка обладает противотурбулентным эффектом. Образование таких структур подтверждается микрофотографиями, полученных с помощью растворного электронного микроскопа JSM-6490LV (фиг. 2). Сравнение фотографий на фиг. 1-2 явно показывает образование линейных агломератов, размеры которых варьируются в диапазоне от 75 до 225 нм, образующихся за счет наличия в составе предлагаемой присадки наноразмерного оксида алюминия. Кроме того, при прохождении нефти с предлагаемой присадкой по трубопроводу через систему местных сопротивлений (насосы, задвижки) линейные структуры присадки, образованные наночастицами оксида алюминия и молекулами НМПЭ, распадаются и далее, в потоке, вновь восстанавливаются, что позволяет присадке сохранять «живучесть» при длительной прокачке. Другими словами, предлагаемая присадка обладает высокой устойчивостью к различным механическим деструкциям, т.е. сохраняет противотурбулентную эффективность. Тогда как противотурбулентные присадки на основе высокомолекулярных полимеров имеют низкую устойчивость к механическим воздействиям вследствие разрушения молекул полимера в потоке и при прохождении через систему местных сопротивлений. В результате эффективность противотурбулентного действия таких присадок снижается, особенно при транспортировке на большие расстояния. Характеристика компонентов присадки. Полиэтилен низкомолекулярный (ТУ 2211-091-05766563-2012, (производство ООО «ТрансХим») - мазе- или воскообразное вещество от светло-серого до коричневого цвета. Динамическая вязкость расплава 20-400 мПа⋅с. В качестве источника наноразмерных частиц оксида алюминия использовали дисперсию оксида алюминия в водном носителе NANOBYK - 3600. Содержание наночастиц составляет 50%. Размер частиц - 40 нм. Для улучшения текучести в заявленной присадке используют гидразин (ГОСТ 19503-88) - бесцветную прозрачную жидкость, растворимую в воде и в спирте в любых соотношениях. Реапон-4В (ТУ 2226-005-10488057) представляет собой прозрачную жидкость без механических примесей от светло-желтого до светло-коричневого цвета. Реапон-4В способствует образованию высокодисперсной системы при растворении присадки. Это позволяет предлагаемой композиции более эффективно распределиться в потоке перекачиваемой среды. Присадку готовят последовательным смешением компонентов при температуре 60-80°С в течение 2-3 часов. Примеры конкретного выполнения Пример 1 В колбу загружают 6,5 г НМПЭ и расплавляют при 70°С. Далее добавляют последовательно 1 г водной дисперсии частиц оксида алюминия, 2 г гидразина и 1 г Реапон-4В. При температуре 70-80°С систему перемешивают 1,5-2 часа. Далее полученную смесь сушат на воздухе. В результате получают присадку, содержащую в масс. %: НМПЭ - 65, гидразин - 20, наноразмерные частицы оксида алюминия - 5, Реапон-4В - 10. Присадка представляет собой порошок светло-серого цвета, хорошо растворимый в различных органических соединениях. Примеры 2-3 Присадки готовят аналогично примеру 1, варьируя содержание компонентов. Пример 4 Присадка приготовлена аналогично примеру 1 без наноразмерного оксида алюминия, при этом массовое соотношение остальных компонентов не изменялось. Для корректного сравнения результатов была синтезирована присадка-прототип по способу, описанному в патенте RU 2453584. В результате получили 10 г присадки, содержащей 20 масс. % компонента А, 10 масс. % компонента Б и 70 масс. % растворителя. Составы полученных присадок представлены в таблице 1. Эффективность действия присадок оценивали по снижению вязкости и гидродинамического сопротивления нефти, нефтяных эмульсий и дизельного топлива. Для этого присадку растворяли в небольшой порции нефти или эмульсии при нагревании и перемешивании до получения стабильной однородной системы. Полученную смесь вводили в исследуемую среду из расчета 50 ppm присадки для исследования вязкостных свойств и 100 ppm - для исследования противотурбулентных. Испытания присадки проводили на нефти Ромашкинского месторождения со следующими характеристиками: Вязкостные свойства присадок оценивали по изменению динамической вязкости нефти и нефтяных эмульсий на ротационном вискозиметре DV-II+Pro и ротационном реометре HaakeRheostressRS 6000 (Германия) при скоростях сдвига в диапазоне от 0,014 с-1 до 30 с-1 и температурном интервале от -10°С до 20°С. По полученным данным рассчитывали эффективность вязкостных свойств присадки Ев (%) по формуле: где μи.с - коэффициент динамической вязкости исследуемой среды, Па⋅с, μи.с+присадка - коэффициент динамической вязкости исследуемой среды с присадкой, Па⋅с. Противотурбулентные свойства присадок оценивали по снижению гидравлического сопротивления (эффект Томса) перекачиваемой среды при 23-25°С на специально разработанной установке для стендовых испытаний расходных характеристик гидравлических сопротивлений в условиях, близких к реальным (патент на полезную модель RU 166259, G01F 25/00, 21.11.2016). Установка включает расходный бак 1 с устройством термостатирования, состоящим из расположенного внутри бака змеевика 2 и внешней рубашки охлаждения 3, рабочую магистраль 4, на которой последовательно расположены задвижка 5, насос 6, измеритель давления 7, расходомер 8, рабочий блок 9 и измеритель давления 10, переливную магистраль 11 с задвижкой 12 и возвратную магистраль 13 с измерителем температуры 14 (фиг. 3). Рабочий блок 9 включает три параллельные рабочие ветки 15, 16, 17 (фиг. 4). Каждая рабочая ветка имеет последовательно расположенные задвижки 18, 19, 20 и змеевики 21, 22, 23. Змеевики 21, 22, 23 имеют разные диаметры, при этом два змеевика 21 и 22 меньших диаметров снабжены внешней рубашкой охлаждения 24. На рабочей магистрали между расходным баком 1 и задвижкой 5 установлена задвижка для слива 25. По полученным результатам рассчитывали эффективность действия противотурбулентных свойств присадки Еп(%) по формуле: где ϑи.с - объемный расход исследуемой среды, м3/ч, ϑи.с+присадка - объемный расход исследуемой среды с присадкой, м3/ч. Также для анализа противотурбулентных свойств была проведена сравнительная оценка эффективности предлагаемой присадки с промышленной противотурбулентной присадкой M-FLOWTREAT производства Миррико Холдинг Лимитед (VG), основу которой составляют высокомолекулярные полимеры высших α-олефинов. В связи с тем, что в источниках информации не было обнаружено описания присадок комплексного вязкостно-противотурбулентного действия дополнительно была приготовлена модельная присадка, представляющая собой композицию из вязкостной и противотурбулентной присадок. Для этого использовали в качестве противотурбулентного реагента присадку M-FLOWTREAT, а в качестве вязкостного реагента - присадку-прототип. Присадку готовили путем смешения расплавов этих присадок при массовом соотношении присадка-прототип: промышленная присадка равном 1:3 (при таком соотношении модельная присадка проявляет наибольшую эффективность). Результаты исследований вязкостных и противотурбулентных свойств присадок представлены в таблицах 2 и 3. Как видно из табличных данных (табл. 2), предлагаемая присадка комплексного действия оказывает значительный эффект на снижение вязкости нефтяных эмульсий. Эффективность ее действия на 25% при 20°С и на 36% при 0°С больше, чем эффективность действия прототипа. Вязкостное действие предлагаемой присадки особенно эффективно при отрицательных температурах. При температуре минус 5°С эффективность ее действия может достигать 80% (пример 1), что существенно выше, чем у прототипа. Это позволяет использовать предлагаемую присадку при транспортировке нефти и нефтепродуктов в осенне-зимний период. Роль наноразмерного оксида алюминия наглядно показана в примере 4. Присадка, не имеющая в своем составе указанный оксид алюминия, проявляет вязкостные свойства, но эффективность ее на ~50% ниже, чем у предлагаемой присадки. Промышленно используемая противотурбулентная присадка M-FLOWTREAT не способствует снижению вязкости углеводородных систем. Модельная присадка так же не способна эффективно снижать вязкость углеводородной системы. Аналогичные результаты были получены при исследовании эффективности действия присадок по снижению вязкости нефти (табл. 3). В таблице 3 так же приведены результаты исследования противотурбулентного действия присадок в зависимости от количества циркуляционных циклов. Анализ табличных данных показывает, что заявляемая присадка комплексного действия оказывает противотурбулентное действие, сравнимое по эффективности с промышленной противотурбулентной присадкой M-FLOWTREAT. Но при этом эффективность предлагаемой присадки сохраняется в течение длительного времени прокачивания нефти (до 80 циклов), что говорит о ее высокой устойчивости к механическим деструкциям при транспортировке. В то время как эффективность противотурбулентной присадки M-FLOWTREAT резко снижается (почти в 2 раза) через 40 циркуляционных циклов, а через 80 циркуляционных циклов эффективность противотурбулентного действия равна нулю, что свидетельствует о низкой устойчивости присадки к механическим деструкциям. Присадка, не имеющая в своем составе наноразмерный оксид алюминия (пример 4), практически не обладает противотурбулентным эффектом при транспортировке нефти. Модельная присадка, состоящая из вязкостной присадки (прототип) и противотурбулентной присадки (M-FLOWTREAT), не работает ни как вязкостная, ни как противотурбулентная. Также были проведены исследования влияния предлагаемой присадки на снижение гидродинамического сопротивления при прокачке дизельного топлива в сравнении с противотурбулентной присадкой M-FLOWTREAT (Фиг. 3). По данным фиг. 3 явно следует, что предлагаемая присадка (кривая 3), способна так же эффективно снижать гидравлическое сопротивление трубопровода, как и присадка M-FLOWTREAT (кривая 2). Однако предлагаемая присадка эффективно прокачивает жидкость до 100 циклов (100 раз проходит через шестеренчатый насос), а присадка M-FLOWTREAT эффективно работает до 60-70 циркуляционных циклов прокачки по трубопроводной системе. Следовательно, предлагаемая присадка обладает более высокой устойчивостью к механическим деструкциям и способна снижать гидравлическое сопротивление трубопроводной системы в течение длительного времени. Таким образом, предлагаемая присадка комплексного действия для транспортировки нефти и нефтепродуктов обладает вязкостными и противотурбулентными свойствами и, кроме того, обладает высокой устойчивостью к различным механическим деструкциям.низкомолекулярный полиэтилен 60-65 гидразин 20-25 указанный оксид алюминия 5-10 Реапон-4В 5-10 
Плотность, кг/м3 893,2 Кинематическая вязкость при 20°С, сСт 39,3 Кинематическая вязкость при 50°С, сСт 10,57 Содержание серы, % вес. 2,28 Содержание асфальтенов, % вес. 4,19 Содержание парафинов, % вес. 2,89 Содержание смол, % вес. 20,57
,
,
