Изобретение относится к области связи и может найти применение в системах связи, в которых используются шумоподобные фазоманипулированные сигналы. Технический результат - повышение пропускной способности системы связи и ее надежности. Способ формирования и обнаружения синхроимпульса шумоподобного сигнала заключается в том, что на передающей стороне формирование псевдослучайной последовательности, с помощью которой модулируется фаза несущей частоты синхроимпульса шумоподобного сигнала, осуществляют сложением по модулю 2 функции Уолша и производящей ее последовательностью, а на приемной стороне решение об обнаружении синхроимпульса шумоподобного сигнала принимают только в том случае, если одновременно зафиксировано превышение значения корреляционной функции, вычисленной коррелятором, значения, выработанного адаптивным определителем уровня шума, и подтверждения формирования синхроимпульса шумоподобного сигнала с помощью функции Уолша. 1 ил.
Способ формирования и обнаружения синхроимпульса шумоподобного сигнала, при котором на передающей стороне формирование псевдослучайной последовательности, с помощью которой модулируется фаза несущей частоты синхроимпульса шумоподобного сигнала, осуществляется сложением по модулю 2 функции Уолша и производящей ее последовательностью, а на приемной стороне решение об обнаружении синхроимпульса шумоподобного сигнала принимается только в том случае, если одновременно зафиксировано превышение значения корреляционной функции, вычисленной коррелятором, значения, выработанного адаптивным определителем уровня шума, и подтверждения формирования синхроимпульса шумоподобного сигнала с помощью функции Уолша.
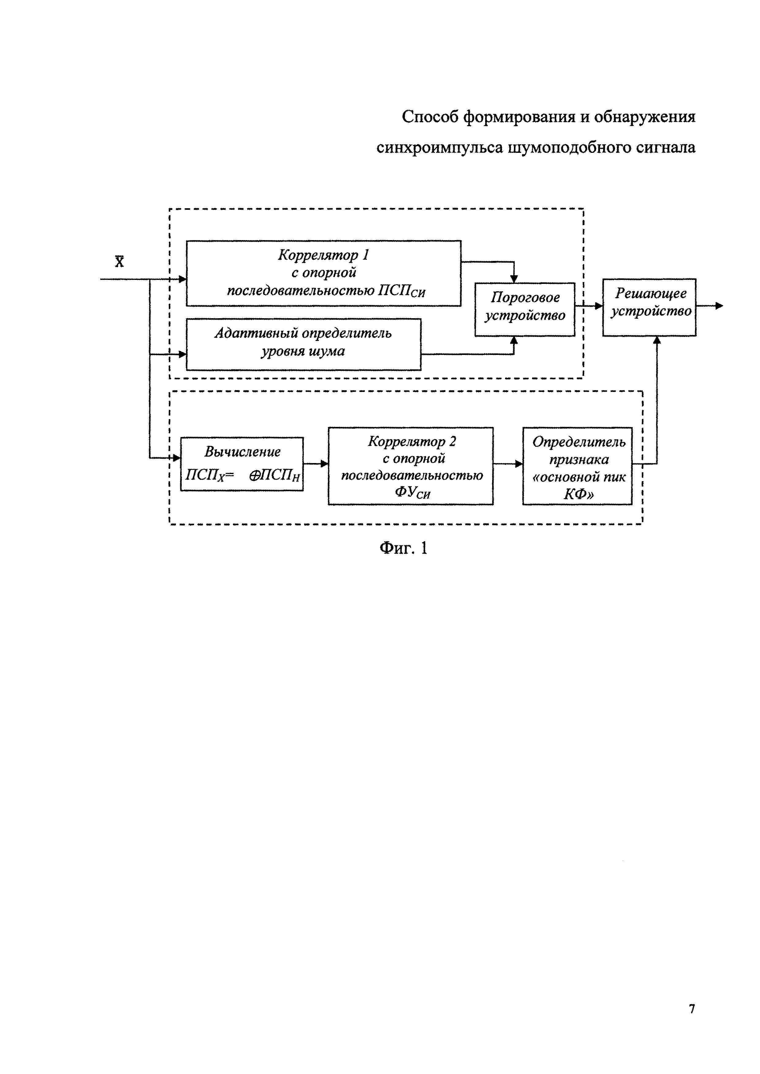
Изобретение относится к области связи и может найти применение в системах связи, в которых используются шумоподобные фазоманипулированные сигналы [Системы связи с шумоподобными сигналами, Варакин Л.Е., М., Радио и связь, 1985 г.]. В системах связи передача информации осуществляется с помощью служебных и информационных элементов. По служебному элементу (синхроимпульсу) шумоподобного сигнала осуществляется его обнаружение. С помощью информационных элементов осуществляется передача информации (Варакин Л.Е. «Системы связи с шумоподобными сигналами». - М: Радио и Связь, 1985 г., стр. 324, рис. 19.1). Модуляция фазы несущей частоты служебных и информационных элементов производится псевдослучайными последовательностями. Обнаружение синхроимпульса фазоманипулированного сигнала осуществляется оптимальным приемником, который состоит из согласованного фильтра (СФ), адаптивного определителя уровня шума и порогового устройства. В основе работы такого обнаружителя лежит вычисление Коррелятором корреляционной функции (КФ) наблюдаемого в данный момент сигнала с последовательностью, которой была модулирована фаза синхроимпульса (ПСПСИ). Адаптивный определитель уровня шума вычисляет порог. При превышении значения корреляционной функции значения вычисленного порога Пороговое устройство фиксирует обнаружение сигнала. В ряде патентов такой способ обнаружения синхроимпульса используется для повышения помехоустойчивости обнаружителя (RU 2310978 С2, H03H 17/00, 20.11.2007; RU 2394365 С2, H03H 17/06, 10.07.2010), увеличения дальности уверенного приема информации (RU 2385542 С2, H04L 27/14, 27.03.2010), для увеличения защищенности РЛС от импульсных помех (RU 2428712 C1, G01S 13/04, 10.09.2011). Недостатком такого обнаружителя, а следовательно, и предлагаемых способов, является то, что при вычислении КФ могут возникать «ложные обнаружения», связанные с: - плохими корреляционными свойствами последовательности ПСПСИ; - наличием на входе приемного устройства внутренних шумов; - увеличением боковых пиков КФ последовательности ПСПСИ за счет внешних помех. Подбор последовательностей ПСПСИ, имеющих хорошие корреляционные свойства (малые боковые пики), существенно сокращает их количество. Уменьшение интенсивности внутренних шумов приемного устройства приводит к ухудшению чувствительности системы связи. Способов борьбы с внешними помехами практически не существует (за исключением повышения мощности сигнала). По «ложному обнаружению» запускается обработка «ложных информационных элементов» сигнала. В одних случаях «ложность обнаружения» удается определить на этапе обработки одного из информационных элементов сигнала. В других случаях «ложность обнаружения» определяется после обработки всех информационных элементов сигнала. Наиболее близким по технической сущности к заявляемому способу является способ борьбы с «ложными обнаружениями» фазоманипулированных сигналов, приведенный в патенте RU 2505934 С1 (H04L 27/233, 27.01.2014), в котором динамически изменяют величину заданного порога решающего устройства в соответствии с определенными параметрами сигнала на выходе согласованного фильтра, для чего производят вычисление среднего Ср и измерение пикового Уп значения сигнала на выходе согласованного фильтра, далее вычисляют значение заданного порога по формуле П=k*(Уп-Ср)+Ср, где k - константа, пропорциональная относительной величине боковых пиков АКФ заданного ШПС. Недостатком данного способа является то, что его реализация требует вычисления Ср и Уп, а затем величины П, что требует определенных аппаратных средств и времени. Кроме того, для каждой ПСП необходима своя величина k, которая должна быть подобрана исходя из величины боковых пиков АКФ выбранной ПСП. Указанное выше техническое решение из-за возникновения «ложных обнаружений» снижает пропускную способность системы связи, ее надежность и требует дополнительных вычислительных ресурсов на обработку «ложных информационных элементов». Технический результат заявленного технического решения заключается в повышении пропускной способности системы связи и ее надежности. Для достижения указанного технического результата предлагается способ формирования и обнаружения синхроимпульса шумоподобного сигнала, при котором на передающей стороне формирование псевдослучайной последовательности (ПСПСИ), с помощью которой модулируется фаза несущей частоты синхроимпульса шумоподобного сигнала, осуществляется сложением по модулю 2 функции Уолша (ФУСИ) и производящей ее последовательностью (ПСПН), а на приемной стороне решение об обнаружении синхроимпульса шумоподобного сигнала принимается только в том случае, если одновременно зафиксировано превышение значения корреляционной функции, вычисленной коррелятором, значения, выработанного адаптивным определителем уровня шума, и подтверждения формирования синхроимпульса шумоподобного сигнала с помощью функции Уолша (ФУСИ). Функционирование способа поясняется на фиг. 1. На передающей стороне модуляция фазы несущей частоты синхроимпульса шумоподобного сигнала осуществляется модулирующей последовательностью: где ФУСИ - функция Уолша, выполняющая роль признака обнаружения сигнала по «основному пику КФ», а ПСПН производящая последовательность, которая делает ФУСИ шумоподобной. На приемной стороне решение об обнаружении принимается только в том случае, если был обнаружен признак «основной пик КФ». Коррелятор 1 вычисляет КФ наблюдаемого в данный момент сигнала с опорной последовательностью ПСПСИ. При превышении значения КФ значения, полученного Адаптивным определителем уровня шума, Пороговое устройство передает в Решающее устройство сигнал «обнаружение». Параллельно осуществляется определение наличия признака «основной пик КФ». Для этого вычисляется Если В Решающем устройстве решение об обнаружении сигнала осуществляется лишь при условии превышения значения КФ значения адаптивного порога и наличия сигнала «истина». При таком способе борьбы с «ложными» обнаружениями вероятность того, что случайно ПСПХ=ФУСИ равна 1/2m, где m - база сигнала. Как видно из фиг. 1, обнаружение ПСПСИ и определение наличия признака «основной пик КФ» осуществляется параллельно работающими однотипными корреляторами. Временная разница в параллельных ветвях определяется только вычислением ПСПХ. На существующей в настоящее время общедоступной элементной базе обнаружение синхроимпульса с базой 256 и определение ФУСИ осуществляется за время 80-120 нс. Увеличение этого времени, связанное с вычислением ПСПХ, составляет 16-32 нс. Такое увеличение не сопоставимо с временем «ложности обнаружения», выявляемым при обработке «ложных информационных элементов», которое составляет сотни мкс. Заявленный способ формирования и обнаружения синхроимпульса шумоподобного сигнала позволяет: - минимизировать время обнаружения сигнала; - улучшить пропускную способность системы связи; - существенно улучшить работу системы связи при воздействии на нее различного рода помех; - увеличить чувствительность системы связи;
, а затем Коррелятором 2, у которого в качестве опорной последовательности используется ФУСИ, определяется идентичность ПСПХ и ФУСИ.
, то Определитель признака «основной пик КФ» посылает в Решающее устройство сигнал «ложь». Если же ПСПХ=ФУСИ то в Решающее устройство посылается сигнал «истина».