патент
№ RU 2595031
МПК E04G15/04

НЕИЗВЛЕКАЕМАЯ ОПАЛУБКА ДЛЯ ИЗГОТОВЛЕНИЯ КОЛОДЦА ПОД АНКЕРНОЕ КРЕПЛЕНИЕ

Авторы:
Лейбман Михаил Евгеньевич Адамцевич Алексей Олегович Пустовгар Андрей Петрович
Все (4)
Номер заявки
2015133008/03
Дата подачи заявки
07.08.2015
Опубликовано
20.08.2016
Страна
RU
Как управлять
интеллектуальной собственностью
Чертежи 
2
Реферат

Изобретение относится к строительству и может быть использовано при проектировании и строительстве жилых, общественных и промышленных зданий, сооружений. Техническим результатом является повышение прочности, жесткости и надежности анкерного крепления. Указанные технические результаты достигаются тем, что опалубка выполнена из металла без дна или с дном с рифлением стенок, под острым углом к вертикали к стенкам прикреплены пересекающие стенки стержни, которые у торцов могут иметь утолщения или изгибы. 2 з.п. ф-лы, 2 ил.

Формула изобретения

1. Неизвлекаемая опалубка для изготовления колодца под анкерное крепление, состоящая из стенки и дна, отличающаяся тем, что опалубка выполнена из металла с рифлениями боковой поверхности, под острым углом к вертикали к ней прикреплены пересекающие боковую поверхность арматурные стержни.

2. Неизвлекаемая опалубка по п. 1, отличающаяся тем, что у торцов стержня утолщения.

3. Неизвлекаемая опалубка по п. 1, отличающаяся тем, что у торцов стержни изогнуты.

Описание

[1]

Изобретение относится к строительству и может быть использовано при проектировании и строительстве жилых, общественных и промышленных зданий, сооружений.

[2]

Известна опалубка для изготовления колодца под анкер(авторское свидетельство на изобретение №987058), состоящая из рулонного материала с крепежными элементами.

[3]

Недостатком известной конструкции является невозможность образования шпонок между бетонами заполнения колодца и фундамента после извлечения опалубки, отсутствие стержней, пересекающих возможные направления развития трещин при работе анкерного крепления.

[4]

Технической задачей является повышение прочности, жесткости и надежности анкерного крепления.

[5]

Поставленная задача решается тем, что опалубка выполнена из металла без дна или с дном с рифлением стенок, под острым углом к вертикали к стенкам прикреплены пересекающие стенки стержни, которые у торцов могут иметь утолщения или изгибы.

[6]

Образующиеся после установки в колодец анкера и бетонирования колодца шпонки делают предсказуемым работу анкерного крепления, повышают прочность, жесткость и надежность. Арматурные стержни, кроме того, препятствуют раскрытию трещин. Утолщения и изгибы у торцов арматурных стержней способствуют их анкеровке в бетоне.

[7]

Конструкция поясняется чертежами.

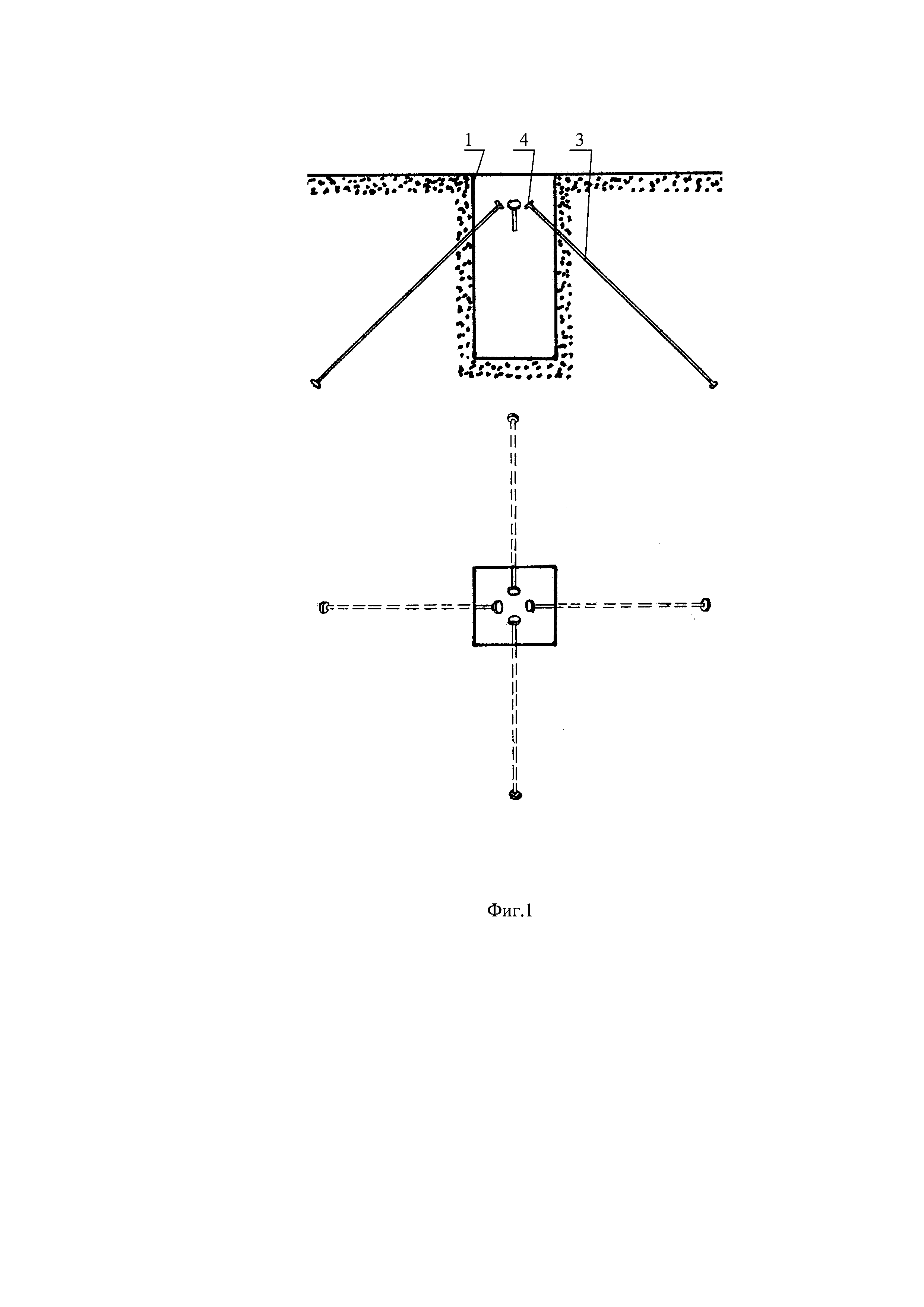
[8]

На фиг. 1 представлены поперечное сечение 1-1 опалубки без рифления стенок со стержнями и вид сверху.

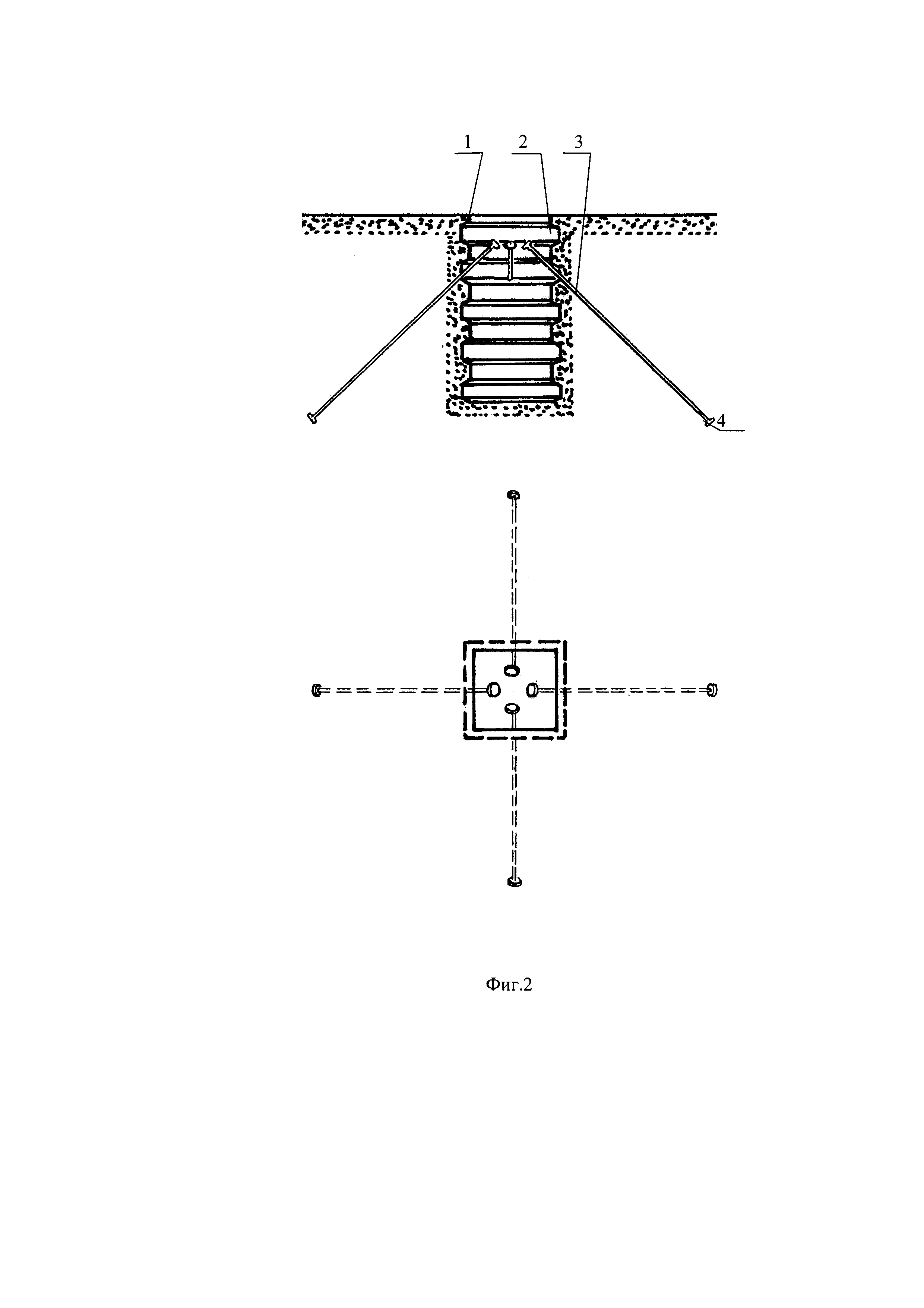
[9]

На фиг. 2 представлено поперечное сечение 1-1 опалубки с рифлением стенок со стержнями и вид сверху.

[10]

Опалубка для изготовления колодца под анкер состоит из стенок 1 с рифлениями 2 или без рифления боковой поверхности, под острым углом к вертикали прикрепленных к стенкам пересекающих боковую поверхность арматурных стержней 3, которые у торцов могут иметь утолщения 4 или изгибы.

Как компенсировать расходы
на инновационную разработку
Похожие патенты