патент
№ RU 2667242
МПК E21B43/16

Способ разработки нефтяного пласта скважиной с горизонтальным окончанием

Авторы:
Оснос Владимир Борисович
Номер заявки
2017136227
Дата подачи заявки
12.10.2017
Опубликовано
18.09.2018
Страна
RU
Как управлять
интеллектуальной собственностью
Чертежи 
1
Реферат

Изобретение относится к нефтедобывающей промышленности и может найти применение при разработке неоднородных терригенных или карбонатных продуктивных пластов скважинами с горизонтальным окончанием. Технический результат - повышение эффективности способа за счет повышения его технологичности и удешевления, обеспечения возможности производства спуска, ремонта и обслуживания спущенных конструктивных элементов. По способу выделяют участки в виде интервалов продуктивного пласта с профилем притока, отличающимся друг от друга по удельному дебиту нефти на 20% и более. Разделяют участки пакерами. Осуществляют спуск в скважину насоса и отбор продукции скважины из каждого участка с поддержанием одинаковой обводненности на участках. При этом бурят горизонтальные окончания скважин или выбирают горизонтальные скважины так, чтобы их наиболее продуктивные участки в горизонтальных скважинах располагались последовательно ближе к забою. По мере обводнения продукции наиболее обводненные и продуктивные участки последовательно от забоя отсекают проходными пакерами с регулируемыми клапанами и/или жиклерами, позволяющими поддерживать одинаковую обводненность продукции по всей длине горизонтального окончания скважины при добыче одним насосом, располагаемым над ближним к устью из установленных пакеров. За счет клапанов и/или жиклеров пакеров уменьшают отборы высокопродуктивных участков и выравнивают фронт заводнения около горизонтального окончания скважины, чем удлиняют эксплуатацию скважины в заданном режиме для обеспечения отбора дополнительной продукции. 1 ил.

Формула изобретения

Способ разработки нефтяного пласта скважиной с горизонтальным окончанием, включающий бурение или выбор уже пробуренных горизонтальных скважин, выделение участков в виде интервалов продуктивного пласта с профилем притока, отличающимся друг от друга по удельному дебиту нефти на 20% и более, разделение участков пакерами, спуск в скважину насоса и отбор продукции скважины из каждого участка с поддержанием одинаковой обводненности на участках, отличающийся тем, что бурят горизонтальные окончания скважин или выбирают горизонтальные скважины так, чтобы их наиболее продуктивные участки в горизонтальных скважинах располагались последовательно ближе к забою, по мере обводнения продукции наиболее обводненные и продуктивные участки последовательно от забоя отсекают проходными пакерами с регулируемыми клапанами и/или жиклерами, позволяющими поддерживать одинаковую обводненность продукции по всей длине горизонтального окончания скважины при добыче одним насосом, располагаемым над ближним к устью из установленных пакеров, причем за счет клапанов и/или жиклеров пакеров уменьшают отборы высокопродуктивных участков и выравнивают фронт заводнения около горизонтального окончания скважины, чем удлиняют эксплуатацию скважины в заданном режиме для обеспечения отбора дополнительной продукции.

Описание

[1]

Изобретение относится к нефтедобывающей промышленности и может найти применение при разработке неоднородных терригенных или карбонатных продуктивных пластов скважинами с горизонтальным окончанием.

[2]

Известен способ разработки массивной залежи нефти (патент RU №2443854, МПК Е21В 43/20, Е21В 34/08, опубл. 27.02.2012 в бюл. №6), включающий исследование свойств пласта, бурение нагнетательных скважин и разветвленной добывающей скважины с горизонтальными участками, закачку вытесняющего агента в нагнетательные скважины и отбор продукции через добывающую скважину, при этом два горизонтальных участка добывающей скважины располагают друг над другом в пределах одного продуктивного пласта, проводят исследования горизонтальных участков на продуктивность каждого, после чего между горизонтальными участками устанавливают регулируемый от давления клапан со сменным жиклером в проходном канале, отбор из добывающей скважины осуществляют одним насосом, установленным выше клапана с производительностью больше продуктивности верхнего горизонтального участка, но меньше продуктивности двух участков, при этом клапан выполнен с возможностью разобщения горизонтальных участков при превышении уровнем жидкости в скважине выше максимально допустимого значения, сообщения снизу вверх горизонтальных участков при снижении уровня жидкости ниже минимально допустимого.

[3]

Недостатками данного способа являются:

[4]

- узкая область применения из-за реализации без учета зональной неоднородности только в пластах массивного типа;

[5]

- высокая стоимость реализации из-за необходимости использования двух горизонтальных участков скважины.

[6]

Известен также способ разработки нефтяного пласта скважиной с горизонтальным окончанием (патент RU №2590918, МПК Е21В 43/16, Е21В 43/12, Е21В 43/25, опубл. 10.07.2016 в бюл. №19), включающий бурение или выбор уже пробуренной горизонтальной скважины, выделение по горизонтальному стволу интервалов продуктивного пласта, различающихся по свойствам, спуск в скважину колонны насосно-компрессорных труб с пакером, разделение интервалов продуктивного пласта пакером, спуск в скважину насоса, регулирующих устройств в виде электрических клапанов и манометров-термометров, подъем продукции на поверхность насосом по внутритрубному пространству, при этом предварительно между интервалами продуктивного пласта устанавливают оборудование локального крепления скважины, в скважину спускают компоновку, состоящую из пакера, колонны насосно-компрессорных труб, корпуса клапанного оборудования с расположенными в нем нижним электрическим клапаном для регулирования притока по колонне насосно-компрессорных труб, манометром-термометром для замера давления в колонне насосно-компрессорных труб перед корпусом, верхним электрическим клапаном для регулирования притока из затрубного пространства в полость корпуса, манометром-термометром для замера давления в затрубном пространстве и манометром-термометром для замера давления всасывания насоса, и колонны насосно-компрессорных труб до устья скважины, проводят освоение скважины в три этапа с отбором продукции по колонне насосно-компрессорных труб и затрубному пространству, только по колонне насосно-компрессорных труб и затем только по затрубному пространству, анализируют результаты замеров дебитов и обводненности продукции, эксплуатируют интервал скважины с меньшей обводненностью при остановке эксплуатации интервала с большей обводненностью при начальном повышенном дебите до снижения забойного давления и уровня жидкости ниже оптимального и при последующем рабочем дебите с поддержанием стабильным забойного давления, скважину эксплуатируют до превышения обводненности продукции из эксплуатируемого интервала обводненности продукции из второго интервала и затем эксплуатируют оба интервала одновременно, поддерживают обводненность обоих интервалов на одинаковом уровне.

[7]

Недостатками данного способа являются:

[8]

- сложность установки и ремонта из-за большого количества технически и технологически сложных взаимосвязанных конструктивных элементов, устанавливаемых в скважине, а при неисправности одного из элементов необходимо извлечение всей конструкции с остановкой добычи из скважины;

[9]

- сложное управление из-за необходимости согласованного управления как насосом, так и клапанами;

[10]

- большие временные и материальные затраты на изготовление, спуск и ремонт конструктивных элементов при реализации способа.

[11]

Наиболее близким является способ разработки нефтяного пласта скважинами с горизонтальным окончанием (патент RU №2540720, МПК Е21В 43/16, опубл. 10.02.2015 в бюл. №4), включающий бурение или выбор уже пробуренных горизонтальных скважин, выделение участков в виде интервалов продуктивного пласта, спуск в скважину насоса, разделение участков пакерами и отбор продукции скважины из каждого участка, при этом при разработке терригенного или карбонатного пласта предварительно в горизонтальном стволе скважины определяют профиль притока, выявляют участки с профилем притока, отличающиеся друг от друга по удельному дебиту нефти на 20% и более, в местах изменения профиля притока устанавливают пакеры, в центр каждого участка спускают на колонне труб один насос при максимальном расстоянии между насосами в горизонтальном стволе не более 200 м, насосы размещают последовательно на одной колонне труб, каждый последующий насос от конца горизонтального ствола к его началу выбирают из условия обеспечения дебита жидкости не менее суммы дебитов жидкости предыдущих насосов.

[12]

Недостатками данного способа являются:

[13]

- сложность установки и ремонта из-за большого количества насосов, устанавливаемых в скважине, а при неисправности одного из насосов необходимо извлечение всей конструкции с остановкой добычи из скважины;

[14]

- сложное управление из-за необходимости согласованного управления насосами;

[15]

- большие временные и материальные затраты на изготовление, спуск и ремонт насосов при реализации способа.

[16]

Технической задачей предполагаемого изобретения является создание дешевого и технологичного способа разработки нефтяного пласта скважиной с горизонтальным окончанием, позволяющего производить спуск, ремонт, обслуживание спущенных конструктивных элементов.

[17]

Техническая задача решается способом разработки нефтяного пласта скважиной с горизонтальным окончанием, включающим бурение или выбор уже пробуренных горизонтальных скважин, выделение участков в виде интервалов продуктивного пласта с профилем притока, отличающихся друг от друга по удельному дебиту нефти на 20% и более, разделение участков пакерами, спуск в скважину насоса и отбор продукции скважины из каждого участка с поддержанием одинаковой обводненности на участках, причем за счет клапанов и/или жиклеров пакеров уменьшают отборы высокопродуктивных участков и выравнивают фронт заводнения около горизонтального окончания скважины, чем удлиняют эксплуатацию скважины в заданном режиме для обеспечения отбора дополнительной продукции.

[18]

Новым является то, что бурят горизонтальные окончания скважин или выбирают горизонтальные скважины так, чтобы их наиболее продуктивные участки в горизонтальных скважинах располагались последовательно ближе к забою, по мере обводнения продукции наиболее обводненные и продуктивные участки последовательно от забоя отсекают проходными пакерами с регулируемыми клапанами и/или жиклерами, позволяющими поддерживать одинаковую обводненность продукции по всей длине горизонтального окончания скважины при добыче одним насосом, располагаемым над ближним к устью из установленных пакеров.

[19]

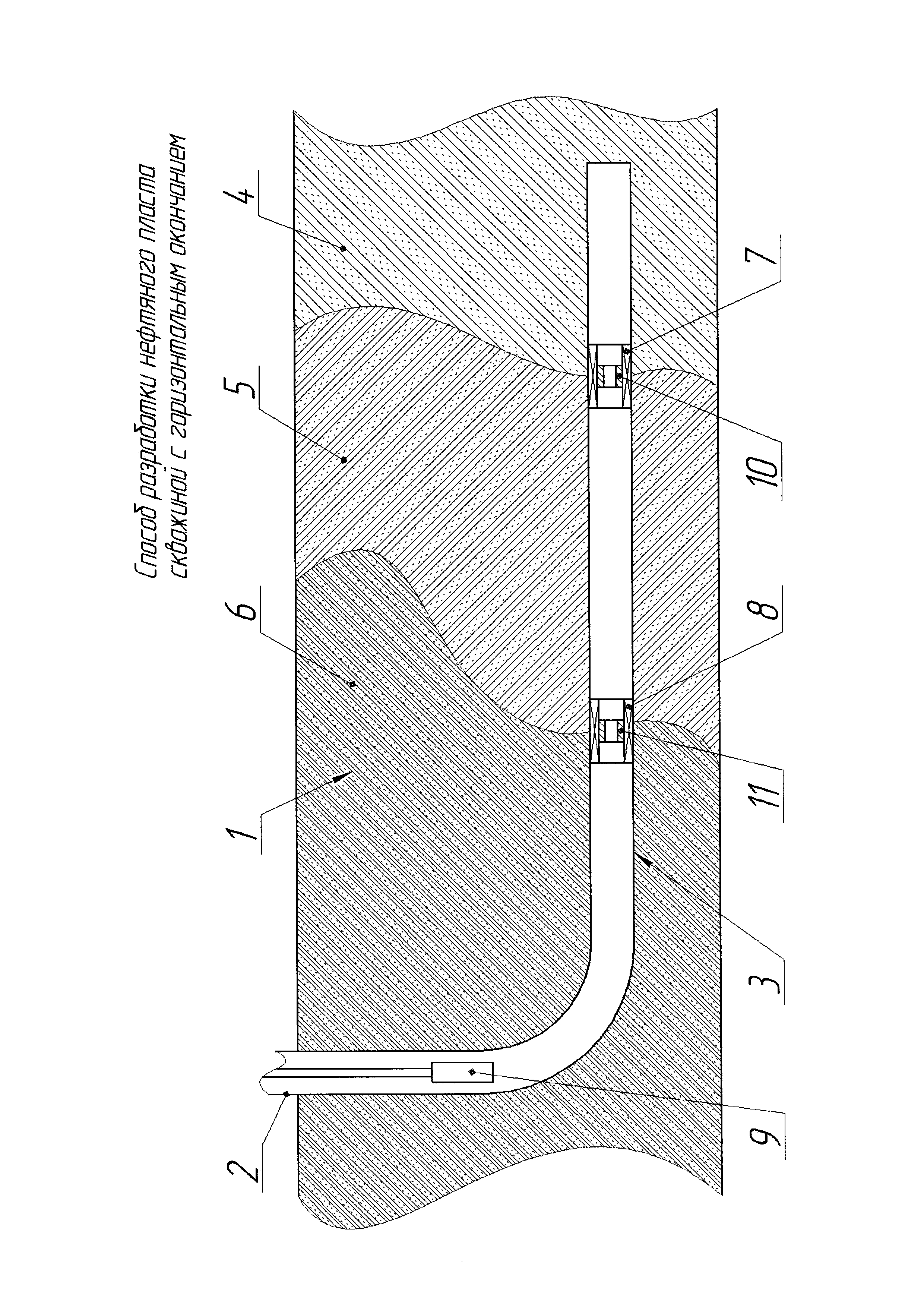
На чертеже изображена схема реализации способа.

[20]

Способ реализуется следующим образом.

[21]

Способ разработки нефтяного пласта 1 скважиной 2 с горизонтальным окончанием 3 включает бурение или выбор уже пробуренных горизонтальных скважин 2, выделение участков 4, 5 и 6 в виде интервалов продуктивного пласта 1 с профилем притока, отличающихся друг от друга по удельному дебиту нефти на 20% и более, разделение участков пакерами 7 и 8, спуск в скважину 2 насоса 9 и отбор продукции скважины 1 из каждого участка 4, 5 и 6 с поддержанием одинаковой обводненности на этих участках 4, 5 и 6. При этом бурят горизонтальные окончания 3 скважины 2 или выбирают горизонтальные скважины 2 так, чтобы их наиболее продуктивные участки 4 и 5 (продуктивность участка 4 выше участка 5, а участка 5 - участка 6) в горизонтальных окончаниях 3 скважин 2 располагались последовательно ближе к забою скважины 2. По мере обводнения продукции (более 90%) наиболее обводненные и продуктивные участки сначала 4, а потом и 5 последовательно от забоя отсекают проходными пакерами 7 и 8 соответственно с регулируемыми и съемными клапанами и/или жиклерами 10 и 11 (показаны условно), позволяющими поддерживать одинаковую обводненность продукции за счет регулируемого отбора по всей длине горизонтального окончания 3 скважины 2 при добыче одним насосом 9, располагаемым над ближним к устью из установленных пакеров - пакера 7 сначала, а потом пакера 8. Регулируемое уменьшение отбора благодаря клапанам и/или жиклерам 10 и 11 пакеров 7 и 8 из высокопродуктивных участков 4 или 4 и 5 приводит к выравниванию фронта заводнения около горизонтального окончания 3 скважины 2 и более длительной эксплуатации скважины 2 в рентабельном режиме, без отсечения участков 4 или 4 и 5 и без проведения в них водоизоляционных работ, что экономит материальные и временные затраты, а отбор продукции из горизонтального окончания 3 скважины 2 позволяет добыть дополнительные объемы продукции нефтяного пласта 1. Регулируемые клапаны и/или жиклеры 10 и 11 могут изготавливаться по любой из известных конструкций (см патенты RU №№2441141, 2443854 или т.п.). При выходе из строя или при необходимости регулировки клапанов и/или жиклеров 10 и 11 их извлекают известными труболовками (см. патенты RU №№45769, 43577, 40379 или т.п.) после извлечения насоса 9 и заменяют на клапаны и/или жиклеры 10 и 11 с требуемой пропускной способностью (определяется эмпирическим путем), с последующей установкой на место. Чаще всего выходят из строя насосы 9, но их извлечение, ремонт и замена происходят в штатном режиме, как и при эксплуатации скважин 2 без установленных пакеров 7 и 8.

[22]

Предлагаемый способ разработки нефтяного пласта скважиной с горизонтальным окончанием наиболее экономически и технологически эффективен, при этом позволяет производить стандартный, технологически несложный процесс спуска, ремонт, обслуживание спущенных конструктивных элементов.

Как компенсировать расходы
на инновационную разработку
Похожие патенты