патент
№ RU 2458027
МПК C05F3/00

СПОСОБ ПРОИЗВОДСТВА ГРАНУЛИРОВАННЫХ ОРГАНО-МИНЕРАЛЬНЫХ УДОБРЕНИЙ ИЗ ОРГАНИЧЕСКИХ ОТХОДОВ И УСТРОЙСТВО ДЛЯ ЕГО ОСУЩЕСТВЛЕНИЯ

Авторы:
Талеева Елена Владимировна Мотовилова Любовь Викторовна Тамурка Виталий Григорьевич
Все (12)
Номер заявки
2011102469/13
Дата подачи заявки
24.01.2011
Опубликовано
10.08.2012
Страна
RU
Как управлять
интеллектуальной собственностью
Чертежи 
2
Реферат

[60]

Изобретение относится к сельскому хозяйству. Способ производства гранулированного органо-минерального удобрения из органических отходов, который включает подачу компонентов смеси, удаление механических примесей, перемешивание с добавлением минеральных компонентов, измельчение, обеззараживание, гомогенизацию, гранулирование и сушку, причем измельчение, обеззараживание, гомогенизацию и гранулирование проводят одновременно на обогреваемых вальцах непрерывного действия с пропусканием перерабатываемой массы через формующие кольца вальцев и резкой на гранулы, а сушку проводят в обогреваемой вакуумной сушилке непрерывного действия в вакуумно-импульсных режимах. Изобретение позволяет сократить время проведения технологического цикла получения гранулированных органо-минеральных удобрений при одновременном повышении эксплуатационных свойств полученных гранул. 2 н. и 7 з.п. ф-лы, 3 ил.

Формула изобретения

1. Способ производства гранулированного органо-минерального удобрения из органических отходов, включающий подачу компонентов смеси, удаление механических примесей, перемешивание с добавлением минеральных компонентов, измельчение, обеззараживание, гомогенизацию, гранулирование и сушку, отличающийся тем, что измельчение, обеззараживание, гомогенизацию и гранулирование проводят одновременно на обогреваемых вальцах непрерывного действия с пропусканием перерабатываемой массы через формующие кольца вальцев и резкой на гранулы, а сушку проводят в обогреваемой вакуумной сушилке непрерывного действия в вакуумно-импульсных режимах.

2. Способ по п.1, отличающийся тем, что перед перемешиванием компонентов смеси их обезвоживают отжимом свободной влаги на ленточном транспортере с поджимными валками с применением режимов вакуумно-импульсного воздействия.

3. Способ по п.2, отличающийся тем, что после отжима дополнительно удаляют свободную влагу вакуумно-импульсным прососом нагретого газового теплоносителя через слой компонентов смеси.

4. Способ по п.1, отличающийся тем, что при перемешивании компонентов смеси добавляют органические добавки.

5. Способ по п.1, отличающийся тем, что сушку гранул в обогреваемой вакуумной сушилке непрерывного действия производят до влажности, не превышающей 20%.

6. Устройство для производства гранулированного органо-минерального удобрения из органических отходов, включающее средства для подачи компонентов смеси, удаления механических примесей, перемешивания, измельчения, обеззараживания, гомогенизации, гранулирования и сушки, отличающееся тем, что средства измельчения, обеззараживания, гомогенизации и гранулирования выполнены в виде одних или нескольких параллельно установленных обогреваемых горизонтальных вальцев, размещенных после средства перемешивания и имеющих торцевые формующие кольца с ножами на границе для резки гранул в размер, а средство для сушки выполнено в виде обогреваемой вакуумной сушилки непрерывного действия, соединенной трубопроводом с быстродействующими клапанами с ресивером и вакуумным насосом.

7. Устройство по п.6, отличающееся тем, что оно дополнительно содержит средство для предварительного измельчения компонентов смеси, установленное после средства удаления механических примесей.

8. Устройство по п.6, отличающееся тем, что оно снабжено средством обезвоживания, установленным перед средством перемешивания и выполненным в виде ленточного вакуум-фильтра с поджимными валками, соединенного трубопроводом с быстродействующими клапанами с ресивером и вакуумным насосом.

9. Устройство по п.8, отличающееся тем, что оно содержит дополнительное средство обезвоживания, выполненное в виде ленточного вакуум-фильтра с поджимными валками, соединенного с подогреваемым источником газового теплоносителя с одной стороны и трубопроводом с быстродействующими клапанами с ресивером и вакуумным насосом с противоположной стороны для прососа теплоносителя.

Описание

[1]

Изобретение относится к сельскому хозяйству, а именно к переработке органических отходов (животноводческих и птицеводческих предприятий, бытовых и производственных сточных вод, соломы, торфа и других органических веществ), и может быть использовано для получения органо-минеральных удобрений в виде гранул.

[2]

Известен способ получения гранулированного органо-минерального удобрения (РФ №2198152, C05F 3/00, 14.06.2000 г.), согласно которому полужидкий навоз, влагопоглощающий материал, наполнитель и минеральные добавки дозированно подают в смеситель, смешивают, затем полученную массу гранулируют в барабане. Влажность гранулируемой органо-минеральной смеси 55-60%. После гранулирования органо-минеральные удобрения обеззараживают биотермическим путем.

[3]

Недостатками данного способа являются: низкая производительность оборудования из-за отсутствия принудительной сушки полученных гранул; недостаточное воздействие на влагопоглощающие материалы с целью их глубокой пропитки компонентами жидкого навоза и минеральных добавок; отсутствие возможности получения калиброванных гранул одинакового размера.

[4]

Известна поточная линия для переработки агропромышленных отходов для получения органических или комплексных органо-минеральных удобрений (РФ №2118631, C05F 3/06, 10.09.1998 г.). Влажные отходы агропромышленного комплекса загружаются в накопительную емкость, оттуда они транспортером дозируются в смеситель. Полученная масса поступает в сушильную камеру, куда подают газ-теплоноситель, который обезвоживает и обеззараживает влажные отходы. В сушильной камере происходит дробление, разрушение, диспергирование крупных включений отходов.

[5]

Недостатком этой линии является то, что она предназначена только для переработки отходов агропромышленных комплексов, громоздка и требует длительного процесса сушки.

[6]

Известны способ производства гранулированных органо-минеральных удобрений из органических отходов и установка для его осуществления (РФ №2135437, C05F 3/00, 3/06, 27.08.1999 г.), где перемешивание, измельчение, перемещение, гомогенизация органических отходов происходит путем воздействия на смесь электрогидравлическими разрядами, циклически перемещающимися по длине аппарата. Обезвоживание и гранулирование перерабатываемой массы происходит после проведения перечисленных выше операций.

[7]

Установка для осуществления данного способа включает средства для удаления механических примесей, подачи компонентов смеси, перемешивания, измельчения, перемещения, гомогенизации, обезвоживания и гранулирования, где средства перемешивания, измельчения, гомогенизации и перемещения выполнены в виде электрогидравлической камеры, в корпусе которой для обеспечения циклического перемещения электрических разрядов по его длине размещен ряд парных электродов, а на выходе из камеры расположены средства обезвоживания и гранулирования.

[8]

Однако электрические разряды, как известно, инициируют возникновение разнообразных неконтролируемых химических процессов и, как следствие, появление широкого спектра различных веществ, вплоть до ядовитых, что может сказаться на качестве удобрения.

[9]

Наиболее близким к заявленному изобретению, по количеству сходных признаков и по решаемой технической задаче, является изобретение на способ получения гранул из органических отходов и установка для его осуществления (а.с. СССР №641871, C05F 3/00, 13.11.1974 г.). В способе из органических отходов удаляют механические примеси, перемешивают, измельчают, после чего, гранулируют экструдированием с образованием прутков и последующим их обламыванием в результате свободного падения на транспортер. Сушку гранул осуществляют горячими газами сначала на колеблющемся перфорированном лотке с последующей выдержкой гранул в бункере, а затем продолжают сушку на неподвижном перфорированном лотке с последующим их охлаждением.

[10]

Данный способ реализуется в устройстве, включающем средства для удаления механических примесей, перемешивания, измельчения, гранулирования и сушки горячими газами. Для гранулирования используют средство, выполненное в виде шнекового экструдера с фильерой, под которым размещен транспортер, а средство для сушки горячими газами выполнено в виде колеблющегося и неподвижного перфорированных лотков, имеющих наклонное днище, под которыми установлены патрубки для подачи горячего воздуха. Между лотками размещен бункер для выдержки гранул, а к концу неподвижного лотка подведен патрубок для подачи холодного воздуха.

[11]

Данное изобретение имеет длительный технологический цикл, связанный с многооперационностью процессов, что требует больших производственных площадей и высоких энергетических затрат. Кроме того, полученные гранулы неоднородны по размеру, что вызвано их самопроизвольным формированием, и не обеспечивают необходимых эксплуатационных свойств (прочность, степень обеззараживания).

[12]

Технической задачей предлагаемого изобретения является сокращение времени проведения технологического цикла получения гранулированных органо-минеральных удобрений путем совмещения отдельных операций при одновременном повышении эксплуатационных свойств полученных гранул.

[13]

Поставленная задача решается тем, что в способе производства гранулированных органо-минеральных удобрений из органических отходов, включающем подачу компонентов смеси, удаление механических примесей, перемешивание с добавлением минеральных компонентов, измельчение, обеззараживание, гомогенизацию, гранулирование и сушку, согласно изобретению, процессы измельчения, обеззараживания, гомогенизации и гранулирования проводят одновременно на обогреваемых вальцах непрерывного действия с пропусканием перерабатываемой массы через формующие кольца вальцев и резкой на гранулы, а сушку проводят в обогреваемой вакуумной сушилке непрерывного действия в вакуумно-импульсных режимах.

[14]

Для удаления свободной влаги из компонентов смеси перед перемешиванием производят их обезвоживание отжимом на ленточном транспортере с поджимными валками с применением режимов вакуумно-импульсного воздействия.

[15]

При большей влажности исходных компонентов дополнительно удаляют свободную влагу вакуумно-импульсным прососом нагретого газового теплоносителя через слой компонентов смеси.

[16]

Добавляют органические добавки (гуминовые препараты, торф, древесные опилки и др.) в смесь при перемешивании. Добавка гуминовых препаратов обусловлена необходимостью детоксикации.

[17]

Сушку гранул в обогреваемой вакуумной сушилке непрерывного действия желательно производить до влажности, не превышающей 20%.

[18]

Предлагаемое устройство для осуществления способа, включающее средства для подачи компонентов смеси, удаления механических примесей, перемешивания, измельчения, обеззараживания, гомогенизации, гранулирования и сушки, согласно изобретению, снабжено средствами измельчения, обеззараживания, гомогенизации и гранулирования, выполненными в виде одних или нескольких параллельно установленных обогреваемых горизонтальных вальцев, размещенных после средства перемешивания и имеющих торцевые формующие кольца с ножами на границе для резки гранул в размер, а средство для сушки выполнено в виде обогреваемой вакуумной сушилки непрерывного действия, соединенной трубопроводом с быстродействующими клапанами с ресивером и вакуумным насосом.

[19]

При необходимости устройство дополнительно содержит средство для предварительного измельчения компонентов смеси, установленное после средства удаления механических примесей.

[20]

Для обезвоживания исходных компонентов смеси устройство, перед средством перемешивания, может быть снабжено ленточным вакуум-фильтром с поджимными валками (расположенными над и под фильтрующим полотном) и соединенным трубопроводом с быстродействующими клапанами с ресивером и вакуумным насосом.

[21]

А для отжима сильно влажных отходов оно содержит дополнительное средство обезвоживания, расположенное после основного средства обезвоживания, выполненное в виде ленточного вакуум-фильтра с поджимными валками, соединенное с подогреваемым источником газового теплоносителя с одной стороны и трубопроводом с быстродействующими клапанами с ресивером и вакуумным насосом с противоположной стороны для прососа теплоносителя.

[22]

Такая совокупность существенных признаков позволяет совместить проведение указанных операций, исключив необходимость в отдельном оборудовании для измельчения, обеззараживания, гомогенизации и гранулирования.

[23]

Так сушка производится на обогреваемых вальцах непрерывного действия при интенсивных сдвиговых деформациях, воздействии импульсов давления и разогрева перерабатываемого удобрения за счет диссепации и в вакуумной сушилке в режимах термо вакуумно-импульсного воздействия. При большой влажности исходных компонентов смеси предварительно производят удаление основного количества свободной влаги прососом нагретого газового теплоносителя термо вакуумно-импульсными режимами.

[24]

Обеззараживание производится в смесителе на обогреваемых непрерывных вальцах и вакуумной сушилке в термо вакуумно-импульсных режимах.

[25]

Гомогенизация протекает в смесителе на валках при интенсивных сдвиговых деформациях.

[26]

Проведение процесса сушки в вакуумно-импульсных режимах приводит к резкому снижению влажности удобрения при создании вакуумного импульса в связи с вскипанием ее в глубинных слоях и миграции на поверхность с последующим удалением нагревом удобрения теплоносителем, что приводит к ускорению процесса.

[27]

Кроме того, режимы термо вакуумно-импульсного воздействия повышают эффективность процессов обеззараживания, гомогенизации, что повышает агрохимические свойства гранул.

[28]

Таким образом, способ производства гранулированного органо-минерального удобрения и устройство для его осуществления обеспечивают в своей совокупности существенных признаков новые технические свойства, не присущие техническим решениям, известным из уровня техники.

[29]

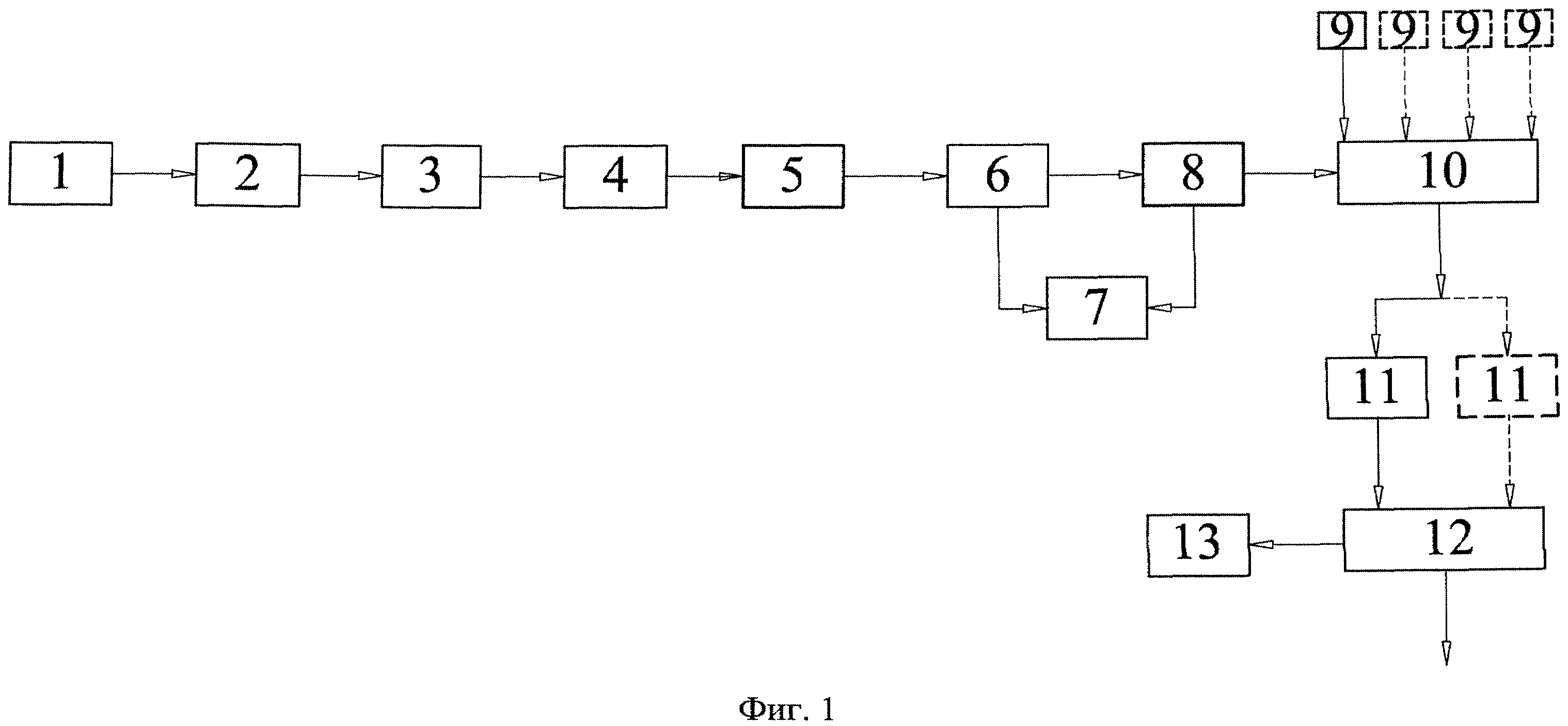
На чертежах представлены:

[30]

фиг.1 - общая схема устройства, для производства гранулированных органо-минеральных удобрений;

[31]

фиг.2 (а, б) - средства обезвоживания (основное и дополнительное);

[32]

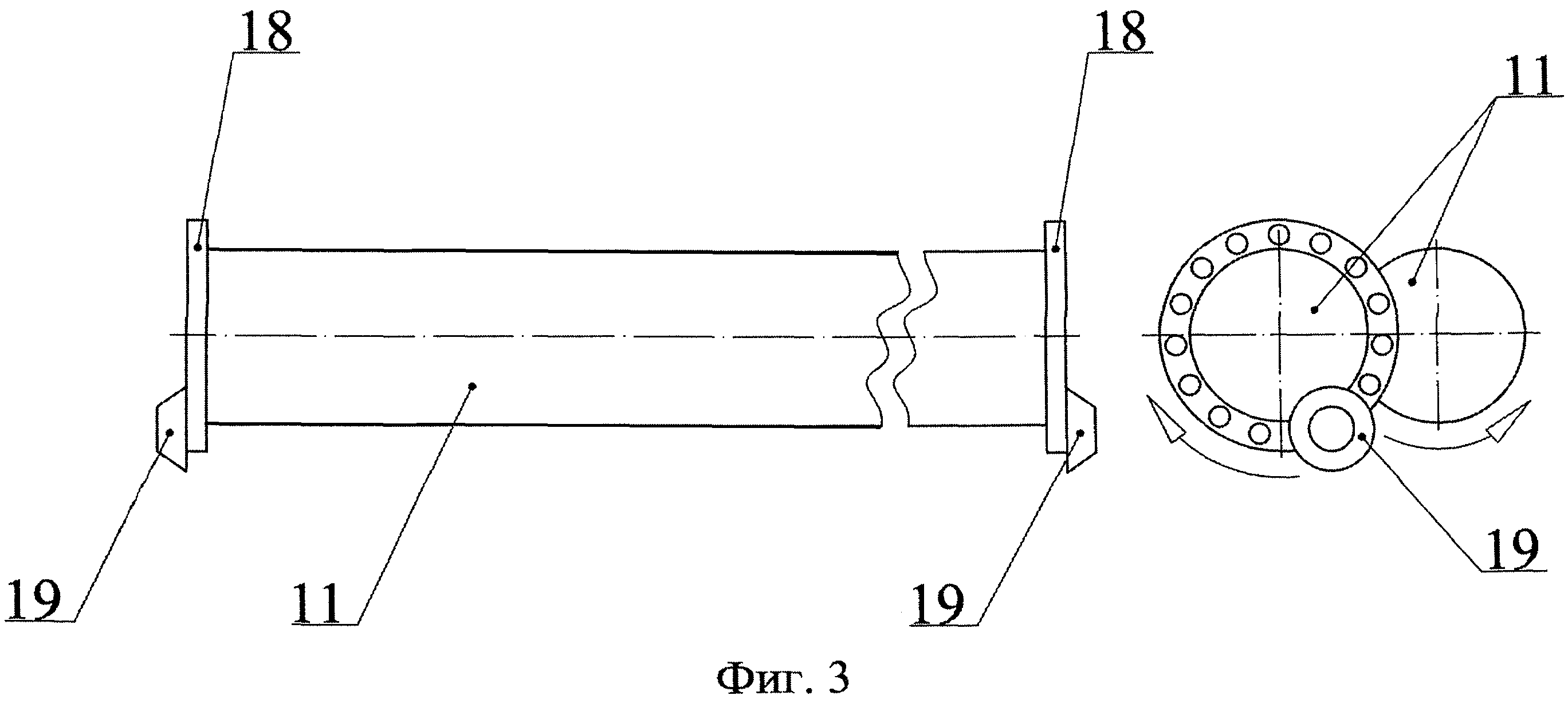
фиг.3 - вальцы.

[33]

Устройство производства гранулированного органо-минерального удобрения из органических отходов (фиг.1) состоит из:

[34]

- бункера-накопителя 1;

[35]

- ленточного транспортера 2, обеспечивающего равномерную подачу компонентов сырья;

[36]

- магнитного сепаратора 3;

[37]

- камнеотделителя 4;

[38]

- механического измельчителя-дезинтегратора 5 (при необходимости);

[39]

- средства обезвоживания 6, представляющего собой (фиг.2а) ленточный вакуумный фильтр 6, снабженный поджимными валками 14, расположенными над и под фильтрующим полотном 15, вакуумными камерами 16, которые соединены с установкой вакуумно-импульсного воздействия 7;

[40]

- средств вакуумно-импульсного воздействия 7, 13, состоящих из вакуумного насоса, ресивера, быстродействующих клапанов и трубопроводов;

[41]

- дополнительного средства обезвоживания 8 (при необходимости), конструктивно выполненного аналогично средству обезвоживания 6 и снабженного (фиг.2б) устройством подачи горячего газового теплоносителя 17 над фильтрующим полотном. Средства обезвоживания и дополнительного обезвоживания могут быть совмещены;

[42]

- дозаторов 9 остальных компонентов (минеральных составляющих, гуматов, микроэлементов и др.), обеспечивающих соблюдение рецептурного состава органо-минеральных удобрений;

[43]

- механического смесителя 10;

[44]

- вальцев 11, состоящих (фиг.3) из одних или нескольких параллельно расположенных обогреваемых горизонтальных вальцев 11, имеющих торцевые формующие кольца 18 с ножами 19 на границе для резки гранул в размер;

[45]

- обогреваемой вакуумной сушилки непрерывного действия 12, соединенной с установкой вакуумно-импульсного воздействия 13;

[46]

Способ осуществляется следующим образом.

[47]

Исходные компоненты удобрения (органические отходы) загружаются в бункер-накопитель 1 и с помощью ленточного транспортера 2 передаются на очистку от механических примесей, вначале в магнитный сепаратор 3 и далее - в камнеотделитель 4. Затем, очищенные исходные компоненты поступают, при необходимости, в механический измельчитель-дезинтегратор 5 для предварительного измельчения, а после него при высокой влажности исходных компонентов, с влажностью 60-85%, в средство обезвоживания 6. Обезвоживание осуществляется отжимом на ленточном вакуумном фильтре 6 (фиг.2а), снабженном прижимными валками 14, расположенными над и под фильтрующим полотном 15 в зоне вакуумных камер 16. В процессе отжима исходные компоненты подвергаются вакуумно-импульсному воздействию, которое в отличие от обычного вакуумирования характеризуется резкой декомпрессией обрабатываемого материала, благодаря которой происходит более интенсивное испарение влаги и ускоренная сушка материала.

[48]

При необходимости, на дополнительном средстве обезвоживания 8 производится вакуумно-импульсный просос нагретого газового теплоносителя из устройства подачи горячего газового теплоносителя 17 через слой компонентов смеси. Использование режимов вакуумно-импульсного воздействия позволяет производить просос с высокой скоростью для удаления свободной влаги с поверхности при высокой турбулентности потока.

[49]

Обезвоженные исходные компоненты поступают в механический смеситель 10, в который из дозаторов 9 поступают остальные компоненты удобрения (гуминовые препараты, минеральные удобрения, микроэлементы).

[50]

После перемешивания в смесителе 10 смесь поступает на вальцы 11, где происходят операции окончательного измельчения, обеззараживания, гомогенизации и подсушки до влажности 20-60%. Указанные операции осуществляются (фиг.3) непосредственно на обогреваемых вальцах непрерывного действия 11 одновременно с формованием гранул, которое происходит при проходе обрабатываемой массы через торцевые формующие кольца 18 вальцев 11 и резкой отрезными ножами 19. При большей влажности гранулы имеют недостаточную прочность, легко сминаются, могут слипаться. При меньшей влажности поверхность гранул получается шероховатой, с трещинами. Гранулы могут крошиться, теряется надлежащий товарный вид.

[51]

В процессе вальцевания проходит также ферментация удобрения. Это достигается не только активизацией микробиологических процессов вследствие подогрева массы на вальцах. Во время вальцевания за счет мощных сдвиговых напряжений в узком зазоре между валками происходит частичная деструкция молекулярной структуры обрабатываемого материала, которая приводит к изменениям, аналогичным микробному воздействию.

[52]

Все перечисленные операции на обогреваемых вальцах непрерывного действия выполняются одновременно.

[53]

Далее гранулы поступают в обогреваемую вакуумную сушилку непрерывного действия 12, где они высушиваются до требуемой влажности в вакуумно-импульсном режиме. Предел влажности гранул 20% является наиболее оптимальным. При более высокой влажности при хранении возможна активизация процессов гумификации удобрения с потерей товарного вида.

[54]

Предложенным способом может быть подготовлен и почвогрунт.

[55]

Предлагаемый способ и реализующее его устройство позволяют производить гранулированные органо-минеральные удобрения из различных органических отходов с добавлением органо-минеральных компонентов, обеспечивающих соответствие зональным агрохимическим требованиям. При этом по сравнению с прототипом сокращается длительность технологического цикла в связи с совмещением ряда операций.

[56]

В частности, в качестве исходного сырья были выбраны осадки сточных вод с добавлением гумата натрия и минеральных компонентов (сульфата калия и мочевины) в количестве 5% в расчете на сухое вещество осадка. Химический состав удобрения составляет: N - 1,06%, Р2O5 - 0,80%, К2O - 0,52% и соответствует потребностям растений в питательных веществах.

[57]

Результаты исследования полученного удобрения свидетельствуют также о повышении эксплуатационных свойств гранул за счет уплотнения на вальцах и термо вакуумно-импульсного воздействия.

[58]

Полевые испытания гранулированного органо-минерального удобрения показали эффективность его применения. Прибавка урожайности картофеля составила 16%, льна-долгунца - 47%.

[59]

Было также выявлено, что при влажности гранул не более 20% обеспечивается их стабильность при длительном хранении.

Как компенсировать расходы
на инновационную разработку
Похожие патенты